|
|
(21), (22) Заявка: 2004122692/11, 04.12.2002
(24) Дата начала отсчета срока действия патента:
04.12.2002
(30) Конвенционный приоритет:
27.12.2001 (1-30) US 10/034,666
(43) Дата публикации заявки: 27.04.2005
(45) Опубликовано: 20.05.2006
(56) Список документов, цитированных в отчете о поиске:
WO 86/05560 A1, 25.09.1986. US 4089249 A, 16.05.1978. US 4863325 A, 05.09.1989. SU 254266 A, 07.10.1969. US 4012984 A, 22.03.1977.
(85) Дата перевода заявки PCT на национальную фазу:
27.07.2004
(86) Заявка PCT:
US 02/38736 (04.12.2002)
(87) Публикация PCT:
WO 03/058078 (17.07.2003)
Адрес для переписки:
103735, Москва, ул. Ильинка, 5/2, ООО “Союзпатент”, пат.пов. Ю.В.Пинчуку, рег.№ 656
|
(72) Автор(ы):
ТЕРРИ Уильям У. (US), ФАЛБРАЙТ Дейвид Дж. (US), БАСБИ Дональд С. (US)
(73) Патентообладатель(и):
ХАК ИНТЕРНЭШНЛ, ИНК. (US)
|
(54) КРЕПЕЖНОЕ УСТРОЙСТВО С ОДНОСТОРОННИМ ДОСТУПОМ, СНАБЖЕННОЕ С НЕДОСТУПНОЙ СТОРОНЫ ГОЛОВКОЙ С УЧАСТКОМ ПРИЖИМА, ОПОРЫ И ЗАПИРАНИЯ
(57) Реферат:
Изобретение относится к крепежным устройствам с односторонним доступом, содержащим стержень и втулку, установка которых осуществляется путем приложения относительного осевого усилия между стержнем и втулкой. Крепежное устройство с односторонним доступом, состоящее из двух элементов, предназначенное для скрепления разнообразных деталей, включает пустотелую втулку с головкой увеличенного диаметра на одном конце втулки и стержень, выполненный со срезаемым кольцом увеличенного диаметра, на конце, противоположном расположению головки втулки, за которым располагается участок удерживания с уменьшенным диаметром. Срезаемое кольцо приспособлено для контактного сцепления и перемещения внутри втулки с образованием при этом недоступной головки, имеющей форму тюльпана, под действием осевого усилия, приложенного между стержнем и втулкой, а также для его срезания, осуществляемого вблизи внутренней, или недоступной, поверхности листовых соединяемых деталей. Участок удерживания постепенно перемещают вместе с телом стержня сквозь срезаемое кольцо, при этом срезаемое кольцо в конце концов располагается в определенном месте на участке удерживания в зависимости от общей толщины соединяемых деталей. В результате обеспечивается образование участка прижима и запирания между стержнем и втулкой на внутренней, или недоступной, стороне деталей, при этом стержень и втулка снабжены замковой конструкцией, сформированной после окончательного образования участка прижима и запирания, предназначенной для обеспечения замкового соединения стержня с втулкой. 6 н. и 24 з.п. ф-лы, 9 ил., 3 табл.
Настоящее изобретение относится к крепежным устройствам с односторонним доступом, содержащим стержень и втулку, установка которых осуществляется путем приложения относительного осевого усилия между стержнем и втулкой.
Настоящее изобретение относится к крепежным устройствам с односторонним доступом и, в особенности, к крепежным устройствам с односторонним доступом, содержащим стержень и втулку, в которых стержень выполнен с головкой, приспособленной для перемещения внутри цилиндрического корпуса втулки с недоступной стороны с образованием недоступной увеличенной головки в форме тюльпана, имеющей с недоступной стороны участок прижима, опоры и запирания, при этом стержень и втулка с противоположной стороны имеют вторую механическую замковую конструкцию для замкового соединения стержня со втулкой.
Во многих крепежных устройствах с односторонним доступом недоступные замыкающие головки формируют из профиля увеличенного размера в виде тюльпана. Примеры таких крепежных устройств с односторонним доступом можно найти в патенте США №4863325, выданном 05.09.1989 Вальтеру Смиту на крепежное устройство с односторонним доступом, выполненное с запирающим стержнем; в патенте США №4627775, выданном 09.10.1986 Ричарду Диксону на крепежное устройство с односторонним доступом, имеющее средства компенсации изменения величины захвата; в пат. США №4405273, выданном 20.09.1983 Рахлу и др. на крепежные устройства с односторонним доступом. Такие устройства отличаются от других крепежных устройств, в которых недоступные замыкающие головки имеют форму луковицы. Примерами таких крепежных устройств являются пат. США №4784551, выданный 15.11.1988 Джеймсу Кендаллу на способ использования крепежных устройств с односторонним доступом, выполненных с потайными и выступающими головками, а также пат. США №5603592, выданный 18.02.1997 Садри и др. на высокопрочный болт с односторонним доступом, где представлена комбинация типов головки в форме тюльпана и в форме луковицы. Кроме того, к таким устройствам относится крепежное устройство типа MAGNA-BULB®, представленное на фиг.7-9.
Настоящее изобретение направлено на получение уникального вида крепежного устройства с односторонним доступом, обеспечивающего формирование недоступной головки увеличенного размера в форме тюльпана, имеющей участок прижима, опоры и запирания.
В настоящем изобретении крепежное устройство с односторонним доступом (содержащее стержень и втулку) выполнено со стержнем, имеющим на одном конце тело с головкой, и втулкой, имеющей корпус и на одном конце головку. Головка стержня снабжена срезаемым кольцом увеличенного диаметра, приспособленным для перемещения внутри корпуса втулки с недоступной стороны с образованием при этом недоступной увеличенной головки в форме тюльпана. Головка стержня имеет участок удерживания, выполненный с большим количеством удерживающих канавок и гребней (выступов), расположенных за срезаемым кольцом. Указанное кольцо приспособлено для его срезания при заранее выбранной величине относительного осевого усилия, при этом после того, как недоступная головка полностью сформирована, срезаемое кольцо (находясь внутри втулки) располагается в непосредственной близости от внутренней или недоступной стороны соединяемых деталей. После срезания кольца остальная часть стержня будет продолжать втягиваться внутрь втулки, причем в зависимости от общей толщины деталей через кольцо будет перемещаться определенное количество канавок и гребней. Срезаемое кольцо будет контактировать с одной из канавок или одним из выступов с образованием при этом, с прилегающей к нему увеличенной частью корпуса втулки, недоступной замыкающей головки, имеющей с недоступной стороны участок прижима, опоры и запирания. В то же время перемещение стержня продолжается до тех пор, пока упорные заплечики стержня и втулки не окажутся во взаимном контактном сцеплении с образованием механического замкового соединения на противоположном конце, после чего стержень разрывается по отрывной шейке, и оторванную часть отделяют от тела стержня. Как видно, крепежное устройство согласно настоящему изобретению будет обеспечивать недоступную головку по существу одинаковой прочности в типичной, практически реализуемой области величин охватов или величин общей толщины соединяемых друг с другом деталей.
Необходимо отметить, что крепежное устройство с односторонним доступом, имеющее срезаемое кольцо в совокупности с большим количеством удерживающих канавок для образования недоступной головки, уже использовано в крепежных устройствах с односторонним доступом, производимых фирмой Huck International, Inc. и реализуемых на рынке под товарным знаком MAGNA-BULB®. Однако в этих устройствах срезаемое кольцо не входит внутрь втулки с тем, чтобы образовать недоступную головку увеличенного размера в форме тюльпана, а, как отмечено, предпочтительней головка формируется в форме луковицы, примыкающая к внутренней или недоступной поверхности и, кроме того, как будет видно, некоторым образом отличается конструкция удерживающих канавок. Понятны также будут и другие заметные отличия известного устройства.
Одно из воплощений крепежного устройства согласно настоящему изобретению имеет уникальную конструкцию выступающей головки втулки с контактными поверхностями, обеспечивающими относительно высокий уровень концентрации напряжений на контактирующих с ними поверхностях соединяемых друг с другом деталей. Это обеспечивает значительное сопротивление проскальзыванию между деталями и установленным в них крепежным устройством. Такая конструкция, следовательно, является подходящей для использования в тех случаях, где существует некоторый зазор между установленным крепежным устройством и отверстиями в соединяемых деталях.
В соответствии с изложенным задачей настоящего изобретения является получение нового крепежного устройства с односторонним доступом, содержащего стержень и втулку, в котором конструкция стержня и втулки позволяет сформировать увеличенную недоступную головку в форме тюльпана с замковым соединением между втулкой и стержнем.
Другая задача изобретения заключается в обеспечении крепежного устройства с односторонним доступом, имеющего уникальную конструкцию для формирования замыкающей недоступной головки.
Еще одна задача настоящего изобретения состоит в обеспечении крепежного устройства с односторонним доступом, имеющего уникальную конструкцию для формирования увеличенной недоступной головки в форме тюльпана, имеющей прижимной, опорный и запирающий участок.
Следующая задача настоящего изобретения состоит в обеспечении крепежного устройства с односторонним доступом, имеющего уникальную конструкцию для формирования увеличенной недоступной головки в форме тюльпана, имеющей прижимной, опорный и запирающий участок и имеющей одинаковую конфигурацию и высокую прочность в области величин охвата, реализуемой на практике.
Кроме того, задача настоящего изобретения состоит в обеспечении крепежного устройства с односторонним доступом, имеющего уникальную выступающую головку втулки, предназначенную для обеспечения значительного сопротивления проскальзыванию между соединяемыми деталями и установленным крепежным устройством.
Задача изобретения заключается также в создании нового и усовершенствованного крепежного устройства с односторонним доступом.
Другие задачи, особенности и преимущества настоящего изобретения станут понятными из последующего описания и приложенных пунктов формулы изобретения, изложенных в соответствии с сопровождающими описание фигурами чертежей.
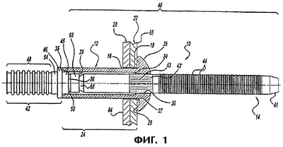
Фиг.1 – крепежное устройство, включающее стержень и втулку, воплощающее в себе признаки настоящего изобретения и показанное в предварительно собранном состоянии, перед установкой, для случая соединения двух деталей с минимальным охватом, вид сбоку с некоторыми деталями, показанный в разрезе.
Фиг.2 – стержень, показанный на фиг.1, вид сбоку.
Фиг.2А – часть стержня, обведенная замкнутой линией 2А на фиг.2, фрагментарный вид в увеличенном масштабе.
Фиг.2В – часть стержня, обведенная замкнутой линией 2В на фиг.2, фрагментарный вид в увеличенном масштабе.
Фиг.3 – втулка, изображенная на фиг.1, вид сбоку в разрезе.
Фиг.3А – часть втулки, обведенная замкнутой линией 3А на фиг.3, фрагментарный вид в увеличенном масштабе.
Фиг.3В – головка втулки, обведенная замкнутой линией 3В на фиг.3, показанная в сравнении с головкой втулки известной конструкции, которая изображена пунктиром, при этом все линии сечения в целях упрощения не показаны, фрагментарный вид в увеличенном масштабе.
Фиг.4 – крепежное устройство согласно фиг.1, изображенное в конечном установленном состоянии, для случая минимального охвата скрепляемых деталей, имеющих минимальную общую толщину, вид с некоторыми деталями, показанный в разрезе.
Фиг.5 – крепежное устройство согласно фиг.1, изображенное в конечном установленном состоянии, для случая максимального охвата скрепляемых деталей, имеющих максимальную общую толщину, вид с некоторыми деталями, показанный в разрезе.
Фиг.6 – крепежное устройство с втулкой, выполненной с потайной головкой, в конечном установленном состоянии для случая максимального охвата деталей, вид сбоку подобный показанному на фиг.5.
Фиг.7 – крепежное устройство типа MAGNA-BULB, содержащее стержень и втулку, в предварительно собранном состоянии, перед установкой, вид сбоку с некоторыми деталями, показанными в разрезе.
Фиг.8 – крепежное устройство типа MAGNA-BULB, показанное на фиг.7, в состоянии окончательной установки для случая с минимальным охватом скрепляемых деталей, имеющих минимальную общую толщину, вид с некоторыми деталями, представленными в разрезе.
Фиг.9 – крепежное устройство типа MAGNA-BULB, показанное на фиг.7, в состоянии окончательной установки для случая с максимальным охватом скрепляемых деталей, имеющих максимальную общую толщину, вид с некоторыми деталями, представленными в разрезе.
Нижеследующее описание предпочтительных воплощений изобретения является только иллюстративным и никаким образом не предназначено для ограничения изобретения, его применения или использования.
На фиг.1 показано предлагаемое крепежное устройство с односторонним доступом, которое содержит пустотелую втулку 12 и стержень 14, в положении предварительной сборки, до установки устройства. Крепежное устройство 10 показано в положении до установки, расположенным в совмещенных отверстиях 16 и 18, выполненных во внутренней и внешней деталях 20 и 22 соответственно, которые необходимо соединить друг с другом. Детали 20 и 22 имеют общую толщину, представляющую собой величину минимального захвата или минимальную общую толщину скрепляемых деталей для данного крепежного устройства 10. Фиг.4 отображает крепежное устройство после установки и скрепления деталей 20 и 22 с минимальным охватом. Фиг.5 отображает крепежное устройство 10 в после установки для случая деталей 20′ и 22′, имеющих общую толщину, соответствующую максимальному охвату или максимально возможной общей толщине деталей для данного крепежного устройства 10.
Из фиг.1 и 3 видно, что полая втулка 12 имеет обычно корпус прямолинейного профиля 24 с постоянным внутренним диаметром DO, который заканчивается на переднем конце увеличенной головкой 26. Увеличенная головка 26 выполнена выступающей наружу и имеет выемку с вогнутым профилем 27, примыкающую к корпусу 24 для обеспечения наличия зазора с внешней кромкой отверстия 18. По окружности внешней кромки выемки 27 сформирован опорный кольцевой участок (площадка) 29, имеющий конфигурацию контактной поверхности, описанную ниже, обеспечивающую максимальное сопротивление ее проскальзыванию относительно контактной поверхности детали 22.
Втулка 12 выполнена с центральным сквозным высверленным отверстием, включающим отверстие диаметром D1 в корпусе 24, которое проходит по существу на всю длину корпуса 24 и сообщается вблизи головки 26 с проходящим через нее отверстием 30 меньшего диаметра Dh. В месте соединения отверстия 28 в корпусе с отверстием меньшего диаметра 30 головки выполнен кольцевой упорный заплечик 34. Отверстие 28 корпуса на своем противоположном внешнем торце оканчивается внутренним коническим участком 35, который служит для достижения указанной ниже цели. Следует отметить, что образующая конусной поверхности конусного участка 35 проходит к заднему (внешнему) торцу примерно через половину толщины корпуса 24 втулки.
На фиг.3А представлено увеличенное изображение упорного заплечика 34 втулки 12. Как видно, упорный заплечик 34 ограничен поверхностью 36, проходящей под углом радиально внутрь в обратном направлении и, как правило, представляющей собой поверхность усеченного конуса, которая таким образом отделена от радиально расположенного напротив участка втулки 12. Упорный заплечик 34 втулки, кроме того, отделен от участка втулки 12, расположенного радиально напротив заплечика, с помощью кольцевой щели 38, которая проходит вперед в осевом направлении параллельно отверстию меньшего диаметра 30.
Следует отметить, что упорный заплечик 34 на втулке 12 и соответствующий ответный упорный заплечик на стержне 14, описанный ниже, имеют по существу конструкцию такую, как в вышеупомянутом патенте США №4863325, выданном на имя Смита. Таким образом, объект из указанного патента включен в данное описание путем ссылки на этот патент.
Из фиг.1 и 2 видно, что стержень 14 имеет удлиненное тело 40, переходящее на своем заднем конце в головку 42 (недоступный конец крепежного устройства 10). На противоположном конце тела 40 стержня выполнено большое количество кольцевых канавок 44, предназначенных для приложения тягового усилия.
Сзади от канавок 44 расположен соединительный участок 43 с накаткой или со шлицами, приспособленный для закрепления внутри отверстия 30 меньшего диаметра в головке втулки с предварительно выбранным натягом, обеспечивающим за счет этого фиксацию втулки 12 вместе со стержнем 14 в положении перед монтажом, что позволяет облегчить манипуляции, производимые до установки устройства. Передний участок 43′ шлицованной части 43 имеет коническую форму для облегчения первоначального ввода шлицованной части 43 в отверстие 30 меньшего диаметра.
Следует отметить, что диаметр гребней, выступающих из канавок 44, может иметь величину, обеспечивающую наличие зазора или легкую посадку относительно отверстия уменьшенного диаметра Dh 30 в головке. Соответственно внешний конец тела 40 (хвостовик) стержня снабжен конусообразным участком 41 для облегчения начального ввода тела 40 стержня в отверстие 30.
Головка 42 стержня имеет кольцевой направляющий участок 45, который выполнен с возможностью размещения по скользящей посадке внутри внешнего конца отверстия увеличенного диаметра 28 в корпусе втулки. К направляющему участку 45 примыкает срезаемое кольцо 46 увеличенного диаметра Dsr, величина которого немного меньше или немного больше внешнего диаметра Do корпуса 24 втулки (см. фиг.2В). Передняя часть 45′ направляющего участка 45 выполнена с конической поверхностью для облегчения начального ввода направляющего участка 45 в отверстие большего диаметра 28 корпуса втулки. Ввод облегчается также наличием вышеупомянутого конического внутреннего участка 35 на внешнем конце отверстия 28, выполненного в корпусе втулки. В положении предварительной сборки стержня 14 со втулкой 12 шлицованная соединительная часть 43 находится в отверстии уменьшенного диаметра 30, а направляющая часть 45 – в отверстии увеличенного диаметра 28 корпуса втулки, что обеспечивает необходимую ориентацию срезаемого кольца 46 относительно торца корпуса 24 втулки и конусного участка 35 отверстия 28 увеличенного диаметра.
Как видно из фиг.1 и 2, головка 42 стержня включает протяженный участок 48 уменьшенного диаметра, предназначенный для захвата и удерживания стержня и проходящий назад от срезаемого кольца 46. Участок захвата и удерживания 48 содержит определенное количество канавок 50 для удерживания стержня, которые отделены друг от друга удерживающими гребнями (выступами) 52. Канавки 50 и гребни 52 выполнены кольцевыми.
Диаметр удерживающих гребней 52 увеличивается в направлении назад, к концу головки, от величины Dc до Dcc, при этом образующая линия 53′ внешней поверхности проходит под заданным углом конусности А. В то же самое время глубина удерживающих канавок 50 возрастает в направлении назад, от кольца 46, и поэтому диаметр основания канавок уменьшается от Dr до Drr. Кроме того, шаг канавок равномерно возрастает от величины шага Р в начале участка до величины Р’ в его конце (см. фиг.2В). В то же время ширина гребней 52 возрастает в направлении заднего торца от величины Wc до Wc’. Коническую форму участка 48 удерживания с изменяющимися диаметрами гребней Dc, Dcc, диаметрами оснований Dr, Drr, шириной гребней Wc, Wc’ и шагом Р, Р’ получают отчасти путем накатывания рельефа на относительно ровной заготовке.
Предполагается, что увеличение ширины гребней Wc, Wc’ позволяет компенсировать увеличение их радиальной длины (высоты), происходящее в результате уменьшения диаметра основания канавки Dr, Drr и увеличения диаметра гребней Dc, Dcc. Увеличение ширины Wc, Wc’, кроме того, обеспечивает рост величины касательного напряжения для создания сопротивления сдвигающему усилию по мере увеличения величины усилия, приложенного к конусу 53. Здесь следует отметить, что ширину Wc, Wc’ определяют в точке перехода от основания 50 к дугообразному гребню 52 (см. фиг.2В).
Участок 48 удерживания с канавками соединен со срезаемым кольцом 46 прямым участком 54 тела головки, диаметр которого Ds меньше диаметра dc первого гребня 52. Кроме того, направляющий участок 45 соединен со срезаемым кольцом 46 по существу при такой же величине диаметра Ds. Прямой участок 54 тела головки и направляющий участок 45 определяют положение кольцевой площадки среза Sp диаметром Ds, проходящей через срезаемое кольцо 46. Срезаемое кольцо 46 имеет ширину, определяемую длиной площадки среза Sp. Направляющий участок 45 и его передняя часть 45′ выполнены с диаметром, большим диаметра тела 40 стержня, а их общая длина равна Li. В месте соединения направляющего участка 45 и тела 40 стержня расположен кольцевой упорный заплечик 56 стержня. Указанный упорный заплечик 56 имеет торцевую поверхность, которая в целом плоская и лежит в плоскости, перпендикулярной продольной оси Х стержня 14 (см. фиг.2 и 2В). Замковая канавка, или карман, 58 образована кольцевой выточкой, непосредственно примыкающей к упорному заплечику 56 стержня. Между направляющим участком 45 и шлицованной частью 43 проходит в целом гладкий участок 57 тела стержня. Участок 57 тела включает в себя кольцевую отрывную шейку 60, которая расположена впереди на заданном расстоянии от замковой канавки 58 и отделена от нее посредством участка 63 тела стержня. Указанное заданное расстояние выбирают таким, чтобы предотвратить разрушение замковой канавки 58 под действием относительного осевого усилия, приложенного при установке крепежного устройства 10. Отрывная шейка 60 является наиболее ослабленным участком тела 40 стержня.
Крепежное устройство 10 приспособлено для установки с помощью установочного инструмента, который может быть выбран из числа хорошо известных в данной области техники, и поэтому в целях упрощения детальное описание этого инструмента здесь опущено. Однако необходимо заметить, что конструкция такого инструмента включает зажимной кулачок, приспособленный для контактного сцепления с тяговыми канавками 44 стержня 14 с их захватом, в то время как упор инструмента находится в контактном сцеплении с увеличенной головкой 26 втулки, которая контактирует с внешней, или доступной, поверхностью 65 соединяемой детали 22. При приведении инструмента в действие кулачковый механизм перемещается в осевом направлении во внешнюю сторону от упора, за счет чего между стержнем 14 и втулкой 12 приложено относительное осевое усилие, которое перемещает стержень внутри втулки 12.
Когда относительное осевое усилие возрастет до предварительно заданной величины, срезаемое кольцо 46 будет проталкиваться от внешнего торца корпуса втулки 24 внутрь отверстия 28 большего диаметра в корпусе втулки. В результате корпус втулки 24 в зоне проталкивания увеличится в радиальном направлении наружу с образованием недоступной увеличенной головки 61 в форме тюльпана. Как будет видно, недоступная головка 61, когда она наконец сформирована, имеет уникальный участок 66 прижима, опоры и запирания, расположенный с внутренней, или недоступной, стороны поверхности 64 детали. Здесь следует заметить, что крепежное устройство 10 может быть использовано для скрепления деталей и в том случае, когда обе стороны деталей доступны.
Внешняя окружная поверхность 62 срезаемого кольца 46 выполнена дугообразной с радиусом Ra, что вместе с коническим внутренним участком 35, имеющимся на конце отверстия 28 корпуса, облегчает начальное перемещение срезаемого кольца 46 внутри отверстия 28. Срезаемое кольцо 46 при движении внутри отверстия 28 корпуса будет срезать с поверхности конца отверстия 28 некоторое количество материала с образованием опорного кольца 67. Здесь следует отметить, что радиус Ra обеспечивает относительно слабо выраженную дугообразную внешнюю поверхность 62 на срезаемом кольце 46, и поэтому процесс срезания не ухудшается. Перемещение стержня 14 и срезаемого кольца 46 продолжается до тех пор, пока срезаемое кольцо 46 вместе с образованным опорным кольцом 67 не расположится в отверстии 28 корпуса в непосредственной близости от задней или недоступной поверхности 64 детали 20. Приложенное к стержню 14 и втулке 12 осевое усилие обеспечивает прижатие деталей 20 и 22 друг к другу с предварительно заданной величиной прижимного усилия. В то же время опорное кольцо 67 контактирует с внутренней поверхностью отверстия 28 в корпусе втулки на прижимном или запирающем участке 66, который находится в контактном взаимодействии с внутренней, или недоступной, поверхностью 64 и примыкающей поверхностью сквозного отверстия 16. В это время недоступная головка 61 в форме тюльпана уже полностью сформирована, а дальнейшее перемещение срезаемого кольца 46 блокировано.
По мере увеличения относительного осевого усилия оно достигает заданного значения, при котором срезаемое кольцо 46 срезается с направляющего участка 45 и прямого участка 54 тела стержня по существу по поверхности среза Sp с образованием внутри кольца центрального отверстия 68. Следует отметить, что срезаемое кольцо 46 соединяется с направляющим участком 45 относительно малым радиусом округления Rf. Таким образом, срезание будет инициировано в этом месте соединения слегка выше поверхности среза Sp. Радиус Rf выполнен для того, чтобы предотвратить избыточную концентрацию напряжений, которая возможно приведет к преждевременному срезанию кольца. После срезания гладкий участок тела 54 перемещается сквозь срезаемое кольцо 46, после чего удерживающая часть 48 начнет перемещаться внутрь отверстия 68, образованного в срезанном кольце 46. В процессе такого перемещения первая канавка 50 с диаметром, меньшим величины диаметра, соответствующего расположению поверхности срезания Sp, и, следовательно, меньшим диаметра отверстия 68 в срезаемом кольце 46, будет входить внутрь кольца 46. Далее, первый гребень 52, имеющий диаметр больше диаметра поверхности среза Sp и, следовательно, больше диаметра отверстия 68 кольца 46, будет контактировать с радиально расположенной внутренней поверхностью отверстия 68 срезаемого кольца 46. Перемещение участка удерживания 48 будет продолжаться до тех пор, пока упорный заплечик 56 стержня не вступит в контакт с упорным заплечиком 34 втулки. В этот момент материал упорного заплечика 34 втулки начнет смещаться за счет взаимодействия с упорным заплечиком 56 стержня внутрь замковой канавки 58, после чего дальнейшее перемещение стержня 14 относительно втулки 12 будет блокировано. Затем величина относительного осевого усилия будет возрастать до величины, при которой тело 40 стержня будет разделено по отрывной шейке 60, и на этом установка завершается.
Во время движения участка удерживания 48 и последующие удерживающие канавки 50 и гребни 52 будут эффективно взаимодействовать со срезаемым кольцом 46. Фиг.4 и 5 отображают крепежное устройство 10 в положении окончательной установки, при этом на фиг.4 крепежное устройство показано в условиях минимального охвата или минимальной толщины скрепляемых деталей, а фиг.5 отображает крепежное устройство 10 в случае максимального охвата или максимальной толщины деталей. Таким образом, из фиг.4 и 5 видно, что количество канавок 50 и гребней 52, эффективно контактирующих со срезаемым кольцом 46, будет меняться в зависимости от общей толщины или от величины охвата соединяемых деталей. Следует отметить, что полный диапазон охвата крепежным устройством 10 может выборочно меняться за счет обеспечения большего или меньшего количества удерживающих канавок 50 и гребней 52.
Как видно, в условиях минимального охвата, иллюстрируемых на фиг.4, со срезаемым кольцом 46 будут оперативно контактировать два удерживающих гребня 52 и одна удерживающая канавка 50. Фиг.5 отображает крепежное устройство 10 в смонтированном положении при максимальной общей толщине деталей 20′ и 22′ для условий использования крепежного устройства с максимальным захватом, когда по существу все удерживающие гребни 52 и канавки 50 находились (в процессе установки) в контактном сцеплении со срезаемым кольцом 46. По мере того как гребни 52 проходят сквозь срезаемое кольцо 46, они существенным образом деформируются или сгибаются внутрь примыкающей задней одной из удерживающих канавок 50. В то же время, однако, всегда, по меньшей мере, один удерживающий гребень 52 будет оставаться с внешней стороны отверстия 68 срезаемого кольца 46, чтобы обеспечить удерживание срезаемого кольца 46 внутри недоступной головки 61 для увеличения прочности недоступной головки 61 с участком прижатия и запирания 66, прилегающим к задней или поверхности 64 детали 20 с недоступной стороны. Здесь следует отметить возможность легкого расширения отверстия 68 срезаемого кольца 46 в радиальном направлении после его контактирования с большим количеством гребней 52. Однако любое такое расширение компенсируется конусообразной конфигурацией с удерживающими гребнями 52, диаметр которых последовательно увеличивается. Такая конструкция обеспечивает дополнительную фиксацию стержня 14 относительно втулки 12 для увеличения сопротивления выталкиванию стержня из втулки 12. В то же время один из гребней 52, который отогнут и находится внутри отверстия 68 срезаемого кольца, будет стремиться упруго прижиматься к отверстию и находиться с ним в контактном сцеплении, обеспечивая тем самым дополнительное удерживающее усилие.
Кроме того, плотное сцепление срезаемого кольца 46 и опорного кольца 67 с внутренней поверхностью отверстия 28 корпуса обеспечивает дополнительное значительное сопротивление выталкиванию стержня, обеспечивая в то же время удерживание прижима (к поверхности детали). В этой связи следует отметить, что при перемещении срезаемого кольца 46 внутри отверстия 28 с радиальным расширением корпуса 24 втулки расширенная часть корпуса 24 втулки будет упруго пружинить в обратную сторону, частично возвращаться в исходное состояние, охватывать при этом срезаемое кольцо 46 и увеличивать прочность участка 66 прижима и запирания.
Из представленных фиг.4 и 5 видно, что срезаемое кольцо 46 и опорное кольцо 67 будут эффективны при контактном сцеплении с отверстием 28 в корпусе вблизи боковых поверхностей 64 и 64′ с внутренней, или недоступной стороны, обеспечивая радиальное расширение корпуса втулки 24 с заполнением зазора в этой зоне между корпусом 24 втулки и отверстиями 16 и 16′ для большего увеличения прочности крепежного устройства 10. В этой связи следует отметить, что материал опорного кольца 67 будет поджиматься, частично втекать в зазор между стержнем и отверстием 28 в корпусе и заполнять его с расширением в этой зоне корпуса 24 втулки, входящей при этом в контактное зацепление с отверстием 16 детали. Хотя расширение и ограничено, оно действительно еще больше увеличивает усилие прижатия, создаваемого опорным и запирающим участком 66 закладной головки 61.
При перемещении тела 40 стержня относительно втулки 12 участок 63 тела стержня переходит внутрь отверстия уменьшенного диаметра 30 головки и действует в качестве направляющего элемента стержня 14, способствуя совмещению упорного заплечика 56 стержня с упорным заплечиком 34 втулки. Заметим, что отрывная шейка 60 и упорный заплечик 56 стержня разделены участком предварительно выбранной длины, причем таким, что при удерживании упорного заплечика 56 стержня от дальнейшего осевого перемещения упорным заплечиком 34 втулки отрывная шейка 60 будет находиться по существу внутри отверстия 30 в корпусе 26 втулки так, что при разрыве отрывной шейки 60 внешний конец стержня 14 на отрывной шейке 60 как правило не будет выходить за пределы близлежащей внешней поверхности корпуса 26 втулки.
Как уже отмечено, поверхность 36 упорного заплечика втулки выполнена наклонной, что способствует сгибанию или перемещению материала заплечика радиально внутрь в запирающую замковую канавку 58. Следует отметить, что контактная поверхность упорного заплечика стержня 56 ориентирована относительно конической поверхности упорного заплечика 36 втулки так, чтобы способствовать изгибающему воздействию радиально внутрь; в результате материал упорного заплечика 34 втулки будет направлен в радиальном направлении внутрь, а не наружу. Как было отмечено, упорный заплечик 34 втулки может быть отделен кольцевым зазором, проходящим вдоль кольцевой щели 38, на дополнительное заданное расстояние от остальной втулки. Эта щель или разделитель 38 увеличивает загибающее воздействие на материал упорного заплечика 34 втулки, направленное по радиусу внутрь, в замковую канавку 58. Начальный же радиальный зазор между упорным заплечиком 34 втулки и радиально расположенным противолежащим участком втулки 12 устанавливает коническая поверхность 36 втулки.
Объем материала упорного заплечика 34 втулки выбирают по отношению к объему замковой канавки 58 таким образом, чтобы замковая канавка 58 была по существу заполнена этим материалом, а осевое перемещение стержня 14 было остановлено в заданном положении, как правило, когда происходит заполнение канавки, т.е. в таком положении, чтобы разрыв стержня по отрывной шейке 60 происходил внутри корпуса 26 втулки. Поэтому объем упорного заплечика 34 втулки, отделенного от остальной части втулки 12 коническим участком и щелью 38, обычно равен или превышает величину объема, необходимого для заполнения запирающей канавки 58 и примыкающей к ней зоны между стержнем 14 и втулкой 12. В то же время осевая длина щели 38 на практике ограничена с тем, чтобы предотвратить срезание упорного заплечика 34 втулки в осевом направлении и/или ухудшение выполнения им функции упора для стержня.
Упорный заплечик 34 втулки, отделенный от остальной части втулки 12 конусом и щелью 38, размещен, как правило, в пределах границ расположения увеличенной головки 26 втулки. Головка 26 втулки обладает радиальной жесткостью и оказывает сопротивление любой тенденции к расширению втулки 12 в радиальном направлении при деформировании упорного заплечика 34 в направлении замковой канавки 58. Таким образом, такое радиальное расширение предотвращается за счет расположения упорного заплечика 34 втулки по существу в пределах границ головки 26 втулки. При этом радиальное ограничение втулки 12 отверстиями 16, 16′ и 18, 18′, выполненными в соединяемых деталях, существенного влияния не оказывает. Фактически крепежное устройство 10 может быть удовлетворительно установлено с соответствующим замком там, где существует заметный радиальный зазор между отверстиями 16, 16′ и 18, 18′ и корпусом 24 втулки. В этой связи следует отметить, что при соединенных поверхностях 65, 65′ деталей необходимую величину опорного давления обеспечивает описанный ниже элемент уникальной конструкции предлагаемого крепежного устройства 10, оказывающий существенное сопротивление проскальзыванию при наличии указанного радиального зазора. Необходимо отметить, однако, что между втулкой 12 и стержнем 14 могут быть использованы различные выполнения упора и замкового соединения.
Из фиг.4 и 5 видно, что участок прижима и запирания 66 имеет одинаковую конечную форму с получением недоступной головки с одинаковой высокой прочностью в пределах широкой области величины охвата для крепежного устройства 10.
Видно, что участок 66 прижима и запирания со срезаемым кольцом 46 находится буквально на поверхности 64, 64′ с внутренней или недоступной стороны. Для условий с минимальным охватом, иллюстрируемых на фиг.4, это приводит к определенному минимуму осевого расстояния от участка прижима и запирания 66 до упорного заплечика 34 втулки. Таким образом, для обеспечения крепежного устройства 10, которое может быть использовано в широкой области величины охвата, включая минимальный охват или минимальную общую толщину деталей, осевая длина L прямого участка 54 тела головки минимальна. В одном из воплощений осевая длина L была немного больше ширины Ws срезаемого кольца 46 для облегчения его срезания. При таком выполнении срезаемое кольцо 46 после срезания вступает в контакт с первым гребнем 52 при минимальном перемещении тела 40 стержня.
В одном из воплощений настоящего изобретения стержень 14 и втулка 12 выполнены из черных металлов, при этом стержень изготовлен из стали 1038 с твердостью С 40-42 по Роквеллу, а втулка изготовлена из стали 1006 с твердостью В 90-95 по Роквеллу. Следует отметить, что внешний концевой участок 24′ корпуса 24 втулки, где начинается формирование недоступной головки 61 в форме тюльпана, обычно отжигают до получения градиента уменьшенной твердости от величины В 60 по Роквеллу на внешней поверхности участка 24′ до предельной твердости на конце участка 24′, расположенном внутри втулки. Это облегчает начальное перемещение срезаемого кольца 46 внутри увеличенного отверстия 28 корпуса втулки и радиальное расширение корпуса 24 с образованием недоступной головки 61 в форме тюльпана и предотвращает расширение корпуса в форме луковицы в результате приложения нагрузки стержнем и/или расщепление внешнего конца корпуса 24. Кроме того, такой отжиг облегчает срезание поверхности отверстия 28 корпуса с образованием опорного кольца 67, обладающего некоторой пластичностью. В то же время отожженный материал полученного опорного кольца 67 обеспечивает относительную податливость его структуры, что облегчает соответствие формы кольца поверхности отверстия 28 корпуса, с которой кольцо находится в контактном сцеплении, и затекание материала кольца в зону между стержнем и отверстием 28 втулки, как это уже было отмечено. Здесь следует также заметить, что градиент твердости при отжиге ограничен и существует только по удаленному концевому участку 24′, и поэтому часть корпуса 24 втулки, на участке 66 прижима и запирания недоступной увеличенной головки 61 в виде тюльпана, находящаяся в контактном сцеплении с поверхностью 64 детали, имеет по существу равную прочность. Это, кроме того, увеличивает прочность участка 66 прижима и запирания.
Как было отмечено, увеличенная головка 26 втулки по внешнему периферическому краю имеет опорный кольцевой участок 29, который находится в контактном сцеплении с внешней поверхностью 65 одной из соединяемых деталей, в то же время кольцевая выемка 27 обеспечивает наличие зазора между головкой и внешней кромкой отверстия 18 в детали. Такая конструкция головки втулки хорошо известна в области конструирования креплений, однако, предполагается, что уникальная конструкция головки 26 втулки обеспечивает повышенное опорное давление кольцевого участка 29 на внешнюю поверхность 65 детали, чтобы препятствовать проскальзыванию (головки относительно детали). В этой связи необходимо отметить, что контактная поверхность опорного кольцевого участка 29 выполнена по существу плоской и перпендикулярна продольной оси Х втулки 12 для того, чтобы обеспечить равномерное контактное сцепление с поверхностью 65 детали. В то же время ширина опорного кольцевого участка 29 ограничена с тем, чтобы можно было реализовать относительно высокую концентрацию распределения нагрузки без деформации кольцевого участка 29 и поверхности детали 65, 65′. Следует также отметить, что выемка 27 соединяется с кольцевым участком 29 как правило трансверсальным контуром, препятствующим какому-либо заметному увеличению площади контактной поверхности кольцевого участка 29 под воздействием усилия прижатия, приложенного к деталям 20 и 22.
Предполагается, что опорное давление, приложенное посредством кольцевого участка 29 к контактирующей с ним поверхности 65, имеет величину, близкую к пределу прочности на разрыв материала детали 22, создающую необходимое высокое опорное давление. Такое высокое опорное давление будет оптимизировать сопротивление скольжению между деталью 22 и головкой 26 втулки. В этой связи следует отметить, что, как было установлено, необходимая площадь опорной поверхности кольцевого участка 29 равна по величине площади, обеспечивающей при установке крепления опорное давление, соответствующее, по меньшей мере, примерно от 40 до 50% предела прочности на разрыв материала детали 22, 22′. Такая величина поверхности позволяет создавать высокое опорное давление с результирующим увеличением силы трения для того, чтобы препятствовать проскальзыванию внешних поверхностей детали 22, 22′ относительно крепежного устройства 10. Это имеет особое значение ввиду того, что при монтаже крепления не происходит существенного заполнения полости между отверстием 18, 18′ детали 22, 22′ и корпусом 24 втулки. Детали 22, 22′, которые соединяются крепежным устройством 10, обычно изготовлены из числа следующих материалов: (1) Сталь ASTM А36, имеющая предел прочности на разрыв 400 МПа и предел текучести 250 МПа, и алюминий 6061-Т6 с пределом прочности на разрыв 330 МПа и пределом текучести 280 МПа. Сопоставление головки 26 втулки, улучшенной согласно изобретению, с известной выступающей наружу головкой втулки иллюстрируется на фиг.4В и будет обсуждаться ниже.
Известные стержень 14 и втулка 12 покрывают цинком или другими подходящими материалами, обеспечивающими коррозийную стойкость. Такое покрытие, кроме того, служит смазкой и снижает трение между стержнем 14 и втулкой 12 в процессе установки крепежного устройства, способствуя тем самым необходимому функционированию устройства. Влияние трения может быть еще больше уменьшено за счет применения легкого покрытия из смазки, такой как Castrol Safety Film 616, производимой фирмой Castrol. Такое покрытие смазкой обеспечивает, в основном, снижение трения на внешней поверхности корпуса 24 втулки и отверстий 28 и 30, выполненных во втулке. В то же время при опорном давлении, приложенном посредством опорного кольцевого участка 29, это не будет оказывать существенного влияния на сопротивление проскальзыванию.
Следует также отметить, что механизм запирания осуществляется в крепежном устройстве 10 за счет взаимодействия стержня 14 и втулки 12 и не зависит от особенностей конструкции используемого установочного инструмента.
Следует понимать, что уникальная конструкция крепежного устройства 10, позволяющая формировать недоступную увеличенную головку 61 в форме тюльпана с участком 66 прижима и запирания, может быть использована и с иными видами механического замкового соединения на другом конце устройства. Например, она может быть использована с различной формой внутреннего замка, такого как раскрытый в пат. США №4627775, выданном 04.07.1989 Ричарду Диксону на крепежное устройство с односторонним доступом и со средствами компенсации величины охвата. Ее также можно использовать в крепежном устройстве, состоящем из трех деталей, содержащем внешнее запирающее кольцо, как это описано в пат. США №4844673, выданном 04.07.1989 Джеймсу Кендаллу. Кроме того, предполагается, что предложенную конструкцию можно использовать также и в крепежных устройствах с односторонним доступом, выполненных с внешним запирающим кольцом, таких как описаны в пат. США №5178502, выданном 01.12.1993 Шариа М. Сарди.
Одно из воплощений крепежного устройства 10 включает втулку 12 и стержень 14 описанной выше конструкции, элементы которых характеризуются параметрами в соответствии с нижеприведенными таблицами (см. табл.1 и 2).
| Таблица 1 |
| ВТУЛКА 12 |
| Материал Сталь 1006 |
Твердость по Роквеллу В 90-95 |
Отожженный участок 24′, по Роквеллу В60 (миним.) |
| Корпус 24 втулки |
Внешний диаметр Do, 6,4 мм |
Диаметр отверстия 28, Di 4,7-4,75 мм |
| Угол конуса 35 25°-35° |
Длина конуса 35 7,6-8,9 мм |
| Головка 26 втулки |
Внешний диаметр, Dh 11,4 мм |
Длина конуса 35 7,6-8,9 мм |
| Ширина опорного кольцевого участка 29, Rw 0,35 мм |
Площадь опорного кольцевого участка 29 11 мм2 |
| Опорное давление опорного кольцевого участка 29 составляет 210 МПа при силе прижима 225 кгс. |
| Диаметр, уменьшенный диаметр отверстия Dh 30 4,0-4,05 мм |
| Высота Н головки 26 2,8 мм |
| Таблица 2 |
| СТЕРЖЕНЬ 14 |
| Материал |
Сталь 1038, твердость по Роквеллу – С40-42 |
| Тяговые канавки 44 |
Диаметр гребней, максим. 0,4 мм |
Диаметр впадин, миним. 0,38 мм |
| Шлицованная часть 43 |
Внешний диаметр прямого участка, 4,1-4,2 мм |
Передний участок 43′, конусность до 3,9 мм |
| Головка стержня 42 |
Диаметр направляющего участка 45, Ds 4,7 мм Длина L1, 1,3 мм |
Диаметр участка 54 тела, Ds, 4,7 мм Длина L, 1,25 мм |
| Срезаемое кольцо 46 |
| Диаметр Dsr, 6,5 мм |
Ширина Ws 0,8 мм |
| Радиус внешней поверхности 62, Ra 0,9 мм |
| Радиус галтели (скругления) Rf 0,013 мм |
| Диаметр по площадке среза Sp, Ds 4,7 мм |
| Участок с удерживающими канавками 48 |
| Длина 9,1 мм |
| 8 Гребней 52 диаметром Dc-Dcc, 5,0-5.2 мм |
| 8 Канавок 50 диаметром Dr-Drr, 4,1-4,0 мм |
| Угол конусности А ряда гребней 52 по линии 53, 1/2° |
| Шаг гребней 52, от Р=0,9 мм до Р’=1,1 мм |
| Ширина гребней 52, от Wc=0,4 мм до Wc’=0,6 мм |
Различие между крепежными устройствами, соответствующими настоящему изобретению и типу MANGA-BULB, легко увидеть при рассмотрении чертежей крепежного устройства MANGA-BULB, показанных на фиг.7-9. На фиг.7 изображено крепежное устройство с односторонним доступом MANGA-BULB 100 с пустотелой втулкой 112 и стержнем 114, показанное в положении предварительной сборки, до установки. На фиг.8 показано крепежное устройство 110 после установки вместе со скрепленными деталями 120 и 122 для случая минимального охвата. На фиг.8 показано крепежное устройство 110 после установки вместе с деталями 120 и 122, общая толщина которых соответствует максимальному охвату.
Пустотелая втулка 112 обычно имеет прямолинейный корпус 124 с постоянным внешним диаметром, который оканчивается на переднем конце увеличенной выступающей наружу головкой.
Втулка 112 выполнена с центральным сквозным отверстием, которое включает отверстие 128 в корпусе, проходящее как правило по всей длине корпуса 124 втулки и сообщающееся с отверстием меньшего диаметра 130 вблизи увеличенной головки 126. В месте соединения отверстия 128 корпуса с отверстием 130 меньшего диаметра выполнен кольцевой упорный заплечик 134, подобный упорному заплечику 34. Отверстие 128 втулки 112 оканчивается на своем противоположном внешнем торце плоской торцевой поверхностью, проходящей как правило по всей толщине стенки (назначение этой поверхности будет раскрыто ниже).
Стержень 114 имеет продолговатое тело 140, которое на заднем конце переходит в головку 142 (недоступный конец крепежного устройства 110); на противоположном конце тела 140 стержень 114 снабжен большим количеством кольцевых тяговых канавок 144.
Головка 142 стержня имеет направляющий участок 145, который установлен по плотной посадке внутри дальнего конца отверстия 28 увеличенного диаметра в корпусе втулки. К направляющему участку 145 непосредственно примыкает срезаемое кольцо 146 увеличенного диаметра, величина которого немного меньше или немного больше внешнего диаметра корпуса 124 втулки. Передняя часть 145′ направляющего участка 145 выполнена конусной для облегчения начального ввода направляющего участка 145 внутрь отверстия 128 большого диаметра.
Головка 142 стержня включает в себя удлиненный участок 148 удерживания уменьшенного диаметра, который проходит от срезаемого кольца 146 с задней стороны головки. Участок 148 выполнен с предварительно выбранным количеством удерживающих канавок 150, которые отделены друг от друга удерживающими гребнями (выступами) 152. Удерживающие канавки 150 и гребни 152 выполнены кольцевыми. Однако в отличие от гребней 52 переменного диаметра, формирующих конусную поверхность вдоль образующей 53, и канавок переменного диаметра 50, в этом случае диаметр гребней 152 и канавок 150 как правило остается постоянным. Кроме того, канавки 150 имеют постоянный шаг Р1, а канавки 150 и гребни 152 по существу одинаковый профиль.
Участок 148 с канавками соединен со срезаемым кольцом 146 посредством прямолинейного участка 154 тела стержня, причем величина диаметра этого участка меньше диаметра кольцевых гребней 152. Помимо того, со срезаемым кольцом 146 соединен направляющий участок 145, диаметр которого по существу такой же (что и диаметр участка 154). Прямолинейный участок 154 тела стержня и направляющий участок 145 определяют положение кольцевой поверхности среза, проходящей сквозь срезаемое кольцо 146. Диаметр направляющей части 145 и переднего участка 145′ превышает диаметр тела 140 стержня. Кольцевой упорный заплечик 156 стержня определяет местоположение соединения направляющего участка 145 уменьшенного диаметра с телом 140 стержня. Упорный заплечик 156 обычно выполнен с плоской поверхностью и расположен в плоскости, перпендикулярной продольной оси стержня 114. Замковая канавка, или карман, 158 образована кольцевой проточкой, расположенной в непосредственной близости от упорного заплечика 156 стержня. Обычно за направляющим участком 145 следует гладкий участок 157 тела стержня. Участок 157 тела содержит кольцевую разрывную шейку 160, которая расположена впереди, непосредственно за участком 163 тела, на заданном расстоянии от замковой канавки 158.
Крепежное устройство 110 приспособлено для монтажа также с помощью установочного инструмента, который может быть хорошо известным в данной области техники. При приведении инструмента в действие между стержнем 114 и втулкой 112 создается относительное осевое усилие с приложением силовой нагрузки от стойки инструмента к корпусу 124 втулки. Когда относительное осевое усилие возрастет до предварительно заданной величины, срезаемое кольцо 146 будет оказывать силовое воздействие на корпус 124 втулки, сгибать или расширять ее в радиальном направлении наружу вблизи поверхности 164 недоступной стороны детали и формировать недоступную увеличенную головку 161 в виде луковицы. В этой связи следует отметить, что корпус 124 втулки отожжен по длине участка 124′ тела до существенного ослабления поверхности, примыкающей к поверхности 164, 164′ детали с недоступной стороны, чтобы облегчить формирование недоступной головки под действием нагрузки, приложенной посредством стойки инструмента. Деформационное перемещение продолжается до тех пор, пока не сформируется недоступная головка 161 в виде луковицы вместе со срезаемым кольцом 146, расположенным на внешнем торце корпуса 24 втулки.
По мере увеличения относительного осевого усилия оно достигает предварительно заданной величины, при которой кольцо 146 срезается с направляющего участка 145 и прямого участка 154 тела головки стержня. После этого прямолинейный участок 154 тела движется сквозь срезаемое кольцо 146, и затем участок 148 удерживания начнет перемещаться через отверстие срезаемого кольца 146, при этом само срезаемое кольцо остается на внешнем торце корпуса 124 втулки. Движение участка 148 удерживания будет продолжаться до тех пор, пока упорный заплечик 156 стержня не окажется в контактном сцеплении с упорным заплечиком 134 втулки. При контатировании (срезанный) материал упорного заплечика 134 втулки будет перемещаться заплечиком 156 в замковую канавку – проточку-карман 158, после чего дальнейшее движение стержня 114 относительно втулки 112 будет блокировано. С этого момента относительное осевое усилие будет возрастать до величины, при которой тело 140 стержня разрывается по месту расположения отрывной шейки 160, и на этом установка крепежного устройства завершается. Во время движения удерживающего участка 148 удерживающие канавки 150 и удерживающие гребни 152 будут последовательно контактировать со срезаемым кольцом 146. На фиг.8 и 9 показано крепежное устройство 110 в положении окончательной установки, при этом на фиг.8 крепежное устройство 110 показано для случая минимального охвата или минимальной толщины деталей, а на фиг.9 – для случая максимального охвата или толщины деталей. Из указанных фигур, кроме того, видно, что недоступная головка 161, образованная в форме луковицы, выполнена немного большей в условиях минимального охвата (см. фиг.8) по сравнению со случаем максимального охвата, отображенным на фиг.9, и, следовательно, эта головка не имеет одинаковой конфигурации во всей области величины охвата.
Легко можно видеть, что крепежное устройство 10 согласно настоящему изобретению существенным образом и определенно отличается от крепежного устройства 110 типа MANGA-BULB как конструкцией, так и функционированием. В этой связи, как отмечено, недоступная головка, ограниченная прижимным или запирающим участком 66, имеет по существу одинаковую структуру и прочность в области реализуемого охвата крепежного устройства 10. Кроме того, это обеспечивает для установленного крепежного устройства 10 высокую величину предела прочности при сдвиге и разрыве, а также значительное сопротивление выталкиванию стержня 14.
Как было указано выше, конструкция выступающей головки 26 втулки 12 согласно данному изобретению отличается от известных выступающих головок, таких как выступающая головка 126. Сравнение этих двух видов закладных головок крепежных устройств одинакового размера иллюстрирует фиг.3В. На фиг.3В головка 26 втулки показана сплошными линиями, в то время как головка втулки 126 показана пунктиром, и хотя показанные изображения даны в разрезе, линии сечения (кроме внешнего контура) для простоты и ясности не показаны. Как видно, внешний диаметр Dh головки 26 втулки значительно меньше внешнего диаметра Dhh головки 126 втулки. Внутренний диаметр Dhi опорного кольцевого участка 29, выполненного на торце головки втулки, по величине такой же, что и диаметр Dhhi головки 126 втулки. Следовательно, выемка 27 и выемка 127 с вогнутой поверхностью в радиальном направлении имеют одинаковую ширину и, следовательно, одинаковые габариты. Однако опорный кольцевой участок 29 значительно меньше опорного кольцевого участка 129. Практически в одном из воплощений радиальная ширина Rw опорного кольцевого участка 29 составляла приблизительно 40% от радиальной ширины RRw опорного кольцевого участка 129. Теперь, полагая, что конечное усилие прижатия деталей 20, 20′ и 22, 22′, а также деталей 120, 120′ и 122, 122′ друг к другу в обоих случаях одинаково, можно заключить, что поверхностное давление, создаваемое опорным кольцевым участком 29 на наружной поверхности 65, 65, существенно превышает давление, создаваемое опорным кольцевым участком 129, действующее на наружную поверхность 165, 165′. Это обеспечивает в результате значительно большее сопротивление проскальзыванию головки 26 втулки относительно поверхности 65, 65′, чем сопротивление, действующее между головкой 126 втулки и поверхностью 165, 165′. Площадь поверхности опорного кольцевого участка 29, хотя она и существенно уменьшена, выбрана, однако, такой, чтобы обеспечить достаточную прочность для оказания сопротивления нагрузке растяжения и локальной концентрации напряжений, действующих на поверхности 65, 65′ детали и/или головки 26 втулки.
В дополнение к сказанному следует отметить, что уменьшение общего размера головки 26 втулки приводит к снижению веса, удешевлению стоимости крепежного устройства 10. Следует также заметить, что высота головки 26 втулки вдоль оси Н такая же, что и высота НН головки 126. Однако общая площадь, а следовательно, и объем головки 26 втулки заметно меньше, чем у головки 126.
Ниже приведена таблица с сопоставлением типичных размеров головок 26 и 126 для крепежных устройств одинаковых размеров
| ГОЛОВКА 26 ВТУЛКИ |
ГОЛОВКА 126 ВТУЛКИ |
| Внешний диаметр Dh 11,4 мм |
Внешний диаметр Dhh 13 мм |
| Радиальная ширина Rw опорного кольцевого участка 29 0,8 мм |
Радиальная ширина Rww опорного кольцевого участка 29 1,9 мм |
| Внешний диаметр выемки Dhi 9,8 мм |
Внешний диаметр выемки Dhhi 9,8 мм |
| Высота вдоль оси Н 2,8 мм |
Высота вдоль оси НН 2,8 мм |
Следует понимать, что конструктивные особенности предлагаемого крепежного устройства 10 можно использовать совместно с такой втулкой, как втулка 12, но выступающая головка которой выполнена такой как головка 126.
Выше было отмечено, что уникальные конструктивные особенности устройства в соответствии с настоящим изобретением могут быть использованы и в случае применения втулок, имеющих потайную головку.
Такое крепежное устройство с потайной головкой втулки показано на фиг.6 установленным для случая максимального охвата деталей. При описании воплощения устройства, показанного на фиг.6, элементы, сходные с элементами крепежного устройства 10, обозначены позициями с одинаковыми номерами, но с дополнением индекса “а”. Поэтому будут описаны только те элементы, которые в целом одинаковы, и которые, можно считать, имеют одинаковые особенности выполнения, если не оговорено иное.
На фиг.6 показано крепежное устройство 10а, которое содержит пустотелую втулку 12а и стержень 14а, размещенные в совмещенных соосных отверстиях 16’а и 18’а, выполненных в соединяемых деталях 20’а и 22’а, суммарная толщина которых соответствует максимальному охвату или максимальной толщине деталей для крепежного устройства 10а.
Пустотелая втулка 12а имеет, как правило, прямой корпус 24а постоянного внешнего диаметра, который заканчивается на передним конце увеличенной головкой 26а. Увеличенная головка 26а выполнена заподлицо с поверхностью, т.е. потайной. Такая потайная головка 26а размещена в конусном потайном участке отверстия 18’аа, выполненного во внешней детали 22’а.
Втулка 12а имеет сквозное центральное отверстие, которое включает отверстие 28а в корпусе, проходящее по существу на всю длину корпуса 24а и сообщающееся, вблизи местоположения увеличенной головки 26а, с отверстием меньшего диаметра 30а в головке. Кольцевой упорный заплечик 34а втулки выполнен в месте соединения отверстия 28а корпуса и отверстия уменьшенного диаметра 30а втулки.
Стержень 14а имеет удлиненное тело 40а, которое на заднем конце заканчивается головкой 42а.
Головка 42а стержня содержит цилиндрический направляющий участок 45а, который приспособлен для установки с плотным прилеганием к дальнему концу отверстия увеличенного диаметра 28а. Срезаемое кольцо увеличенного диаметра 46а до его срезания расположено с непосредственным прилеганием к направляющему участку 45а.
Головки 42а стержня имеет также протяженный участок 48а удерживания с уменьшенным диаметром, выполненный с канавками, который перед установкой крепежного устройства расположен сзади от срезаемого кольца 46а и содержит предварительно выбранное количество удерживающих канавок 50а, отделенных друг от друга удерживающими гребнями 52а. Удерживающие канавки 50а и гребни 52а выполнены кольцевыми. Кольцевой упорный заплечик 56а стержня находится в месте соединения направляющего участка 45а и тела 40а стержня с меньшим диаметром. Упорный заплечик 56а, как правило, имеет плоскую торцевую поверхность. К упорному заплечику 56а примыкает замковая канавка или замковый карман 58а. Впереди на заданном расстоянии от замкового кармана 58а расположена кольцевая отрывная шейка 60а, которая представляет собой самый ослабленный участок тела 40а стержня и на фиг.6 показана оторванной.
Срезаемое кольцо 46а показано втянутым в отверстие большого диаметра 28а в корпусе втулки с образованием увеличенной недоступной головки 61а в форме тюльпана, которая имеет уникальный опорный и запирающий участок 66 у поверхности 64’а с недоступной стороны детали.
Срезаемое кольцо 46а показано на фиг.6 уже срезанным, в положении, когда через него втянут участок удерживания 48, а упорный заплечик стержня 56а находится в контактном сцеплении с упорным заплечиком 34а втулки, при этом материал упорного заплечика 34а втулки перемещен внутрь замковой канавки 58а типа кармана с формированием переднего внутреннего замка между втулкой 12а и стержнем 14а. Тело 40а стержня показано разорванным по отрывной шейке 60а, а устройства 10 – в полностью установленном состоянии.
Когда крепежное устройство 10а установлено при максимальной общей толщине деталей 20’а и 22’а, что соответствует условию максимального охвата крепежного устройства 10а, как это показано на фиг.6, в этом случае по существу все удерживающие гребни 52а и удерживающие канавки 50а проконтактировали со срезаемым кольцом 46а. Опять-таки (как и на фиг.5) по меньшей мере один удерживающий гребень 52а остается с наружной стороны от срезаемого кольца 46а чтобы обеспечить удерживание срезаемого кольца 46а внутри недоступной головки 61а для увеличения прочности этой головки, в которой сформирован участок прижима и запирания 66а прямо у поверхности 64’а внутренней или недоступной стороны детали 20’а.
Таким образом, видно, что уникальные конструктивные особенности крепежного устройства 10 могут быть легко адаптированы к использованию в крепежном устройстве 10а, выполненном с потайной головкой, с внутренним замком на внешнем конце и с участком 66а прижима и запирания, сформированном на конце с недоступной стороны, имеющим высокую прочность и по существу постоянную конфигурацию.
Формула изобретения
1. Крепежное устройство с односторонним доступом для соединения разнообразных деталей, включающих внешнюю деталь, имеющую поверхность, расположенную с внешней стороны, и внутреннюю деталь, имеющую поверхность с внутренней стороны, содержащее пустотелую втулку со сквозным отверстием, содержащую корпус и на одном конце увеличенную головку, стержень, при этом указанный стержень включает тело и головку, причем тело стержня приспособлено для размещения в указанном отверстии втулки, а головка стержня размещена на конце корпуса втулки, противоположном головке втулки, тело стержня имеет тяговую часть, противоположную по расположению головке стержня, приспособленную для захвата установочным инструментом, за счет которого между стержнем и втулкой может быть приложено относительное осевое усилие для осуществления установки крепежного устройства, сквозное отверстие во втулке содержит участок с увеличенным отверстием, выполненный в корпусе втулки, прилегающий к нему участок с отверстием уменьшенного диаметра и упорный заплечик втулки, проходящий радиально внутрь, расположенный в месте соединения участков отверстия с увеличенным и уменьшенным диаметром, стержень включает участок с упорным заплечиком, граничащий с телом стержня и имеющий диаметр, больший диаметра указанного тела стержня, в месте соединения указанного участка с упорным заплечиком и тела стержня расположен упорный заплечик стержня, к упорному заплечику стержня прилегает замковая канавка, головка стержня приспособлена для контактного сцепления с корпусом втулки и для деформирования с образованием недоступной головки, расположенной с противоположной стороны от указанной головки втулки, под действием относительного осевого усилия, приложенного между стержнем и втулкой, упорный заплечик стержня приспособлен для контактного сцепления с упорным заплечиком втулки, головка стержня выполнена с увеличенным срезаемым кольцом, приспособленным для контактного сцепления с внешним концом корпуса втулки, головка стержня содержит участок удерживания с уменьшенным диаметром, соединенный с торцом срезаемого кольца, находящимся с противоположной стороны от указанного внешнего конца корпуса втулки, указанный участок удерживания выполнен с большим количеством канавок и гребней, срезаемое кольцо приспособлено для перемещения внутри корпуса втулки через указанный внешний конец с формированием недоступной головки в форме тюльпана, имеющей участок прижима и запирания у поверхности внутренней стороны скрепляемых деталей, под действием предварительно заданного относительного осевого усилия, и приспособлено также для его блокирования от дальнейшего перемещения в определенном положении у поверхности внутренней стороны, срезаемое кольцо выполнено с возможностью его срезания с головки стержня при большей величине относительного осевого усилия, за счет чего тело стержня будет перемещаться через корпус втулки до тех пор, пока упорный заплечик стержня не вступит в контактное сцепление с упорным заплечиком втулки с образованием замкового соединения, срезаемое кольцо срезается вдоль поверхности сдвига, при этом в срезаемом кольце образуется отверстие, имеющее предварительно заданный диаметр, меньший диаметра указанных гребней, когда тело стержня перемещают при блокированном движении срезаемого кольца, участок удерживания более или менее движется через срезаемое кольцо, при этом гребни контактируют со срезаемым кольцом с формированием в недоступной головке запирающего элемента, упорный заплечик стержня и упорный заплечик втулки имеют контактные поверхности, обеспечивающие перемещение материала упорного заплечика втулки по существу радиально внутрь в замковую канавку для замкового соединения стержня со втулкой и образования во втулке упорной поверхности для стопорения осевого движения стержня через втулку.
2. Крепежное устройство по п.1, в котором срезаемое кольцо приспособлено для срезания материала с внутренней поверхности части увеличенного отверстия корпуса втулки с образованием опорного кольца, сжимаемого срезаемым кольцом внутри корпуса втулки у поверхности внутренней стороны скрепляемых деталей, при этом оно служит элементом участка прижима и запирания.
3. Крепежное устройство по п.1, в котором корпус втулки имеет по существу одинаковую твердость, при этом участок корпуса втулки на конце, находящемся в контактном сцеплении со срезаемым кольцом, выполнен с градиентом уменьшенной твердости для облегчения перемещения срезаемого кольца, осуществляемого внутри части отверстия в корпусе втулки с увеличенным диаметром, обеспечивающего начало формирования недоступной головки в форме тюльпана.
4. Крепежное устройство по п.1, в котором срезаемое кольцо приспособлено для срезания материала с внутренней поверхности увеличенной по диаметру части отверстия корпуса втулки с образованием опорного кольца, сжимаемого срезаемым кольцом внутри корпуса втулки у поверхности внутренней стороны скрепляемых деталей, и в то же время оно служит элементом участка прижима и запирания, корпус втулки имеет, как правило, одинаковую твердость с участком корпуса втулки на конце, находящемся в контактном сцеплении со срезаемым кольцом, имеющим градиент уменьшенной твердости для облегчения срезания материала с внутренней поверхности части отверстия корпуса втулки, увеличенной по диаметру, с формированием опорного кольца.
5. Крепежное устройство по п.1, в котором срезаемое кольцо приспособлено для срезания материала с внутренней поверхности увеличенной по диаметру части отверстия в корпусе втулки с образованием опорного кольца, сжимаемого срезаемым кольцом внутри корпуса втулки у поверхности внутренней стороны деталей, и в то же время оно является элементом участка прижима и запирания, корпус втулки имеет по существу одинаковую твердость, при этом участок корпуса втулки на конце, находящемся в контактном сцеплении со срезаемым кольцом, выполнен с градиентом уменьшенной твердости для облегчения перемещения срезаемого кольца, осуществляемого внутри увеличенной по диаметру части отверстия в корпусе втулки, обеспечивающего начало формирования недоступной головки в форме тюльпана, и для облегчения срезания материала с внутренней поверхности части отверстия с увеличенным диаметром с формированием опорного кольца.
6. Крепежное устройство по п.1, в котором диаметр гребней, выполненных на участке удерживания, увеличивается в направлении назад, от срезаемого кольца.
7. Крепежное устройство по п.1, в котором диаметр и ширина гребней на участке удерживания увеличиваются в направлении назад от срезаемого кольца.
8. Крепежное устройство по п.1, в котором внешняя из соединяемых деталей изготовлена из металла с пределом прочности на разрыв, равным предварительно заданной величине, увеличенная головка втулки выполнена выступающей и на радиально внешнем конце своей нижней поверхности имеет кольцевой участок, предназначенный для контактного сцепления с поверхностью внешней детали, расположенной с внешней стороны, указанный кольцевой участок имеет опорную поверхность, обеспечивающую опорное давление на поверхности внешней стороны деталей, составляющее по меньшей мере примерно от 40 до 50% предела прочности на разрыв материала внешней детали и не превышающее величину давления, при котором проявляется упругость поверхности внешней стороны и/или кольцевого участка.
9. Крепежное устройство с односторонним доступом для соединения разнообразных деталей, включающих внешнюю деталь, имеющую поверхность, расположенную с внешней стороны, и внутреннюю деталь, имеющую поверхность с внутренней стороны, содержащее пустотелую втулку со сквозным отверстием, содержащую корпус и на одном конце увеличенную головку, стержень, при этом указанный стержень включает тело и головку, причем тело стержня приспособлено для размещения в указанном отверстии втулки, а головка стержня размещена на конце корпуса втулки, противоположном головке втулки, тело стержня имеет тяговую часть, противоположную по расположению головке стержня, приспособленную для захвата установочным инструментом, за счет которого между стержнем и втулкой может быть приложено относительное осевое усилие для осуществления установки крепежного устройства, тело стержня выполнено с отрывной шейкой, соединяющей тяговую часть с остальной частью тела стержня, сквозное отверстие во втулке содержит участок с увеличенным отверстием, выполненный в корпусе втулки, прилегающий к нему участок с отверстием уменьшенного диаметра и упорный заплечик втулки, проходящий радиально внутрь, расположенный в месте соединения участков отверстия с увеличенным и уменьшенным диаметром, стержень включает участок с упорным заплечиком, граничащий с телом стержня и имеющий диаметр, больший диаметра указанного тела стержня, в месте соединения указанного участка с упорным заплечиком и тела стержня расположен упорный заплечик стержня, к упорному заплечику стержня прилегает замковая канавка, головка стержня приспособлена для контактного сцепления с корпусом втулки и для деформирования с образованием недоступной головки, расположенной с противоположной стороны от указанной головки втулки, под действием относительного осевого усилия, приложенного между стержнем и втулкой, упорный заплечик стержня приспособлен для контактного сцепления с упорным заплечиком втулки, головка стержня выполнена с увеличенным срезаемым кольцом, приспособленным для контактного сцепления с внешним концом корпуса втулки, головка стержня содержит участок удерживания с уменьшенным диаметром, соединенный с торцом срезаемого кольца, находящимся с противоположной стороны от указанного внешнего конца корпуса втулки, указанный участок удерживания выполнен с большим количеством канавок и гребней, срезаемое кольцо приспособлено для перемещения внутри корпуса втулки через указанный внешний конец с формированием недоступной головки в форме тюльпана, имеющей участок прижима и запирания у поверхности внутренней стороны скрепляемых деталей, под действием предварительно заданного относительного осевого усилия, и приспособлено также для его блокирования от дальнейшего перемещения в определенном положении у поверхности внутренней стороны, срезаемое кольцо выполнено с возможностью его срезания с головки стержня при большей величине относительного осевого усилия, за счет чего тело стержня будет перемещаться через корпус втулки до тех пор, пока упорный заплечик стержня не вступит в контактное сцепление с упорным заплечиком втулки с образованием замкового соединения, срезаемое кольцо срезается вдоль поверхности сдвига, при этом в срезаемом кольце образуется отверстие, имеющее предварительно заданный диаметр, меньший диаметра указанных гребней, когда тело стержня перемещают при блокированном движении срезаемого кольца, участок удерживания более или менее движется через срезаемое кольцо, при этом гребни контактируют со срезаемым кольцом с формированием в недоступной головке запирающего элемента, упорный заплечик стержня и упорный заплечик втулки имеют контактные поверхности, обеспечивающие перемещение материала упорного заплечика втулки по существу радиально внутрь в замковую канавку для замкового соединения стержня со втулкой и образования во втулке упорной поверхности для стопорения осевого движения стержня через втулку, при этом упорный заплечик втулки имеет по меньшей мере один участок, радиально отделенный от расположенного радиально напротив участка части отверстия с увеличенным диаметром, за счет чего при взаимодействии с упорным заплечиком стержня облегчается радиальное перемещение внутрь материала упорного заплечика втулки и предотвращается радиальное расширение упорного заплечика втулки, указанное тело стержня приспособлено для разрыва по отрывной шейке при достижении относительного осевого усилия заданной величины, превышающей величину усилия, необходимую для перемещения материала упорного заплечика втулки внутрь замковой канавки стержня, упорный заплечик втулки расположен в пределах границ увеличенной головки втулки, за счет чего предотвращается расширение втулки в радиальном направлении, по мере того как упорный заплечик втулки деформируется, заполняя замковую канавку, головка втулки имеет предварительно заданную длину в осевом направлении, отрывная шейка расположена на предварительно выбранном максимальном осевом расстоянии от замковой канавки, за счет чего предотвращается деформирование замковой канавки под действием приложенного осевого усилия заданной величины, при этом максимальное осевое расстояние, как правило, равно предварительно выбранной осевой длине головки втулки для конечного расположения замковой канавки и отрывной шейки в пределах границ головки втулки.
10. Крепежное устройство по п.9, в котором диаметр гребней, выполненных на участке удерживания, увеличивается в направлении назад от срезаемого кольца.
11. Крепежное устройство по п.9, в котором упорный заплечик втулки имеет, по меньшей мере, один участок, радиально отделенный от расположенного радиально напротив участка части отверстия с увеличенным диаметром, за счет чего облегчается радиальное перемещение материала упорного заплечика втулки по направлению внутрь при взаимодействии с упорным заплечиком стержня и предотвращается радиальное расширение упорного заплечика втулки.
12. Крепежное устройство по п.9, в котором внешняя из соединяемых деталей изготовлена из металла с пределом прочности на разрыв, равным предварительно заданной величине, увеличенная головка втулки выполнена выступающей и на радиально внешнем конце своей нижней поверхности имеет кольцевой участок, предназначенный для контактного сцепления с поверхностью внешней детали, расположенной с внешней стороны, указанный кольцевой участок имеет опорную поверхность, обеспечивающую опорное давление на поверхности внешней стороны деталей, составляющее, по меньшей мере, примерно от 40 до 50% предела прочности на разрыв материала внешней детали и не превышающее величину давления, при котором проявляется упругость поверхности внешней стороны и/или кольцевого участка.
13. Крепежное устройство с односторонним доступом для соединения разнообразных деталей, включающих внешнюю деталь, имеющую поверхность, расположенную с внешней стороны, и внутреннюю деталь, имеющую поверхность с внутренней стороны, содержащее пустотелую втулку со сквозным отверстием, содержащую корпус и на одном конце увеличенную головку, стержень, при этом указанный стержень включает тело и головку, причем тело стержня приспособлено для размещения в указанном отверстии втулки, а головка стержня размещена на конце корпуса втулки, противоположном головке втулки, тело стержня имеет тяговую часть, противоположную по расположению головке стержня, приспособленную для захвата установочным инструментом, за счет которого между стержнем и втулкой может быть приложено относительное осевое усилие для осуществления установки крепежного устройства, головка стержня приспособлена для контактного сцепления с корпусом втулки и для деформирования под действием относительного осевого усилия, приложенного между стержнем и втулкой, с образованием недоступной головки, расположенной с противоположной стороны от указанной головки втулки, элементы замкового соединения в процессе установки соединяют втулку и стержень с формированием переднего замкового соединения между втулкой и стержнем в заданном взаимном расположении втулки и стержня, головка стержня содержит срезаемое кольцо увеличенного диаметра, приспособленное для контактного сцепления с внешним концом корпуса втулки и выполненное большего диаметра относительно диаметра отверстия на внешнем конце втулки, головка стержня имеет участок с меньшим диаметром, предназначенный для захвата и удерживания, соединенный с торцом срезаемого кольца, расположенным с противоположной стороны от внешнего торца корпуса втулки, и приспособленный для контактного сцепления с охватывающим снаружи срезаемым кольцом, срезаемое кольцо приспособлено для перемещения внутри корпуса втулки через ее внешний конец с формированием, под действием предварительно заданного относительного осевого усилия, недоступной головки в форме тюльпана, имеющей участок прижима и запирания у поверхности внутренней стороны скрепляемых деталей, и приспособлено также для блокирования от дальнейшего перемещения при нахождении в определенном положении у поверхности внутренней стороны, срезаемое кольцо выполнено с возможностью его срезания с головки стержня при большей величине относительного осевого усилия, за счет чего тело стержня будет перемещаться через корпус втулки до тех пор, пока втулка и стержень не окажутся в определенном взаимном расположении, в котором формируется замковое соединение, срезаемое кольцо срезается вдоль поверхности сдвига, при этом в срезаемом кольце образуется отверстие, имеющее предварительно заданный диаметр, меньший диаметра гребней участка удерживания, при перемещении тела стержня и блокировании движения срезаемого кольца участок удерживания и захвата более или менее движется через срезаемое кольцо, при этом гребни контактируют с охватывающим срезаемым кольцом с образованием в недоступной головке запирающего элемента, при этом корпус втулки имеет по существу одинаковую твердость, при этом участок корпуса втулки на конце, находящемся в контактном сцеплении со срезаемым кольцом, выполнен с градиентом уменьшенной твердости для облегчения перемещения срезаемого кольца, осуществляемого внутри отверстия во внешнем конце корпуса втулки, обеспечивающего начало формирования недоступной головки в форме тюльпана.
14. Крепежное устройство по п.13, в котором участок удерживания снабжен большим количеством канавок и гребней, при этом при перемещении тела стержня и блокировании движения срезаемого кольца участок удерживания и захвата более или менее движется через срезаемое кольцо, при этом гребни контактируют с охватывающим срезаемым кольцом с образованием в недоступной головке запирающего элемента.
15. Крепежное устройство по п.13, в котором участок удерживания снабжен большим количеством канавок и гребней, при перемещении тела стержня и блокировании движения срезаемого кольца участок удерживания и захвата более или менее движется через срезаемое кольцо, при этом гребни контактируют с охватывающим срезаемым кольцом с образованием в недоступной головке запирающего элемента, диаметр гребней участка удерживания больше предварительно заданного диаметра отверстия, сформированного в срезаемом кольце, причем их диаметр возрастает в направлении назад от указанного кольца.
16. Крепежное устройство по п.13, в котором срезаемое кольцо приспособлено для срезания материала с внутренней поверхности внешнего конца указанного отверстия в корпусе втулки с образованием опорного кольца, сжимаемого срезаемым кольцом внутри корпуса втулки, у поверхности внутренней стороны скрепляемых деталей, и в то же время оно служит элементом участка прижима и запирания.
17. Крепежное устройство по п.13, в котором срезаемое кольцо приспособлено для срезания материала с внутренней поверхности отверстия на внешнем конце корпуса втулки с образованием опорного кольца, сжимаемого срезаемым кольцом внутри корпуса втулки у поверхности внутренней стороны деталей, и в то же время оно является элементом участка прижима и запирания, корпусная часть втулки имеет по существу одинаковую твердость, при этом участок корпуса втулки на конце, находящемся в контактном сцеплении со срезаемым кольцом, выполнен с градиентом уменьшенной твердости для облегчения срезания материала с внутренней поверхности части отверстия, выполненной с увеличенным диаметром, и формирования опорного кольца.
18. Крепежное устройство по п.13, в котором срезаемое кольцо приспособлено для срезания материала с внутренней поверхности на внешней части корпуса втулки с образованием опорного кольца, сжимаемого указанным срезаемым кольцом внутри корпуса втулки у поверхности внутренней стороны деталей, при этом оно является элементом участка прижима и запирания, корпус втулки имеет по существу одинаковую твердость, при этом участок корпуса втулки на конце, находящемся в контактном сцеплении со срезаемым кольцом, выполнен с градиентом уменьшенной твердости для облегчения перемещения срезаемого кольца внутри отверстия на внешнем конце корпуса втулки, обеспечивающего начало формирования недоступной головки в форме тюльпана, для облегчения срезания материала с внутренней поверхности части отверстия, выполненной с увеличенным диаметром, и формирования опорного кольца.
19. Крепежное устройство по п.13, в котором диаметр гребней участка удерживания увеличивается в направлении назад от срезаемого кольца.
20. Крепежное устройство по п.13, в котором диаметр и ширина гребней участка удерживания увеличиваются в направлении назад от срезаемого кольца.
21. Крепежное устройство по п.13, в котором внешняя из соединяемых деталей изготовлена из металла с пределом прочности на разрыв, равным предварительно заданной величине, увеличенная головка втулки выполнена выступающей и на радиально внешнем конце своей нижней поверхности имеет кольцевой участок, предназначенный для контактного сцепления с поверхностью внешней детали, расположенной с внешней стороны, указанный кольцевой участок имеет опорную поверхность, обеспечивающую опорное давление на поверхности внешней стороны деталей, составляющее, по меньшей мере, примерно от 40 до 50% предела прочности на разрыв материала внешней детали и не превышающее величину давления, при котором проявляется упругость поверхности внешней стороны и/или кольцевого участка.
22. Крепежное устройство с односторонним доступом для соединения разнообразных деталей, включающих внешнюю деталь, имеющую поверхность, расположенную с внешней стороны, и внутреннюю деталь, имеющую поверхность с внутренней стороны, содержащее пустотелую втулку со сквозным отверстием, содержащую корпус и на одном конце увеличенную головку, стержень, при этом указанный стержень включает тело и головку, причем тело стержня приспособлено для размещения в указанном отверстии втулки, а головка стержня размещена на конце корпуса втулки, противоположном головке втулки, тело стержня имеет тяговую часть, противоположную по расположению головке стержня, приспособленную для захвата установочным инструментом, за счет которого между стержнем и втулкой может быть приложено относительное осевое усилие для осуществления установки крепежного устройства, головка стержня приспособлена для контактного сцепления с корпусом втулки и для ее деформирования под действием относительного осевого усилия, приложенного между стержнем и втулкой, с образованием недоступной головки, расположенной с противоположной стороны от указанной головки втулки, средства запирания в процессе установки соединяют втулку и стержень с образованием переднего замкового соединения между втулкой и стержнем в заданном положении втулки относительно стержня, внешняя из соединяемых деталей изготовлена из металла с пределом прочности на разрыв, равным предварительно заданной величине, увеличенная головка втулки выполнена выступающей и на радиально внешнем конце своей нижней поверхности имеет кольцевой участок, предназначенный для контактного сцепления с поверхностью внешней детали, расположенной с внешней стороны, указанный кольцевой участок имеет опорную поверхность, обеспечивающую опорное давление на поверхности внешней стороны деталей, составляющее, по меньшей мере, примерно от 40 до 50% предела прочности на разрыв материала внешней детали и не превышающее величину давления, при котором проявляется упругость поверхности внешней стороны и/или кольцевого участка.
23. Крепежное устройство по п.22, в котором головка стержня выполнена с увеличенным срезаемым кольцом, приспособленным для контактного сцепления с внешним концом корпуса втулки, головка стержня содержит участок удерживания с уменьшенным диаметром, соединенный с торцом срезаемого кольца, находящимся с противоположной стороны от указанного внешнего конца корпуса втулки, указанный участок удерживания выполнен с большим количеством канавок и гребней, срезаемое кольцо приспособлено для перемещения внутри корпуса втулки через указанный внешний конец с формированием недоступной головки в форме тюльпана, имеющей участок прижима и запирания у поверхности внутренней стороны скрепляемых деталей, под действием предварительно заданного относительного осевого усилия, и приспособлено также для его блокирования от дальнейшего перемещения в определенном положении у поверхности внутренней стороны, срезаемое кольцо выполнено с возможностью его срезания с головки стержня при большей величине относительного осевого усилия, за счет чего тело стержня будет перемещаться через корпус втулки до тех пор, пока упорный заплечик стержня не вступит в контактное сцепление с упорным заплечиком втулки с образованием замкового соединения, срезаемое кольцо срезается вдоль поверхности сдвига, при этом в срезаемом кольце образуется отверстие, имеющее предварительно заданный диаметр меньший диаметра указанных гребней, при перемещении тела стержня и блокированном движении срезаемого кольца участок удерживания более или менее перемещается через срезаемое кольцо, при этом гребни контактируют со срезаемым кольцом с формированием в недоступной головке запирающего элемента.
24. Крепежное устройство по п.23, в котором срезаемое кольцо приспособлено для срезания материала с внутренней поверхности указанного отверстия в корпусе втулки с образованием опорного кольца, сжимаемого срезаемым кольцом внутри корпуса втулки, у поверхности внутренней стороны скрепляемых деталей, при этом оно служит элементом участка прижима и запирания.
25. Крепежное устройство по п.23, в котором срезаемое кольцо приспособлено для срезания материала с внутренней поверхности указанного отверстия в корпусе втулки с образованием опорного кольца, сжимаемого срезаемым кольцом внутри корпуса втулки, у поверхности внутренней стороны скрепляемых деталей, при этом оно служит элементом участка прижима и запирания, корпус втулки имеет по существу одинаковую твердость, при этом участок корпуса втулки на конце, находящемся в контактном сцеплении со срезаемым кольцом, выполнен с градиентом уменьшенной твердости для облегчения перемещения срезаемого кольца, осуществляемого внутри отверстия в корпусе втулки, обеспечивающего начало формирования недоступной головки в форме тюльпана, и для облегчения срезания материала с внутренней поверхности части отверстия с увеличенным диаметром с формированием опорного кольца.
26. Крепежное устройство по п.25, в котором диаметр и ширина гребней участка удерживания увеличиваются в направлении назад от срезаемого кольца.
27. Крепежное устройство с односторонним доступом для соединения разнообразных деталей, включающих внешнюю деталь, имеющую поверхность, расположенную с внешней стороны, и внутреннюю деталь, имеющую поверхность с внутренней стороны, содержащее пустотелую втулку со сквозным отверстием, содержащую корпус и на одном конце увеличенную головку, стержень, при этом указанный стержень включает тело и головку, причем тело стержня приспособлено для размещения в указанном отверстии втулки, а головка стержня размещена на конце корпуса втулки, противоположном головке втулки, тело стержня имеет тяговую часть противоположную по расположению головке стержня, приспособленную для захвата установочным инструментом, за счет которого между стержнем и втулкой может быть приложено относительное осевое усилие для осуществления установки крепежного устройства, сквозное отверстие во втулке содержит участок с увеличенным отверстием, выполненный в корпусе втулки, прилегающий к нему участок с отверстием уменьшенного диаметра и упорный заплечик втулки, проходящий радиально внутрь, расположенный в месте соединения участков отверстия с увеличенным и уменьшенным диаметром, стержень включает участок с упорным заплечиком, граничащий с телом стержня и имеющий диаметр, больший диаметра указанного тела стержня, в месте соединения указанного участка с упорным заплечиком и тела стержня расположен упорный заплечик стержня, к упорному заплечику стержня прилегает замковая канавка, головка стержня приспособлена для контактного сцепления с корпусом втулки и для деформирования с образованием недоступной головки, расположенной с противоположной стороны от указанной головки втулки, под действием относительного осевого усилия, приложенного между стержнем и втулкой, упорный заплечик стержня приспособлен для контактного сцепления с упорным заплечиком втулки, головка стержня выполнена с увеличенным срезаемым кольцом, приспособленным для контактного сцепления с внешним концом корпуса втулки, головка стержня содержит участок удерживания с уменьшенным диаметром, соединенный с торцом срезаемого кольца, находящимся с противоположной стороны от указанного внешнего конца корпуса втулки, указанный участок удерживания выполнен с большим количеством канавок и гребней, срезаемое кольцо приспособлено для перемещения внутри корпуса втулки через указанный внешний конец с формированием недоступной головки в форме тюльпана, имеющей участок прижима и запирания у поверхности внутренней стороны скрепляемых деталей, под действием предварительно заданного относительного осевого усилия, и приспособлено также для его блокирования от дальнейшего перемещения в определенном положении у поверхности внутренней стороны, срезаемое кольцо выполнено с возможностью его срезания с головки стержня при большей величине относительного осевого усилия, за счет чего тело стержня будет перемещаться через корпус втулки до тех пор, пока упорный заплечик стержня не вступит в контактное сцепление с упорным заплечиком втулки с образованием замкового соединения, срезаемое кольцо срезается вдоль поверхности сдвига, при этом в срезаемом кольце образуется отверстие, имеющее предварительно заданный диаметр, меньший диаметра указанных гребней, при перемещении тела стержня и блокированном движении срезаемого кольца, участок удерживания более или менее перемещается через срезаемое кольцо, при этом гребни контактируют со срезаемым кольцом с формированием в недоступной головке запирающего элемента, упорный заплечик стержня и упорный заплечик втулки имеют контактные поверхности, обеспечивающие перемещение материала упорного заплечика втулки по существу радиально внутрь в замковую канавку для замкового соединения стержня со втулкой и образования в конце концов во втулке упорной поверхности для стопорения осевого движения стержня через втулку, срезаемое кольцо приспособлено для срезания материала с внутренней поверхности части увеличенного отверстия корпуса втулки с образованием опорного кольца, сжимаемого срезаемым кольцом внутри корпуса втулки у поверхности внутренней стороны скрепляемых деталей, при этом оно служит элементом участка прижима и запирания, корпус втулки имеет по существу одинаковую твердость, при этом участок корпуса втулки на конце, находящемся в контактном сцеплении со срезаемым кольцом, выполнен с градиентом уменьшенной твердости для облегчения перемещения срезаемого кольца, осуществляемого внутри отверстия в корпусе втулки, обеспечивающего начало формирования недоступной головки в форме тюльпана, и для облегчения срезания материала с внутренней поверхности части отверстия с увеличенным диаметром с формированием опорного кольца, внешняя из соединяемых деталей изготовлена из металла с пределом прочности на разрыв, равным предварительно заданной величине, увеличенная головка втулки выполнена выступающей и на радиально внешнем конце своей нижней поверхности имеет кольцевой участок, предназначенный для контактного сцепления с поверхностью внешней детали, расположенной с внешней стороны, указанный кольцевой участок имеет опорную поверхность, обеспечивающую опорное давление на поверхности внешней стороны деталей, составляющее, по меньшей мере, примерно от 40 до 50% предела прочности на разрыв материала внешней детали и не превышающее величину давления, при котором проявляется упругость поверхности внешней стороны и/или кольцевого участка.
28. Крепежное устройство по п.27, в котором участок отверстия с увеличенным диаметром части корпуса на конце корпуса втулки, противоположном расположению головки втулки, выполнен конусным радиально направленным наружу с уменьшением толщины стенки для облегчения начальной фазы перемещения срезаемого кольца внутрь участка отверстия с увеличенным диаметром и для облегчения начала процесса срезания опорного кольца.
29. Крепежное устройство с односторонним доступом для соединения разнообразных деталей, включающих внешнюю деталь, имеющую поверхность, расположенную с внешней стороны, и внутреннюю деталь, имеющую поверхность с внутренней стороны, содержащее пустотелую втулку со сквозным отверстием, содержащую корпус и на одном конце увеличенную головку, стержень, при этом указанный стержень включает тело и головку, причем тело стержня приспособлено для размещения в указанном отверстии втулки, а головка стержня размещена на конце корпуса втулки, противоположном головке втулки, тело стержня имеет тяговую часть, противоположную по расположению головке стержня, приспособленную для захвата установочным инструментом, за счет которого между стержнем и втулкой может быть приложено относительное осевое усилие для осуществления установки крепежного устройства, головка стержня приспособлена для контактного сцепления с корпусом втулки и для деформирования под действием относительного осевого усилия, приложенного между стержнем и втулкой, с образованием недоступной головки, расположенной с противоположной стороны от указанной головки втулки, элементы замкового соединения в процессе установки соединяются с втулкой и стержнем с формированием переднего замкового соединения между втулкой и стержнем в заданном взаимном расположении втулки и стержня, головка стержня содержит срезаемое кольцо увеличенного диаметра, приспособленное для контактного сцепления с внешним концом корпуса втулки и выполненное большего диаметра относительно диаметра отверстия на внешнем конце втулки, головка стержня имеет участок с меньшим диаметром, предназначенный для захвата и удерживания, соединенный с торцом срезаемого кольца, расположенным с противоположной стороны от внешнего торца корпуса втулки, и приспособленный для контактного сцепления с охватывающим снаружи срезаемым кольцом, срезаемое кольцо приспособлено для перемещения внутри корпуса втулки через ее внешний конец с формированием, под действием предварительно заданного относительного осевого усилия, недоступной головки в форме тюльпана, имеющей участок прижима и запирания у поверхности внутренней стороны скрепляемых деталей, и приспособлено также для блокирования от дальнейшего перемещения при нахождении в требуемом положении у поверхности внутренней стороны, срезаемое кольцо выполнено с возможностью его срезания с головки стержня при большей величине относительного осевого усилия, за счет чего тело стержня будет перемещаться через корпус втулки до тех пор, пока втулка и стержень не окажутся в определенном взаимном расположении, в котором формируется замковое соединение, срезаемое кольцо срезается вдоль поверхности сдвига, при этом в срезаемом кольце образуется отверстие, имеющее предварительно заданный диаметр, меньший диаметра гребней участка удерживания, участок удерживания снабжен большим количеством канавок и гребней, при этом при перемещении тела стержня и блокировании движения срезаемого кольца участок удерживания и захвата более или менее движется через срезаемое кольцо, при этом гребни контактируют с охватывающим срезаемым кольцом с образованием в недоступной головке запирающего элемента, срезаемое кольцо приспособлено для срезания материала с внутренней поверхности части увеличенного отверстия корпуса втулки с образованием опорного кольца, сжимаемого срезаемым кольцом внутри корпуса втулки у поверхности внутренней стороны скрепляемых деталей, при этом оно служит элементом участка прижима и запирания, корпус втулки имеет по существу одинаковую твердость, при этом участок корпуса втулки на конце, находящемся в контактном сцеплении со срезаемым кольцом, выполнен с градиентом уменьшенной твердости для облегчения перемещения срезаемого кольца, осуществляемого внутри отверстия в корпусе втулки, обеспечивающего начало формирования недоступной головки в форме тюльпана, и для облегчения срезания материала с внутренней поверхности части отверстия с увеличенным диаметром с формированием опорного кольца, внешняя из соединяемых деталей изготовлена из металла с пределом прочности на разрыв равным предварительно заданной величине, увеличенная головка втулки выполнена выступающей и на радиально внешнем конце своей нижней поверхности имеет кольцевой участок, предназначенный для контактного сцепления с поверхностью внешней детали, расположенной с внешней стороны, указанный кольцевой участок имеет опорную поверхность, обеспечивающую опорное давление на поверхности внешней стороны деталей, составляющее, по меньшей мере, примерно от 40 до 50% предела прочности на разрыв материала внешней детали и не превышающее величину давления, при котором проявляется упругость поверхности внешней стороны и/или кольцевого участка.
30. Крепежное устройство по п.29, в котором отверстие на участке корпуса втулки, находящемся на конце корпуса втулки, противоположном расположению головки втулки, выполнено конусным, радиально направленным наружу с уменьшением толщины стенки для облегчения начальной фазы перемещения срезаемого кольца внутрь участка отверстия с увеличенным диаметром и для облегчения начала процесса срезания опорного кольца.
РИСУНКИ
|
|