|
|
(21), (22) Заявка: 2005101607/06, 24.01.2005
(24) Дата начала отсчета срока действия патента:
24.01.2005
(45) Опубликовано: 20.05.2006
(56) Список документов, цитированных в отчете о поиске:
SU 1767215 A1, 07.10.1992. SU 1368483 A, 23.01.1988. GB 2392957 A, 17.03.2004. WO 2004/079194 A2, 16.09.2004. GB 694410 A, 22.07.1953.
Адрес для переписки:
191123, Санкт-Петербург, ул. Захарьевская, 22, ВИТУ, бюро по изобретательству и патентной работе
|
(72) Автор(ы):
Савчук Александр Дмитриевич (RU)
(73) Патентообладатель(и):
Военный инженерно-технический университет (RU)
|
(54) УСТРОЙСТВО ИЗМЕНЕНИЯ ДАВЛЕНИЯ ГАЗА В КАМЕРЕ ПНЕВМОПРИВОДА С АККУМУЛИРУЮЩЕЙ ЕМКОСТЬЮ
(57) Реферат:
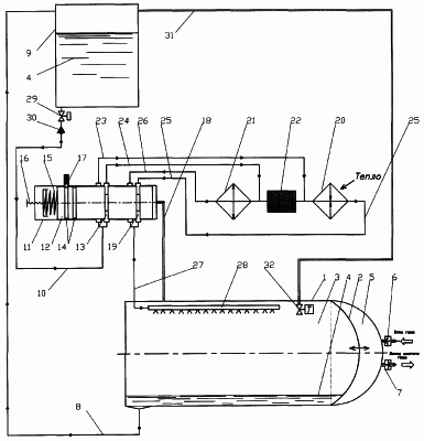
Изобретение относится к пневмоприводам, преимущественно компрессорам объемного вытеснения с тепловым приводом. Устройство содержит корпус 1, разделенный упругой диафрагмой 2 на рабочую емкость 3 и полусферическую компрессионную камеру 5, содержащую впускной 6 и выпускной 7 клапаны. Нижняя точка емкости 3 соединена трубопроводом 8 с верхней точкой аккумулирующей емкости 9, расположенной на более высоком уровне, чем емкость 3. Нижняя точка емкости 9 связана через запорный вентиль 29 и самодействующий обратный клапан 30 трубопроводом 10 с золотниковым распределителем. Золотник имеет каналы 13 для входа жидкости на нагрев – охлаждение и каналы 19 для входа жидкости 4 в коллектор 28 с форсунками, расположенный внутри емкости 3, и две фиксирующие проточки 14. Нагреватель 20 и охладитель 21 соединены между собой через регенератор тепла 22 для жидкости 4. Верхняя точка аккумулирующей емкости 9 связана магистралью 31 с газовой полостью емкости 3 через термоклапан 32, расположенный внутри верхней части емкости 3. Повышается эффективность устройства из-за использования регенерации тепла и полной автономности устройства. 1 ил.
Изобретение относится к пневмоприводам, преимущественно компрессорам или насосам объемного вытеснения. При этом для сжатия и нагнетания газа используется энергия в виде тепла.
Известен способ изменения давления газа в камере превмопривода (SU 1368483 А, 23.01.1988, F 04 В 19/24).
Недостатками устройства для реализации данного способа являются низкая надежность из-за неизбежного смешения перекачиваемого газа с легкоиспаряющейся жидкостью, а также из-за неопределенности положения поршня золотника в режиме переключения; сложность конструкции и наличие множества элементов, требующих постоянного переключения; необходимость фиксации золотникового распределителя от поворота вокруг своей оси; большие напряжения упругой диафрагмы компрессионной камеры из-за прямоугольных контуров камеры; энергозатраты для привода насоса.
Прототипом заявляемого изобретения является устройство изменения давления газа в камере пневмопривода (SU 1767215 А1, F 04 В 19/24, 07.10.1992).
В известном устройстве изменения давления газа в камере пневмопривода корпус разделен диафрагмой на рабочую емкость, частично заполненную легкоиспаряющейся жидкостью, и компрессионную камеру для перекачивания газа с впускным и выпускным клапанами. Трубопровод соединяет нижнюю точку емкости с входом в насос. Выход насоса соединен двумя входными трубопроводами с цилиндрическим полым корпусом золотникового распределителя с установленным внутри подпружиненным поршнем с каналом и приводной полостью. Корпус распределителя подсоединен к двум выходным трубопроводам, подсоединенным соответственно через нагреватель и охладитель к форсункам (коллектора) рабочей емкости. Приводная полость распределителя соединена магистралью с газовой полостью рабочей емкости. Корпус распределителя снабжен фиксатором крайних положений поршня, выполненным в виде подпружиненного шарика.
Недостатком является низкая эффективность известного устройства, которая вызвана отсутствием регенерации тепла при организации термического (теплового) сжатия и расширения.
Указанный недостаток ставит задачу повышения эффективности устройства изменения давления газа в камере пневмопривода (в его полностью автономном варианте, с аккумулирующей емкостью) за счет введения регенератора тепла для легкоиспаряющейся жидкости и организации процесса регенерации в полностью автономном варианте работы устройства.
Указанная задача решается тем, что устройство изменения давления газа в камере пневмопривода с аккумулирующей емкостью, содержащее корпус, разделенный упругой диафрагмой на рабочую емкость, частично заполненную легкоиспаряющейся жидкостью, и компрессионную полусферическую камеру для перекачивания газа с впускным и выпускным клапанами, трубопровод, соединяющий нижнюю точку рабочей емкости с верхней частью аккумулирующей емкости, расположенной выше уровня рабочей емкости, верхняя часть аккумулирующей емкости также соединена трубопроводом с газовой полостью рабочей емкости через термоклапан, расположенный в газовой полости рабочей емкости, нижняя часть аккумулирующей емкости трубопроводом через запорный вентиль и обратный клапан соединена с цилиндрическим полым корпусом (общим входом) золотникового распределителя, имеющего приводную полость, соединенную магистралью с газовой полостью рабочей емкости и с установленным внутри подпружиненным золотником, снабженным фиксатором крайних положений поршня, выполненным в виде подпружиненного шарика и двух ответных кольцевых проточек на золотнике, который содержит один кольцеобразный распределительный канал, при этом выход корпуса золотникового распределителя подсоединен двумя выходными трубопроводами соответственно через (первое положение) нагреватель и (второе положение) охладитель к коллектору с форсунками рабочей емкости, нагреватель и охладитель соединены между собой трубопроводами через регенератор тепла для легкоиспаряющейся жидкости, а золотник распределителя по своей длине содержит дополнительный аналогичный первому кольцеобразный распределительный канал, причем выход из аккумулирующей емкости на нагрев после золотникового распределителя (первое положение) подсоединен к трубопроводу между охладителем и регенератором, выход из аккумулирующей емкости на охлаждение после золотникового распределителя (второе положение) подсоединен к трубопроводу между нагревателем и регенератором, выход нагревателя подсоединен трубопроводом к первому входу (положению) дополнительного кольцеобразного распределительного канала, а ко второму его входу (положению) соответственно подсоединен трубопроводом выход охладителя, а его общий выход подсоединен к коллектору с форсунками рабочей емкости.
Введение соединения нагревателя и охладителя между собой трубопроводом через регенератор тепла необходимо для осуществления регенерации тепла легкоиспаряющейся жидкости при ее движении в ту или иную (противоположные) стороны (через регенератор).
Введение аналогичного первому кольцеобразному каналу золотника по своей длине дополнительного кольцеобразного канала необходимо для организации такого периодического переключения движения потоков легкоиспаряющейся жидкости, при котором возможна регенерация тепла.
Введение соединений: выход из аккумулирующей емкости на нагрев после золотникового распределителя (первое положение) подсоединен к трубопроводу между охладителем и регенератором, выход из аккумулирующей емкости на охлаждение после золотникового распределителя (второе положение) подсоединен к трубопроводу между нагревателем и регенератором, выход нагревателя подсоединен трубопроводом к первому входу (положению) дополнительного кольцеобразного распределительного канала, а ко второму его входу (положению) соответственно подсоединен трубопроводом выход охладителя, а его общий выход подсоединен к коллектору с форсунками рабочей емкости, необходимо для организации такого движения потоков легкоиспаряющейся жидкости, при котором возможна регенерация тепла в полностью автономном режиме работы устройства.
На чертеже изображена схема устройства изменения давления газа в камере пневмопривода с аккумулирующей емкостью.
Устройство (чертеж) содержит корпус 1, разделенный упругой диафрагмой 2 на рабочую емкость 3, частично заполненную легкоиспаряющейся жидкостью 4, и полусферическую компрессионную камеру 5, содержащую впускной 6 и выпускной 7 клапаны. Нижняя точка рабочей емкости 3 соединена трубопроводом 8 с верхней точкой аккумулирующей емкости 9, расположенной на более высоком уровне, чем рабочая емкость 3. Аккумулирующая емкость 9 первоначально больше чем наполовину должна быть заполнена легкоиспаряющейся жидкостью 4. Нижняя точка аккумулирующей емкости 9 связана через запорный вентиль 29 и самодействующий обратный клапан 30 трубопроводом 10 с золотниковым распределителем, содержащим корпус 11, в котором с малым зазором установлен золотник 12 с каналом 13 в виде кольцеобразной проточки и двумя фиксирующими кольцеобразными проточками 14. Сам золотник 12 подпружинен пружиной 15, другой конец которой упирается в винт 16, регулирующий степень сжатия пружины 15, причем корпус золотникового распределителя имеет фиксатор 17 золотника 12 в виде подпружиненного шарика. Надпоршневая полость золотникового распределителя соединена с газовой полостью рабочей емкости 3 магистралью 18. Распределитель 11 с золотником 12 содержат дополнительные входы – выходы и соответственно кольцеобразный канал 19 (расположенный по длине золотника аналогично первому кольцеобразному распределительному каналу), которые необходимы для распределения потоков нагретой и охлажденной жидкости 4. Нагреватель 20 и охладитель 21 соединены между собой трубопроводом через регенератор 22 тепла для легкоиспаряющейся жидкости 4. Выход (на нагрев) после золотникового распределителя 11 (первое положение) подсоединен трубопроводом 24 между охладителем 21 и регенератором 22, выход на охлаждение после золотникового распределителя (второе положение) подсоединен трубопроводом 23 между нагревателем 20 и регенератором 22, выход нагревателя 20 подсоединен трубопроводом 25 к первому входу (положению) дополнительного кольцеобразного распределительного канала 19, а ко второму его (19) входу (положению) соответственно подсоединен трубопроводом 26 выход охладителя 21, а его общий выход подсоединен трубопроводом 27 к коллектору 28 с форсунками для жидкости 4, расположенному в верхней части рабочей емкости 2. Верхняя точка аккумулирующей емкости 9 (ее газовая полость) также связана магистралью 31 с газовой полостью рабочей емкости 3 через термоклапан 32, расположенный внутри ее верхней части (рабочей емкости 3). Термоклапан 32 (на чертеже подробно не представлен) может быть выполнен, как и в прототипе, в виде установленного на седле и управляемого при помощи биметаллического элемента (пластины) собственно клапана. Термоклапан 32 постоянно открыт и закрывается, когда температура его чувствительного биметаллического элемента повышается и становится близкой к температуре нагретой жидкости 4 после нагревателя 20 (при снижении температуры чувствительного биметаллического элемента термоклапан 32 открывается).
Работает устройство следующим образом.
Перед пуском необходимо, чтобы большая часть легкоиспаряющейся жидкости 4 находилась в аккумулирующей емкости 9. При запуске открывается запорный вентиль 29 и жидкость под гидростатическим давлением своего столба поступает через обратный клапан 30 по трубопроводу 10 к золотниковому распределителю 11 (его канал 13) и далее по трубопроводу 24 через регенератор 22 (где жидкость 4 подогревается) к нагревателю 24 (где жидкость 4 окончательно подогревается и частично испаряется), после которого по трубопроводу 25 поступает в дополнительный канал 19 золотникового распределителя 11 и далее по трубопроводу 27 в коллектор 28 с форсунками в полость емкости 3. Давление в аккумулирующей емкости 9 и рабочей емкости 3 выравнивается (восстанавливается перетеканием газа) по газовой магистрали 31 через открытый термоклапан 32. Температура парожидкостной фазы в рабочей полости емкости 3 растет, и повышается давление, при действии которого деформируется упругая диафрагма 2, которая сжимает газ в компрессионной камере 5, образованной корпусом 1, и нагнетает сжатый газ потребителю через выпускной клапан 7. Когда температура в рабочей емкости будет приближаться к максимальной, термоклапан 32 закроется и разделит газовые полости емкостей 3 и 9. Но поскольку в емкости 3 уже находится горячая жидкость, то эта жидкость будет продолжать испаряться и давление в емкости 3 будет повышаться. Под этим давлением жидкость 4 из емкости 3 передавливается через трубопровод 8 в аккумулирующую емкость 9, охлаждаясь при этом в длинном трубопроводе 8, пока почти вся жидкость 4 не передавится в емкость 9. При этом обратный клапан 30 под действием собственной пружины и перепада (обратного) давления на нем закрыт. При максимальном повышении давления в емкости 3 давление, действуя через трубопровод 18 на золотник 12, освобождает его от фиксатора 17 и золотник, резко (быстро) сжимая пружину 15, перемещается влево (по чертежу). При этом фиксатор 17 переходит с левой кольцеобразной проточки 14 в правую проточку 14 и фиксирует в этом положении золотник 12, который своим кольцеобразным каналом 13 закрывает трубопровод 24 и открывает трубопровод 23, а также дополнительным своим кольцеобразным каналом 19 закрывает трубопровод 25 и открывает трубопровод 26.
После чего термоклапан 32 охлаждается и открывается и по газовой магистрали 31 давление в рабочей емкости 3 и аккумулирующей емкости 9 выравнивается. Жидкость 4 через открытый запорный вентиль 29 и открывшийся под действием гидростатического давления обратный самодействующий клапан 30 поступает по трубопроводу 10 на вход золотникового распределителя 11. Далее жидкость 4 через кольцеобразный канал 13 золотника 12 поступает трубопроводом 23 в регенератор 22, проходя через который она подохлаждается и поступает в охладитель 21, где окончательно охлаждается и поступает трубопроводом 26, через дополнительный кольцеобразный канал 19 золотникового распределителя 11 и трубопровод 27 в коллектор 28 с форсунками. При этом температура и давление в емкости 3 падают и упругая диафрагма 2 вытягивается внутрь емкости 3 – происходит процесс всасывания перекачиваемого газа в компрессионную камеру 5 через впускной клапан 6. По окончании процесса всасывания, когда давление в емкости 3 понизилось до определенного значения, под действием сжатой пружины 17 (благодаря понижению давления на золотник 12 распределителя 11) поршень 12 освобождается от фиксатора 17 и золотник 12 переходит в течение малого промежутка времени вправо (по чертежу в исходное положение). При этом фиксируется правая кольцеобразная проточка 14 золотника 12 – трубопроводы 24 и 25 снова открыты, а трубопроводы 23 и 26 закрыты. Жидкость 4 снова поступает на нагрев в регенератор 22 и нагреватель 21, и весь процесс (цикл) повторяется.
Устройство обладает полной автономностью и не требует дополнительных переключений во время работы, кроме как подачи в нагреватель 20 теплоносителя, в охладитель 21 хладагента, и включения всего устройства открытием запорного вентиля 29.
При выключении устройства необходимо прекратить подачу хладагента в охладитель 21 (при этом большая часть жидкости 4 перелавливается в аккумулирующую емкость 9), далее закрыть запорный вентиль 29 и прекратить подачу теплоносителя в нагреватель 20.
Предложенное изобретение решает задачу повышения эффективности устройства изменения давления газа в камере пневмопривода (в его полностью автономном варианте, с аккумулирующей емкостью) за счет введения регенератора тепла для легкоиспаряющейся жидкости и организации процесса регенерации в полностью автономном варианте работы устройства.
Применение в качестве легкоиспаряющейся жидкости вещества с температурой конденсации, близкой к температуре окружающей среды, и с температурой кипения на несколько десятков градусов выше нуля по Цельсию (например, некоторые фреоны) позволяет использовать устройство как вторичный источник энергии (сжатого газа) при использовании бросового тепла, солнечного излучения, энергии термальных вод и других экологически чистых источников энергии.
Формула изобретения
Устройство изменения давления газа в камере пневмопривода с аккумулирующей емкостью, содержащее корпус, разделенный упругой диафрагмой на рабочую емкость, частично заполненную легкоиспаряющейся жидкостью, и компрессионную полусферическую камеру для перекачивания газа с впускным и выпускным клапанами, трубопровод, соединяющий нижнюю точку рабочей емкости с верхней частью аккумулирующей емкости, расположенной выше уровня рабочей емкости, верхняя часть аккумулирующей емкости также соединена трубопроводом с газовой полостью рабочей емкости через термоклапан, расположенный в газовой полости рабочей емкости, нижняя часть аккумулирующей емкости трубопроводом через запорный вентиль и обратный клапан соединена с цилиндрическим полым корпусом (общим входом) золотникового распределителя, имеющего приводную полость, соединенную магистралью с газовой полостью рабочей емкости, и с установленным внутри подпружиненным золотником, снабженным фиксатором крайних положений поршня, выполненным в виде подпружиненного шарика и двух ответных кольцевых проточек на золотнике, который содержит один кольцеобразный распределительный канал, при этом выход корпуса золотникового распределителя подсоединен двумя выходными трубопроводами соответственно через (первое положение) нагреватель и (второе положение) охладитель к коллектору с форсунками рабочей емкости, отличающееся тем, что нагреватель и охладитель соединены между собой трубопроводами через регенератор тепла для легкоиспаряющейся жидкости, а золотник распределителя по своей длине содержит дополнительный аналогичный первому кольцеобразный распределительный канал, причем выход из аккумулирующей емкости на нагрев после золотникового распределителя (первое положение) подсоединен к трубопроводу между охладителем и регенератором, выход из аккумулирующей емкости на охлаждение после золотникового распределителя (второе положение) подсоединен к трубопроводу между нагревателем и регенератором, выход нагревателя подсоединен трубопроводом к первому входу (положению) дополнительного кольцеобразного распределительного канала, а ко второму его входу (положению) соответственно подсоединен трубопроводом выход охладителя, а его общий выход подсоединен к коллектору с форсунками рабочей емкости.
РИСУНКИ
MM4A – Досрочное прекращение действия патента СССР или патента Российской Федерации на изобретение из-за неуплаты в установленный срок пошлины за поддержание патента в силе
Дата прекращения действия патента: 25.01.2007
Извещение опубликовано: 10.09.2008 БИ: 25/2008
|
|