|
|
(21), (22) Заявка: 2005101523/06, 24.01.2005
(24) Дата начала отсчета срока действия патента:
24.01.2005
(45) Опубликовано: 20.05.2006
(56) Список документов, цитированных в отчете о поиске:
SU 1767215 A1, 07.10.1992. SU 1332134 А, 23.08.1987. SU 1089294 А, 30.04.1984. GB 694410 А, 22.07.1953. US 5881801 А, 16.03.1999.
Адрес для переписки:
191123, Санкт-Петербург, ул. Захарьевская, 22, ВИТУ, бюро по изобретательству и патентной работе
|
(72) Автор(ы):
Савчук Александр Дмитриевич (RU), Савчук Вера Александровна (RU), Савчук Николай Александрович (RU)
(73) Патентообладатель(и):
Военный инженерно-технический университет (RU)
|
(54) УСТРОЙСТВО ИЗМЕНЕНИЯ ДАВЛЕНИЯ ГАЗА В КАМЕРЕ ПНЕВМОПРИВОДА
(57) Реферат:
Изобретение относится к пневмоприводам, преимущественно компрессорам объемного вытеснения с тепловым приводом. Устройство содержит корпус, разделенный упругой диафрагмой на рабочую емкость и компрессионную полусферическую камеру, трубопровод, соединяющий нижнюю точку емкости с входом в насос, выход которого соединен трубопроводом с цилиндрическим полым корпусом золотникового распределителя с приводной полостью, соединенной магистралью с газовой полостью рабочей емкости, и с установленным внутри подпружиненным золотником, снабженным фиксатором крайних положений поршня. Выход корпуса распределителя подсоединен двумя выходными трубопроводами соответственно через нагреватель и охладитель к коллектору с форсунками рабочей емкости, покрытой слоем теплоизоляции. Коллекторы с форсунками для нагретой и охлажденной легкоиспаряющейся жидкости выполнены раздельными. Полусферическая наружная поверхность компрессионной камеры снабжена конвективным воздушным охладителем. Повышается эффективность и надежность устройства из-за снижения непроизводительных затрат тепла повышения изотермичности сжатия и нагнетания газа. 1 ил.
Изобретение относится к пневмоприводам, преимущественно компрессорам или насосам объемного вытеснения. При этом для сжатия и нагнетания газа используется энергия в виде тепла.
Известен способ изменения давления газа в камере пневмопривода (SU 1368483 А, 23.01.1988, F 04 В 19/24).
Недостатками устройства для реализации данного способа являются низкая надежность из-за неизбежного смешения перекачиваемого газа с легкоиспаряющейся жидкостью, а также из-за неопределенности положения поршня золотника в режиме переключения; сложность конструкции и наличие множества элементов, требующих постоянного переключения; необходимость фиксации золотникового распределителя от поворота вокруг своей оси; большие напряжения упругой диафрагмы компрессионной камеры из-за прямоугольных контуров камеры; энергозатраты для привода насоса.
Прототипом заявляемого изобретения является устройство изменения давления газа в камере пневмопривода (SU 1767215 А1, 07.10.1992, F 04 В 19/24).
В известном устройстве изменения давления газа в камере пневмопривода корпус разделен диафрагмой на рабочую емкость, частично заполненную легкоиспаряющейся жидкостью, и компрессионную камеру для перекачивания газа с впускным и выпускным клапанами. Трубопровод соединяет нижнюю точку емкости с входом в насос. Выход насоса соединен двумя входными трубопроводами с цилиндрическим полым корпусом золотникового распределителя, с установленным внутри подпружиненным поршнем с каналом и приводной полостью. Корпус распределителя подсоединен к двум выходным трубопроводам, подсоединенным соответственно через нагреватель и охладитель к форсункам (коллектора) рабочей емкости. Приводная полость распределителя соединена магистралью с газовой полостью рабочей емкости. Корпус распределителя снабжен фиксатором крайних положений поршня, выполненным в виде подпружиненного шарика.
Недостатком известного устройства являются:
1 – большие потери тепла на периодический нагрев и охлаждения корпуса рабочей камеры и коллектора с форсунками для легкоиспаряющейся жидкости;
2 – низкая изотермичность (почти адиабатный процесс) сжатия газа в компрессионной камере устройства, что снижает эффективность процесса сжатия и нагнетания газа.
Указанные недостатки ставят задачу повышения эффективности устройства изменения давления газа в камере пневмопривода в целом и, в частности, снижения непроизводительных затрат тепла, также повышения изотермичности сжатия и нагнетания газа.
Указанная задача решается тем, что устройство изменения давления газа в камере пневмопривода, содержащее корпус, разделенный упругой диафрагмой на рабочую емкость, частично заполненную легкоиспаряющейся жидкостью, и компрессионную полусферическую камеру для перекачивания газа с впускным и выпускным клапанами, трубопровод, соединяющий нижнюю точку емкости с входом в насос, выход которого соединен трубопроводом с цилиндрическим полым корпусом золотникового распределителя с приводной полостью, соединенной магистралью с газовой полостью рабочей емкости, и с установленным внутри подпружиненным золотником, снабженным фиксатором крайних положений поршня, выполненным в виде подпружиненного шарика и двух ответных кольцевых проточек на золотнике, который содержит кольцеобразный распределительный канал, при этом выход корпуса золотникового распределителя подсоединен двумя выходными трубопроводами соответственно через нагреватель и охладитель к коллектору с форсунками рабочей емкости, рабочая емкость изнутри покрыта слоем теплоизоляции, коллекторы с форсунками для нагретой и охлажденной легкоиспаряющейся жидкости выполнены раздельными, а полусферическая наружная поверхность компрессионной камеры снабжена конвективным воздушным охладителем.
Введение внутреннего покрытия слоем теплоизоляции рабочей емкости необходимо для снижения больших затрат тепла на периодический нагрев (и охлаждение) корпуса рабочей емкости. Данные непроизводительные затраты тепла могут быть на одном уровне или превышать производительные затраты тепла, которые идут на нагрев легкоиспаряющейся жидкости и в дальнейшем на сжатие газа в компрессионной камере.
Введение раздельных коллекторов с форсунками для нагретой и охлажденной легкоиспаряющейся жидкости необходимо для снижения больших затрат тепла на периодический нагрев (и охлаждение) самого (одного) коллектора с форсунками, который как правило бывает выполненным из металла с большой теплоемкостью. Данный второй отличительный признак снижает непроизводительные затраты тепла так же, как и первый отличительный признак формулы изобретения.
Введение конвективного воздушного охладителя на полусферической наружной поверхности компрессионной камеры необходимо для обеспечения лучшего охлаждения компрессионной камеры и придания процессу сжатия газа в ней политропного характера, близкого к изотермическому. В целом это повышает эффективность сжатия газа, увеличивает степень сжатия и производительность. Кроме этого, исключается чрезмерный нагрев упругой диафрагмы и выпускного клапана компрессионной камеры, что значительно повышает надежность устройства.
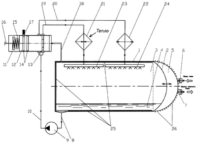
На чертеже изображена схема устройства изменения давления газа в камере пневмопривода.
Устройство (см. чертеж) содержит корпус 1, разделенный упругой диафрагмой 2 на рабочую емкость 3, частично заполненную легкоиспаряющейся жидкостью 4, и полусферическую компрессионную камеру 5, содержащую впускной 6 и выпускной 7 клапаны. Нижняя точка рабочей емкости 3 соединена трубопроводом 8 с насосом 9, выход которого соединен трубопроводом 10 с золотниковым распределителем, содержащим корпус 11, в котором с малым зазором установлен золотник 12 с каналом 13 в виде кольцеобразной проточки и две дополнительные фиксирующие кольцеобразные проточки 14, а сам золотник 12 подпружинен пружиной 15, другой конец которой упирается в винт 16, регулирующий степень сжатия пружины 15, причем корпус золотникового распределителя имеет фиксатор 17 золотника 12 в виде подпружиненного шарика. Надпоршневая полость золотникового распределителя соединена с газовой полостью рабочей емкости 3 магистралью 18. Выходы золотникового распределителя соединены трубопроводами 19 и 20 соответственно с нагревателем 21 и охладителем 22, выходы которых подсоединены соответственно к своим (раздельным) коллекторам с форсунками 23 и 24, расположенным внутри газовой полости емкости 3, в ее верхней части. Внутренняя поверхность полости рабочей емкости 3 покрыта теплоизоляционным слоем 25. На полусферической наружной поверхности компрессионной камеры 5 выполнен конвективный воздушный охладитель, например, в виде оребрения 26.
Работает устройство следующим образом.
Сначала включается насос 9, который всасывает лекоиспаряющуюся жидкость 4 через трубопровод 8 из рабочей емкости 3 и нагнетает ее через трубопровод 10 в золотниковый распределитель 11, из которого жидкость 4 по трубопроводу 19 поступает в нагреватель 21, в котором она нагревается, частично испаряясь, и поступает через форсунки коллектора 23 в полость емкости 3. Температура парожидкостной фазы в рабочей полости емкости 3 растет и повышается давление, при действии которого деформируется упругая диафрагма 2, которая сжимает газ в компрессионной камере 5, образованной корпусом 1, и нагнетает сжатый газ потребителю через выпускной клапан 7. При максимальном повышении давления в емкости 3 давление, действуя через трубопровод 18 на золотник 12, освобождает его от фиксатора 17, и золотник, резко (быстро) сжимая пружину 15, перемещается влево (по чертежу), при этом фиксатор 17 переходит с левой кольцеобразной проточки 14 в правую проточку 14 и фиксирует в этом положении золотник 12, который своим кольцеобразным каналом 13 закрывает трубопровод 19 и открывает трубопровод 20, в результате чего жидкость 4 прогоняется насосом 9 через охладитель 22, в котором она охлаждается до температуры, близкой температуре охладителя, и далее поступает через форсунки коллектора 24 в газовую полость емкости 3. При этом температура и давление в емкости 3 падают, и упругая диафрагма 2 вытягивается внутрь емкости 3 – происходит процесс всасывания перекачиваемого газа в компрессионную камеру 5 через впускной клапан 6. По окончании процесса всасывания, когда давление в емкости 3 понизилось до определенного значения, под действием сжатой пружины 17 (благодаря понижению давления на золотник 12 распределителя 11) поршень 12 освобождается от фиксатора 17, и золотник 12 переходит в течение малого промежутка времени вправо (по чертежу в исходное положение). При этом фиксируется правая кольцеобразная проточка 14 золотника 12 – трубопровод 19 снова открыт, а трубопровод 20 закрыт. Жидкость 4 снова поступает в нагреватель 21 и весь процесс повторяется.
При периодическом нагреве и охлаждении легкоиспаряющейся жидкости 4 в рабочей емкости 3 ее корпус 1 не успевает значительно изменить свою температуру из-за теплоизоляционного покрытия 25 и происходит экономия тепла. Также при работе устройства не происходит значительного изменения температуры коллекторов 23 и 24. Все это позволяет уменьшить количество подводимой в нагревателе теплоты и повысить эффективность работы всего устройства. Процесс сжатия газа происходит при лучшем охлаждении полусферической компрессионной камеры 5 за счет находящегося на ней конвективного воздушного охладителя в виде оребрения 26.
Предложенное изобретение решает задачу повышения эффективности и надежности устройства изменения давления газа в камере пневмопривода в целом и, в частности, снижения непроизводительных затрат тепла, а также повышения изотермичности сжатия и нагнетания газа.
Так, в предложенном устройстве исключены большие потери тепла на периодический нагрев и охлаждение корпуса рабочей камеры и коллектора с форсунками для легкоиспаряющейся жидкости. Кроме того, обеспечен близкий к изотермическому процесс сжатия газа в компрессионной камере устройства, что повышает эффективность процесса сжатия и нагнетания газа, а также повышает надежность устройства.
Применение в качестве легкоиспаряющейся жидкости вещества с температурой конденсации, близкой к температуре окружающей среды, и с температурой кипения на несколько десятков градусов выше нуля по Цельсию (например, некоторые фреоны) позволяет использовать устройство как вторичный источник энергии (сжатого газа) при использовании бросового тепла, солнечного излучения, энергии термальных вод и других экологически чистых источников энергии.
Формула изобретения
Устройство изменения давления газа в камере пневмопривода, содержащее корпус, разделенный упругой диафрагмой на рабочую емкость, частично заполненную легкоиспаряющейся жидкостью, и компрессионную полусферическую камеру для перекачивания газа с впускным и выпускным клапанами, трубопровод, соединяющий нижнюю точку емкости с входом в насос, выход которого соединен трубопроводом с цилиндрическим полым корпусом золотникового распределителя с приводной полостью, соединенной магистралью с газовой полостью рабочей емкости, и с установленным внутри подпружиненным золотником, снабженным фиксатором крайних положений поршня, выполненным в виде подпружиненного шарика и двух ответных кольцевых проточек на золотнике, который содержит кольцеобразный распределительный канал, при этом выход корпуса золотникового распределителя подсоединен двумя выходными трубопроводами соответственно через нагреватель и охладитель к коллектору с форсунками рабочей емкости, отличающееся тем, что рабочая емкость изнутри покрыта слоем теплоизоляции, коллекторы с форсунками для нагретой и охлажденной легкоиспаряющейся жидкости выполнены раздельными, а полусферическая наружная поверхность компрессионной камеры снабжена конвективным воздушным охладителем.
РИСУНКИ
MM4A – Досрочное прекращение действия патента СССР или патента Российской Федерации на изобретение из-за неуплаты в установленный срок пошлины за поддержание патента в силе
Дата прекращения действия патента: 25.01.2007
Извещение опубликовано: 10.09.2008 БИ: 25/2008
|
|