|
|
(21), (22) Заявка: 2001128181/06, 18.10.2001
(24) Дата начала отсчета срока действия патента:
18.10.2001
(30) Конвенционный приоритет:
19.10.2000 FR 0013355
(43) Дата публикации заявки: 20.06.2003
(45) Опубликовано: 20.05.2006
(56) Список документов, цитированных в отчете о поиске:
RU 5197853 А, 30.03.1993. RU 2038487 C1, 27.06.1995. RU 1469964 С, 30.09.1994. SU 1459334 А1, 10.01.1995. DE 3243422 А, 04.03.1986. GB 2001139 А, 19.08.1980.
Адрес для переписки:
103735, Москва, ул. Ильинка, 5/2, ООО “Союзпатент”, пат.пов. А.В.Залесову, рег.№ 904
|
(72) Автор(ы):
КО Фабрис (FR), ЖАНДРО Алан (FR), ПАБЬОН Филлипп (FR)
(73) Патентообладатель(и):
СНЕКМА МОТЕР (FR)
|
(54) УСТРОЙСТВО ДЛЯ СОЕДИНЕНИЯ КОЛЬЦА ТУРБИНЫ СТАТОРА С ОПОРНОЙ СТОЙКОЙ
(57) Реферат:
Изобретение относится к устройству для соединения кольца статора турбины со стойкой. Стойка, прикрепленная к основной части статора турбины двигателя, соединена с кольцом с помощью пары крюков на одной стороне и выступов на другой стороне. В соответствии с изобретением уплотнение соединения осуществлено по плоским поверхностям, примыкающим к выступам за счет упругого отклонения язычков, прижимающих один из выступов. Язычки также закрепляют кольцо в тангенциальном направлении. Такое выполнение устройства позволит повысить качество уплотнения двух плоских аксиально направленных поверхностей кольца и стойки. 3 з.п. ф-лы, 3 ил.
Изобретение относится к устройству для соединения кольца статора турбины со стойкой, используемой в качестве опоры этого кольца.
Статоры турбин часто включают в себя состоящие из некоторого количества сегментов кольца, определяющие границы сопла, где циркулирует газ. Опорами и средствами крепления этих колец служат стойки, соединенные с основной частью статора.
Настоящее изобретение имеет целью разработать усовершенствованное уплотнение между находящимися в контакте частями стойки и кольцами, разграничивающими полости, представляющие собой каналы выпуска воздуха, охлаждающего кольца. Этот охлаждающий воздух может одновременно использоваться для регулирования диаметра колец и зазора между кольцами и лопатками ротора, вращающимися перед ними. Вследствие утечки воздуха наружу из полостей через места, где контактируют кольцо и стойка, происходит снижение КПД машины, поскольку для охлаждения приходится затрачивать дополнительное количество воздуха и поскольку воздух утечки смешивается с газами в сопле, температура и давление которых являются другими.
В устройстве, известном из патента США №5197853 (ближайший аналог), сегменты кольца закреплены в опоре посредством крепежного устройства: сегменты кольца и стойка имеют дополнительные крюки на одной стороне, которые введены в положение зацепления друг с другом с образованием уплотнения при подгонке деталей, они также имеют выступы на противоположной стороне, приближенные друг к другу за счет поворота крюков и скрепленные за счет установки на них захвата для плотного удержания их на месте. Без применения подгонки необходимо прикладывать усилие для формирования уплотнения на этой стороне за счет непосредственного контакта поверхностей выступов. В устройстве по указанному выше патенту выступ стойки разделен выемкой на две круговые параллельные части, называемые направляющими, и уложен в выемку выступа кольца той же ширины с формированием уплотнения между внешними боковыми поверхностями направляющих и соответствующими боковыми поверхностями выемки выступа кольца. Такое устройство обладает определенными недостатками, поскольку лишь плотная установка направляющих в выемке выступа кольца несколько меньшей ширины обеспечивает необходимое уплотнение контакта, но при этом возникают существенные трудности при установке кольца. Поэтому выемку выступа кольца выполняют несколько шире, чем направляющие выступа стойки, в результате чего между их боковыми сторонами остаются люфты, что приводит к утечкам. Также не удается сформировать качественное уплотнение между нижними поверхностями выступа стойки и выемкой выступа кольца, имеющими изгибы, радиусы которых не совпадают друг с другом, поскольку их нагрев и соответствующее расширение при работе машины часто отличаются.
Цель настоящего изобретения заключается в разработке усовершенствованного уплотнения двух плоских аксиально направленных поверхностей кольца и стойки. В наиболее общей форме изобретение относится к устройству для соединения кольца статора турбины с круговой кольцевой стойкой опоры кольца, содержащему на одной стороне кольца и стойки крюки для крепежа кольца к стойке, а на другой стороне кольца и стойки, аксиально противоположной первой стороне, поверхности, соединение которых уплотняется за счет взаимного аксиального прижатия, и захваты, прижимающие концентрические выступы, расположенные рядом с уплотняемым соединением кольца и стойки, причем один из выступов содержит, по меньшей мере, один паз, заглубленный в осевом направлении, а другой выступ содержит, по меньшей мере, один изогнутый язычок, введенный в паз и взаимодействующий с одной нижней стороной паза с отклонением язычка, обеспечивающим усиление прижатия поверхностей в уплотняемом соединении.
Для получения требуемого прижатия можно использовать различное количество язычков и пазов.
Предпочтительным является то, что на дне паза выполнен шип, выведенный наружу в направлении язычка в средней части паза. Выполнение язычков и пазов в контактных выступах не увеличивает перекрытие кольца или стойки, что является важным преимуществом, т.к. язычки и пазы можно использовать для закрепления колец в стойках также в тангенциальном направлении, заменив ранее использовавшиеся для этой функции штыри в просверленных отверстиях, требовавших дополнительной обработки на станках и ослаблявших конструкцию.
Целесообразным является то, что ширина язычка и паза отрегулирована с обеспечением между ними люфта, соответствующего тангенциальному зазору между кольцом и стойкой, причем эти элементы являются единственными, удерживающими кольцо в стойке в тангенциальном направлении. Захват охватывает свободные края выступов.
Ниже приведено подробное описание изобретения со ссылками на чертежи:
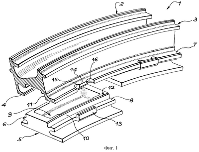
фиг.1 изображает устройство согласно настоящему изобретению в общем виде;
фиг.2 – то же, что и на фиг.1, в изометрии с разрезом;
фиг.3 – устройство в поперечном разрезе в положении захвата.
Круговая стойка 1, часть которой изображена на чертежах, включает в себя верхние крюки 2 и 3 для соединения с основной частью статора (не изображена) и нижний крюк 4 для крепления сегментов кольца 5 со стойкой с помощью дополнительных крюков 6.
Стойка 1 и кольцо 5 имеют на стороне, аксиально противоположной крюкам 4 и 6, соответствующие выступы 7 и 8, предназначенные для введения в контакт с формированием стойкой 1 и каждым сегментом кольца 5 полости 9 между крюками 4 и 6 и выступами 7 и 8, изоляцию которой нужно обеспечить. Со стороны выступов 7 и 8 изоляция обеспечивается путем поддержания плотного контакта между двумя плоскостями 10 и 11, одна из которых расположена снаружи края 12, расположенного на кольце 5 позади выступа 8, а другая – позади выступа 7 стойки 1. Язычки 13, радиально изогнутые в направлении наружу, расположены в определенных местах выступа 8 кольца 5 с обеспечением прижатия выступа 7 стойки 1 к краю 12. Выступ 7 немного шире, чем пространство между стороной 10 кольца 5 и язычком 13. Язычок 13 выполнен гибким и поэтому немного деформируется при введении выступа 7 между ним и краем 12. Язычок 13 закреплен не на внешнем крае выступа 7, а на шипе 14, расположенном на дне паза 15. Язычок 13 равномерно прижат к краю 16 шипа 14.
Ширину язычка 13 можно регулировать относительно ширины паза 15, с формированием положительного или отрицательного люфта в их соединении, совместимого с зазорами, которые допускаются или не допускаются в тангенциальном направлении между стойкой 1 и кольцом 5. Никакая другая конструкция, например, использующая штырь, введенный в просверленное отверстие, не удерживает кольцо на стойке в тангенциальном направлении.
Фиг.3 изображает захват 18, используемый для крепления выступов 7 и 8. Он расположен по всей окружности и охватывает свободные края выступов 7 и 8 и язычки 13 с обеспечением равномерного крепления выступов без необходимости какого-либо углового регулирования.
Возможны другие варианты осуществления настоящего изобретения. Соответствующие устройства обладают следующими признаками: в каждом сегменте кольца 5 может быть несколько язычков 13. Крепление в тангенциальном направлении обеспечивается фиксацией части выступа 7 стойки 5 между двумя язычками 13, а не фиксацией язычка 13 между двумя частями выступа 7. Изобретение также предусматривает возможность поменять местонахождение язычков 13 и пазов 15 и сформировать каждый из них на других выступах.
Настоящее устройство совместимо с плотным креплением крюков 4 и 6, друг на друге, на противоположной стороне по отношению к установленным выступам 7 и 8. В американском патенте, упомянутом в начале описания, значительные силы трения, возникающие на стыках между крюками, в переходных фазах работы машины, когда нагрев и температурное расширение кольца и стойки являются различными, обеспечивают предотвращение осевого проскальзывания крюков друг по другу. Вместе с тем, они передают усилия, вызывающие проскальзывание, на другую сторону узла между уплотняемыми выступами, что приводит к постоянному изменению конфигурации уплотняющего узла, ухудшающему качество уплотнения. Такие проскальзывания исключаются в данном изобретении за счет крепления выступов 7 язычками 13.
Формула изобретения
1. Устройство для соединения кольца (5) статора турбины с круговой кольцевой стойкой (1), содержащее на первой стороне кольца и стойки крюки (4, 6) для крепления кольца со стойкой, а на второй стороне кольца и стойки, аксиально противоположной первой стороне, поверхности (10, 11), соединение которых уплотнено путем взаимного прижатия в осевом направлении, и захват (18), сжимающий концентрические выступы (7, 8), расположенные вблизи уплотняемого соединения кольца и стойки, отличающееся тем, что один из выступов содержит, по меньшей мере, один паз (15), заглубленный в осевом направлении, а другой выступ содержит, по меньшей мере, один изогнутый язычок (13), введенный в паз и взаимодействующий с одной нижней стороной паза с отклонением язычка (13), обеспечивающим усиление прижатия указанных поверхностей.
2. Устройство по п.1, отличающееся тем, что на дне паза (15) выполнен шип (14), выведенный наружу в направлении язычка в средней части паза.
3. Устройство по п.1, отличающееся тем, что ширина язычка и паза отрегулирована с обеспечением между ними люфта, соответствующего тангенциальному зазору между кольцом и стойкой, причем эти элементы являются единственными, удерживающими кольцо (5) в стойке (1) в тангенциальном направлении.
4. Устройство по п.1, отличающееся тем, что захват (18) охватывает свободные края выступов (7, 8).
РИСУНКИ
|
|