|
|
(21), (22) Заявка: 2004138377/03, 27.12.2004
(24) Дата начала отсчета срока действия патента:
27.12.2004
(45) Опубликовано: 20.05.2006
(56) Список документов, цитированных в отчете о поиске:
SU 891957 А, 23.12.1981. SU 1273592 А1, 30.11.1986. SU 1809098 А1, 15.04.1993. SU 1553711 А1, 30.03.1990. SU 1686176 А1, 23.10.1991. SU 1314105 А1, 30.05.1987. RU 2030588 C1, 10.03.1995.
Адрес для переписки:
199106, Санкт-Петербург, В.О., 21-я Линия, 2, СПГГИ (ТУ), патентный отдел
|
(72) Автор(ы):
Овчаренко Григорий Васильевич (RU), Брегман Михаил Лазаревич (RU), Сидоренко Андрей Александрович (RU), Овчаренко Денис Григорьевич (RU)
(73) Патентообладатель(и):
Государственное образовательное учреждение высшего профессионального образования Санкт-Петербургский государственный горный институт им. Г.В. Плеханова (технический университет) (RU)
|
(54) МЕХАНИЗИРОВАННАЯ ПНЕВМАТИЧЕСКАЯ КРЕПЬ
(57) Реферат:
Изобретение относится к области горного дела и может быть использовано для поддержания кровли в лавах пологих и крутых угольных пластов без постоянного присутствия людей в очистном забое. Обеспечивает уменьшение вывалообразования в условиях неустойчивых пород кровли путем снижения площади незакрепленной части призабойного пространства. Крепь включает базовые балки, жестко связанные с четными и нечетными пневмобаллонами, и механизм передвижки. Пневмобаллоны выполнены треугольной формы, примыкающими основаниями к базовым балкам. Базовые балки выполнены переменного сечения с увеличением диаметра в направлении удерживающего устройства механизма передвижки. 4 ил.
Предлагаемое изобретение относится к области горного дела и может быть использовано для поддержания кровли в лавах пологих и крутых пластов без постоянного присутствия людей в очистном забое.
Известна пневматическая крепь выемочного агрегата, включающая гибкие несущие элементы и гибкие оболочки механизма передвижения, установленной между Г-образными захватами завальных полусекций соседних секций крепи, которые выполнены разной длины, при этом гибкие несущие элементы на завальных полусекциях выполнены из соединенных между собой в ряд подушек, равных по длине ширине секций крепи и установленных по длине лавы в шахматном порядке со смещением по длине секций крепи на шаг передвижки, см. а.с. №1314105, кл. Е 21 D 23/00, БИ N 20.
Недостатком крепи является ограниченная область применения – породы кровли устойчивые, т.к. в условиях средней устойчивости и неустойчивых породах при вывалообразованиях будет происходить заклинивание секций крепи.
Известна пневмоболонная крепь, взятая в качестве прототипа, включающая соединенные между собой гидродомкратами передвижения забойные и завальные пневмобаллоны с ограждениями из замкнутых по контуру упругих лент, при этом забойные и завальные пневмобаллоны установлены в чередующемся порядке, а упругие ленты телескопически связаны между собой по длине крепи и жестко закреплены на завальной базовой балке, которая установлена с завальной стороны пневмобаллонов, при этом гидродомкраты передвижения установлены в исходном положении со взаимным наклоном к направлению подачи крепи и образуют с участками базовых балок равнобедренные трапеции (см. а.с. №891957, кл. Е 21 D 23/00).
Однако при передвижке крепи площадь незакрепленной части призабойного пространства (между линией очистного забоя и пневмобаллона) остается значительно большой, что приводит к вывалообразованию между линией очистного забоя и завальными пневмобаллонами.
Техническим результатом изобретения является устранение указанных недостатков, в том числе уменьшение вывалоообразования в условиях неустойчивых пород кровли путем снижения площади незакрепленной части призабойного пространства в условиях весьма тонких крутых угольных пластов.
Технический результат достигается тем, что в механизированной пневматической крепи, включающей базовые балки, жестко связанные с четными и нечетными пневмобаллонами, и механизм передвижки, согласно изобретению пневмобаллоны выполнены треугольной формы, примыкающими основаниями к базовым балкам, а базовые балки выполнены переменного сечения с увеличением диаметра в направлении удерживающего устройства механизма передвижки.
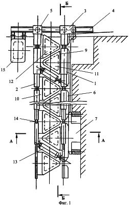
Сущность изобретения поясняется чертежами, где на фиг.1 показан общий вид крепи в плане, на фиг.2 – сечение по линии А-А, на фиг.3 – сечение по линии Б-Б (вдоль линии очистного забоя), на фиг.4 – вид крепи после передвижки базовой балки с четными пневмобаллонами.
Механизированная пневматическая крепь состоит из забойной базовой балки 1 и завальной базовой балки 2. Базовая балка 1 через каретку 3 опирается на удерживающее устройство 4, а базовая балка 2 – через каретку 5. К базовой балке 1 жестко прикреплены лыжи 6 для взаимодействия с выемочным комбайном 7, перемещающегося вдоль линии очистного забоя 8. К базовым балкам 1 жестко прикреплены основания 9, к базовым балкам 2 – основании 10. К основаниям 9 прикреплены треугольной формы четные пневмобаллоны 11, а к основаниям 10 – нечетные пневмобаллоны 12 треугольной формы. К базовым балкам 1 и 2 между четными и нечетными пневмобаллонами шарнирно закреплены пневмодомкраты 13. Базовые балки выполнены переменного сечения и соединены между собой с помощь оси 14, позволяющей изгибаться базовым балкам в плоскости напластования. Удерживающее устройство 4 снабжено вспомогательным пневмобаллонном 15 закрепленным к нему шарнирно.
Работа крепи осуществляется следующим образом: в исходном положении базовые балки 1 и 2 сближены, пневмобаллоны расперты между кровлей и почвой пласта. После выемки полосы угля по всей длине очистного забоя 8 комбайном 7 последний опускает в нижнюю нишу на сопряжении лавы с откаточным штреком (на фиг.4 не показано). Сжатый воздух выпускается с четных пневмобаллонов 11, включают домкраты 13 на передвижку и перемещают базовую балку 1 и четные пневмобаллоны 11 в сторону очистного забоя на шаг заходки. Подают сжатый воздух в пневмобаллоны 2, которые распираются между кровлей и почвой пласта. После чего разгружаются нечетные пневмобаллоны 12, включаются домкраты 13 на подтягивание и базовую балку 2 вместе с нечетными пневмобаллонами 12 перемещают к линии очистного забоя 8 на шаг заходки. Подается сжатый воздух в пневмобаллоны 12, которые распираются между кровлей и почвой пласта. Выпускается сжатый воздух из вспомогательного пневмобаллона 15 и удерживающее устройство 4 по неподвижным в данный момент кареткам 3, 5 перемещается в направлении линии очистного забоя на шаг заходки. Пневмобаллон 15 распирается между кровлей и почвой пласта. Крепь занимает исходное положение.
Применение данной крепи позволит уменьшить число и объем вывалообразований в призабойном пространстве очистных забоев.
Формула изобретения
Механизированная пневматическая крепь, включающая базовые балки, жестко связанные с четными и нечетными пневмобаллонами и механизм передвижки, отличающаяся тем, что пневмобаллоны выполнены треугольной формы, примыкающими основаниями к базовым балкам, а базовые балки выполнены переменного сечения с увеличением диаметра в направлении удерживающего устройства механизма передвижки.
РИСУНКИ
MM4A – Досрочное прекращение действия патента СССР или патента Российской Федерации на изобретение из-за неуплаты в установленный срок пошлины за поддержание патента в силе
Дата прекращения действия патента: 28.12.2006
Извещение опубликовано: 10.08.2008 БИ: 22/2008
|
|