|
|
(21), (22) Заявка: 2004134344/03, 25.04.2002
(24) Дата начала отсчета срока действия патента:
25.04.2002
(43) Дата публикации заявки: 20.04.2005
(45) Опубликовано: 20.05.2006
(56) Список документов, цитированных в отчете о поиске:
DE 3215715 А, 03.11.1983. SU 967271 А, 15.10.1982. SU 1053555 A1, 23.04.1986. SU 776955 A1, 07.11.1980. SU 635260 A1, 30.11.1978. SU 581313 A1, 25.11.1977. RU 2044684 C1, 27.09.1995. DE 1758066 A, 09.07.1970.
(85) Дата перевода заявки PCT на национальную фазу:
25.11.2004
(86) Заявка PCT:
EP 02/04589 (25.04.2002)
(87) Публикация PCT:
WO 03/091541 (06.11.2003)
Адрес для переписки:
129010, Москва, ул. Б.Спасская, 25, стр.3, ООО “Юридическая фирма Городисский и Партнеры”, пат.пов. Г.Б. Егоровой
|
(72) Автор(ы):
ШМИДТ Зигфрид (DE), ВИРТЦ Йорг (DE)
(73) Патентообладатель(и):
ДБТ ГМБХ (DE)
|
(54) СЕКЦИЯ ЖЕЛОБА ДЛЯ ЛАВНОГО КОНВЕЙЕРА С ПОГРУЗОЧНОЙ ПЛАТФОРМОЙ
(57) Реферат:
Изобретение относится к секции желоба для лавного конвейера подземных добычных установок. Техническим результатом является исключение подъема лавного конвейера. Для этого секция желоба угледобывающих установок с грузоподъемным отделением шахтного ствола и отделением шахтного ствола обратного хода для направляющей скребкового цепного транспортера, между которыми расположено основание желоба, с фиксирующими средствами, расположенными со стороны закладки и со стороны забоя на концах секции желоба, для соединительного элемента секций желоба, связывающего соседние секции желоба друг с другом с обеспечением прочности на растяжение, с направляющими средствами для добычной машины, подвижной вдоль плоскости очистного забоя, и с отогнутым направляющим листом, образующим погрузочную платформу, присоединенную со стороны плоскости очистного забоя к секции желоба и проходящую от пласта до уровня грузоподъемного отделения шахтного ствола. Причем нижний участок направляющего листа относительно основания желоба отогнут круче, чем его верхний участок, а на концах секции желоба направляющий лист снабжен выемками, размеры которых соответствуют размерам фиксирующих средств и/или средств соединения секций желоба, при этом нижний участок направляющего листа образует на нижней кромке планку перемычки, которая доходит до концов секции желоба. 21 з.п. ф-лы, 2 ил.
Изобретение касается секции желоба для лавного конвейера подземных добычных установок, в частности угледобывающих установок с грузоподъемным отделением шахтного ствола и отделением шахтного ствола обратного хода для направления скребкового цепного транспортера, причем между грузоподъемным отделением шахтного ствола и отделением шахтного ствола обратного хода выполнено основание желоба с фиксирующими средствами, расположенными со стороны закладки и со стороны забоя на концах секции желоба, для соединительного элемента секции желоба, связывающего соседние секции желоба друг с другом с обеспечением прочности на растяжение, предпочтительно с направляющими средствами для добычной машины, подвижной вдоль плоскости очистного забоя, и со статичной погрузочной платформой, которая присоединена со стороны плоскости очистного забоя к секции желоба, проходящей от пласта до уровня грузоподъемного отделения шахтного ствола, и через которую при передвижении лавного конвейера может быть загружен навал отбитого ископаемого в грузоподъемное отделение шахтного ствола.
Секции желоба для лавного конвейера известны в разных вариантах выполнения. Загрузка навала отбитого ископаемого в грузоподъемное отделение шахтного ствола лавного конвейера может производиться в подземных добычных установках, в которых добычная машина перемещается вдоль плоскости забоя, как например в добычных установках с добычным стругом посредством специальных устройств или направляющих листов в добычной машине. Секции желоба со статическими погрузочными платформами находят применение, в частности, в добычных установках, которые функционируют с передвижными добычными машинами, перемещающимися вдоль между конвейером и плоскостью забоя, добычные установки имеют стационарные и, например, добычные машины, прикрепленные к неподвижному звену крепи (DE 19736662) или которые предусмотрены как направляющие для вальцового погрузочного устройства. У подобных добычных установок с вальцовыми погрузочными устройствами можно формировать направляющее средство со стороны забоя, например направляющую планку или подкрановый путь для вальцового погрузочного устройства, одновременно также нижний участок погрузочной платформы лавного конвейера (DE 19720536).
В случае очистного забоя передвигаются секции желоба, соединенные в лавный конвейер, над поперечинами, установленными на подшипниках на неподвижных звеньях крепи или над шагающими балками. В случае передвижения секции желоба лавного конвейера имеют тенденцию к подъему, то есть к отрыву от пласта, и с таким негативным свойством подъема необходимо бороться подходящими управляющими мерами для горизонтальной регулировки резания. Подъем лавного конвейера является недостатком, в частности, в том случае, если, как при вальцовых погрузочных устройствах, добычная машина установлена в лавном конвейере.
Задача изобретения состоит в том, чтобы свести к минимуму негативное свойство подъема лавного конвейера посредством конструктивных мер в секции желоба.
Эта задача решается с помощью изобретения, охарактеризованного в пункте 1 формулы изобретения. Согласно изобретению предусмотрено, что погрузочная платформа состоит из изогнутого или, в частности, согнутого под углом направляющего листа, нижний участок которого проходит круче относительно пласта или основания желоба, чем его верхний участок. В уровне техники до сих пор статические погрузочные платформы состояли из навесных частей, которые были прикреплены со стороны забоя к боковым стенкам или боковым профилям секций желоба, и имелись плоские по всей высоте секции желоба, то есть направленная в виде клина к плоскости забоя или к пласту платформа, или же изогнутая платформа, которая в нижнем участке проходит относительно плоско и поднимается круче по направлению к грузоподъемному отделению шахтного ствола, следовательно, изогнута по направлению к плоскости забоя. Было установлено, что посредством фиксации направляющего листа со стороны забоя и посредством изменения направления линий направляющего листа в изгиб, указывающий путь от плоскости забоя, свойство подъема лавного конвейера в случае передвижения уменьшается. Изгиб состоит, в частности, из отгиба направляющего листа таким образом, что направляющий лист в нижнем участке имеет более крутую форму. Посредством таких мероприятий сооружается статическая погрузочная платформа, в общей сложности, относительно короткой, и она лишь незначительно увеличивает общий вес секции желоба.
У варианта выполнения секции желоба, предпочитаемого заявителем, поперечная линия изгиба или поперечная линия отгиба направляющего листа может быть расположена на уровне основания желоба, предпочтительно между серединой и нижней стороной основания желоба, и/или она находится ниже осевой линии точки приложения силы поперечин или шагающих балок, установленных в крепи, к секции желоба, таким образом, ниже точки воздействия шагающего устройства, расположенного со стороны закладки, вместе с которым передвигается лавный конвейер. Особенно предпочтительным при этом будет направляющий лист с участками, отогнутыми друг к другу, причем как нижний, так и верхний участки являются по существу плоскими и образуют угол от примерно 150°-170°, предпочтительно 160°±4°. Кроме того, является предпочтительным, если нижний участок относительно основания желоба отогнут на угол примерно 65°-85°, предпочтительно 78°±4°, и верхний участок отогнут относительно основания желоба на угол примерно 45°-65°, предпочтительно 55°±4°.
Для монтажа и демонтажа лавного конвейера и замены отдельных секций желоба является преимущественным, если направляющий лист на концах секции желоба снабжен выемками, размер которых соответствует размерам фиксирующих средств и/или средств соединения секций желоба. Фиксирующие средства в секции желоба состоят предпочтительно из гнезд для T-образных болтов, и средства соединения секций желоба состоят предпочтительно из T-образных болтов, чьи T-образные головки вставляются в гнезда для T-образных болтов. Выемка может быть сформирована, в частности, так, что нижний участок направляющего листа имеет или образует на нижней кромке планку перемычки, которая доходит вплоть до обоих концов секции желоба, так, что направляющий лист на его нижней кромке по всей длине секции желоба заканчивается листом основания или подобным элементом секции желоба и только на каждом конце секции желоба имеет по выемке, в которые может поступать угольная мелочь и мелкий уголь. Так как эти выемки после короткого времени работы лавного конвейера забиваются, то они не оказывают влияния на результат погрузки статической погрузочной платформы, и соответствующая изобретению секция желоба сохраняет свое негативное свойство подъема уменьшенным по сравнению с известными аналогичными секциями желоба. Ограничительная стенка выемки, которая проходит по существу параллельно к концам секции желоба и продолжается до уровня грузоподъемного отделения шахтного ствола, снабжена предпочтительно выступом, так что, с одной стороны, имеется в наличии достаточное свободное пространство для вставления/извлечения T-образных головок болтов, и, с другой стороны, за счет выступа достигается своего рода свободное резание, из чего в точке перехода от направляющего листа к выемке следует лучшее введение захватывающих сил в присоединенную или приваренную область секции желоба.
В предпочтительном варианте выполнения направляющий лист приварен к секции желоба. Особенно благоприятно в этом случае, если направляющий лист в его нижнем участке, в частности, планкой перемычки на его нижней кромке приварен к планке основания со стороны забоя, к скользящей планке или к направляющей для добычной машины. Благодаря сварному шву на нижней кромке и соединению с планкой основания или скользящей планкой, слои навала отбитого ископаемого, расположенные на пласте, в случае передвижения конвейера выдавливаются вверх по всей ширине секции желоба, без попадания угля или подобного ископаемого в этой области за направляющий лист и без неблагоприятного подъема конвейера.
Соответствующий изобретению направляющий лист используется как в секциях желоба с жестко смонтированными друг с другом нижним отделением и грузоподъемным отделением шахтного ствола, так и в секциях желоба со сменным желобом в качестве грузоподъемного отделения шахтного ствола. В жестко установленном отделении шахтного ствола боковой профиль, как известно, например, из документа DE 4006283 A1, может состоять из катаных профилей и иметь приблизительно Т-образное поперечное сечение, причем в таком случае направляющий лист может привариваться своим верхним участком к нижней стороне горизонтальной перемычки L-образного или T-образного бокового профиля. В секциях желоба со сменным желобом в качестве грузоподъемного отделения шахтного ствола направляющий лист приварен предпочтительно своим верхним участком к рамной конструкции, на которой установлен сменный желоб.
Так как в случае передвижения лавного конвейера и в случае загрузки навала отбитого ископаемого в грузоподъемное отделение шахтного ствола на направляющий лист действуют значительные усилия, то, по меньшей мере, два опорных листа расположены предпочтительно между направляющим листом и боковой стенкой со стороны забоя и/или боковыми профилями грузоподъемного отделения шахтного ствола и/или отделением шахтного ствола обратного хода. Это также позволяет выполнять направляющий лист с относительно небольшой толщиной. Целесообразным способом направляющий лист имеет в таком случае вертикально проходящие щелевые выемки на высоте опорных листов так, что в щелевых выемках могут размещаться дополнительные сварные швы, с помощью которых направляющий лист соединяется с секцией желоба. Между щелевыми выемками и/или посередине направляющий лист может быть снабжен отверстием для подвешивания на подъемном средстве.
Предпочтительно применение соответствующих изобретению секций желоба в лавных конвейерах с направляющими средствами для режущей добычной машины, в частности с направляющими средствами для вальцового погрузочного устройства. Далее, у секции желоба с направляющими средствами для вальцового погрузочного устройства может сводиться к минимуму склонность к подъему, если горизонтальная перемычка расположенного со стороны забоя бокового профиля грузоподъемного отделения шахтного ствола образует одновременно направляющую со стороны забоя для вальцового погрузочного устройства, и вальцовое погрузочное устройство работает на горизонтальной перемычке бокового профиля со стороны забоя. Эти мероприятия обеспечивают одновременно компактное конструктивное исполнение добычной установки так, что также верхняк кровли на неподвижных звеньях крепи может выполняться короче, чем у секций желоба, которые со стороны забоя перед расположенным со стороны забоя боковым профилем секций желоба имеют специальный машинный подкрановый путь.
Другие преимущества и варианты выполнения соответствующей изобретению секции желоба следуют из последующего описания примера выполнения, представленного на чертежах.
На чертежах показано:
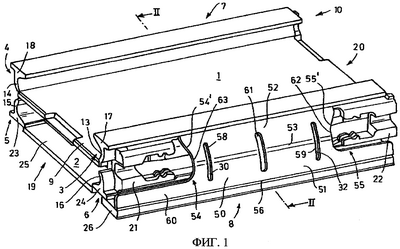
фиг.1 – вид в перспективе соответствующей изобретению секции желоба с приваренным со стороны забоя направляющим листом в качестве погрузочной платформы; и
фиг.2 – вид частичного разреза вдоль линии II-II на фиг.1.
Секция 10 желоба, представленная в пространственном изображении на фиг.1, находит применение, например, в средних или сдвоенных средних цепных скребковых конвейерах, при этом конвейерная лента скребкового транспортера, состоящая из одной одиночной или двойной цепочки, проведена примерно в середине транспортного желоба, и скребковые конвейеры своими концами вводятся в направляющие каналы, которые образованы в верхнем грузоподъемном отделении 1 шахтного ствола и в нижнем отделении шахтного ствола обратного хода или соответственно нижнем отделении 2 шахтного ствола, и ограничиваются, например, посредством T-образных боковых профилей 3, 4, 5, 6. Затем из отдельных секций 10 желоба формируется, как обычно, лавный конвейер, задняя (на фиг.1) продольная сторона 7 которого расположена со стороны закладки, в то время как передняя (по фиг.1) продольная сторона 8 ориентирована параллельно к не представленной плоскости забоя в подземном сплошном забое. Грузоподъемное отделение 1 шахтного ствола и нижнее отделение 2 шахтного ствола отделяются друг от друга посредством основания 9 желоба, на котором в показанном примере выполнения изобретения все боковые профили 3, 4, 5, 6 приварены своими обращенными к основанию 9 желоба опорными шейками 13, 14, 15, 16, приспособленными к форме профиля не представленного скребкового конвейера. В представленном примере выполнения изобретения всем боковым профилям 3-6 придана одинаковая форма, и все боковые профили 3-6 состоят из катаных профилей по существу с T-образным поперечным сечением, причем каждая профильная шейка 13, 14, 15, 16, приспособленная к профилю концевых частей скребкового конвейера, образует вертикальную шейку, которая переходит в горизонтальную перемычку 17, 18, 23, 24. В каждом случае как со стороны закладки, так и со стороны забоя возле концов секции 19 или 20 желоба, сформированных поперечными сторонами, приварены T-образные гнезда 21 или 22, в которые известным образом входят в зацепление T-образные головки T-образных болтов, чтобы связать друг с другом соседние секции 10 желоба с обеспечением прочности на растяжение, но незначительной угловой подвижностью по горизонталям и вертикалям. Со стороны закладки T-образные гнезда и T-образные болты не представлены. Ниже горизонтальных шеек 23, 24 боковых профилей 5, 6 нижнего отделения 2 шахтного ствола приварен лист 25 основания. Фиг.1 позволяет также понять, что, как это уже известно, основание 9 желоба снабжено на обоих концах 19, 20 секции желоба профилями взаимного перекрытия, сформированными дополняющими друг друга.
Секция 10 желоба имеет согласно изобретению на стороне 8 забоя статическую погрузочную платформу для навала отбитого ископаемого из отбитой горной породы, в частности отбитого каменного угля, которая состоит из направляющего листа, обозначенного в целом позицией 50 и приваренного к секции 10 желоба, и проходит от пласта 11 (фиг.2) до уровня грузоподъемного отделения 1 шахтного ствола. Направляющий лист 50 содержит нижний участок 51 и верхний участок 52, каждый из которых является по существу плоским и отогнут к другому по поперечной линии 53. В области обоих T-образных гнезд 21, 22 направляющий лист 50 снабжен выемками 54 или 55, которые проходят по всему уровню верхнего участка 52 и примерно по половине уровня нижнего участка 51. Размеры выемок 54, 55 на направляющем листе 50 подогнаны к размерам T-образных гнезд 21, 22, а также не показанных T-образных болтов, вставляемых в эти T-образные гнезда. Нижняя кромка 56 нижнего участка 51 направляющего листа 50 проходит по всей ширине секции желоба так, что направляющий лист 50 формирует узкую планку 60 перемычки, проходящей по всей ширине секции желоба, чтобы навал отбитого ископаемого в случае передвижения лавного конвейера направлять к грузоподъемному отделению 1 шахтного ствола. Нижняя кромка планки 60 перемычки соединена посредством сварного шва 57 (фиг.2) со скользящей планкой 26, которая приварена под горизонтальной перемычкой 24 нижнего бокового профиля 6, проходящего со стороны забоя. Скользящая планка выдается наружу за боковую стенку секции 10 желоба со стороны забоя, причем боковая стенка формируется из наружных поверхностей боковых профилей 3, 6 и основания 9 желоба. Планка 60 перемычки образует нижнюю ограничивающую стенку каждого из углублений 54, 55, в то время как предусмотрена проходящая по существу вертикально ограничивающая стенка 54 , 55 выемок 54, 55 примерно на уровне поперечной линии 53 с выступом 62 или 63. За счет выступа 62, 63 верхний участок 52 направляющего листа с непостоянной формой профиля переходит в секцию желоба. Благодаря выступам 62, 63 и непостоянной форме профиля уменьшается опасность образования трещин излома в боковом профиле 3.
Как видно из фиг.2, скользящая планка 26 наклонена относительно основания желоба или листа 25 основания под небольшим углом примерно 5° так, что секция 10 желоба только в передней области 27 нижней стороны скользящей планки 26 лежит на пласте 11 в подземном забое. Из фиг.2, в частности, также явствует, что направляющий лист 50, образующий погрузочную платформу, между нижним участком 51 и верхним участком 52 образует угол примерно 160°, и что нижний участок 51 проходит относительно пласта 11 или основания 9 желоба круче, чем верхний участок 52 направляющего листа 50. Отгиб нижнего по существу плоского участка 51 направляющего листа 50 к основанию 9 желоба по фиг.2 обозначен углом и составляет примерно 78°±4°, в то время как угол верхнего участка 52 к основанию 9 желоба составляет примерно 55°±4°. За счет этих различных наклонов нижнего участка 51 и верхнего участка 52 и, в общей сложности, очень крутого хода погрузочной платформы 50 между торцевой проходящей со стороны забоя поверхностью 28 скользящей планки 26 и торцевой поверхностью 29 горизонтальной перемычки 17 бокового профиля 3 грузоподъемного отделения шахтного ствола секцию желоба согласно изобретению выполняют значительно короче, чем это было в случае с известными секциями желоба.
Между направляющим листом 50 и наружными поверхностями бокового профиля 3, 6 расположены опорные листы 30, находящаяся на стороне забоя поверхность 31 кромок которых соответствует контуру отгиба направляющего листа 50. Опорные листы 30 приварены к боковым профилям 3, 6 и при необходимости к основанию 9 желоба, и направляющий лист 50 имеет, как показано на фиг.1, два вертикальных шлица или щелевые выемки 58, 59, которые проходят на уровне и параллельно к опорным листам 30, 32 для того, чтобы предусмотреть в вертикальных шлицах или щелевых выемках 58, 59 сварные швы для дополнительного усиления жесткости между направляющим листом 50 и опорными листами 30, 32. Между вертикальными шлицами или щелевыми выемками 58, 59 выполнено отверстие 61 для подвешивания, которое расположено на середине направляющего листа 50 и проходит вертикально. На изображении секции 10 желоба не представлены направляющие средства для добычной машины. При предпочтительном применении секций желоба со стороны закладки установлена навесная планка, например, с приводным штоком для вальцового погрузочного устройства, и горизонтальная перемычка 17 проходящего со стороны забоя бокового профиля 3 грузоподъемного отделения 1 шахтного ствола образует с ее верхней стороной 17 машинный подкрановый путь для вальцового погрузочного устройства.
Для специалиста из вышеизложенного описания следует ряд модификаций, которые должны входить в объем защиты, определяемый формулой изобретения. В не представленной форме выполнения изобретения со сменным желобом направляющий лист по верхней кромке сваривается с рамной конструкцией для опоры и фиксации сменного желоба. Кроме того, также перед отогнутым направляющим листом, образующим статическую погрузочную платформу, мог бы быть выполнен участок машинного подкранового пути. Также вместо отогнутого направляющего листа с плоскими участками мог бы использоваться направляющий лист с закругленными или изогнутыми краями, и поперечная линия также могла бы проходить выше основания желоба. Для фиксирующих средств и средств соединения секций желоба могли бы использоваться другие средства, отличные от представленных T-образных гнезд и T-образных болтов, вследствие чего также изменяется формообразование выемок.
Формула изобретения
1. Секция желоба для лавного конвейера подземных добычных установок, в частности, угледобывающих установок с грузоподъемным отделением шахтного ствола и отделением шахтного ствола обратного хода для направляющей скребкового цепного транспортера, между которыми расположено основание желоба, с фиксирующими средствами, расположенными со стороны закладки и со стороны забоя на концах секции желоба, для соединительного элемента секций желоба, связывающего соседние секции желоба друг с другом с обеспечением прочности на растяжение, предпочтительно с направляющими средствами для добычной машины, подвижной вдоль плоскости очистного забоя, и с отогнутым направляющим листом (50), образующим погрузочную платформу; присоединенную со стороны плоскости очистного забоя к секции желоба и проходящую от пласта до уровня грузоподъемного отделения шахтного ствола; для загрузки навала отбитого ископаемого в грузоподъемное отделение шахтного ствола, при передвижении лавного конвейера, причем нижний участок (51) направляющего листа (50) относительно основания (9) желоба отогнут круче, чем его верхний участок (52), а на концах (19, 20) секции желоба направляющий лист (50) снабжен выемками (54, 55), размеры которых соответствуют размерам фиксирующих средств и/или средств соединения секций желоба, при этом нижний участок (51) направляющего листа (50) образует на нижней кромке планку (60) перемычки, которая доходит до концов (19, 20) секции желоба.
2. Секция желоба по п.1, отличающаяся тем, что поперечная линия (53) искривления или отгиба направляющего листа (50) расположена на уровне основания (9) желоба, предпочтительно между серединой и нижней стороной основания (9) желоба.
3. Секция желоба по п.1 или 2, отличающаяся тем, что поперечная линия (53) искривления или отгиба направляющего листа (50) расположена ниже точки воздействия шагающего механизма, расположенного со стороны закладки, или шагающей балки для передвижения лавного конвейера.
4. Секция желоба по п.1 или 2, отличающаяся тем, что нижний участок (51) и верхний участок (52) отогнутого направляющего листа (50) выполнены, но существу, плоскими и образуют угол =150-170°, предпочтительно 160±4°.
5. Секция желоба по п.3, отличающаяся тем, что нижний участок (51) и верхний участок (52) отогнутого направляющего листа (50) выполнены, по существу плоскими и образуют угол =150-170°, предпочтительно 160±4°.
6. Секция желоба по п.1 или 2, отличающаяся тем, что нижний участок (51) отогнут относительно основания (9) желоба на угол =65-85°, предпочтительно 78±4°, а верхний участок (52) отогнут относительно основания (9) желоба на угол =45-65°, предпочтительно 55±4°.
7. Секция желоба по п.3, отличающаяся тем, что нижний участок (51) отогнут относительно основания (9) желоба на угол =65-85°, предпочтительно 78±4°, a верхний участок (52) отогнут относительно основания (9) желоба на угол =45-65°, предпочтительно 55±4°.
8. Секция желоба по п.1, отличающаяся тем, что фиксирующие средства состоят из гнезд (21, 22) для Т-образных болтов и средства соединения секций желоба состоят из Т-образных болтов, Т-образные головки которых выполнены с возможностью вставления в гнезда (21, 22) для Т-образных болтов.
9. Секция желоба по п.1, отличающаяся тем, что ограничивающая стенка (54′, 55′) выемки (54, 55) параллельно концам (19, 20) секции желоба выполнена с образованием выступа (62, 63).
10. Секция желоба по п.8, отличающаяся тем, что ограничивающая стенка (54′, 55′) выемки (54, 55) параллельно концам (19, 20) секции желоба выполнена с образованием выступа (62, 63).
11. Секция желоба по п.1 или 2, отличающаяся тем, что направляющий лист (50) приварен к секции (10) желоба.
12. Секция желоба по п.11, отличающаяся тем, что направляющий лист (50) своим нижним участком (51) в виде планки (60) перемычки на его нижней кромке приварен к скользящей планке (26), проходящей со стороны забоя, или к машинной направляющей для добычной машины.
13. Секция желоба по п.1 или 2, отличающаяся тем, что направляющий лист (50) своим верхним участком (52) приварен к нижней стороне или торцевой стороне (29) горизонтальной перемычки (17) приблизительно Т-образного или L-образного, в частности, катаного бокового профиля (3).
14. Секция желоба по п.6, отличающаяся тем, что направляющий лист (50) своим верхним участком (52) приварен к нижней стороне или торцевой стороне (29) горизонтальной перемычки (17) приблизительно Т-образного или L-образного, в частности, катаного бокового профиля (3).
15. Секция желоба по п.1 или 2, отличающаяся тем, что секция желоба имеет сменный желоб в качестве грузоподъемного отделения шахтного ствола и направляющий лист приварен своим верхним участком к рамной конструкции, удерживающей сменный желоб.
16. Секция желоба по п.6, отличающаяся тем, что секция желоба имеет сменный желоб в качестве грузоподъемного отделения шахтного ствола и направляющий лист приварен своим верхним участком к рамной конструкции, удерживающей сменный желоб.
17. Секция желоба по п.1 или 2, отличающаяся тем, что в средней области направляющего листа (50) предпочтительно соосно предусмотрено отверстие (61) для подвешивания.
18. Секция желоба по п.6, отличающаяся тем, что в средней области направляющего листа (50) предпочтительно соосно предусмотрено отверстие (61) для подвешивания.
19. Секция желоба по п.1 или 2, отличающаяся тем, что между направляющим листом (50) и проходящей со стороны забоя боковой стенкой, и/или между боковыми профилями грузоподъемного отделения шахтного ствола, и/или между боковыми профилями отделения шахтного ствола обратного хода расположены по меньшей мере два опорных листа (30, 32).
20. Секция желоба по п.19, отличающаяся тем, что направляющий лист (50) имеет щелевые выемки (58, 59), проходящие вертикально на уровне опорных листов (30, 32).
21. Секция желоба по п.1 или 2, отличающаяся тем, что предусмотрены направляющие средства для режущей добычной машины, в частности, для вальцового погрузочного устройства, причем предпочтительно горизонтальная перемычка (17) проходящего со стороны забоя бокового профиля (3) грузоподъемного отделения (1) шахтного ствола образует проходящую со стороны забоя направляющую для вальцового погрузочного устройства.
22. Секция желоба по п.16, отличающаяся тем, что предусмотрены направляющие средства для режущей добычной машины, в частности, для вальцового погрузочного устройства, причем предпочтительно горизонтальная перемычка (17) проходящего со стороны забоя бокового профиля (3) грузоподъемного отделения (1) шахтного ствола образует проходящую со стороны забоя направляющую для вальцового погрузочного устройства.
РИСУНКИ
|
|