|
| На основании пункта 3 статьи 13 Патентного закона Российской Федерации от 23 сентября 1992 г. № 3517-I патентообладатель обязуется передать исключительное право на изобретение (уступить патент) на условиях, соответствующих установившейся практике, лицу, первому изъявившему такое желание и уведомившему об этом патентообладателя и федеральный орган исполнительной власти по интеллектуальной собственности, – гражданину РФ или российскому юридическому лицу. |
|
(21), (22) Заявка: 2004137047/03, 20.12.2004
(24) Дата начала отсчета срока действия патента:
20.12.2004
(45) Опубликовано: 20.05.2006
(56) Список документов, цитированных в отчете о поиске:
SU 1153038 А, 30.04.1985. SU 1234581 A, 30.05.1986. SU 1613578 A1, 15.12.1990. SU 1145119 А, 15.03.1985. SU 1081336 А, 13.03.1984. US 2072338 А, 02.03.1936.
Адрес для переписки:
123182, Москва, ул. Авиационная, 68, кв.490, Н.М. Панину
|
(72) Автор(ы):
Панин Николай Митрофанович (RU), Гой Владимир Леонтьевич (RU)
(73) Патентообладатель(и):
Панин Николай Митрофанович (RU), Гой Владимир Леонтьевич (RU)
|
(54) СКВАЖИННОЕ ЛОВИЛЬНОЕ УСТРОЙСТВО
(57) Реферат:
Изобретение относится к ловильным устройствам, предназначенным для ликвидации аварий с бурильными трубами в скважинах большого диаметра. Устройство включает полый корпус с соосно установленным на радиально-упорных подшипниках подпятником и захватный элемент, концы которого жестко соединены с нижней частью корпуса, приспособление для вращения подпятника только в одну сторону. Подпятник выполнен с конической направляющей полостью и размещен в верхней части полости корпуса. Захватный элемент выполнен в виде гибкого звена, подвижно соединенного с подпятником. Гибкое звено выполнено в виде одной нити, средняя часть которой пропущена через выполненный в подпятнике диаметральный канал с возможностью осевого перемещения относительно последнего. Повышается надежность в работе, упрощается конструкция. 2 з.п.ф-лы, 2 ил.
Изобретение относится к горному делу, а более конкретно к ловильным устройствам, предназначенным для ликвидации аварии, преимущественно с муфтово-замковыми соединениями бурильных труб в скважинах большого диаметра.
Известно скважинное ловильное устройство, включающее корпус с кольцом и закрепленные на корпусе две петли, установленные на кольце посредством разрушаемых элементов, причем кольцо снабжено эксцентрично установленной траверсой, а петли расположены диаметрально противоположно относительно центральной оси устройства (см. авторское свидетельство СССР №1081336, кл. Е 21 В 31/12, 1983).
Недостатком этого устройства является невысокая надежность в работе из-за слабой затяжки петель на оборванной трубе, что объясняется жесткостью петель и их пружинными свойствами (петли изготавливаются, как правило, из проволочного каната), и относительная сложность конструкции. Кроме того, указанный ловитель можно применять только в скважинах диаметром 500-600 мм и более.
Наиболее близким к предложенному является скважинное ловильное устройство, включающее полый корпус с соосно установленным на радиально-упорных подшипниках подпятником и захватный элемент, концы которого жестко соединены с нижней частью корпуса (см. авторское свидетельство СССР А 1153038, кл. Е 21 В 31/18, 1983).
К недостатку указанного устройства относится сложность конструкции и необходимость в нескольких сменных элементах (запорных кольцах, шаровидных телах) для труб различного диаметра, а также необходимость в регулировке упора.
В связи с изложенным технической задачей изобретения является повышение надежности ловильного устройства в работе и упрощение его конструкции.
Поставленная техническая задача решается тем, что скважинное ловильное устройство, включающее полый корпус с соосно установленным на радиально-упорных подшипниках подпятником, и захватный элемент, концы которого жестко соединены с нижней частью корпуса, согласно изобретению оно снабжено приспособлением для вращения подпятника только в одну сторону, причем подпятник выполнен с конической направляющей полостью и размещен в верхней части полости корпуса, при этом захватный элемент выполнен в виде гибкого звена, подвижно соединенного с подпятником.
Решению поставленной задачи способствует также и то, что приспособление для вращения подпятника выполнено в виде храпового механизма или обгонной муфты, а захватный элемент – в виде одной нити, средняя часть которой пропущена через выполненный в подпятнике диаметральный канал с возможностью осевого перемещения относительно последнего.
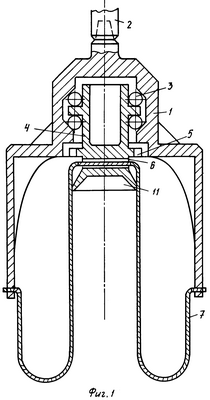
Изобретение иллюстрируется чертежами, где на фиг.1 изображено предложенное ловильное устройство в положении спуска в скважину, на фиг.2 – то же, с захваченным оборванным буровым шнеком.
Скважинное ловильное устройство включает полый корпус 1, подвешенный на колонне бурильных труб 2. В верхней части корпуса соосно ему на радиально-упорных подшипниках 3 установлен подпятник 4 с конической направляющей полостью 11 на нижнем торце для более надежной фиксации на конце оборванной трубы. На подпятнике 4 закреплено приспособление, выполненное в виде храповика 5 или обгонной муфты, обеспечивающее вращение подпятника 4 относительно корпуса 1 только в одну сторону, в данном случае в направлении вращения инструмента при бурении скважины. В подпятнике имеется диаметральное отверстие 6, через которое пропущен захватный элемент в виде гибкого звена 7, оба конца которого закреплены на нижнем конце корпуса 1.
Возможно также исполнение устройства с двумя гибкими звеньями 7, одни концы которых закреплены на подпятнике 4, другие – на корпусе 1. Такая конструкция также работоспособна, однако менее предпочтительна, т.к. в этом случае возможна неравномерная навивка гибких звеньев 7 на извлекаемую трубу, длина каждого из гибких звеньев получается различной, а следовательно, и нагрузка при извлечении на каждое звено получается различной. Это обстоятельство приводит к эксцентричной нагрузке в ловителе и в извлекаемой трубе со всеми вытекающими отсюда последствиями.
Работает скважинное ловильное устройство следующим образом.
Ловитель с закрепленным на нем гибким звеном 7 опускают в скважину без вращения на колонне 2 бурильных труб в положении, изображенном на фиг.1. После посадки ловильного устройства подпятником 4 на верхний конец 8 шнекобура 9 (см. фиг.2) вес бурильной колонны передают через подпятник 4 на оборванный конец трубы, создавая таким образом между ним и подпятником 4 достаточную силу трения, препятствующую их провороту относительно друг друга. Затем корпусу 1 придают вращение и нижние концы гибкого звена 7 начинают навиваться на оборванную трубу ниже замка 10 (муфты или фланца). Высоту корпуса 1, т.е. расстояние от его нижнего торца до подпятника 4, выбирают достаточной длины (2-3 м), чтобы захват происходил ниже замка.
При неравномерной навивке концов гибкого звена 7 на извлекаемую трубу происходит смещение его в отверстии 6 подпятника 4 и усилие навивки обоих концов выравниваются.
После этого производят медленный подъем оборванного инструмента, храповик 5 или обгонная муфта при этом не позволят раскрутиться концам гибкого звена 7 под весом инструмента.
Преимущество предложенного скважинного ловителя перед известными заключается в следующем:
а) Простота конструкции предложенного ловителя и как следствие этого – высокая надежность его работы и низкая стоимость.
б) Ловитель можно использовать в скважинах любого диаметра.
в) Гибкое звено можно навить на трубу с большим усилием, так что возможен подъем не только муфтовых, но гладкоствольных колонн труб, если последние не прихвачены в скважине.
Формула изобретения
1. Скважинное ловильное устройство, включающее полый корпус с соосно установленным на радиально-упорных подшипниках подпятником и захватный элемент, концы которого жестко соединены с нижней частью корпуса, отличающееся тем, что оно снабжено приспособлением для вращения подпятника только в одну сторону, причем подпятник выполнен с конической направляющей полостью и размещен в верхней части полости корпуса, при этом захватный элемент выполнен в виде гибкого звена, подвижно соединенного с подпятником.
2. Устройство по п.1, отличающееся тем, что приспособление для вращения подпятника выполнено в виде храпового механизма или обгонной муфты.
3. Устройство по п.1, отличающееся тем, что гибкое звено выполнено в виде одной нити, средняя часть которой пропущена через выполненный в подпятнике диаметральный канал с возможностью осевого перемещения относительно последнего.
РИСУНКИ
|
|