|
| На основании пункта 3 статьи 13 Патентного закона Российской Федерации от 23 сентября 1992 г. № 3517-I патентообладатель обязуется передать исключительное право на изобретение (уступить патент) на условиях, соответствующих установившейся практике, лицу, первому изъявившему такое желание и уведомившему об этом патентообладателя и федеральный орган исполнительной власти по интеллектуальной собственности, – гражданину РФ или российскому юридическому лицу. |
|
(21), (22) Заявка: 2005100462/03, 13.01.2005
(24) Дата начала отсчета срока действия патента:
13.01.2005
(45) Опубликовано: 20.05.2006
(56) Список документов, цитированных в отчете о поиске:
SU 1016481 А, 07.05.1983. SU 1714077 A1, 23.02.1992. RU 2183252 C1, 10.06.2002. SU 968326 A, 23.10.1982. GB 1365383 A, 04.09.1974.
Адрес для переписки:
123182, Москва, ул. Авиационная, 68, кв.490, Н.М. Панину
|
(72) Автор(ы):
Панин Николай Митрофанович (RU), Гой Владимир Леонтьевич (RU)
(73) Патентообладатель(и):
Панин Николай Митрофанович (RU), Гой Владимир Леонтьевич (RU)
|
(54) СКВАЖИННЫЙ ЛОВИТЕЛЬ
(57) Реферат:
Изобретение относится к горному делу, а именно к ловителям посторонних предметов, находящихся на забое скважины. Скважинный ловитель включает корпус с тяговым органом, располагаемый в его полости подпружиненный в осевом направлении шнек с хвостовиком, шламосборник, привод для вращения шнека в виде винтовой несамотормозящей пары. Тяговый орган выполнен в виде каната, соединенного с хвостовиком шнека с возможностью их относительного проворота. Корпус выполнен в виде перевернутого стакана. Шнек снабжен подшипниковым узлом, установленным на хвостовике между дном стакана и пружиной. Шламосборник выполнен в виде контейнера с перфорированным днищем, расположенным ниже верхнего торца спиральной лопасти шнека. Снижаются трудозатраты и время на спуско-подъем, упрощается конструкция, повышается эффективность работы. 1 з.п.ф-лы, 1 ил.
Изобретение относится к горному делу, а именно к ловителям посторонних предметов, находящихся на забое скважины.
Известен скважинный ловитель, содержащий корпус с коронкой, магнит и установленный в полости коронки под магнитом шнек с хвостовиком, приводом и диском, имеющим вырез для пропуска посторонних предметов (см. авторское свидетельство СССР №968326, кл. Е 21 В 31/08, 1981).
Недостатком указанного ловителя является значительная энергоемкость процесса захвата посторонних предметов, связанная с необходимостью вращения всей колонны труб, на которой ловитель опускается в скважину.
Наиболее близким к предложенному по технической сущности и достигаемому результату является скважинный ловитель, включающими тяговый орган, корпус и располагаемый в его полости подпружиненный в осевом направлении шнек с хвостовиком, шламосборником и приводом для вращения в виде винтовой несамотормозящей пары (см. авторское свидетельство СССР №1016481, Е 21 В 31/08, 1982).
Недостатком данного ловителя является малая надежность из-за сложной конструкции и недостаточная эффективность, связанная со значительными затратами труда и времени на проведение спуско-подъемных операций и однократностью использования привода в виде винтовой пары, т.к. хвостовик шнека после разового опускания на забой фиксируется в своем крайнем верхнем положении подпружиненным элементом.
В связи с изложенным технической задачей изобретения является повышение надежности и эффективности работы ловителя за счет упрощения конструкции и снижения затрат на проведение спуско-подъемных операций.
Поставленная задача решается тем, что в скважинном ловителе, включающем тяговый орган и располагаемый в полости корпуса подпружиненный в осевом направлении шнек с хвостовиком, шламосборник и привод для вращения шнека в виде винтовой несамотормозящей пары, согласно изобретению тяговый орган выполнен в виде каната, соединенного с хвостовиком шнека с возможностью их относительного проворота, корпус – в виде перевернутого стакана, а шнек снабжен подшипниковым узлом, установленным на хвостовике между дном стакана и пружиной, при этом шламосборник выполнен в виде контейнера с перфорированным днищем, расположенным ниже верхнего торца шнековой спирали.
Выполнение тягового органа в виде каната, соединенного с хвостовиком шнека с возможностью их относительного проворота, обеспечивает сокращение затрат времени на спуско-подъем ловителя в несколько раз.
Выполнение корпуса в виде перевернутого стакана и подвеска его на хвостовике шнека через пружину и подшипниковый узел позволяет использовать корпус как привод для “зарядки” пружины, т.е. для вращения шнека при установленном на забой корпусе. Указанная схема выполнения привода шнека позволяет повысить эффективность работы ловителя за счет многократной подзарядки пружины путем подъема шнека над забоем. Выполнение шламосборника в виде контейнера с перфорированных днищем обеспечивает удаление мелкого шлама при многократном подъеме ловителя, при этом в шламосборнике остается только металлический шлам (зубья шарошек, твердосплавные зубки, подшипники и т.п.), а также крупные фракции породного шлама.
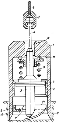
На прилагаемом чертеже представлен общий вид предложенного ловителя в продольном разрезе.
Скважинный ловитель содержит тяговый орган в виде каната 8, корпус 1 в виде перевернутого стакана с осевым винтовым каналом 2 на внутренней поверхности, шнек 3 со спиральной лопастью 4 и шламосборник 5. В своей верхней части шнек 3 имеет хвостовик 6, соединенный канатным замком 7 с тяговым органом 8 с возможностью относительного проворота. На шнеке 3 выше спиральной лопасти 4 расположен диск 9 с винтовой наружной поверхностью, образующей совместно с винтовым каналом 2 корпуса 1 несамотормозящую пару для вращения шнека 3 при приложении к последнему осевого усилия при неподвижном корпусе 1. В качестве привода для этой пары используется пружина сжатия 10, расположенная между диском 9 и подшипниковым узлом 11, установленным между пружиной 10 и дном стакана. Верхняя часть корпуса 1 имеет отверстие 12 для размещения хвостовика 6. Шламосборник 5 выполнен с перфорированным днищем 13, расположенным ниже верхнего торца 14 спиральной лопасти 4. Количество и диаметры перфорационных отверстий 15 на днище 13 выполняются в зависимости размеров фракций шлама.
Скважинный ловитель работает следующим образом. Подвешенный на канате 8 грузоподъемного механизма ловитель опускают в скважину, при этом масса корпуса 1 определена из расчета равенства его массы полной рабочей деформации пружины 10. Шнек 3 при полностью сжатой пружине 10 в подвешенном положении ловителя находится в своем верхнем положении, при котором нижний торец корпуса 1 располагается ниже спиральной лопасти 4 на величину деформации пружины 10. При подходе к забою ловитель притормаживают до скорости 1-3 м/с, т.к. при скорости свободного падения корпус 1 “теряет” вес, пружина 10 находится в разжатом положении, а ловитель – в “неработоспособном” состоянии. В момент установки ловителя на забое с пружины 10 снимается действие веса корпуса 1 и она начинает разжиматься и перемещает с вращением вниз шнек 3 благодаря несамотормозящей приводной паре 2-9. При этом спиральная лопасть 4 захватывает и транспортирует находящиеся на забое посторонние предметы и шлам в шламоприемник 5. Затем ловитель приподнимают на несколько метров над забоем, “заряжая” пружину 10 весом подвешенного на ней корпуса 1, и производят повторный сброс на забой. Мелкие фракции шлама во время спуско-подъема ловителя вымываются из шламосборника 5 благодаря наличию в его днище 13 отверстий 15. Необходимое количество сбрасывании ловителя на забой определяется опытным путем, а качество очистки забоя контролируется визуальным осмотром его шламосборника 5 после подъема из скважины.
Преимуществом предложенного ловителя по сравнению с прототипом являются: многократное снижение трудозатрат и времени на его спуске- подъем, более простая конструкция, повышение эффективности в работе путем повышения его к.п.д за счет многократного сброса на забой (т.е. путем многократного повторения операции по захвату предметов на забое).
Формула изобретения
1. Скважинный ловитель, включающий корпус с тяговым органом, располагаемый в полости корпуса подпружиненный в осевом направлении шнек с хвостовиком, шламосборник и привод для вращения шнека в виде винтовой несамотормозящей пары, отличающийся тем, что тяговый орган выполнен в виде каната, соединенного с хвостовиком шнека с возможностью их относительного проворота, корпус выполнен в виде перевернутого стакана, а шнек снабжен подшипниковой узлом, установленным на хвостовике между дном стакана и пружиной.
2. Ловитель по п.1, отличающийся тем, что шламосборник выполнен в виде контейнера с перфорированным днищем, расположенным ниже верхнего торца спиральной лопасти шнека.
РИСУНКИ
|
|