|
|
(21), (22) Заявка: 2005100577/03, 11.01.2005
(24) Дата начала отсчета срока действия патента:
11.01.2005
(45) Опубликовано: 20.05.2006
(56) Список документов, цитированных в отчете о поиске:
RU 2203381 С2, 27.04.2003. SU 424959 A1, 03.10.1974. SU 1765320 А2, 30.09.1992. SU 392228 A1, 01.01.1973. SU 1219776 A1, 23.03.1986. SU 1804539 А3, 23.03.1993. RU 2167260 С1, 20.05.2001. RU 2114277 С1, 27.07.1998. US 3537538 A, 03.11.1970.
Адрес для переписки:
199106, Санкт-Петербург, В.О., 21 линия, 2, СПГГИ (ТУ), патентный отдел
|
(72) Автор(ы):
Толстунов Сергей Андреевич (RU), Мозер Сергей Петрович (RU), Беляев Алексей Степанович (RU)
(73) Патентообладатель(и):
Государственное образовательное учреждение высшего профессионального образования Санкт-Петербургский государственный горный институт им. Г.В. Плеханова (технический университет) (RU)
|
(54) АЛМАЗНАЯ БУРОВАЯ КОРОНКА
(57) Реферат:
Использование: относится к породоразрушающему инструменту, а именно, к алмазным буровым коронкам для бурения скважин с продувкой воздухом и водовоздушными смесями. Позволяет повысить износостойкость алмазных коронок при бурении за счет более интенсивного охлаждения. Коронка включает корпус и закрепленную на нем алмазосодержащую матрицу с промывочными пазами. По окружности матрицы расположены сквозные отверстия, выполненные в виде сопел Лаваля с резким расширением у корпуса. Внутренняя стенка матрицы срезана и образует проходы для выхода воздуха. Матрица снабжена ребрами жесткости, расположенными между соплами Лаваля и опирающимися на матрицу и наружную стенку корпуса. 4 ил.
Изобретение относится к породоразрушающему инструменту, а именно к алмазным буровым коронкам для бурения скважин с продувкой воздухом и водовоздушными смесями.
Известна алмазная коронка для бурения с продувкой воздухом (патент РФ №2167260, 7 Е 21 В 10/46, 2001.05.20). Коронка для бурения с продувкой воздухом включает корпус и алмазосодержащую матрицу, армированную алмазами, металлизированными биметаллом, состоящим из пластификатора и наполнителя, и расположенными между алмазами зернами графита, размеры которых равны размерам алмазов. В матрице и корпусе выполнена кольцевая полость, заполненная веществом, термическое сопротивление которого менее термического сопротивления алмазов и материала матрицы и корпуса. Недостатком алмазной буровой коронки является ее высокий износ, вызванный недостаточным охлаждением при бурении.
Известна алмазная буровая коронка для бурения с отбором керна, принятая за прототип (патент РФ №2203381, 7 Е 21 В 10/48, 2003.04.27). Алмазная буровая коронка включает корпус и закрепленную на нем алмазосодержащую матрицу, разделенную на скважинообразующие и кернообуривающие сектора, смещенные по радиусу и по высоте, расположенные в шахматном порядке с образованием гидравлических камер, сопряженных с промывочными пазами, кернообуривающие сектора выполнены опережающими по высоте по отношению к скважинообразующим и отделены друг от друга промывочными пазами с разновысотными боковыми стенками. Гидравлические камеры сопряжены с близлежащими по окружности промывочными пазами и имеют с ними сквозное сообщение. Недостатком алмазной коронки является ее высокий износ, вызванный недостаточным охлаждением при бурении.
Техническим результатом изобретения является повышение износостойкости алмазных коронок при бурении за счет более интенсивного охлаждения.
Технический результат достигается тем, что в алмазной буровой коронке, включающей корпус и закрепленную на нем алмазосодержащую матрицу с промывочными пазами, согласно изобретению алмазосодержащая матрица снабжена расположенными по окружности сквозными отверстиями, выполненными в виде сопел Лаваля, с резким расширением у корпуса, причем внутренняя стенка матрицы срезана и образует проходы для выхода воздуха, также матрица снабжена ребрами жесткости, расположенными между соплами Лаваля и опирающимися на матрицу и наружную стенку корпуса.
Применение предлагаемого изобретения по сравнению с прототипом позволяет повысить износостойкость алмазной буровой коронки за счет более интенсивного охлаждения.
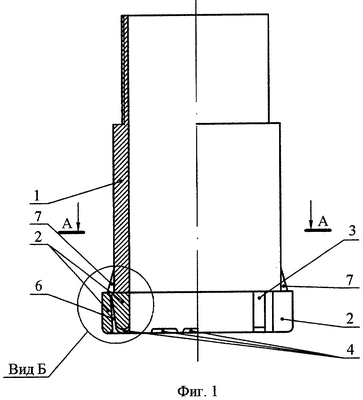
Алмазная буровая коронка поясняется чертежами, где на фиг.1 изображен общий вид коронки с разрезом, на фиг.2 показан вид снизу, на фиг.3 показан разрез А-А, на фиг.4 изображен вид Б, увеличено, где:
1 – корпус;
2 – алмазосодержащая матрица;
3 – промывочные пазы;
4 – срезанные участки;
5 – алмазы;
6 – сквозные отверстия в виде сопел Лаваля;
7 – ребра жесткости.
Алмазную буровую коронку изготавливают следующим образом. На корпусе 1 закрепляют алмазосодержащую матрицу 2 с алмазами 5. Затем в алмазосодержащей матрице 2 проделывают промывочные пазы 3 и по окружности высверливают сквозные отверстия 6 в виде сопел Лаваля. После этого между сквозными отверстиями 6 в виде сопел Лаваля устанавливают ребра 7 жесткости, опирающиеся на алмазосодержащую матрицу 2 и наружную стенку корпуса 1. Размер и количество сквозных отверстий 6 в виде сопел Лаваля принимают с учетом диаметра алмазной буровой коронки и расчетной осевой нагрузки на нее. Оси сквозных отверстий 6 в виде сопел Лаваля располагают с отклонением относительно оси симметрии корпуса 1 алмазной буровой коронки. Сквозные отверстия 6 сужаются в сторону корпуса 1, а у самого выхода их к корпусу 1 располагают резкое расширение отверстия 6 в виде сопел Лаваля. После этого в нижней части внутренней стенки алмазосодержащей матрицы 2 выполняют срезанные участки 4, образующие проходы для выхода воздуха, расположенные напротив каждого отверстия 6 в виде сопла Лаваля. Для увеличения прочностных свойств алмазной буровой коронки между соседними сквозными отверстиями 6 в виде сопел Лаваля в секции размещают ребра жесткости 7, опирающиеся на алмазосодержащую матрицу 2 и наружную стенку корпуса 1.
Алмазная буровая коронка работает следующим образом. Осуществляют разрушение породы под действием осевой нагрузки и крутящего момента. При этом буримую скважину продувают воздухом, подаваемым по внутреннему пространству буровой колонны. При разрушении породы алмазной буровой коронкой механическая работа переходит в тепло, вызывающее интенсивный нагрев алмазосодержащей матрицы 2 и алмазов 5. Воздух с частицами разрушенной породы попадает в срезанные участки 4, образующие проходы для выхода воздуха. Затем воздух с частицами разрушенной породы проходит через сквозные отверстия 6 в виде сопел Лаваля. Сопла Лаваля обладают возможностью создавать сверхзвуковые потоки воздуха, вызывающие поглощение тепла и отвод его от алмазосодержащей матрицы 2. За счет использования сквозных отверстий 6 в виде сопел Лаваля появляется возможность эффективно охлаждать алмазосодержащую матрицу 2, а также корпус 1 в области их контакта, что позволит повысить износостойкость алмазной буровой коронки.
Использование предложенного изобретения по сравнению с прототипом позволит:
– повысить износостойкость алмазных буровых коронок;
– увеличить интенсивность охлаждения алмазных буровых коронок;
– снизить себестоимость алмазного бурения.
Формула изобретения
Алмазная буровая коронка, включающая корпус и закрепленную на нем алмазосодержащую матрицу с промывочными пазами, отличающаяся тем, что алмазосодержащая матрица снабжена расположенными по окружности сквозными отверстиями, выполненными в виде сопел Лаваля, с резким расширением у корпуса, причем внутренняя стенка матрицы срезана и образует проходы для выхода воздуха, также матрица снабжена ребрами жесткости, расположенными между соплами Лаваля и опирающимися на матрицу и наружную стенку корпуса.
РИСУНКИ
MM4A – Досрочное прекращение действия патента СССР или патента Российской Федерации на изобретение из-за неуплаты в установленный срок пошлины за поддержание патента в силе
Дата прекращения действия патента: 12.01.2007
Извещение опубликовано: 27.08.2008 БИ: 24/2008
|
|