|
|
(21), (22) Заявка: 2004132734/03, 10.11.2004
(24) Дата начала отсчета срока действия патента:
10.11.2004
(45) Опубликовано: 20.05.2006
(56) Список документов, цитированных в отчете о поиске:
RU 2164982 C1, 10.04.2001. RU 2130996 C1, 27.05.1999. RU 2167240 С2, 20.05.2001. SU 1768713 A1, 15.10.1992. SU 1456508 A1, 07.02.1989. ПОЛИЩУК А.И. Основы проектирования и устройства фундаментов реконструируемых зданий. – Томск: Нортхемптон, 2004, с.304-306, 398.
Адрес для переписки:
350044, г.Краснодар, ул. Калинина, 13, Кубанский ГАУ
|
(72) Автор(ы):
Шадунц Константин Шагенович (RU)
(73) Патентообладатель(и):
Кубанский государственный аграрный университет (RU)
|
(54) СПОСОБ УШИРЕНИЯ ФУНДАМЕНТА
(57) Реферат:
Изобретение относится к области строительства и может быть использовано для увеличения несущей способности фундаментов при ремонте и реконструкции зданий. Способ уширения фундамента включает отрывку участками траншеи до глубины установки элементов уширения и их вдавливания под подушку фундамента. В качестве элементов уширения используют пары блоков в виде, имеющих ниши клиньев, которые последовательно вдавливают под подушку фундамента с помощью опущенного в траншею домкрата. Укладывают в нишу металлический стержень для скрепления в продольном направлении элементов уширения, прикрепляют к боковой поверхности фундамента арматурную сетку, опускают низ арматурной сетки в нишу, оштукатуривают ее и заполняют нишу цементным раствором. Технический результат состоит в упрощении процесса уширения фундамента и обеспечении проведения работ с наружных сторон здания. 2 ил.
Изобретение относится к строительству и может быть использовано для увеличения несущей способности фундаментов при ремонте и реконструкции зданий.
Известны способы уширения подошвы для ленточного фундамента, включающие устройство железобетонной обоймы (см. Полищук А.И. Основы проектирования и устройство фундаментов реконструируемых зданий. Нортхемптон – Томск 2004, с.302 схема 1, устройство приливов из бетона, с.304 схема 2, устройство дополнительных подушечек из монолитного железобетона, с.306 схема 3 и т.д.).
Недостатками перечисленных схем являются необходимость работы с двух сторон фундамента, что в ряде случаев вызывает затруднение, и сложность обеспечения включения в работу участков уширения, опирающихся на неуплотненный грунт основания.
Известны способы уширения с созданием напряжения в основании «разгружающих» элементов за счет отжатия грунта (см. Полищук А.И. Основы проектирования и устройство фундаментов реконструируемых зданий. С.388, за счет установки мембранных распорных подушек с.392, установкой гидродомкратов с.398 и др.).
Известен способ усиления фундаментов, включающий отрывку участками траншеи до глубины установки элементов усиления, подведение под подушку фундаментов элементов усиления путем вдавливания (см. патент RU 2164982 C1, E 02 D 27/08, 10.04.2001), который принят в качестве наиболее близкого аналога к заявленному изобретению.
Техническим решением задачи является упрощение процесса уширения фундамента и обеспечение проведения работ с наружных сторон здания.
Поставленная задача достигается тем, что способ уширения фундамента включает отрывку участками траншеи до глубины установки элементов уширения, вдавливания под подошву фундамента пары блоков в виде имеющих нишу клиньев, которые последовательно вдавливают под подошву фундамента с помощью опущенного в траншею домкрата, укладывают в нишу металлический стержень для скрепления в продольном направлении элементов уширения, прикрепляют к боковой поверхности фундамента арматурную сетку, опускают низ арматурной сетки в нишу, оштукатуривают ее и заполняют нишу цементным раствором.
Новизна заявляемого предложения обусловлена тем, что за счет формы вдавливаемых отдельных блоков обеспечивается уплотнение грунта основания под частями уширения фундамента, а способ выполнения работ обеспечивает связь между элементами.
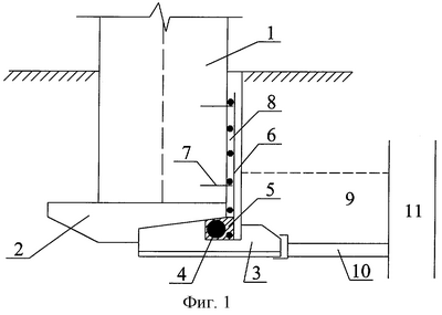
Сущность изобретения поясняется чертежами, где на фиг.1 показано сечение стены после увеличения ширины фундамента. Для уширения фундамента 1 после вдавливания первого 2 и второго 3 блоков укладывают связывающий по длине блоки металлический элемент 4 в нишу 5, укрепляют боковую поверхность 1 арматурной сеткой 6, удерживаемой штырями 7, и оштукатуривают цементным раствором 8, заполняющим также нишу 5 в блоке 3. На фиг.2 показаны планы (вид сверху) блоков 2 и 3.
Осуществление способа уширения фундамента выполняется в следующей последовательности: с наружной стороны здания вдоль фундамента 1 отрывается участками по 1-1,5 м траншея 9 до глубины установки элементов уширения фундамента такой ширины, чтобы разместить блок уширения 2, домкрат 10 и упор 11. Откапывается штроба 12 под подошвой фундамента 1 для того, чтобы вдвинуть туда и ориентировать движение блока 2 при вдавливании его домкратом 10. После занятия блоком 2 проектного положения под него вдавливается блок 3, расклинивая и уплотняя грунт основания. Операции повторяются, переходя к соседнему участку фундамента. После того, как уширение будет проведено по всему контуру здания, в нишу 5 блока 3 укладывают связующий блоки металлический элемент 4. Очищенную боковую поверхность фундамента 1 укрепляют арматурной сеткой 6, прикрепляя ее штырями 7, и оштукатуривают цементным раствором, заполняя им нишу 5. Затем траншею выполняют грунтом с уплотнением и делают отмостку.
Формула изобретения
Способ уширения фундамента, включающий отрывку участками траншеи до глубины установки элементов уширения и их вдавливания под подушку фундамента, отличающийся тем, что в качестве элементов уширения используют пары блоков в виде имеющих ниши клиньев, которые последовательно вдавливают под подушку фундамента с помощью опущенного в траншею домкрата, укладывают в нишу металлический стержень для скрепления в продольном направлении элементов уширения, прикрепляют к боковой поверхности фундамента арматурную сетку, опускают низ арматурной сетки в нишу, оштукатуривают ее и заполняют нишу цементным раствором.
РИСУНКИ
MM4A – Досрочное прекращение действия патента СССР или патента Российской Федерации на изобретение из-за неуплаты в установленный срок пошлины за поддержание патента в силе
Дата прекращения действия патента: 11.11.2006
Извещение опубликовано: 10.07.2008 БИ: 19/2008
|
|