|
|
(21), (22) Заявка: 2005119447/13, 22.06.2005
(24) Дата начала отсчета срока действия патента:
22.06.2005
(45) Опубликовано: 20.05.2006
(56) Список документов, цитированных в отчете о поиске:
RU 2088644 C1, 27.08.1997. НИКИФОРОВ Г.В., КАЛИНИН А.М. Производство пихтового масла. М.: Лесная промышленность, 1977, с.62-67. RU 2254365 C1, 20.06.2005.
Адрес для переписки:
660075, г.Красноярск, ул. Л. Прушинской, 2, Красноярский государственный торгово-экономический институт, зав. кафедрой Т и ЭНТ В.Н. Паршиковой
|
(72) Автор(ы):
Полянская Виктория Владимировна (RU), Паршикова Валентина Никитична (RU), Степень Роберт Александрович (RU)
(73) Патентообладатель(и):
Государственное образовательное учреждение высшего профессионального образования “Красноярский государственный торгово-экономический институт” (RU)
|
(54) ЛАБОРАТОРНАЯ УСТАНОВКА ДЛЯ ОТГОНКИ ЭФИРНОГО МАСЛА
(57) Реферат:
Изобретение относится к масложировой промышленности, в частности к оборудованию для эфиромасличной промышленности. Лабораторная установка содержит парогенератор, перегонную камеру с сетками, холодильник, флорентину. При этом перегонная камера размещена над парогенератором, а холодильник установлен над перегонной камерой. Также холодильник соединен с поворотным устройством для его подъема и поворота, а флорентина расположена в холодильнике. При этом крышка перегонной камеры и холодильник соединены герметично. Изобретение позволяет повысить выход качественного эфирного масла, упростить конструкцию установки, сделав ее компактной. 1 ил.
Изобретение относится к крупнолабораторному оборудованию для эфиромасличной промышленности и может быть использовано для переработки любой эфиромасличной массы, в частности цитрусовых отходов, хвойной древесной зелени.
Недостатком известной установки является большая высота аппарата, что создает трудности при обслуживании, прежде всего при разгрузке сырья, необходимость частой чистки котла и загрязнение водоемов отходами производства, низкая экологичность, обусловленная сбросом в естественные водоемы кубового конденсата и флорентинной воды.
Известна пилотная установка для переработки растительного сырья, взятая в качестве прототипа, расположенная на прицепе и состоящая из паропроизводителя с барботерами для острого пара. Они располагаются под и над камерой с сеткой для размещения сырья, которая закрывается съемной крышкой с патрубком для отвода в холодильник образующейся в камере паромасляной смеси, где она конденсируется и конденсат перемещается в сепаратор, в котором разделяется на эфирное масло и флорентинную воду. Последняя из них сбрасывается в канализацию (RU 2088644 С1, МКИ 6 С 11 В 9/02).
Недостатком известного устройства является сложность конструкции и повышенные затраты на переработку сырья и загрязнение водоемов отходами производства, низкая экологичность, обусловленная сбросом в естественные водоемы кубового конденсата и флорентинной воды.
Изобретение решает задачу упрощения конструкции установки, повышения выхода и качества масла и снижения расхода свежей воды.
Технический эффект заключается в повышении выхода качественного эфирного масла, производительности и достижении большей компактности установки.
Указанный технический результат при осуществлении изобретения достигается тем, что в лабораторной установке для отгонки эфирного масла, содержащей парогенератор, перегонную камеру с сетками, холодильник, флорентину, согласно изобретению перегонная камера размещена над парогенератором, холодильник установлен над перегонной камерой, соединен с поворотным устройством для его подъема и поворота, а флорентина расположена в холодильнике, при этом крышка перегонной камеры и холодильник соединены герметично.
Флорентина расположена внутри холодильника, парогенератор, перегонная камера и холодильник находятся последовательно один над другим, холодильник может перемещаться по вертикали и горизонтали поворотным устройством.
Холодильник герметизируется с камерой уплотнительным шнуром.
Компактность установки достигается размещением флорентины внутри холодильника, что существенно сокращает коммуникации для вывода эфирного масла, перетекающего в расположенный вне системы маслосборник, и флорентинной воды, непосредственно сливающейся в перегонную камеру и далее в парогенератор. Поворотное устройство, связанное с холодильником, обеспечивает удобную и ускоренную загрузку и разгрузку сырья в перегонную камеру. Повышение производительности установки и получение качественного эфирного масла достигается за счет извлечения растворенного в флорентинной воде масла, сокращение его потери путем улетучивания и адсорбирования на стенках аппаратуры. Повышению производительности способствует и то, что пар из парогенератора проходит по всему объему сырья, размещенного на сетках перегонной камеры, а не по отдельным секторам, формируемым парораспределительным устройством. Высокое качество масла определяется тем, что материалом установки является нержавеющая сталь, не способствующая протеканию процессов окисления и осмоления. Снижение расхода свежей воды происходит за счет повторного использования флорентинной воды.
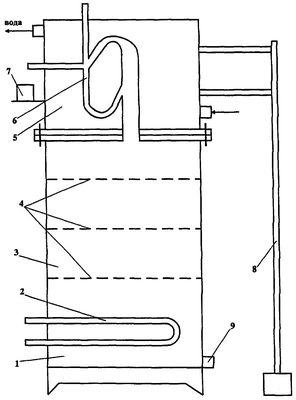
На чертеже показана установка для отгонки эфирного масла. Лабораторная установка для отгонки эфирного масла состоит из парогенератора 1 с находящимся внутри него теплоэлектрическим нагревателем 2 и установленной над ним перегонной камерой 3. В перегонной камере 3 на сетках 4 установлены кассеты для сырья. Над перегонной камерой установлен холодильник 5. Крышка перегонной камеры 3 является дном холодильника 5. Для герметизации корпуса камеры 3, между камерой 3 и холодильником в пазы укладывается уплотнительный элемент, например резиновый шнур. В холодильнике 5 установлена флорентина 6 и рядом с холодильником расположен маслосборник 7. Перегонная камера, холодильник и флорентина выполнены из нержавеющей стали. Поворотное устройство 8 соединено с холодильником 5 и предназначено для подъема и поворота холодильника в сторону. Поворотное устройство 8 обеспечивает удобную и ускоренную загрузку и разгрузку сырья в перегонную камеру 3. Для слива кубового остатка внизу парогенератора 1 выполнен отвод 9.
Лабораторная установка для отгонки эфирного масла работает следующим образом. Подготовленное сырье размещается в кассетах на сетках 4 при поднятом и сдвинутом в сторону холодильнике 5. Затем холодильник 5 поворотным устройством 8 устанавливается на место, опускается, отверстия в нем совмещаются с отверстиями в перегонной камере 3. Они герметизируются уплотнительным элементом и забалчиваются. Затем включается подача воды в холодильник 5 и теплоэлектрический нагреватель 2. Образующиеся в парогенераторе 1 пары омывают сырье на сетках 4, захватывают находящееся на поверхности его частиц эфирное масло, и паромасляный поток направляется в находящуюся в холодильнике 5 флорентину 6. Во флорентине 6 он конденсируется, и образующийся конденсат разделяется на эфирное масло и флорентинную воду. Эфирное масло по отводу перетекает в маслосборник 7, а более тяжелая флорентинная вода по стенке флорентины 6 стекает в перегонную камеру 3 и далее через сырье стекает в парогенератор 1. Эфирное масло флорентинной воды из парогенератора 1 вместе с паром вновь поступает в перегонную камеру 3, и этот процесс повторяется многократно, повышая выход эфирного масла. По завершении процесса теплоэлектрический нагреватель 2, а затем и вода в холодильнике 5 отключаются, болты на разъеме разбалчиваются, и холодильник поворотным устройством 8 приподнимается и отводится в сторону. Отработанное сырье из перегонной камеры 3 выгружается, кубовый остаток из парогенератора 1 сливается через отвод 9, и установка подготавливается к следующему циклу работы.
Сокращение потери эфирного масла достигается и за счет герметизации между крышкой перегонной камеры 3 и холодильником 5, в пазы которых закладывается уплотнительный шнур.
Изобретение позволяет упростить установку, сделать ее компактнее, увеличить выход и улучшить качество эфирного масла и снизить его потери.
Формула изобретения
Лабораторная установка для отгонки эфирного масла, содержащая парогенератор, перегонную камеру с сетками и съемной крышкой, холодильник, флорентину, отличающаяся тем, что дополнительно содержит поворотное устройство, а перегонная камера размещена над парогенератором, холодильник установлен над перегонной камерой, соединен с поворотным устройством для его подъема и поворота, а флорентина расположена в холодильнике, при этом крышка перегонной камеры и холодильник соединены герметично.
РИСУНКИ
MM4A – Досрочное прекращение действия патента СССР или патента Российской Федерации на изобретение из-за неуплаты в установленный срок пошлины за поддержание патента в силе
Дата прекращения действия патента: 23.06.2007
Извещение опубликовано: 20.11.2008 БИ: 32/2008
|
|