|
|
(21), (22) Заявка: 2002126968/04, 09.10.2002
(24) Дата начала отсчета срока действия патента:
09.10.2002
(43) Дата публикации заявки: 27.11.2004
(45) Опубликовано: 20.05.2006
(56) Список документов, цитированных в отчете о поиске:
WO 99/49183 A1, 30.09.1999. ХАНДУРИНА Ю.В. И ДР. СТАБИЛЬНОСТЬ ПОЛИКОМПЛЕКСОВ СЕТЧАТЫЙ ПОЛИЭЛЕКТРОЛИТ-ПОВЕРХНОСТНО-АКТИВНОЕ ВЕЩЕСТВО В ВОДНО-СОЛЕВЫХ И ВОДНО-ОРГАНИЧЕСКИХ СРЕДАХ. ВЫСОКО-МОЛЕКУЛЯРНЫЕ СОЕДИНЕНИЯ. 1994, Т.36, №2, С.241-246. US 4694046 А, 15.09.1987. RU 2062863 С1, 27.06.1996.
Адрес для переписки:
129010, Москва, ул. Б.Спасская, 25, стр.3, ООО “Юридическая фирма Городисский и Партнеры”, пат.пов. Е.Е.Назиной
|
(72) Автор(ы):
Зарослов Юрий Дмитриевич (RU), Филиппова Ольга Евгеньевна (RU), Благодатских Инэса Васильевна (RU), Хохлов Алексей Ремович (RU)
(73) Патентообладатель(и):
Физический факультет Московского государственного университета им. М.В. Ломоносова (RU)
|
(54) СПОСОБ СЕЛЕКТИВНОГО ИНГИБИРОВАНИЯ ГЕЛЕОБРАЗОВАНИЯ ГИДРОФОБНО АССОЦИИРУЮЩИХ ВЕЩЕСТВ
(57) Реферат:
Изобретение относится к химии полимеров, а именно к гидрофобно модифицированным водорастворимым полимерам или комплексам названных полимеров с ПАВ. Описывается способ селективного ингибирования гелеобразования ассоциирующей гелеобразующей жидкости, содержащей гидрофобно ассоциирующие вещества, представляющие собой гидрофобно модифицированные водорастворимые полимеры или комплексы названных полимеров с ПАВ, обеспечивающий в случае контакта ассоциирующей жидкости с углеводородной средой сохранение ингибирующего эффекта, так что гелеобразования не происходит, а в случае контакта ассоциирующей жидкости с водной средой – исчезновение ингибирующего эффекта, так, что происходит гелеобразование, где в указанные жидкости перед приведением их в контакт с углеводородной средой вводят ингибитор, который хорошо растворим в водных средах, но нерастворим в углеводородных, например, этанол или метанол. При этом в качестве гидрофобно ассоциирующего вещества ассоциирующая гелеобразующая жидкость содержит гидрофобно модифицированный водорастворимый полимер на основе полиакриламида, содержащий 84,4 или 88,8 мол.% акриламидных звеньев, 1,5 мол.% н-додецилакриламидных звеньев и 14,1 или 9,7 мол.% звеньев акрилата натрия. В качестве ПАВ, используемых в комплексах с названными полимерами, используют цетилпиридиний хлорид. Описана также ассоциирующая гелеобразующая жидкость, содержащая 1-10 мас.% гидрофобно ассоциирующих веществ, а также состав для обработки нефтяной скважины, включающий ассоциирующую жидкость. Раскрыт способ селективного блокирования поступления воды в добывающую нефтяную скважину из подземных водоносных пластов. Изобретение может быть использовано в нефтедобыче для контроля водопритоков в нефтедобывающих скважинах, позволяющих ограничить поступление воды в скважинах, не мешая при этом добыче нефти. 4 н. и 20 з.п. ф-лы, 1 табл., 2 ил.
ОБЛАСТЬ ТЕХНИКИ
Настоящее изобретение относится к способу селективного ингибирования гелеобразования ассоциирующей гелеобразующей жидкости, содержащей гидрофобно ассоциирующие вещества. Изобретение относится также к ассоциирующей гелеобразующей жидкости, способной к селективному гелеобразованию в зависимости от типа среды (водная или углеводородная), в контакте с которой она находится. Изобретение может применяться в нефтедобывающей промышленности для ограничения водопритоков в добывающей нефтяной скважине при сохранении неизменного притока нефти.
ИЗВЕСТНЫЙ УРОВЕНЬ ТЕХНИКИ
Во всех нефтяных скважинах наряду с нефтью добывается также и вода, поступающая в скважину. По мере старения скважин количество добываемой воды растет. Из истощающихся нефтяных пластов выкачивается в среднем около 3 тонн воды на 1 тонну нефти [1]. Использование современных методов ограничения водопритоков позволяет значительно сократить затраты на добычу нефти и, что более важно, обеспечить наиболее полное извлечение нефти из недр. Перспективным методом ограничения водопритоков является использование селективных жидкостей, способных избирательно запирать поток воды, не мешая потоку нефти [2]. При этом необходимо, чтобы при закачке в скважину селективная жидкость имела невысокую вязкость, но впоследствии с течением времени образовывала бы гель («пробку») в тех зонах скважины, где имеется приток воды. В то же время в контакте с нефтью гелеобразование происходить не должно.
Основным компонентом селективной жидкости являются гидрофобно ассоциирующие вещества (АВ), способные образовывать физические гели в водной среде [2, 3]. К таким веществам относятся, в частности, гидрофобно модифицированные полимеры, вязкоупругие поверхностно-активные вещества (ПАВ) и их комплексы [2, 3].
Образование физических гелей из гидрофобно модифицированных полимеров описано во многих работах, например [4-6]. Образование физических гелей из вязкоупругих ПАВ описано в работах [7-9]. Гелеобразование в комплексах полимер/ПАВ описано в работах [10-12].
Недостатком указанных гидрофобно ассоциирующих веществ при использовании в составе селективной жидкости является то, что эти вещества образуют физические гели практически сразу после помещения в воду. Такие селективные жидкости, в которых уже частично произошло образование физического геля, трудно закачивать в скважину из-за их повышенной вязкости. Другой недостаток таких систем состоит в том, что контакт набухшего в воде физического геля с углеводородами часто не приводит к разрушению уже сформированного геля, так что закупорке могут подвергаться и нефтеносные пласты. Особенно это касается гелей, образованных гидрофобно модифицированными полимерами. Для преодоления этих недостатков необходимо решить две задачи: (1) замедлить процесс гелеобразования в водной среде таким образом, чтобы при закачивании раствор был маловязким, а гель формировался уже в скважине при контакте селективной жидкости с водой, (2) полностью подавить гелеобразование при контакте селективной жидкости с нефтью.
Для селективных жидкостей, содержащих вязкоупругие ПАВ, предложено несколько способов замедления гелеобразования [3]. В то же время, насколько известно авторам настоящей заявки, способы контроля скорости образования физических гелей в селективных жидкостях, содержащих гидрофобно модифицированные полимеры, пока не разработаны.
Как показано в работах [13-15], гидрофобные агрегаты, образующиеся в разбавленных растворах гидрофобно модифицированных полимеров и комплексов полимер/ПАВ, можно разрушить в водно-органических средах. Например, в работах [13, 14] показано, что в разбавленных растворах гидрофобно модифицированного полиакриламида гидрофобные агрегаты разрушаются при добавлении к воде 20-50 об.% ацетонитрила. Этот растворитель используется при определении молекулярной массы индивидуальных макромолекул методом ГПХ. Аналогичное поведение наблюдается в комплексах полимер/ПАВ. В работе [15] показано, что в смесях вода/этанол и вода/изопропанол, содержащих 40-50 об.% спирта, происходит разрушение комплексов полимер/ПАВ из-за ослабления гидрофобных взаимодействий. Однако в вышеуказанных работах ничего не говорится о возможности влияния органических растворителей на образование физических гелей.
Как было установлено авторами, схожий подход может быть успешно использован для контроля образования физических гелей в полимерсодержащих селективных жидкостях, обеспечивающего (1) замедление процесса гелеобразования в водной среде и (2) полное подавление гелеобразования при контакте с углеводородами, что и позволило сделать настоящее изобретение.
СУЩНОСТЬ ИЗОБРЕТЕНИЯ
В соответствии с вышеизложенным в настоящем изобретнии предлагается способ селективного ингибирования гелеобразования ассоциирующей гелеобразующей жидкости, содержащей гидрофобно ассоциирующие вещества, представляющие собой гидрофобно модифицированные водорастворимые полимеры или комплексы таких полимеров с ПАВ, который обеспечивает в случае контакта ассоциирующей жидкости с углеводородной средой сохранение ингибирующего эффекта, так что гелеобразования не происходит, а в случае контакта ассоциирующей жидкости с водной средой – исчезновение ингибирующего эффекта, так что происходит гелеобразование, состоящий в том, что в указанные жидкости перед приведением их в контакт с указанными средами вводят ингибитор, подавляющий гидрофобную ассоциацию гидрофобно ассоциирующих веществ, который хорошо растворим в водных средах, но нерастворим в углеводородных средах.
В изобретении предлагается также способная к селективному гелеобразованию ассоциирующая гелеобразующая жидкость, содержащая 1-10 мас%. гидрофобно ассоциирующих веществ, представляющих собой гидрофобно модифицированные водорастворимые полимеры или комплексы названных полимеров с ПАВ, ингибитор гелеобразования в эффективном для предотвращения гелеобразования количестве и водную среду, причем указанный ингибитор является ингибитором, который подавляет гидрофобную ассоциацию гидрофобно ассоциирующих веществ и который хорошо растворим в водных средах и практически нерастворим в углеводородных средах.
Далее в изобретении предлагается состав для обработки нефтяной скважины, включающий такую ассоциирующую жидкость, способную к селективному гелеобразованию, которая содержит гидрофобно ассоциирующие вещества, представляющие собой гидрофобно модифицированные водорастворимые полимеры или комплексы названных полимеров с ПАВ, ингибитор гелеобразования в эффективном для предотвращения гелеобразования количестве и водную среду, и при этом указанный ингибитор является ингибитором, который подавляет гидрофобную ассоциацию гидрофобно ассоциирующих веществ и который хорошо растворим в водных средах и практически нерастворим в углеводородных средах.
В настоящем изобретении предлагается также способ селективного блокирования поступления воды в добывающую нефтяную скважину из подземных водоносных пластов, в котором в ствол скважины закачивают вышеописанный состав для обработки нефтяной скважины, включающий ассоциирующую жидкость, которая образует со временем блокирующие гелевые пробки только в тех местах скважины, где ассоциирующая жидкость находится в контакте с водной средой, и не образует пробок в местах контакта ассоциирующей жидкости с нефтью.
КРАТКОЕ ОПИСАНИЕ ФИГУР
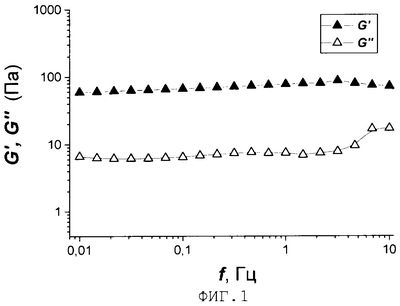
На Фиг.1 показана частотная зависимость компонент комплексного модуля упругости раствора полимера по примеру 1, который находился в контакте с водной средой.
На Фиг.2 показана частотная зависимость компонент комплексного модуля упругости раствора полимера по примеру 1, находившегося в контакте с углеводородом.
ПОДРОБНОЕ ОПИСАНИЕ ИЗОБРЕТЕНИЯ
В настоящем изобретении предлагаются композиция ассоциирующей гелеобразующей жидкости и способ селективного ингибирования гелеобразования ассоциирующей гелеобразующей жидкости, позволяющие контролировать скорость образования физического геля. При этом контроль скорости образования физического геля осуществляют таким образом, чтобы сделать процесс гелеобразования селективным, то есть зависящим от того, в контакте с какой средой (вода или углеводород) находится раствор ассоциирующего вещества.
Эта цель достигается за счет того, что в ассоциирующую гелеобразующую жидкость добавляют ингибитор гелеобразования, который, во-первых, подавляет гидрофобную ассоциацию гидрофобно ассоциирующих веществ и, во-вторых, представляет собой вещество, хорошо растворимое в воде, но не растворимое в углеводородах. Поэтому при контакте ассоциирующей гелеобразующей жидкости с водой ингибитор переходит из объема ассоциирующей гелеобразующей жидкости в воду, и его концентрация в ассоциирующей жидкости снижается, что вызывает гелеобразование жидкости, которое ранее было подавлено ингибитором. С другой стороны, при контакте ассоциирующей гелеобразующей жидкости с углеводородом, в котором ингибитор нерастворим, гелеобразования не происходит, так как ингибитор остается в объеме ассоциирующей гелеобразующей жидкости и продолжает подавлять гелеобразование.
В настоящем изобретении предлагаются также состав для обработки нефтяной скважины на основе вышеуказанной ассоциирующей жидкости и способ селективного блокирования поступления воды в добывающую нефтяную скважину из подземных водоносных пластов с применением такого состава.
В качестве селективных ингибиторов гелеобразования в настоящем изобретении могут использоваться растворители, действие которых как ингибиторов состоит в подавлении гидрофобной ассоциации, ответственной за гелеобразование, и которые смешиваются с водой, но не смешиваются с углеводородами, как, например, метанол, этанол, ацетонитрил и т.п.
Чтобы физический гель, образующийся в водной среде, обладал достаточно высокими механическими характеристиками, в качестве полимеров следует использовать гидрофобно модифицированные полимеры, содержащие достаточное количество ассоциирующих групп с ярко выраженными гидрофобными свойствами, способных обеспечить прочное связывание полимерных цепей между собой за счет формирования гидрофобных ассоциатов, или комплексы таких гидрофобно ассоциирующих полимеров с ПАВ. Один из возможных типов гидрофобно модифицированных полимеров на основе полиакриламида представлен следующей формулой:

где R=-(CH2)nCH3, n=8, 11; X=-O, -NH; Y=-H, -CH3.
Предлагаемые композиция ассоциирующей гелеобразующей жидкости и способ селективного ингибирования гелеобразования ассоциирующей гелеобразующей жидкости могут быть использованы для селективного блокирования поступления воды в добывающую нефтяную скважину из подземных водоносных пластов при сохранении неизменным потока нефти. Ингибиторы, входящие в состав ассоциирующей жидкости, используемой для селективного блокирования поступления воды в добывающую нефтяную скважину, позволяют подавить гидрофобную ассоциацию, ответственную за гелеобразование. Поэтому вязкость состава до его закачки в скважину незначительна. В то же время присутствие указанных ингибиторов в ассоциирующей жидкости улучшает условия смачивания при ее контакте с породой, что способствует более эффективному проникновению селективной жидкости к «рабочему участку» добывающей нефтяной скважины после ее закачки в такую скважину. С течением времени закачанная в скважину ассоциирующая жидкость согласно изобретению образует блокирующие гелевые пробки в тех местах скважины, где эта жидкость находится в контакте с водной средой. В местах контакта ассоциирующей жидкости с нефтью гелеобразование продолжает подавляться ингибитором, и гелевые пробки не образуются.
Изобретение далее дополнительно иллюстрируется следующими не ограничивающими его примерами.
Пример 1.
0,2 г терполимера I, содержащего 84,4 мол.% акриламида, 1,5 мол.% н-додецилакриламида и 14,1 мол.% акрилата натрия, синтезированного методом мицеллярной полимеризации при концентрации додецилсульфата натрия 1,5 вес.% и общей концентрации мономеров 3,0 вес.%, растворяют в 10 мл смеси этилового спирта (60 об.%) и воды (40 об.%) при непрерывном перемешивании в течение 2 часов. Для моделирования контакта раствора полимера с пластовой водой, 1 мл готового раствора полимера приливают к 20 мл водного солевого раствора, содержащего 30 г/л хлорида натрия и 3 г/л хлорида кальция. Для моделирования контакта с нефтью 1 мл раствора полимера приливают к 20 мл н-гептана. По истечении 2 недель измеряют частотные зависимости комплексного модуля упругости растворов полимера, находившихся в контакте с водным солевым раствором и н-гептаном. Они представлены на фиг.1 и 2. Видно, что в образце, находившемся в контакте с водой, в диапазоне частот от 0,01 до 10 Гц модуль упругости выше, чем модуль потерь, т.е. образец представляет собой физический гель. В то же время в образце, находившемся в контакте с н-гептаном, в диапазоне частот от 0,1 до 10 Гц модуль упругости ниже, чем модуль потерь, т.е. в этом образце гелеобразования не произошло. Значения модуля упругости, измеренные при частоте 0,1 Гц, а также вязкость исходного полимерного раствора указаны в табл.1.
Пример 2.
0,060 г терполимера I (его состав описан в Примере 1) растворяют в 3,8 мл смеси метилового спирта (53 об.%) и воды (47 об.%). Исследуют изменение реологических свойств раствора при контакте с водным солевым раствором и н-гептаном так же, как описано в Примере 1. Данные измерений приведены в табл.1.
Пример 3.
0,3 г терполимера II, содержащего 88,8 мол.% акриламида, 1,5 мол.% н-додецилакриламида и 9,7 мол.% акрилата натрия, синтезированного методом мицеллярной полимеризации при концентрации додецилсульфата натрия 3,0 вес.% и общей концентрации мономеров 3 вес.%, растворяют в 10 мл смеси этилового спирта (40 об.%) и воды (60 об.%) при непрерывном перемешивании в течение 2 часов. Исследуют изменение реологических свойств раствора при контакте с водным солевым раствором и н-гептаном так же, как описано в Примере 1. Данные измерений приведены в табл.1.
Пример 4.
Гелеобразующую смесь на основе терполимера I готовят так же, как описано в Примере 1, за тем исключением, что к 4 мл смеси дополнительно приливают 70 мкл водного раствора ПАВ – цетилпиридиния хлорида концентрации 0,020 моль/л. Исследуют изменение реологических свойств раствора при контакте с водным солевым раствором и н-гептаном так же, как описано в Примере 1. Данные измерений приведены в табл.1.
Табл.1. Сравнение модулей упругости образцов селективной жидкости после контакта с водной средой и с н-гептаном. |
| Пример |
Вязкость исходного раствора, Па·с |
G’ образца при частоте 0.1 Гц, Па |
| Контакт с водной средой |
Контакт с н-гептаном |
| 1 |
0.13 |
67 |
0.16 |
| 2 |
0.52 |
5.3 |
0.36 |
| 3 |
0.33 |
23 |
0.47 |
| 4 |
0.18 |
12.0 |
0.85 |
Таким образом, сходные результаты (образование физического геля при контакте с водой и отсутствие гелеобразования при контакте с н-гептаном) получены для различных гидрофобно модифицированных полимеров, а также для комплексов гидрофобно модифицированный полимер/ПАВ в присутствии различных ингибиторов.
Литература.
1. Бейли Б., Крабтри М., Тайри Д., Кучук Ф., Романо К., Рудхарт Л., Элфик Д. Диагностика и ограничение водопритоков. «Нефтегазовое обозрение», весна 2001, с.44.
2. Патент WO 99/49183 от 30 сентября 1999 г.
3. Патент США № US 6194356 В1 от 27 февраля 2001 г.
4. Bock J., Valint P.L., Jr., Pace S.J., Siano D.B., Schuiz D.N., Turner S.R. Hydrophobically associating polymers. In Water-Soluble Polymers for Petroleum Recovery; Stahl G.A., Schuiz D.N., Eds.; Plenum Press: New York, 1988; pp.147-160.
5. Regalado E.J., Selb J., Candau F. Viscoelastic behavior of semidilute solutions of multisticker polymer chains. Macromolecules 1999, v.32, pp.8580-8588.
6. Chassenieux С., Fundin J., Ducouret G., Iliopoulos I. Amphiphilic copolymers of styrene with a surfactant-like comonomer: gel formation in aqueous solution. J. Molecular Structure 2000, v.554, pp.99-108.
7. Rehage H., Hoffmann H. Viscoelastic surfactant solutions: model systems for rheological research. Mol. Phys. 1991, v.74, pp.933-973.
8. Hoffmann H. In Structure and Flow in Surfactant Solutions; ACS Symp. Ser. 578; Herb C.A., Prudhomme R., Eds. American Chemical Society: Washington, DC, 1994; pp.2-31.
9. Raghavan S.R., Kaler E.W. Highly viscoelastic wormlike micellar solutions formed by cationic surfactants with long unsaturated tails. Langmuir 2001, v.17, pp.300-306.
10. Iliopoulos I., Wang Т.К., Audebert R. Viscometric evidence of interactions between hydrophobically modified poly(sodium acrylate) and sodium dodecyl sulfate. Langmuir 1991, v.7, pp.617-620.
11. Sarrazin-Cartalas A., Iliopoulos I., Audebert R., Olsson U. Association and thermal gelation in mixtures of hydrophobically modified polyelectrolytes and non-ionic surfactants. Langmuir 1994, v.10, pp.1421-1426.
12. Piculell L., Thuresson K., Ericsson O. Surfactant binding and micellisation in polymer solutions and gels: binding isotherms and their consequences. Faraday Discussions 1995, v.101, pp.307-318.
13. Noda Т., Morishima Y. Hydrophobic association of random copolymers of sodium 2-(acrylamido)-2-methylpropanesulfonate and dodecyl methacrylate in water as studied by fluorescence and dynamic light scattering. Macromolecules 1999, v.32, pp.4631-4640.
14. Blagodatskikh I.V., Sutkevich M.V., Sitnikova N.L., Churochkina N.A., Pryakhina T.A., Philippova O.E., Khokhlov A.R. Polymers with strongly interacting groups. Molecular weight characterization using GPC/LS. J. Chromatography, in press.
15. Хандурина Ю.В., Рогачева В.Б., Зезин А.В., Кабанов В.А. Стабильность поликомплексов сетчатый полиэлектролит-поверхностно-активное вещество в водно-солевых и водно-органических средах. Высокомолек. Соед. 1994, т.36, №2, с.241-246.
Формула изобретения
1. Способ селективного ингибирования гелеобразования ассоциирующей гелеобразующей жидкости, содержащей гидрофобно ассоциирующие вещества, представляющие собой гидрофобно модифицированные водорастворимые полимеры или комплексы названных полимеров с ПАВ, обеспечивающий в случае контакта ассоциирующей жидкости с углеводородной средой сохранение ингибирующего эффекта, так что гелеобразования не происходит, а в случае контакта ассоциирующей жидкости с водной средой – исчезновение ингибирующего эффекта, так что происходит гелеобразование, отличающийся тем, что в указанные жидкости перед приведением их в контакт с указанными средами вводят ингибитор, подавляющий гидрофобную ассоциацию гидрофобно ассоциирующих веществ, который хорошо растворим в водных средах, но нерастворим в углеводородных средах.
2. Способ по п.1, где в качестве гидрофобно ассоциирующего вещества ассоциирующая гелеобразующая жидкость содержит гидрофобно модифицированный водорастворимый полимер на основе полиакриламида, содержащий 84,4 мол.% акриламидных звеньев, 1,5 мол.% н-додецилакриламидных звеньев и 14,1 мол.% звеньев акрилата натрия, полученный методом мицеллярной полимеризации при концентрации додецилсульфата натрия 1,5 вес.% и общей концентрации мономеров 3,0 вес.%.
3. Способ по п.2, отличающийся тем, что к ассоциирующей жидкости дополнительно добавляют раствор ПАВ цетилпиридиния хлорида из расчета 70 мкл раствора ПАВ концентрации 0,02 Моль/л на 4 мл ассоциирующей жидкости.
4. Способ по п.1, где в качестве гидрофобно ассоциирующего вещества ассоциирующая гелеобразующая жидкость содержит гидрофобно модифицированный водорастворимый полимер на основе полиакриламида, содержащий 88,8 мол.% акриламидных звеньев, 1,5 мол.% н-додецилакриламидных звеньев и 9,7 мол.% звеньев акрилата натрия, полученный методом мицеллярной полимеризации при концентрации додецилсульфата натрия 3,0 вес.% и общей концентрации мономеров 3,0 вес.%.
5. Способ по любому из пп.1-4, где в качестве ингибитора используют этанол.
6. Способ по любому из пп.1-4, где в качестве ингибитора используют метанол.
7. Ассоциирующая гелеобразующая жидкость, содержащая 1-10 мас.% гидрофобно ассоциирующих веществ, представляющих собой гидрофобно модифицированные водорастворимые полимеры или комплексы названных полимеров с ПАВ, ингибитор гелеобразования в эффективном для предотвращения гелеобразования количестве и водную среду, отличающаяся тем, что указанный ингибитор является ингибитором, который подавляет гидрофобную ассоциацию гидрофобно ассоциирующих веществ и который хорошо растворим в водных средах и практически нерастворим в углеводородных средах.
8. Ассоциирующая гелеобразующая жидкость по п.7, где в качестве гидрофобно ассоциирующего вещества используют гидрофобно модифицированный водорастворимый полимер на основе полиакриламида, содержащий 84,4 мол.% акриламидных звеньев, 1,5 мол.% н-додецилакриламидных звеньев и 14,1 мол.% звеньев акрилата натрия, полученный методом мицеллярной полимеризации при концентрации додецилсульфата натрия 1,5 вес.% и общей концентрации мономеров 3,0 вес.%.
9. Ассоциирующая гелеобразующая жидкость по п.8, отличающаяся тем, что дополнительно содержит ПАВ цетилпиридиний хлорид из расчета 70 мкл раствора ПАВ концентрации 0,02 Моль/л на 4 мл ассоциирующей жидкости.
10. Ассоциирующая гелеобразующая жидкость по п.7, где в качестве гидрофобно ассоциирующего вещества используют гидрофобно модифицированный водорастворимый полимер на основе полиакриламида, содержащий 88,8 мол.% акриламидных звеньев, 1,5 мол.% н-додецилакриламидных звеньев и 9,7 мол.% звеньев акрилата натрия, полученный методом мицеллярной полимеризации при концентрации додецилсульфата натрия 3,0 вес.% и общей концентрации мономеров 3,0 вес.%.
11. Ассоциирующая гелеобразующая жидкость по любому из пп.7-10, где в качестве ингибитора используют этанол.
12. Ассоциирующая гелеобразующая жидкость по любому из пп.7-10, где в качестве ингибитора используют метанол.
13. Состав для обработки нефтяной скважины, включающий ассоциирующую жидкость, содержащую гидрофобно ассоциирующие вещества, которые представляют собой гидрофобно модифицированные водорастворимые полимеры или комплексы названных полимеров с ПАВ, ингибитор гелеобразования в эффективном для предотвращения гелеобразования количестве и водную среду, отличающийся тем, что указанный ингибитор является ингибитором, который подавляет гидрофобную ассоциацию гидрофобно ассоциирующих веществ и который хорошо растворим в водных средах и практически нерастворим в углеводородных средах.
14. Состав по п.13, где в качестве гидрофобно ассоциирующего вещества используют гидрофобно модифицированный водорастворимый полимер на основе полиакриламида, содержащий 84,4 мол.% акриламидных звеньев, 1,5 мол.% н-додецилакриламидных звеньев и 14,1 мол.% звеньев акрилата натрия, полученный методом мицеллярной полимеризации при концентрации додецилсульфата натрия 1,5 вес.% и общей концентрации мономеров 3,0 вес.%.
15. Состав по п.14, отличающийся тем, что ассоциирующая гелеобразующая жидкость дополнительно содержит ПАВ цетилпиридиний хлорид из расчета 70 мкл раствора ПАВ концентрации 0,02 Моль/л на 4 мл ассоциирующей жидкости.
16. Состав по п.13, где в качестве гидрофобно ассоциирующего вещества используют гидрофобно модифицированный водорастворимый полимер на основе полиакриламида, содержащий 88,8 мол.% акриламидных звеньев, 1,5 мол.% н-додецилакриламидных звеньев и 9,7 мол.% звеньев акрилата натрия, полученный методом мицеллярной полимеризации при концентрации додецилсульфата натрия 3,0 вес.% и общей концентрации мономеров 3,0 вес.%.
17. Состав по любому из пп.13-16, где в качестве ингибитора используют этанол.
18. Состав по любому из пп.13-16, где в качестве ингибитора используют метанол.
19. Способ селективного блокирования поступления воды в добывающую нефтяную скважину из подземных водоносных пластов, включающий закачку в ствол скважины состава, включающего ассоциирующую жидкость, образующую со временем блокирующие гелевые пробки только в тех местах скважины, где ассоциирующая жидкость находится в контакте с водной средой, и не образующую пробок в местах контакта ассоциирующей жидкости с нефтью, отличающийся тем, что в качестве упомянутого состава для обработки нефтяной скважины используют состав по п.13.
20. Способ по п.19, где в качестве гидрофобно ассоциирующего вещества ассоциирующая жидкость содержит гидрофобно модифицированный водорастворимый полимер на основе полиакриламида, содержащий 84,4 мол.% акриламидных звеньев, 1,5 мол.% н-додецилакриламидных звеньев и 14,1 мол.% звеньев акрилата натрия, полученный методом мицеллярной полимеризации при концентрации додецилсульфата натрия 1,5 вес.% и общей концентрации мономеров 3,0 вес.%.
21. Способ по п.20, отличающийся тем, что к ассоциирующей жидкости дополнительно добавляют раствор ПАВ цетилпиридиния хлорида из расчета 70 мкл раствора ПАВ концентрации 0,02 Моль/л на 4 мл ассоциирующей жидкости.
22. Способ по п.19, где в качестве гидрофобно ассоциирующего вещества ассоциирующая жидкость содержит гидрофобно модифицированный водорастворимый полимер на основе полиакриламида, содержащий 88,8 мол.% акриламидных звеньев, 1,5 мол.% н-додецилакриламидных звеньев и 9,7 мол.% звеньев акрилата натрия, полученный методом мицеллярной полимеризации при концентрации додецилсульфата натрия 3,0 вес.% и общей концентрации мономеров 3,0 вес.%.
23. Способ по любому из пп.19-22, где в качестве ингибитора используют этанол.
24. Способ по любому из пп.19-22, где в качестве ингибитора используют метанол.
РИСУНКИ
|
|