|
|
(21), (22) Заявка: 2002130205/15, 02.03.2001
(24) Дата начала отсчета срока действия патента:
02.03.2001
(30) Конвенционный приоритет:
12.04.2000 (пп.1-32) US 09/546,997
(43) Дата публикации заявки: 27.03.2004
(45) Опубликовано: 20.05.2006
(56) Список документов, цитированных в отчете о поиске:
US 5366891 А, 22.11.1994. US 5914441 А, 22.06.1999. SU 131343 A, 01.01.1960. RU 2065503 C1, 20.08.1996. ДЫТНЕРСКИЙ Ю.И. Баромембранные процессы. Теория и расчет, М.: Химия, 1986, с.5. CERRUTI С. et al. Bio-dissolution of spent nickel-cadmium batteries using Thiobacillus ferrooxidans, J. Biotechnology, Vol 62, Pages 209-219. ТОРОЧЕШНИКОВ Н.С. и др. Техника защиты окружающей среды. М.: Химия, 1981, с.332-334.
(85) Дата перевода заявки PCT на национальную фазу:
12.11.2002
(86) Заявка PCT:
US 01/06970 (02.03.2001)
(87) Публикация PCT:
WO 01/78913 (25.10.2001)
Адрес для переписки:
103735, Москва, ул. Ильинка, 5/2, ООО “Союзпатент”, пат.пов. А.П.Агурееву
|
(72) Автор(ы):
ЯНГ Том Л. (US), ГРИН Майкл Дж. (US), РАЙС Деннис Р. (US), КАРЛЕЙДЖ Келли Л. (US), ПРЕМО Шон П. (US), КАССЕЛЬС Джанет М. (US)
(73) Патентообладатель(и):
ФИЛЛИПС ПЕТРОЛЕУМ КОМПАНИ (US)
|
(54) МАТЕРИАЛЫ И СПОСОБ БИОЛОГИЧЕСКОГО ПРОИЗВОДСТВА СЕРНОЙ КИСЛОТЫ
(57) Реферат:
Заявлены устройство и способ биологического производства серной кислоты. Согласно изобретению, используется штабель, содержащий источник серы, ацидофильные микроорганизмы и, предпочтительно, наполнитель. Штабель насыщается воздухом и контактирует с водным раствором. При этом первая порция кислотного продукта возвращается в штабель для повторного контактирования. Способ осуществляют в устройстве состоящем из, по меньшей мере, одного реактора, имеющего основание, придонного слоя, смежного с основанием и содержащего первый наполнитель, и реакционного слоя над указанным придонным слоем. Реакционный слой содержит серное сырье и ацидофильные микроорганизмы. Кроме того, устройство содержит аэратор, заходящий частично в указанный придонный слой, систему орошения, проходящую частично над указанным реакционным слоем, приспособление для отведения кислотного раствора из реактора с получением отведенного кислотного раствора и приспособление для возврата первой порции указанного отведенного кислотного раствора в верхнюю часть реакционного слоя. Предложенное изобретение обеспечивает эффективное и экологически чистое получение серной кислоты при низких капитальных затратах. 3 н. и 29 з.п. ф-лы, 3 ил., 4 табл.
Область техники, к которой относится изобретение
Предметом настоящего изобретения является альтернативный способ производства серной кислоты, основанный на использовании промышленно доступных, не опасных серных и/или сульфидных руд и/или минералов, которые обеспечивают достаточный для промышленного производства переход твердой/жидкой/газообразной фаз. Способ требует значительно меньше капитальных затрат, чем любая из используемых в настоящее время технологий, и снижает нагрузку на окружающую среду за счет почти полного сокращения выбросов.
Уровень техники
Благодаря своему основному производному – серной кислоте, сера считается одним из наиболее важных химических элементов, используемых в качестве промышленного сырья. Она имеет первостепенное значение в любом секторе мирового промышленного комплекса и в производстве удобрений. Производство серной кислоты – это основное направление конечного применения серы; использование серной кислоты служит одним из показателей промышленного развития страны. США ежегодно производят примерно 48 миллионов метрических тонн серной кислоты, т.е. больше, чем других химических продуктов. Мировое производство серной кислоты составляет свыше 150 миллионов метрических тонн в год.
Сфера промышленного использования серной кислоты чрезвычайно широка. Примерами могут служить производство фосфорных и азотных удобрений, очистка нефтепродуктов, выщелачивание металлов из руд, т.е. экстрагирование меди, цинка, никеля и титана, промышленное производство органических и неорганических химических продуктов, процессы производства красок и пигментов, металлургическое производство железа, стали и цветных металлов, производство искусственного и целлюлозного химического волокна, производство бумаги, обработка воды. Благодаря своим свойствам серная кислота удерживает свои позиции как самая универсальная в применении минеральная кислота, превосходящая по объемам промышленного производства и потребления другие неорганические химические продукты.
Серную кислоту обычно получают каталитическим превращением диоксида серы (SO2) в триоксид серы (SO3) с последующей реакцией SO3 с водой с образованием серной кислоты. SO2 получают либо прямым сжиганием элементарной серы, либо выплавкой основного металла из руды (например, меди, цинка и свинца). Несмотря на постоянное совершенствование процессов улавливания SO2 из выбросов, образующихся как при выплавке металлов, так и при прямом сжигании серы, эти процессы позволяют улавливать только от 95% до 99% выбросов. Работающие по старым технологиям плавильные заводы, на которых требования к выбросам менее строгие, размещаются в отдаленных местах, главным образом в Южной Америке, на юге Африки и в Китае, где они большей частью не испытывают давления со стороны органов по охране окружающей среды. Однако в будущем и эти размещающиеся в отдаленных местах плавильные заводы будут вынуждены сократить количество вредных выбросов. Их переоснащение потребует больших капиталовложений. С учетом этого актуальной задачей является создание такого способа производства серной кислоты, который не оказывал бы вредного воздействия на окружающую среду в отличие от существующих технологий производства серной кислоты.
Кроме того, такие операции, как выщелачивание металлов, зачастую осуществляются на рудниках и заводах, расположенных в отдаленных регионах и в странах, где отсутствует инфраструктура, необходимая для производства чрезвычайно опасной концентрированной серной кислоты. В большинстве случаев операции по выщелачиванию базируются на использовании водных растворов серной кислоты, которые содержат менее 20 граммов серной кислоты/литр. По существующей технологии серную кислоту получают в сильно концентрированном виде и отгружают к месту ее использования, где она разбавляется водой для получения водных растворов, которые и используются в операциях выщелачивания. Поэтому актуальной задачей является разработка такого способа, который позволил бы получать водные растворы серной кислоты вблизи места их использования и устранил бы опасность, связанную с транспортировкой и обработкой концентрированной серной кислоты.
Как было показано выше, существует острая необходимость в создании более эффективного в стоимостном выражении и экологически чистого способа производства серной кислоты. Предметом настоящего изобретения является альтернативный способ производства серной кислоты, основанный на использовании промышленно доступных, не опасных серных и/или сульфидных руд и/или минералов, которые обеспечивают достаточный для промышленного производства переход твердой/жидкой/газообразной фаз. Способ требует значительно меньше капитальных затрат, чем любая из используемых в настоящее время технологий, и снижает нагрузку на окружающую среду за счет почти полного сокращения выбросов.
Концепция производства серной кислоты в небольших реакторах погружного типа с использованием биологических материалов неоднократно обсуждалась в специальной литературе: Cerruti и др. – Биоразложение отработанных никеле-кадмиевых батарей с использованием Thiobacillus ferrooxidans, «Journal of Biotechnology», 62, 209-211 (1998); Curutchet и др. – Комбинированное разложение ковеллина культурами Thiobacillus thiooxidans и Thiobacillus ferrooxidans, «Biotechnol. Lett.», 18, 1471-1476 (1996); Tichy и др. – Возможности использования полученной биологическим методом серы для культивирования тиобацилл применительно к процессам биовыщелачивания, «Bioresource Technology», 48, 221-227 (1994); Tichy и др. – Окисление полученной биологическим методом серы в реакторе непрерывного действия со смешанной суспензией, «Wat. Res.», vol.32, 701-719 (1998); Otero и др. – Действие Thiobacillus thiooxidans на серу в присутствии поверхностно-активного агента и его использование при непрямом разложении фосфора, «Process Biochemistry», vol.30, 747-750 (1995), и Brissette и др. – Бактериальное выщелачивание сульфида кадмия, «The Canadian Mining and Metallurgical (CIM) Bulletin», октябрь 1971, 85-88 (1971). Однако в этих исследованиях использовалась элементарная сера в форме порошка, выцветов, кристаллов или биологическая в мелкомасштабных лабораторных процессах. Tichy (1994) указывал на очень низкую рентабельность производства серной кислоты из выцветов самородной (элементарной) серы и на неэффективность промышленного использования такого способа. Поэтому актуальной задачей является создание способа производства серной кислоты с использованием биологических материалов при нормах выработки, позволяющих сделать эффективным его промышленное использование.
Сущность изобретения
Актуальной является разработка нового способа и устройства для биологического производства серной кислоты (H2SO4).
Актуальным является также создание способа, требующего низких капитальных затрат, и устройства для получения серной кислоты с нормами выработки, делающими эффективным его промышленное использование.
Желательно, чтобы вновь разработанный способ производства серной кислоты был более экологически чистым, чем действующие в настоящее время технологии на основе прямого сжигания элементарной серы или выплавки основного металла из руд.
Желательно также, чтобы вновь созданный способ производства серной кислоты можно было безопасно и экономически выгодно осуществлять в местах непосредственного применения серной кислоты, исключив, тем самым, затраты на ее транспортировку и обработку.
Другие аспекты и преимущества очевидны из приведенной ниже формулы изобретения.
Настоящее изобретение касается способа биологического производства серной кислоты (Н2SO4). В предпочтительном варианте его осуществления способ включает использование окисляющих бактерий или ацидофильных грибков для окисления элементарной серы или пирита с образованием серной кислоты. В одном из вариантов сера обрабатывается водой в присутствии микроорганизмов, способных окислять серу, а биовыщелачивание проводится с использованием окисляющих бактерий Thiobacillus thiooxidans.
Согласно одному из аспектов настоящего изобретения, предложен способ производства серной кислоты. Способ включает контактирование водного раствора с серосодержащим материалом в форме штабеля, при этом в качестве серосодержащего материала используется элементарная сера, серосодержащие руды, сульфидсодержащие руды, серосодержащие минералы, сульфидсодержащие минералы или их комбинации. Штабель дополнительно содержит ацидофильные микроорганизмы и, предпочтительно, наполнитель. Штабель насыщается кислородсодержащим газом, жидкая фаза отводится из штабеля. Первая порция жидкой фазы возвращается назад в штабель для последующего контактирования со штабелем, вторая порция указанной жидкой фазы используется как кислотный продукт.
В соответствии с другим аспектом настоящего изобретения предлагается устройство для получения серной кислоты. Устройство состоит, по меньшей мере, из одного реактора, имеющего основание. Реактор имеет придонный слой, смежный с основанием. Придонный слой состоит из первого наполнителя. Реакционный слой расположен над придонным слоем и содержит серосодержащий материал, выбранный из группы, включающей элементарную серу, серосодержащие руды, сульфидсодержащие руды, серосодержащие минералы, сульфидсодержащие минералы и их комбинации, и ацидофильные микроорганизмы. Устройство оснащено аэратором, направленным, по меньшей мере частично, в придонный слой. Аэратор вводит кислородсодержащий газ в придонный слой таким образом, что кислородсодержащий газ проходит вверх и через реакционный слой. Система орошения, расположенная над реакционным слоем, подает водный раствор в или на верхнюю поверхность реакционного слоя таким образом, что водный раствор стекает вниз и через реакционный слой, поступая затем в придонный слой. В процессе прохождения водного раствора через реакционный слой происходит биологическая реакция с образованием серной кислоты и, следовательно, водный раствор у придонного слоя представляет собой кислотный раствор, содержащий серную кислоту. Для отведения кислотного раствора из указанного реактора предусмотрено соответствующее приспособление; отводимый кислотный раствор разделяется на первую и вторую порции. Первая порция вводится сверху в указанный реакционный слой, а вторая порция используется как кислотный раствор.
В предпочтительном варианте осуществления изобретения способ включает использование ацидофильных микроорганизмов для окисления различных форм элементарной серы, сульфидсодержащих руд или минералов (например, пирита и халькопирита) и серосодержащих вулканических туфов. Используемая в заявленном способе сера может иметь различную форму – форму кусков, лепешек, сланцев, выцветов, пыли или серосодержащего покрытия на субстрате. Серо- и/или сульфидсодержащие руды или минералы могут контактировать с жидкой и газообразной фазами либо в реакторе, либо в свободно лежащей массе (груде).
Водный раствор, в качестве которого можно использовать дистиллированную воду, питьевую воду и/или подкисленную или неподкисленную производственную воду, контактирует с верхней поверхностью твердого материала с постоянной или переменной скоростью. Основное требование, предъявляемое к поступающему раствору, заключается в том, что он не должен содержать компонентов, токсичных для микроорганизмов или ингибирующих их рост. Однако в особых случаях, когда допускается наличие указанных компонентов, специалисты в данной области смогут постепенно адаптировать ацидофильные микроорганизмы и сделать их устойчивыми к токсинам. Кислородсодержащий газ, предпочтительно воздух, необходимо вводить в штабель или реактор с соответствующей скоростью с тем, чтобы обеспечить достаточное для получения серной кислоты количество кислорода.
Согласно настоящему изобретению, конечная концентрация серной кислоты может быть доведена до требуемого значения с помощью таких освоенных промышленностью процессов, как, например, метод обратного осмоса, мембранное разделение, фильтрация, дистилляция и криогенная технология (перечень их не ограничивается названными процессами). Отводимая жидкая фаза со стадии концентрирования может быть возвращена в реактор или свободно стоящий штабель для сохранения во всей системе нулевого цикла разгрузки. Даже при отключении установки оставшаяся часть инокулированного микроорганизмами источника серы может служить ценным сырьем для пуска новой установки. Формирование водных потоков можно использовать для поддержания требуемого водного баланса.
Краткое описание чертежей
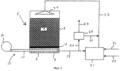
На фиг.1 представлена схема заявленного способа производства серной кислоты с использованием одного реактора. В представленном варианте способа используется реактор с орошаемым слоем.
На фиг.2 представлена схема заявленного способа производства серной кислоты с использованием нескольких реакторов.
На фиг.3 представлена схема второго варианта заявленного способа с использованием нескольких реакторов.
Сведения, подтверждающие возможность осуществления изобретения
Хотя настоящее изобретение может быть реализовано во многих различных вариантах, на чертежах и в описании изобретения подробно изложены наиболее предпочтительные из них. Само собой разумеется, что они приводятся в качестве показательных примеров, раскрывающих сущность изобретения, а не с целью ограничения широкого спектра вариантов осуществления настоящего изобретения.
Предметом изобретения является биологическое производство серной кислоты. В частности, настоящее изобретение касается биологического производства серной кислоты в реакторе с орошаемым слоем или в биореакторе, имеющем форму свободно стоящего штабеля, содержащего элементарную серу, серосодержащие руды, сульфидсодержащие руды, серосодержащие минералы, сульфидсодержащие минералы и их комбинации (иногда в описании употребляется обобщающий термин «серосодержащий материал»). В предпочтительном варианте способ, составляющий предмет настоящего изобретения, включает использование окисляющих бактерий или ацидофильных грибков для окисления элементарной серы или сульфидсодержащих руд или минералов (например, пирита и халькопирита) и/или серосодержащих вулканических туфов с получением серной кислоты.
Одним из аспектов настоящего изобретения является способ производства серной кислоты преимущественно из серосодержащего материала. Серосодержащий материал контактирует с инокулятом, содержащим ацидофильные микроорганизмы. Под термином «ацидофильные микроорганизмы» понимаются биологические организмы, пригодные для получения серной кислоты из серосодержащего материала, такие как Thiobacillus thiooxidans, Thiobacillus ferrooxidans, Sulfolobus или другие виды окисляющих бактерий или другие ацидофильные микроорганизмы, такие как грибки. Серосодержащий материал контактирует с ацидофильными микроорганизмами в присутствии воздуха и воды, сера в серосодержащем материале окисляется указанными микроорганизмами в серную кислоту, которая содержится в конечном водном растворе. Предпочтительно, чтобы серосодержащий материал контактировал с ацидофильными микроорганизмами в присутствии воздуха, воды и питательных веществ с тем, чтобы поддержать требуемый рост клеток и образование серной кислоты. Ацидофильные микроорганизмы могут быть отобраны из коллекции промышленных культур или выделены из природных источников, например из почвенных или подземных вод. Заявленные ацидофильные микроорганизмы могут использоваться в виде штаммов чистых культур или в виде смешанных (две и более) культур. По достижении равновесия и/или адекватной концентрации кислоты кислотный раствор может отводиться из системы и использоваться непосредственно в целях подкисления или направляться на обработку для повышения крепости кислоты с применением таких промышленных процессов, как метод обратного осмоса, мембранное разделение, фильтрация, дистилляция и криогенная технология. Для сохранения водного баланса в систему могут дополнительно вводиться свежая вода или другая производственная вода. Этот процесс может осуществляться при температуре окружающей среды или при повышенных температурах в зависимости от вида используемых микроорганизмов.
На фиг.1 приводится схема предпочтительного варианта устройства для практического осуществления изобретения. На фиг.1 реакционный слой или штабель серы 7 размещается внутри реактора 1. Реактор 1 имеет днище 3 и боковые стенки 5 по периферии днища, которые, поднимаясь от днища 3, окружают штабель серы 7. Согласно изобретению, серосодержащий материал может иметь форму свободно стоящего штабеля или массы (груды), т.е. штабеля или массы, не заключенной в реактор, или, альтернативно, форму штабеля, заключенного в реактор, как представлено на фиг.1. Если используется свободно стоящий штабель или масса (груда), то в этом случае реактор, имеющий днище или основание, также будет использоваться, но для сбора кислотного раствора, полученного при обработке штабеля. Указанное дно или основание реактора может быть снабжено выступами или периферийными боковыми перегородками достаточной высоты для удерживания сливаемого кислотного раствора. Для промышленного использования, для которого предназначены предпочтительные варианты осуществления настоящего изобретения, объем штабеля должен быть более 10 м3.
Штабель серы 7 содержит серосодержащий материал и микроорганизмы, пригодные для получения серной кислоты («ацидофильные микроорганизмы»), такие как Thiobacillus thiooxidans, Sulfolobus или другие виды окисляющих бактерий или другие виды ацидофильных микроорганизмов, такие как ацидофильные грибки. Предпочтительно, чтобы штабель серы содержал наполнитель. В качестве наполнителя может использоваться любой материал, который не является токсичным для биологических организмов и способен интенсифицировать аэрацию штабеля серы. Наполнителем может служить либо инертный материал, устойчивый к серной кислоте, либо материал, который может быть субстратом для обеспечения питательными веществами ацидофильных микроорганизмов и/или источником серы для ацидофильных микроорганизмов. Предпочтительными инертными наполнителями являются измельченное стекло, стеклянные бусины, полимерные бусины, полимерная стружка или полимерные субстраты. Если в качестве наполнителя используется полимер, то это может быть полиэтилен, полипропилен или другой соответствующий полимер, устойчивый к денатурации под действием серной кислоты. Особенно предпочтительно использовать в качестве наполнителей полимерные субстраты с большой площадью поверхности, например наполнитель в виде колец и мелких зерен под торговым названием BIOBALLS или сферический наполнитель, имеющий сетчатую структуру с ребрами, распорными элементами и/или пористыми элементами, под торговым названием JAEGER TRI-PACKS. Предпочтительными наполнителями, которые могут служить субстратом, т.е. источником питательных веществ для ацидофильных микроорганизмов и/или источником серы для ацидофильных микроорганизмов, являются камень, гравий, серосодержащие руды, сульфидсодержащие руды, серосодержащие минералы, сульфидсодержащие минералы и их комбинации. К таким рудам и минералам относятся пирит, халькопирит и вулканические туфы. Наиболее предпочтительным наполнителем являются серосодержащие или сульфидсодержащие руды и минералы и их комбинации. В большинстве случаев наполнитель должен составлять от 25% до 75% от массы штабеля. Предпочтительно, особенно в случае использования в качестве серосодержащего сырья элементарной серы, а в качестве наполнителя – серосодержащих или сульфидсодержащих руд и/или минералов, чтобы наполнитель составлял от 30% до 60%, более предпочтительно от 40% до 50% от массы штабеля.
В одном из вариантов сера может прикрепляться к большой поверхности субстратов, таких как BIOBALLS или JAEGER TRI-PACKS, с помощью связывающей полимеры композиции в барабане или любым другим способом. Частицы серы помещаются в ванну, водный раствор с помощью насоса пропускается через слой наполнителя до тех пор, пока не будет достигнуто требуемое производство серной кислоты.
Возвращаясь вновь к фиг.1, следует отметить, что слой наполнителя 9 располагается под реакционным слоем или штабелем серы 7. Слой 9 является смежным с днищем 3 и приспособлением для слива кислотного раствора, полученного в штабеле 7. Слой 9 может быть образован любым из вышеперечисленных наполнителей. Дополнительно может быть предусмотрен фильтрующий слой 11 между штабелем серы 7 и слоем 9 для предупреждения попадания серосодержащего сырья в слой 9.
Заявленное устройство включает также аэратор 13, состоящий из воздуходувки или компрессора 15 и соответствующего приспособления для подачи воздуха в реактор, например, перфорированной трубки 17. Перфорированная трубка 17 проходит от воздуходувки 15 в реактор 1 в слое 9, благодаря чему поступающий воздух входит в слой 9 и проходит затем через штабель 7. Таким образом, слой 9 служит отражательным барьером, способствующим равномерному распределению воздуха по всей поверхности штабеля 7. Хотя в описании аэратора 13 используется термин «воздух», само собой разумеется, что может использоваться любой кислородсодержащий газ, благоприятствующий росту биологических организмов. Воздуходувка 15 может быть заменена цилиндром со сжатым воздухом или другим приспособлением для нагнетания воздуха в перфорированную трубу 17.
Кислотный раствор отводится из реактора 1 по трубопроводу 19. По трубопроводу 19 кислотный раствор предпочтительно отводится из слоя 9 с целью получения кислоты максимально возможной концентрации и минимизации потерь серы из реактора. Первая порция кислотного раствора подается в продуктовый резервуар 21, вторая порция – отводится по трубопроводу 23.
В продуктовом резервуаре 21 первые порции могут объединяться с заменой биологических организмов и нутриентов, поступающих по трубопроводу 31, и/или с заменой воды, поступающей по трубопроводу 33, с целью формирования потока для подпитки реактора 35. Указанный поток 35 вводится в реактор 1 с помощью системы орошения 37. Система орошения 37 содержит разбрызгиватель или диспергатор, позволяющий равномерно распределять поток 35 по поверхности штабеля серы 7.
Вторая порция может использоваться в нативном виде или направляться на последующую обработку с целью увеличения концентрации кислоты в концентраторе 25. Концентратор кислоты 25 может работать по принципу известных промышленных установок, таких как обратноосмотические установки, установки для мембранного разделения, фильтры, дистилляторы, криогенные установки, или других установок, пригодных для повышения крепости кислоты. Концентрированный раствор серной кислоты отводится из концентратора 25 по трубопроводу 29. Водный раствор, отделенный от концентрированного раствора серной кислоты в концентраторе 25, вводится в поток для подпитки реактора 35 по трубопроводу 36 до подачи потока 35 в реактор 1.
На фиг.2 и 3 представлены другие варианты осуществления изобретения. На фиг.2 и 3 цифровые обозначения составных частей устройства аналогичны их цифровым обозначениям на фиг.1. На фиг.2 представлен вариант устройства, в котором используется несколько параллельно соединенных между собой реакторов. Реакторы 1(a), 1(b) и 1(с) содержат штабели серы 7(а), 7(b) и 7(с); аэраторы 13(а), 13(b) и 13(с) и системы орошения 37(а), 37(b) и 37(с). Что касается аэраторов, то каждый реактор может быть оборудован автономной воздузодувкой 15(а), 15(b) и 15(с), как показано на чертеже, или все реакторы могут иметь общую воздуходувку. Реакторы на фиг.2 соединены между собой параллельно таким образом, чтобы кислотные растворы, отводимые из реакторов, могли объединяться, а затем подаваться в продуктовый резервуар 21 и концентратор кислоты 25.
На фиг.3 представлен вариант с использованием нескольких, последовательно соединенных реакторов. Согласно этому варианту, отводимый из реактора 1(а) кислотный раствор используется для подпитки реактора 1(b) и подается в систему орошения 37(b) по трубопроводу 39. Подобно этому отводимый из реактора 1(b) кислотный раствор используется для подпитки реактора 1(с) и подается в систему орошения 37(с) по трубопроводу 41. Отводимый из реактора 1(с) кислотный раствор поступает в концентратор 25 и продуктовый резервуар 21, а питающий раствор 35 подается в реактор 1(а) через систему орошения 37(а).
Сера может использоваться в гранулированном виде в колонках или в массе (груде). Серосодержащий материал, согласно заявленному способу, может представлять собой элементарную серу, серосодержащие руды, сульфидсодержащие руды, серосодержащие минералы, сульфидсодержащие минералы и их комбинации. Элементарная сера, согласно заявленному способу, может использоваться в любой форме – в виде кусков, лепешек, сланцев, выцветов, пыли или в виде покрытия на субстрате. В качестве серо- или сульфидсодержащей руды или минерала предпочтительно использовать пирит, халькопирит и вулканические туфы. Но наиболее предпочтительно использовать элементарную серу в форме кусков, лепешек, сланцев и их комбинаций. При этом большая часть (90% масс. или больше) серосодержащего материала должна быть размером 100 меш или меньше, предпочтительно 60 меш или меньше. В одном из вариантов изобретения сера может также использоваться в виде покрытия, нанесенного на большую поверхность субстрата, например, в виде BIOBALLS или JAEGGER TRI-PACKS размером 1-1,5 дюйма (2,54-3,81 см) на субстратах. В качестве последних предпочтительно использовать полипропилен, но можно использовать и другие подходящие полимерные материалы.
Водный раствор, в качестве которого может использоваться, например, дистиллированная вода, питьевая вода и/или подкисленная или неподкисленная производственная вода, с постоянной или переменной скоростью подается сверху на твердый субстрат. Основное требование к подаваемому водному раствору заключается в том, что он не должен содержать компоненты, токсичные для микроорганизмов или ингибирующие их рост. Однако в особых случаях использования производственной воды, содержащей токсичные или ингибирующие компоненты, специалисты-профессионалы могут постепенно адаптировать ацидофильные микроорганизмы и сделать их устойчивыми к токсинам. Кроме того, в водном растворе могут изначально присутствовать нутриенты или они могут быть добавлены к нему извне, чтобы обеспечить требуемый рост биологических организмов; заменяемые биологические организмы могут также вводиться вместе с водным раствором. Водный раствор может вводиться с любой приемлемой скоростью. Обычно скорость составляет от 0,5 до 40,0 л/мин/м2, где м2 относится к площади поверхности штабеля серы. Предпочтительно, чтобы скорость составляла от 2,0 до 21,01 л/мин/м2.
Кислородсодержащий газ, предпочтительно воздух, вводится в твердую массу или реактор с соответствующей скоростью, обеспечивающей достаточное для производства серной кислоты количество кислорода. Скорость подачи кислородсодержащего газа будет варьировать в зависимости от условий, т.е. высоты, температуры и содержания минеральных веществ в жидких отходах, но обычно она поддерживается в пределах от 10 до 1000 л/день/метрических тонн серы.
Предметом изобретения является способ производства серной кислоты при низких капитальных затратах, который может осуществляться на рудниках и заводах, расположенных в районах, где отсутствует инфраструктура, необходимая для использования концентрированной серной кислоты. Большинство операций по выщелачиванию меди основано на использовании водных растворов серной кислоты, содержащих менее 20 г/л серной кислоты. Современные технологии базируются на использовании концентрированной серной кислоты (98%), которую разбавляют на месте до требуемой для выщелачивания концентрации. Заявленный способ предусматривает приготовление водных растворов серной кислоты непосредственно в местах ее использования, благодаря чему устраняется риск вредного воздействия на персонал и окружающую среду, связанный с производством серной кислоты.
Нижеприведенные примеры раскрывают заявленный способ, в котором используются Thiobacillus thiooxidans; однако можно использовать любые сероокисляющие ацидофильные микроорганизмы для производства серной кислоты заявленным способом. Сера может использоваться в любой форме, которая обеспечивает достаточный контакт с кислородом и водным раствором.
Экстрагирование металлов из сульфидных концентратов или получение раствора серной кислоты из элементарной серы или пирита значительно облегчается при использовании субстратов BIOBALLS или JAEGER TRI-PACKS. Однако описываемые системы не ограничиваются только использованием колонок с насадками из субстратов BIOBALLS, JAEGER TRI-PACKS или других наполнителей; возможно использование смесей из различных форм серы, сульфидсодержащих руд и/или минералов, вулканических туфов и/или несульфидных руд.
Практическое осуществление изобретения показано в нижеследующих примерах, которые не следует рассматривать как единственно возможные.
Пример 1
1,95 кг серы, нагретой до температуры выше температуры ее плавления, были равномерно нанесены на субстрат из BIOBALLS размером 2,54 см, взятый в объеме 10,9 л. Субстрат из BIOBALLS с нанесенной серой помещали в цилиндр, снабженный ситом в донной части для удерживания материала с покрытием. Цилиндр размещали над резервуаром, содержащим 4,0 литра дистиллированной воды, содержащей ацидофильные микроорганизмы и питательную среду 125. Питательная среда 125 содержала химические вещества (NH2)2SO4, MgSO4·7Н2О, CaCl2, КН2PO4, FeSO4. Под давлением насоса раствор циркулировал со скоростью 2,16 литров в минуту. Раствор равномерно распылялся по всей верхней поверхности субстрата из покрытых серой BIOBALLS. Ежедневно добавляли соответствующее количество дистиллированной воды, с тем чтобы поддерживать постоянный объем раствора в резервуаре – 4,0 литра. Циркуляция водного раствора продолжалась до тех пор, пока концентрация кислоты не достигла 20 граммов/литр. По достижении указанной концентрации соответствующий объем водного раствора отводился из резервуара, а такое же количество дистиллированной воды вводилось в резервуар с целью поддержания средней концентрации кислоты 20 граммов/литр. За последующие 122 дня были удалены 11,4 литра раствора. Общая масса полученной за указанное время кислоты составила 228 граммов, в среднем 1,86 граммов в сутки.
Пример 2
В цилиндр диаметром 5,1 см, оборудованный ситом в донной части, вносили 1,3 кг кусковой серы. Цилиндр размещали над резервуаром, содержащим 4,0 литра дистиллированной воды, инокулированной ацидофильными микроорганизмами, дистиллированную воду и питательную среду 125. С помощью насоса раствор циркулировал со скоростью 125 мл в минуту в верхнюю часть колонки, где распылялся сверху на куски серы. В резервуаре постоянно поддерживался объем 4,0 литра за счет ежедневного добавления дистиллированной воды. Спустя 43 дня водный раствор отводился и заменялся свежей дистиллированной водой. Спустя 6 дней концентрация кислоты увеличилась примерно до 19 г/л. В последующие 146 дней ежедневно отводилось в среднем 75 мл раствора с концентрацией кислоты в среднем 2,41 г/л.
Пример 3
Биореактор с орошаемым слоем представлял собой цилиндр диаметром 5,1 см с перфорированными распределительными пластинами – в днище для удерживания твердой серы и над серой для равномерного распределения водного раствора. Были испытаны четыре серосодержащих материала – увлажненная кусковая сера производства фирмы Devco Companies (S1), сера в форме лепешек от фирмы Shell Canada (S2), шлифованная кусковая сера от фирмы Gulf Midstream Services (S3) и увлажненная кусковая сера от фирмы Enersul Technologies (S4). Поток воздуха вводился через смонтированную под углом 90 градусов газорассеивающую трубку с мелкими отверстиями, расположенную в цилиндре над распределительной пластиной. В верхнюю часть трубки добавляли 1,0 кг серы. Инокуляцию серы проводили путем контактирования ее с 550 мл водного раствора, содержащего ацидофильные микроорганизмы, и введения воздуха через газорассеивающую трубку со скоростью 40 мл/мин. Спустя 72 часа раствор с микроорганизмами спускали из колонки в резервуар, а объем доводили до 2,0 литров за счет добавления нутриентов и раствора серной кислоты в дистиллированной воде концентрацией 20 г/л. Водный раствор циркулировал с помощью объемного насоса со скоростью 40 мл/мин. Скорость потока воздуха поддерживалась на уровне 40 мл/мин, постоянный объем – добавлением дистиллированной воды. Получены следующие результаты (см. таблицу 1):
Таблица 1
| Форма серы |
Количество дней |
Кумулятивное количество полученной Н2SO4 |
Средняя кумулятивная скорость получения (г/день) |
| S1 |
43 |
28,9 |
0,68 |
| S2 |
43 |
30,4 |
0,71 |
| S3 |
43 |
34,3 |
0,78 |
| S4 |
43 |
25,9 |
0,59 |
Пример 4
Испытывались семь серосодержащих материалов – увлажненная кусковая сера производства фирмы Devco Companies (S5), увлажненная кусковая сера фирмы H.J. Baker (S6), сера в форме лепешек от фирмы Shell Canada (S7), увлажненная кусковая сера от фирмы British Columbia Rail (S8), шлифованная кусковая сера от фирмы Gulf Midstream Services (S9), канадские серные сланцы (S10) и высокоочищенная порошкообразная сера от фирмы Fischer USP (S11).
S5-S10 испытывались в реакторах-перколяторах, состоявших из стеклянного градуированного цилиндра объемом 250 мл, в днище которого под углом 90 градусов была смонтирована газорассеивающая трубка с мелкими отверстиями, предназначенная для просеивания различных форм твердой серы. Такая конструкция обеспечивала минимальное механическое воздействие (усилие сдвига) на частицы серы. В цилиндр добавляли 50 г серы и 50 мл инокулята ацидофильных микроорганизмов. Воздух барботировался через цилиндр со скоростью 50 мл/мин. Спустя 90 часов раствор инокулята сливали и добавляли 100 мл раствора серной кислоты концентрацией 20 г/мл в дистиллированной воде и 15 мл раствора нутриентов, содержащего 1,5 ммол/л (NH4)2SO4, 22,0 ммол/л КН2PO4, 2,0 ммол/л MgSO4·7Н2O, 2,3 ммол/л CaCl2 и 0,03 ммол/л FeSO4·7Н2О. Воздух барботировали со скоростью 50 мл/мин, постоянный объем поддерживали за счет добавления дистиллированной воды.
Образец S11 испытывали путем добавления 10 г порошкообразной серы и 50 мл инокулята, содержащего тиобактерии, в колбу Эрленмейера объемом 250 мл. Суспензию перемешивали с помощью магнитной мешалки в течение 90 часов. Добавляли к суспензии 50 мл раствора серной кислоты концентрацией 20 г/л и 5 мл указанного выше раствора нутриентов. Для поддержания постоянного объема добавляли дистиллированную воду. Получены следующие результаты (см. таблицу 2):
Таблица 2
| Форма серы |
Количество дней |
Кумулятивное количество полученной Н2SO4 |
Средняя кумулятивная скорость получения (г/день) |
| S5 |
57 |
3,0 |
0,041 |
| S6 |
57 |
2,8 |
0,037 |
| S7 |
57 |
3,2 |
0,045 |
| S8 |
57 |
3,2 |
0,036 |
| S9 |
57 |
3,6 |
0,035 |
| S10 |
57 |
5,0 |
0,032 |
| S11 |
25 |
4,4 |
0,129 |
Спустя 57 дней концентрация полученной серной кислоты составляла в пределах от 35 до 50 г/л. Из каждого вышеописанного реактора-перколятора сливали 75 мл отработанного раствора и добавляли 75 мл вышеуказанного раствора нутриентов. Концентрация серной кислоты составляла 15 г/л. Вновь через реактор барботировался поток воздуха со скоростью от 50 до 100 мл/мин, постоянный объем поддерживался за счет добавления дистиллированной воды. Получены следующие результаты (см. таблицу 3):
Таблица 3
| Форма серы |
Количество дней |
Кумулятивное количество полученной H2SO4 |
Средняя кумулятивная скорость получения (г/день) |
| S5 |
20 |
3,4 |
0,175 |
| S6 |
20 |
3,8 |
0,196 |
| S7 |
20 |
4,1 |
0,207 |
| S8 |
20 |
3.5 |
0,175 |
| S9 |
20 |
3,0 |
0,154 |
| S10 |
13 |
2,5 |
0,191 |
Спустя 20 дней концентрация серной кислоты в реакторах-перколяторах достигала 40-50 г/л. Вновь сливали 75 мл отработанного раствора и заменяли его 75 мл дистиллированной воды. Конечная концентрация серной кислоты составила 15 г/л. Вновь барботировали поток воздуха через реактор со скоростью от 50 до 100 мл/мин, постоянный объем поддерживали за счет добавления дистиллированной воды. Получены следующие результаты (см. таблицу 4):
Таблица 4
| Форма серы |
Количество дней |
Кумулятивное количество полученной H2SO4 |
Средняя кумулятивная скорость получения (г/день) |
| S5 |
4 |
0,2 |
0,059 |
| S6 |
4 |
0,6 |
0,153 |
| S7 |
4 |
0,7 |
0,165 |
| S8 |
4 |
0,5 |
0,132 |
| S9 |
4 |
0,5 |
0,135 |
| S10 |
4 |
0,5 |
0,132 |
Пример 5
В качестве жидкой фазы, согласно заявленному способу, можно использовать питьевую или дистиллированную воду. Возможно альтернативное использование других жидкостей и производственной воды. Например, для выщелачивания меди из тела через последнюю пропускается аффинажный раствор. Отработанный обогащенный раствор по окончании процесса выщелачивания проходит затем обработку в экстракторах для извлечения меди растворителем. Оставшаяся жидкая фаза подкисляется серной кислотой и может повторно использоваться в качестве аффинажного раствора. Поскольку последний постоянно рециркулирует, то полученный раствор с растворенными минералами может содержать кальций, алюминий, магний, железо и медь.
Как указывалось ранее, 1,95 кг серы, нагретой до температуры выше температуры ее плавления, наносили сверху на субстрат в объеме 10,9 литров из BIOBALLS размером 2,54 см. Субстрат с серным покрытием помещали в цилиндр диаметром 12,7 см, снабженный ситом в днище для удержания субстрата. Цилиндр размещали над резервуаром, содержащим 4,0 литра дистиллированной воды, содержащей ацидофильные микроорганизмы и питательную среду 125. Среда 125 содержала химические вещества – (NH4)2SO4, MgSO4·H2О, CaCl2, КН2PO4 и FeSO4. Раствор циркулировал с помощью насоса со скоростью 2,16 литров в минуту. Раствор равномерно разбрызгивался сверху по всей поверхности субстрата из BIOBALLS с серным покрытием. Для поддержания в резервуаре постоянного объема 4,0 литра ежедневно добавлялась дистиллированная вода. Спустя три дня 2,0 литра первоначального инокулированного микроорганизмами раствора сливали и заменяли аффинажным раствором. Спустя 60 дней концентрация циркулирующего кислотного раствора возрастала до 50 граммов/литр. В этих условиях сливали соответствующее количество водного раствора и заменяли его таким же количеством дистиллированной воды для поддержания концентрации серной кислоты в среднем 50 граммов/литр. Спустя последующие 25 дней удаляли 1,75 литров раствора. Общая масса серной кислоты, полученной за указанное время, составила 35 граммов, в среднем 1,4 грамма в день.
Пример 6
В данном примере использовался уже описанный выше биореактор с орошаемым слоем, состоящий из цилиндра диаметром 5,1 см с перфорированной распределительной пластиной – в донной части (для удержания твердой серы) и в верхней части над слоем серы (для равномерного распределения водного раствора). Воздух вводили через смонтированную под углом 90 градусов газорассеивающую трубку, размещающуюся в цилиндре над распределительной пластиной. В верхнюю часть трубки добавляли 1,0 кг серы в форме лепешек. Серу инокулировали ацидофильными микроорганизмами путем контактирования ее в продолжение 24 часов с 600 мл водного раствора, содержащего указанные микроорганизмы. Отработанный раствор сливали из цилиндра в резервуар, объем его доводили до 1,0 литра за счет добавления 0,4 литра промышленного отработанного аффинажного раствора. Водный раствор циркулировал под давлением объемного насоса со скоростью 40 мл/мин. Скорость потока воздуха поддерживалась на уровне 40 мл/мин, постоянный объем поддерживался за счет добавления дистиллированной воды. За период 54 дня было получено 42 г серной кислоты или 0,8 граммов в день.
Пример 7
В данном примере заявленный способ испытывался на сере в форме неокисленного главного минерала. Образец вулканического туфа массой 200 граммов, содержащего 13% серы в главной породе, помещали в цилиндр диаметром 5 см, имеющий решетку в донной части, служащую для удержания руды. Цилиндр устанавливали над резервуаром, содержащим 0,80 литра дистиллированной воды, инокулированной ацидофильными микроорганизмами и содержащей питательную среду 125. В указанном растворе содержалось 0,49 г/л свободной кислоты. Раствор подавали с помощью насоса в верхнюю часть цилиндра со скоростью 16 мл в минуту, где он распылялся над поверхностью руды. Объем раствора в резервуаре поддерживали постоянным (0,80 литра) за счет ежедневного добавления воды. Спустя 29 дней содержание кислоты в резервуаре достигло 2,1 г/л. Спустя еще 11 дней сливали в среднем 0,32 литра раствора и получали 3,5 г серной кислоты.
Вышеприведенные примеры показывают, что серную кислоту, согласно заявленному способу, можно с успехом получать из самых различных серосодержащих материалов с использованием разных наполнителей и водных растворов.
Как указывалось выше, способ, а также устройство, согласно изобретению, для выщелачивания элементарной серы с получением серной кислоты представляет собой биопроцесс, не вызывающий загрязнения окружающей среды. В заявленном варианте его можно применять во всех частях земного шара с использованием минимального количества оборудования. Заявленный способ облегчает производство серной кислоты, удешевляет его, поскольку не требует дорогостоящего оборудования, и при правильном применении не загрязняет окружающую среду. Используемые в настоящее время технологии получения серной кислоты, основанные на сжигании элементарной серы и обработке отходящих газов, содержащих диоксид серы, пропусканием их через слой катализатора, создают угрозу загрязнения воздуха и требуют высоких капитальных затрат.
Таким образом, способ, составляющий предмет настоящего изобретения, обеспечивает производства серной кислоты с низкими затратами на рудниках и заводах, расположенных в отдаленных районах и в странах, где отсутствует инфраструктура, необходимая для обработки чрезвычайно опасной концентрированной серной кислоты. Для операций выщелачивания используются в большинстве случаев водные растворы серной кислоты, которые содержат менее 20 граммов/л серной кислоты. По современным технологиям получают высококонцентрированную серную кислоту, которую транспортируют к месту использования, где ее разбавляют водой для получения выщелачивающих растворов. Способ, согласно настоящему изобретению, позволяет получать водные растворы серной кислоты вблизи мест ее использования, устраняя тем самым опасность для здоровья персонала и загрязнения окружающей среды, какая имеет место при современных технологиях получения концентрированной серной кислоты. Пирит можно заменять элементарной серой, однако в этом случае может потребоваться дополнительная операция по удалению железа, если необходимо получить серную кислоту повышенной концентрации.
Следует иметь в виду, что вышеописанные примеры и варианты практической реализации способа приведены в чисто показательных целях и что возможны различные модификации и изменения способа в рамках заявленной формулы изобретения.
Формула изобретения
1. Устройство для производства серной кислоты, состоящее
по меньшей мере, из одного реактора, имеющего основание, при этом указанный реактор имеет придонный слой, смежный с указанным основанием и содержащий первый наполнитель, и реакционный слой над указанным придонным слоем, причем указанный реакционный слой содержит серное сырье, выбранное из группы, включающей элементарную серу, серосодержащие руды, сульфидсодержащие руды, серосодержащие минералы, сульфидсодержащие минералы и их комбинации и ацидофильные микроорганизмы;
аэратора, заходящего, по меньшей мере, частично в указанный придонный слой, при этом указанный аэратор вводит кислородсодержащий газ в указанный придонный слой таким образом, что указанный кислородсодержащий газ поднимается вверх и через указанный реакционный слой;
системы орошения, проходящей, по меньшей мере, частично над указанным реакционным слоем, при этом указанная система орошения вводит водный раствор в или на верхнюю поверхность указанного реакционного слоя таким образом, что указанный водный раствор стекает вниз вдоль и через указанный реакционный слой и в указанный придонный слой с получением водного раствора, содержащего серную кислоту;
приспособления для отведения указанного кислотного раствора из указанного реактора с получением отведенного кислотного раствора и приспособления для возврата первой порции указанного отведенного кислотного раствора в верхнюю часть указанного реакционного слоя.
2. Устройство по п.1, дополнительно содержащее концентратор кислоты, в который подается вторая порция указанного отведенного кислотного раствора и в котором повышается концентрация серной кислоты, содержащейся в указанном отведенном кислотном растворе.
3. Устройство по п.1, в котором указанный реакционный слой дополнительно содержит второй наполнитель.
4. Устройство по п.3, в котором указанный первый наполнитель и указанный второй наполнитель выбираются из группы, включающей измельченное стекло, стеклянные бусины, полимерные бусины, полимерную стружку и полимерные субстраты.
5. Устройство по п.3, в котором указанный первый наполнитель и указанный второй наполнитель выбираются из группы, включающей серосодержащие руды, сульфидсодержащие руды, серосодержащие минералы, сульфидсодержащие минералы и их комбинации.
6. Устройство по п.1, в котором указанная первая порция указанного отведенного кислотного раствора вводится в верхнюю часть указанного реакционного слоя с помощью указанной системы орошения.
7. Устройство по п.1, в котором указанный реакционный слой дополнительно содержит второй наполнитель и в котором указанный первый наполнитель и указанный второй наполнитель выбираются из группы, включающей измельченное стекло, стеклянные бусины, полимерные бусины, полимерную стружку и полимерные субстраты, в котором указанная первая порция указанного отводимого кислотного раствора вводится в верхнюю часть указанного реакционного слоя с помощью указанной системы орошения и которое содержит также концентратор кислоты, куда подается вторая порция указанного отводимого кислотного раствора, и в котором повышается концентрация серной кислоты, содержащейся в указанном отводимом кислотном растворе.
8. Устройство по п.1, в котором указанный реакционный слой дополнительно содержит второй наполнитель и в котором указанный первый наполнитель и указанный второй наполнитель выбираются из группы, включающей серосодержащие руды, сульфидсодержащие руды, серосодержащие минералы, сульфидсодержащие минералы и их комбинации, а также в котором указанная первая порция указанного отводимого кислотного раствора вводится в верхнюю часть указанного реакционного слоя с помощью указанной системы орошения и который содержит концентратор кислоты, куда подается вторая порция указанного отводимого кислотного раствора, и в котором повышается концентрация серной кислоты, содержащейся в указанном отводимом кислотном растворе.
9. Устройство по п.1, при этом указанное устройство состоит, по меньшей мере, из первого реактора и второго реактора и указанные реакторы соединены между собой последовательно таким образом, что указанная первая порция указанного отводимого кислотного раствора из указанного первого реактора вводится в верхнюю часть указанного реакционного слоя в указанном втором реакторе.
10. Устройство по п.9, в котором указанная первая порция указанного отводимого кислотного раствора вводится в верхнюю часть указанного реакционного слоя с помощью указанной системы орошения.
11. Устройство по п.10, дополнительно содержащее концентратор кислоты, в который подается вторая порция указанного отводимого кислотного раствора и в котором повышается концентрация серной кислоты, содержащейся в указанном отведенном кислотном растворе.
12. Устройство по п.11, в котором указанный реакционный слой дополнительно содержит второй наполнитель и в котором указанный первый наполнитель и указанный второй наполнитель выбираются из группы, включающей измельченное стекло, стеклянные бусины, полимерные бусины, полимерную стружку и полимерные субстраты.
13. Устройство по п.11, в котором указанный реакционный слой дополнительно содержит второй наполнитель и в котором указанный первый наполнитель и указанный второй наполнитель выбираются из группы, включающей серосодержащие руды, сульфидсодержащие руды, серосодержащие минералы, сульфидсодержащие минералы и их комбинации.
14. Способ производства серной кислоты, предусматривающий
контактирование водного раствора с серным сырьем в форме штабеля, при этом серное сырье выбирается из группы, включающей элементарную серу, серосодержащие руды, сульфидсодержащие руды, серосодержащие минералы, сульфидсодержащие минералы и их комбинации, а указанный штабель дополнительно содержит ацидофильные микроорганизмы;
насыщение (аэрирование) штабеля кислородсодержащим газом;
отведение жидкой фазы из указанного штабеля;
возврат первой порции указанной жидкой фазы в указанный штабель для последующего контактирования с указанным штабелем и использование второй порции указанной жидкой фазы в качестве кислотного продукта, причем способ выполняется с применением устройства, заявленного в п.1.
15. Способ по п.14, в котором указанное серное сырье представляет собой элементарную серу и имеет форму, выбранную из группы, включающую куски, лепешки, сланцы, пыль, порошки, кристаллы и их комбинации.
16. Способ по п.15, в котором указанный штабель содержит также наполнитель.
17. Способ по п.16, в котором указанный наполнитель выбирается из группы, включающей серосодержащие руды, сульфидсодержащие руды, серосодержащие минералы, сульфидсодержащие минералы и их комбинации.
18. Способ по п.17, в котором указанный наполнитель составляет от 25 до 75% от массы указанного штабеля.
19. Способ по п.17, в котором указанный наполнитель составляет от 30 до 60% от массы указанного штабеля.
20. Способ по п.17, в котором указанный наполнитель составляет от 40 до 50% от массы указанного штабеля.
21. Способ по п.16, в котором указанный наполнитель выбирается из группы, включающей измельченное стекло, стеклянные бусины, полимерные бусины, полимерную стружку и полимерные субстраты.
22. Способ по п.21, в котором указанное серное сырье агломерируется на наполнителе.
23. Способ по п.21, в котором это серное сырье наносится как покрытие на наполнитель.
24. Способ по п.14, который дополнительно предусматривает повышение концентрации серной кислоты в указанном кислотном продукте, по меньшей мере, за одну последующую дополнительную производственную стадию.
25. Способ по п.24, в котором указанная последующая дополнительная производственная стадия выбирается из группы, включающей метод обратного осмоса, мембранное разделение, фильтрацию, дистилляцию и криогенную технологию.
26. Способ по п.14, в котором указанный водный раствор вводится в указанный штабель со скоростью от 0,5 до 40,0 л/мин/м2.
27. Способ по п.26, в котором указанный водный раствор вводится в указанный штабель со скоростью от 2,0 до 21,0 л/мин/м2.
28. Способ по п.14, в котором контакт указанного водного раствора с указанным серным сырьем осуществляется путем орошения указанным раствором верхней поверхности указанного штабеля и стекания указанного водного раствора вниз вдоль и через указанный штабель.
29. Способ производства серной кислоты, предусматривающий
контактирование водного раствора с элементарной серой в форме штабеля, помещенного в реактор, путем орошения указанным водным раствором верхней поверхности указанного штабеля со скоростью от 2,0 до 21,0 л/мин/м2 и стекания указанного водного раствора вниз вдоль и через указанную элементарную серу, при этом указанная элементарная сера выбирается в форме кусков, лепешек, сланцев и их комбинаций, а указанный реактор дополнительно содержит ацидофильные микроорганизмы и наполнитель, причем указанный наполнитель составляет от 30 до 60% от массы содержимого реактора;
насыщение (аэрирование) штабеля кислородсодержащим газом;
возврат первой порции указанной жидкой фазы в указанный штабель для последующего контактирования с указанным штабелем;
использование второй порции указанной жидкой фазы в качестве кислотного продукта и повышение концентрации серной кислоты в указанном кислотном продукте, по меньшей мере, за одну дополнительную производственную стадию, выбранную из группы, включающей метод обратного осмоса, мембранное разделение, фильтрацию, дистилляцию и криогенную технологию.
30. Способ по п.29, в котором указанный наполнитель выбирается из группы, включающей серосодержащие руды, сульфидсодержащие руды, серосодержащие минералы, сульфидсодержащие минералы и их комбинации.
31. Способ по п.29, в котором указанная элементарная сера агломерируется на наполнителе.
32. Способ по п.30, в котором указанная элементарная сера наносится как покрытие на наполнитель.
РИСУНКИ
|
|