|
|
(21), (22) Заявка: 2003134982/11, 02.12.2003
(24) Дата начала отсчета срока действия патента:
02.12.2003
(43) Дата публикации заявки: 10.05.2005
(45) Опубликовано: 20.05.2006
(56) Список документов, цитированных в отчете о поиске:
Космодром. /Под ред. А.П.ВОЛЬСКОГО. М.: Воениздат, 1977. с.208-213. RU 2174657 С2, 10.10.2001. SU 699302 А1, 25.11.1979. US 4879877 А, 14.11.1989.
Адрес для переписки:
141070, Московская обл., г. Королев, ул. Ленина, 4а, ОАО РКК “Энергия” им. С.П. Королева, отдел промышленной собственности и инноватики
|
(72) Автор(ы):
Семенов Юрий Павлович (RU), Филин Вячеслав Михайлович (RU), Клиппа Владимир Петрович (RU), Веселов Виктор Николаевич (RU), Журавлев Владимир Иванович (RU), Негодяев Виктор Иванович (RU), Канаев Александр Иванович (RU), Рожков Михаил Викторович (RU)
(73) Патентообладатель(и):
Открытое акционерное общество “Ракетно-космическая корпорация “Энергия” им. С.П. Королева” (RU)
|
(54) СПОСОБ ОБЕСПЕЧЕНИЯ ТЕПЛОВОГО РЕЖИМА И ЧИСТОТЫ ГОЛОВНОГО БЛОКА В СОСТАВЕ РАКЕТЫ КОСМИЧЕСКОГО НАЗНАЧЕНИЯ И УСТРОЙСТВО ДЛЯ ОСУЩЕСТВЛЕНИЯ СПОСОБА
(57) Реферат:
Изобретения относятся к средствам, преимущественно наземным, управления параметрами окружающей среды изделий ракетно-космической техники. Предлагаемый способ включает подачу газового компонента в верхнюю часть головного блока (ГБ) и его выброс из нижней его части. При этом в ГБ создают избыточное давление. Предлагаемое устройство содержит побудитель расхода, подающий газовый компонент в ГБ, фильтр, очищающий поступающий на вход побудителя расхода газовый компонент, газоводы и термостатирующие элементы для поддержания теплового режима ГБ. В состав ГБ введен рассекатель потока газового компонента, соединенный газоводами с термостатирующими элементами. Рассекатель закреплен в верхней части головного обтекателя ГБ. В нижней части этого головного обтекателя выполнен люк сброса газового компонента. Техническим результатом изобретений является обеспечение повышенной чистоты ГБ и, одновременно, его теплового режима в составе ракеты-носителя до отвода башни обслуживания. 2 н.п. ф-лы, 1 ил.
Изобретение относится к ракетно-космической технике.
К современным космическим аппаратам (КА), головным обтекателям (ГО), разгонным блокам (РБ) и другим составным частям головных блоков (ГБ) ракет космического назначения (РКН) предъявляются высокие требования по обеспечению чистоты поверхностей этих узлов.
Это вызвано тем, что в составе КА применяются высокоточные электронные приборы, оптическая аппаратура, солнечные батареи и другие элементы, которые изготавливаются в условиях повышенных требований промышленной чистоты и требуют высокой надежности выполнения поставленных перед ними задач.
Поэтому к изготовлению, сборке, испытаниям и эксплуатации составных частей ГБ и самого ГБ предъявляются повышенные требования по обеспечению чистоты.
Известен способ обеспечения теплового режима ГБ РКН путем подачи воздуха в нижнюю часть ГБ с помощью передвижных средств, смонтированных на железнодорожной или автомобильной платформе, с выходом воздуха из верхней части ГБ и возвратом его на вход в ГБ, т.е. система работает по замкнутому циклу. Циркулируемый воздух очищается с помощью фильтров, установленных на входе подачи воздуха в устройство для обеспечения теплового режима ГБ.
Известны также устройства для обеспечения теплового режима ГБ с трактами подачи воздуха, в которые входят фильтры, вентиляторы, воздуховоды и другие элементы. Эти устройства работают как по разомкнутому циклу, так и по замкнутому циклу. В первом случае подаваемый воздух выбрасывается в атмосферу через один из люков ГО, во втором – вновь поступает в систему.
Известен способ обеспечения теплового режима ГБ РКН путем подачи атмосферного воздуха в нижнюю часть ГБ с помощью стационарных наземных средств и средств башни обслуживания РКН и выбросом воздуха в атмосферу в верхней части ГБ, т.е. система работает по разомкнутому циклу. Подаваемый воздух очищается с помощью фильтров, установленных на входе подачи воздуха в устройство для обеспечения теплового режима ГБ («Космодром», под общ. ред. проф. А.П.Вольского, Военное издательство МО СССР, 1977, стр.208-213).
За прототип предлагаемого изобретения приняты способ обеспечения теплового режима и устройство, работающее по разомкнутому циклу.
Недостатком прототипа является то, что:
– воздух, подаваемый в нижнюю часть ГБ и выбрасываемый в верхней части ГБ (состоит из РБ, адаптера КА, ГО и других элементов), может переносить загрязнения с узлов ГБ на КА;
– подаваемый воздух своим направленным действием на конструкцию может способствовать выдуванию частиц из материалов, применяемых в конструкции ГБ, например, из теплоизоляции;
– не предусмотрено создания избыточного давления внутри ГБ, которое должно препятствовать проникновению неочищенного атмосферного воздуха во внутреннюю полость ГБ через неплотности ГБ (в том числе морского воздуха в случае пуска РКН в морских условиях) во время старта, когда из-за работы маршевых двигателей РКН загрязнение окружающей атмосферы наиболее значительное;
– в целях обеспечения требуемой чистоты КА для него создают в ГБ замкнутый (капсулированный) объем, что приводит к значительным массовым затратам.
Задачей предложенного способа является обеспечение повышенного качества чистоты ГБ с одновременным обеспечением его теплового режима в составе РКН до отвода башни обслуживания.
Задача решается за счет того, что в способе, включающем подачу газового компонента в ГБ с последующим выбросом его из ГБ, с помощью устройства для обеспечения чистоты и теплового режима ГБ газовый компонент подают в верхнюю часть ГБ, выброс газового компонента производят из нижней части ГБ через люк сброса газового компонента, выполненного в нижней части головного блока, к торцу которого пристыкована ракета-носитель, при этом за счет обеспечения в ГБ избыточного давления исключается проникновение загрязненного атмосферного воздуха в ГБ при подготовке РКН к пуску до отвода башни обслуживания.
Задача решается за счет того, что в устройство для реализации способа обеспечения теплового режима и чистоты головного блока ракеты космического назначения, включающее фильтр, очищающий поступающий на вход побудителя расхода газовый компонент, побудитель расхода, подающий газовый компонент по газоводам в головной блок, газоводы, термостатирующие элементы устройства, обеспечивающие поддержание теплового режима головного блока, дополнительно введен рассекатель потока газового компонента, соединенный газоводами с термостатирующими элементами устройства и закрепленный на верхней части головного обтекателя, который введен в состав головного блока, а в нижней части головного обтекателя выполнен люк для выхода газового компонента.
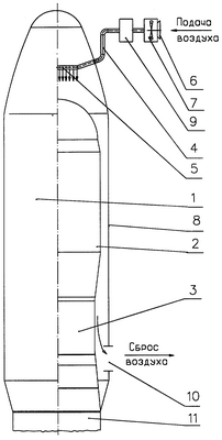
На чертеже схематично представлено устройство для обеспечения теплового режима и чистоты ГБ, где обозначено:
1 – головной блок;
2 – космический аппарат;
3 – разгонный блок;
4 – газоводы;
5 – рассекатель;
6 – фильтр;
7 – побудитель расхода;
8 – головной обтекатель;
9 – термостатирующие элементы устройства;
10 – люк сброса газового компонента;
11 – ракета-носитель.
В способе обеспечения теплового режима и чистоты головного блока 1 ракеты космического назначения, включающем подачу газового компонента в головной блок 1 с последующим выбросом его из головного блока 1, газовый компонент подают в верхнюю часть головного блока 1, выброс газового компонента производят из нижней части головного блока 1 через люк сброса газового компонента 10, выполненного в нижней части головного блока 1, к торцу которого пристыкована ракета-носитель 11, при этом за счет обеспечения в головном блоке 1 избыточного давления исключается проникновение загрязненного атмосферного воздуха в головной блок 1 при подготовке ракеты космического назначения к пуску до отвода башни обслуживания.
В устройство для реализации способа обеспечения теплового режима и чистоты головного блока 1 ракеты космического назначения, содержащее фильтр 6, очищающий поступающий на вход побудителя расхода 7 газовый компонент, побудитель расхода 7, подающий газовый компонент по газоводам 4 в головной блок 1, газоводы 4, термостатирующие элементы устройства 9, обеспечивающие поддержание теплового режима головного блока 1, дополнительно введен рассекатель 5 потока газового компонента, соединенный газоводами 4 с термостатирующими элементами устройства 9 и закрепленный на верхней части головного обтекателя 8, который введен в состав головного блока 1, а в нижней части головного обтекателя 8 выполнен люк сброса газового компонента 10.
Устройство для реализации способа обеспечения теплового режима и чистоты головного блока 1 ракеты космического назначения, содержащее фильтр 6, очищающий поступающий на вход побудителя расхода 7 газовый компонент, побудитель расхода 7, подающий газовый компонент по газоводам 4 в головной блок 1, газоводы 4, термостатирующие элементы устройства 9, обеспечивающие поддержание теплового режима головного блока 1, работает следующим образом.
С помощью побудителя расхода 7 в верхнюю часть ГБ 1 подают газовый компонент, очищенный фильтром 6 и с температурой, полученной с помощью термостатирующих элементов устройства 9 (например, электроподогревателей и охладителей). Газовый компонент поступает через рассекатель 5, обеспечивающий внутри ГБ 1 равномерное распределение потока, в полость ГБ 1, при этом за счет обеспечения в ГБ 1 избыточного давления исключается проникновение загрязненного атмосферного воздуха в ГБ 1 при подготовки РКН к пуску до отвода башни обслуживания и выбрасывается из нижней части ГО 8 через люк сброса газового компонента 10.
Рассекатель 5 предназначен для рассеивания потока газового компонента с тем, чтобы исключить направленное действие газового компонента на элементы конструкции космического аппарата 2 (например, теплоизоляция, оптические элементы, солнечные батареи и т.п.), расположенные в зоне действия потока газового компонента.
Рассекатель 5 потока газового компонента введен в состав ГБ 1, а газоводы 4, фильтр 6, побудитель расхода 7 и термостатирующие элементы устройства 9 используются на время обеспечения чистоты и теплового режима ГБ 1 при подготовке РКН к пуску до отвода башни обслуживания.
Введение нового способа и устройства для обеспечения теплового режима и чистоты ГБ 1:
– позволяет совместить обеспечение повышенного качества чистоты ГБ 1 с одновременным обеспечением теплового режима;
– позволяет дополнительно решать задачи пожаровзрывобезопасности, влагозащищенности и, в итоге, надежности выведения КА 2 при применении соответствующих инертных сухих газов;
– препятствует проникновению неочищенного атмосферного воздуха в ГБ 1;
– позволяет улучшить массовые характеристики ГБ 1 за счет отказа от конструкций, отделяющих КА 2 от остального пространства под ГО 8, что приводит к увеличению массы полезной нагрузки примерно на 5%;
– позволяет их использовать при отмене пуска, в этом случае башня обслуживания подводится к ракете, после чего к РКН подсоединяют коммуникации башни обслуживания, с помощью которых подают газовый компонент в верхнюю часть ГБ 1, создавая в полости ГБ 1 необходимый тепловой режим и избыточное давление, и сбрасывают газовый компонент из нижней части ГО 8 через люк сброса газового компонента 10.
Реализация предлагаемого изобретения возможна на существующих РКН типа «Союз», «Зенит-3SL» (морской старт), «Протон» и вновь разрабатываемых РКН.
Формула изобретения
1. Способ обеспечения теплового режима и чистоты головного блока в составе ракеты космического назначения, включающий подачу газового компонента в головной блок и последующий его выброс из головного блока, отличающийся тем, что газовый компонент подают в верхнюю часть головного блока, создают избыточное давление в головном блоке, а выброс газового компонента производят из нижней части головного блока через люк сброса газового компонента, выполненный в нижней части головного блока, к торцу которого пристыкована ракета-носитель.
2. Устройство обеспечения теплового режима и чистоты головного блока в составе ракеты космического назначения, содержащее побудитель расхода, подающий газовый компонент по газоводам в головной блок, фильтр очищающий, поступающий на вход побудителя расхода газовый компонент, газоводы и термостатирующие элементы, обеспечивающие поддержание теплового режима головного блока, отличающееся тем, что в состав устройства дополнительно введен рассекатель потока газового компонента, соединенный газоводами с указанными термостатирующими элементами и закрепленный на верхней части головного обтекателя, при этом рассекатель введен в состав головного блока, а в нижней части головного обтекателя данного блока выполнен люк сброса газового компонента.
РИСУНКИ
|
|