|
|
(21), (22) Заявка: 2003107047/12, 16.08.2001
(24) Дата начала отсчета срока действия патента:
16.08.2001
(30) Конвенционный приоритет:
16.08.2000 (пп.1-9) US 09/640,283
(43) Дата публикации заявки: 27.10.2004
(45) Опубликовано: 20.05.2006
(56) Список документов, цитированных в отчете о поиске:
EP 0914948 А, 12.05.1999. EP 0554907 А, 11.08.1993. EP 0963854 А, 15.12.1999. US 4490728 А, 25.12.1984. US 6012804 А, 11.01.2000.
(85) Дата перевода заявки PCT на национальную фазу:
17.03.2003
(86) Заявка PCT:
US 01/25911 (16.08.2001)
(87) Публикация PCT:
WO 02/14072 (21.02.2002)
Адрес для переписки:
129010, Москва, ул. Б.Спасская, 25, стр.3, ООО “Юридическая фирма Городисский и Партнеры”, пат.пов. С.А.Дорофееву
|
(72) Автор(ы):
ТОРГЕРСОН Джозеф М. (US), БЭККОМ Анджела У. (US), МАККЕНЗИ Марк Г. (US), ДОДД Саймон (US)
(73) Патентообладатель(и):
ХЬЮЛЕТТ-ПАККАРД КОМПАНИ (US)
|
(54) КОМПАКТНАЯ ВЫСОКОЭФФЕКТИВНАЯ СТРУЙНАЯ ПЕЧАТАЮЩАЯ ГОЛОВКА ВЫСОКОЙ ПЛОТНОСТИ
(57) Реферат:
Изобретение относится к термическим струйным печатающим головкам и, в частности, к системе и способу для высокоэффективной печати, имеющим многочисленные режимы работы, которые используют печатающую головку с одноцветной струёй чернил, имеющую шахматную компоновку генераторов чернильных капель. Изобретение обеспечивает высокоэффективную конструкцию, которая дает возможность печати с высокой разрешающей способностью и высокой скоростью, в то же время уменьшая её стоимость, благодаря эффективному использованию пространства головки. Печатающая головка включает несколько термоэффективных аспектов, которые позволяют разместить большое число формирователей капель чернил на компактной печатающей головке, в то же время минимизируя тепловые отклонения. В предпочтительном варианте осуществления изобретения плотность формирователей капель чернил на компактной печатающей головке превышает 10 формирователей капель чернил на квадратный миллиметр, и компактная печатающая головка содержит, по меньшей мере, 350 сопел. Формирователи капель чернил расположены, по меньшей мере, четырьмя параллельными рядами. Каждый ряд расположен в шахматном порядке (или сдвинут) относительно соседнего ряда для того, чтобы обеспечить больший эффективный шаг, чем расположение не в шахматном порядке. Формирователи капель чернил включают резисторы высокого сопротивления и тонкую пассивацию для того, чтобы увеличить тепловую эффективность. Дополнительно тепловое управление достигается с помощью выбрасывания капель чернил малого веса из термоэффективных формирователей капель чернил с высокой частотой выброса, которая превышает 12 кГц. 3 н. и 6 з.п. ф-лы, 14 ил.
Область изобретения
Настоящее изобретение относится к термоструйным (ТС) печатающим головкам и более конкретно к системе и способу для высокоэффективной печати, которые используют компактную монохромную печатающую головку, имеющую расположение в шахматном порядке с высокой плотностью формирователей капель чернил.
Термоструйные (ТС) принтеры популярны и широко используются в компьютерной области. Эти принтеры описаны в «Ink Jet Devices», W. J. Lloyd, H. T. Taub, Output Hardcopy Devices (Изд. R. C. Durbeck & S. Sherr, San Diego: Academic Press), часть 13, 1988 г., и в патентах США №4490728 и №4313684. Струйные принтеры создают высококачественную печать, являются компактными и портативными и печатают быстро и тихо, так как только чернила ударяют печатный носитель (такой как, бумага).
Струйный принтер создает отпечатанное изображение с помощью печати шаблона отдельных точек (или пиксел) в конкретных определенных местоположениях матрицы. Эти местоположения точек, которые удобно представляются как небольшие точки в прямоугольной матрице, определяются печатаемым рисунком. Таким образом, операция печати может быть представлена как заполнение шаблона местоположений точек точками чернил.
Струйные принтеры печатают точки с помощью выбрасывания небольшого объема чернил на печатный носитель. Устройство подачи чернил, такое как, резервуар чернил, подает чернила в формирователь капель чернил. Формирователи капель чернил управляются микропроцессором или другим контроллером и выбрасывают капли чернил в соответствующие моменты времени по команде микропроцессора. Синхронизация выбросов капель чернил обычно соответствует шаблону пиксел печатаемого изображения.
Обычно формирователи капель чернил выбрасывают капли чернил через отверстие (такое как, сопло) с помощью быстрого нагревания небольшого объема чернил, находящихся в камере испарения или выстреливания. Испарение капель чернил обычно выполняется с использованием электрического нагревателя, такого как, небольшой тонкопленочный (или выстреливающий) резистор. Выброс капли чернил выполняется с помощью прохождения электрического тока через выбранный выстреливающий резистор так, чтобы перегреть тонкий слой чернил, находящихся в выбранной камере выстреливания. Этот перегрев вызывает взрывное испарение тонкого слоя чернил и выброс капли чернил через связанное с ней сопло печатающей головки.
Выбросы капель чернил располагаются на печатном носителе с помощью перемещения узла каретки, который поддерживает узел печатающей головки, содержащий формирователи капель чернил. Узел каретки перемещается над поверхностью печатного носителя и устанавливает узел печатающей головки в зависимости от печатаемого рисунка. Узел каретки придает относительное взаимное перемещение узлу печатающей головки и печатному носителю вдоль «оси сканирования». Обычно ось сканирования находится в направлении, параллельном ширине печатного носителя, а одно «сканирование» узла каретки означает, что узел каретки перемещает узел печатающей головки один раз приблизительно поперек ширины печатного носителя. Между сканированиями печатный носитель обычно продвигается относительно печатающей головки вдоль «оси продвижения носителя (или бумаги)», которая перпендикулярна оси сканирования (и обычно проходит вдоль длины печатного носителя).
Когда узел печатающей головки перемещается вдоль оси сканирования, генерируется ряд прерывистых линий. Суперпозиция этих прерывистых линий создает вид в качестве текста или изображения отпечатанного изображения. Разрешающая способность печати вдоль оси продвижения носителя часто упоминается как плотность этих прерывистых линий вдоль оси продвижения носителя. Следовательно, чем выше плотность прерывистых линий по оси продвижения носителя, тем больше разрешающая способность печати вдоль этой оси.
Плотность прерывистых линий вдоль оси продвижения носителя (и, следовательно, разрешающая способность печати) может быть увеличена с помощью увеличения числа формирователей капель чернил на печатающей головке. Это приводит к лучшей разрешающей способности печати и увеличенной скорости печати. Кроме того, из-за нескольких факторов желательно увеличить число формирователей капель чернил без увеличения размера печатающей головки. Однако просто увеличение числа формирователей капель чернил в существующей печатающей головке значительно увеличивает количество тепла, рассеиваемого в печатающей головке во время операций печати. Это увеличенное рассеяние тепла может вызвать нежелательные тепловые отклонения печатающей головки. Эти большие тепловые отклонения в печатающей головке вредно влияют на работу печатающей головки и могут вызвать дефекты качества печати, тепловое отключение печатающей головки или даже повреждение всей печатающей головки.
Одним способом, который может быть использован для того, чтобы избежать больших тепловых отклонений, является способ уменьшения скорости печатающей головки. Однако этот способ сводит на нет положительный эффект обеспечения большего числа формирователей капель чернил в печатающей головке. Другим способом, который может быть использован для того, чтобы избежать больших тепловых отклонений, является способ увеличения размера печатающей головки. Однако основным недостатком этого способа является то, что увеличение размера печатающей головки увеличивает стоимость печатающей системы. Это неприемлемо, так как печатающие системы быстро уменьшаются в цене, а печатающие системы, имеющие дополнительную стоимость большей печатающей головки, не будут конкурентноспособными на рынке. Следовательно, требуется способ обеспечения компактной, с большим числом сопел и высокоэффективной печатающей головки, которая не испытывает вредных тепловых отклонений.
Сущность изобретения
Для того чтобы преодолеть ограничения предшествующего уровня техники, как описано выше, и для того чтобы преодолеть другие ограничения, которые станут понятными после прочтения и понимания настоящего описания, настоящее изобретение осуществлено в компактной монохромной струйной печатающей головке, имеющей высокую плотность формирователей капель чернил. Настоящее изобретение предоставляет высокоэффективную конструкцию, которая дает возможность печати с высокой разрешающей способностью и высокой скоростью, в то же время уменьшая стоимость, благодаря эффективному использованию пространства печатающей головки. В частности, компактная высокоэффективная печатающая головка согласно настоящему изобретению включает несколько аспектов улучшения эффективности, которые позволяют разместить большое число формирователей капель чернил на компактной печатающей головке, в то же время, минимизируя проблемы, такие как, тепловые отклонения.
Компактная монохромная струйная печатающая головка согласно настоящему изобретению дает возможность высокоэффективной печати, которая включает печать с высокой разрешающей способностью и с высокой скоростью. В частности, одним способом, используемым для того, чтобы увеличить разрешающую способность и скорость печати, является увеличение числа формирователей капель чернил, расположение их в шахматном порядке относительно групп других формирователей капель чернил и управление формирователями капель чернил с высокой частотой. Это расположение в шахматном порядке с высокой плотностью помогает увеличить эффективную разрешающую способность печатающей головки. Настоящее изобретение включает расположение в шахматном порядке с высокой плотностью формирователей капель чернил, расположенных на подложке компактной печатающей головки. Каждый формирователь капель чернил является тонкопленочной структурой, сформированной в подложке печатающей головки, которая жидкостным способом соединена с устройством подачи чернил и включает сопло. Чернила подаются в формирователи капель чернил и в соответствующий момент времени, нагреваются и выбрасываются из связанного с ними сопла.
В предпочтительном варианте осуществления изобретения плотность формирователей капель чернил на компактной печатающей головке превышает 10 формирователей капель чернил на квадратный миллиметр, и компактная печатающая головка содержит, по меньшей мере, 350 сопел. Формирователи капель чернил (и соответствующие сопла) расположены, по меньшей мере, тремя параллельными рядами. Каждый ряд расположен в шахматном порядке (или смещен) относительно соседнего ряда для того, чтобы обеспечить больший эффективный шаг, чем расположение не в шахматном порядке.
Настоящее изобретение также уменьшает затраты, связанные с печатающей головкой, имеющей высокую плотность формирователей капель чернил, с помощью размещения формирователей на компактной печатающей головке. Для того чтобы облегчить высокую плотность размещения формирователей капель чернил на компактной подложке, настоящее изобретение включает несколько способов для того, чтобы улучшить тепловую эффективность. Одним способом для улучшения тепловой эффективности является обеспечение термоэффективных формирователей капель чернил, имеющих тонкопленочную структуру, которая включает резисторы высокого сопротивления и тонкий слой пассивации.
Расположение с высокой плотностью формирователей капель чернил на компактной печатающей головке обеспечивает высокоэффективную печать в портативном и недорогом корпусе. Конкретно с помощью использования термоэффективных формирователей капель чернил и обеспечения исключительного теплового управления компактной печатающей головкой настоящее изобретение может обеспечить печать с высокой скоростью, высокой разрешающей способностью и с высоким качеством. Настоящее изобретение также включает в себя способ высокоэффективной печати, использующий компактную струйную печатающую головку настоящего изобретения.
Другие аспекты и преимущества настоящего изобретения, а также более полное понимание изобретения станут понятны из следующего подробного описания, взятого совместно с сопроводительными чертежами, иллюстрирующими в качестве примера принципы изобретения. Кроме того, подразумевается, что объем патентных притязаний изобретения ограничен с помощью формулы изобретения, а не предыдущим кратким изложением или следующим подробным описанием.
Краткое описание чертежей
Настоящее изобретение может быть дополнительно понято с помощью ссылки на следующее описание и приложенные чертежи, которые иллюстрируют предпочтительный вариант его осуществления. Другие признаки и преимущества будут понятны из следующего подробного описания предпочтительного варианта осуществления изобретения, взятого совместно с сопроводительными чертежами, которые иллюстрируют в качестве примера принципы настоящего изобретения.
Теперь ссылаемся на чертежи, на которых одинаковые ссылочные номера представляют соответствующие части на всех чертежах:
Фиг.1 – блок-схема всей печатающей системы, включающей настоящее изобретение.
Фиг.2 – взятая в качестве примера печатающая система, которая включает компактную высокоэффективную струйную печатающую головку высокой плотности согласно настоящему изобретению, которая изображена только с иллюстративной целью.
Фиг.3 – взятый в качестве примера узел каретки печатающей системы фиг.2, который поддерживает компактную высокоэффективную струйную печатающую головку высокой плотности согласно настоящему изобретению.
Фиг.4 – вид в изометрии узла печатающей головки согласно настоящему изобретению, который изображен только с иллюстративной целью.
Фиг.5А – вид в плане взятой в качестве примера печатающей головки согласно настоящему изобретению, иллюстрирующий расположение сопел.
Фиг.5В – вид в плане части печатающей головки фиг.5А с удаленным слоем отверстий, который иллюстрирует расположение в шахматном порядке формирователей капель чернил.
Фиг.5С – изометрический вид с вырывом печатающей головки фиг.5А, иллюстрирующий различные слои печатающей головки.
Фиг.6 – вид в плане взятой в качестве примера печатающей головки по фиг.5 с удаленным сопловым слоем печатающей головки и показывающий конфигурацию резисторов, которые находятся под соплами.
Фиг.7 – взятый в качестве примера вариант осуществления примитивной разводки питания для печатающей головки 500 по фиг.5А.
Фиг.8А – взятый в качестве примера вариант осуществления изобретения, иллюстрирующий один проводник соединения с землей для печатающей головки по фиг.5А.
Фиг.8В – взятый в качестве примера вариант осуществления изобретения, иллюстрирующий два проводника соединения с землей для печатающей головки по фиг.5А.
Фиг.9 – вид в изометрии с вырывом взятого в качестве примера формирователя капель чернил согласно настоящему изобретению.
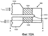
Фиг.10А – вид в плане выстреливающего резистора по фиг.9.
Фиг.10В – вид сбоку выстреливающего резистора по фиг.10А, иллюстрирующий тонкопленочную структуру выстреливающего резистора.
Подробное описание предпочтительных вариантов осуществления изобретения
В следующем описании изобретения ссылка делается на сопроводительные чертежи, которые образуют часть изобретения, и на которых изображен в качестве иллюстрации специфический пример, посредством которого может быть реализовано изобретение. Следует понимать, что другие варианты осуществления изобретения могут быть использованы и структурные изменения могут быть сделаны, не выходя за объем патентных притязаний настоящего изобретения.
I. Общий обзор
Настоящее изобретение осуществляется в компактной монохромной печатающей головке, имеющей высокую плотность расположенных в шахматном порядке формирователей капель чернил. Это расположение позволяет настоящему изобретению осуществлять печать с высокой разрешающей способностью и высокой скоростью. Для того, чтобы достичь оптимальной эффективности печатающей системы, важен ряд аспектов настоящего изобретения.
Один аспект настоящего изобретения касается использования печатающей головки с высокой разрешающей способностью, имеющей большое число сопел, которые работают с высокой частотой. Разрешающая способность печатающей головки (в противоположность разрешающей способности отпечатанного документа) измеряется в соответствии с числом сопел на линейный дюйм. Она измеряется в направлении, которое расположено по одной линии с осью продвижения носителя, и в случае сканирующих печатающих головок, поперек оси сканирования. Во взятом в качестве примера варианте осуществления изобретения печатающая головка согласно настоящему изобретению имеет размер матрицы сопел, равный одной трети дюйма, и объединенную разрешающую способность 1200 точек на дюйм (тнд), измеренную вдоль оси продвижения носителя. Кроме того, рабочая частота печатающей головки в этом варианте осуществления равна, по меньшей мере, 12 килогерц (кГц).
Печатающая головка согласно настоящему изобретению использует расположение в шахматном порядке формирователей капель чернил для того, чтобы увеличить качество печати, скорость и разрешающую способность. В частности, множество формирователей капель чернил расположено вдоль множественных осей и размещено так, чтобы сканировать поперек одной и той же части печатного носителя в направлении оси продвижения носителя. Каждое множество формирователей капель чернил вдоль оси (или групп оси) имеет центральные линии, а центральные линии всех групп оси параллельны оси продвижения носителя и разделены промежутками друг от друга в направлении, поперечном оси продвижения носителя. Сопла каждой группы оси расположены в шахматном порядке относительно других групп оси, так что, по меньшей мере, три группы оси имеют объединенную разрешающую способность (измеренную вдоль оси продвижения носителя), большую чем в два раза разрешающей способности одной группы оси. Расположение в шахматном порядке обеспечивает печать с более высокой разрешающей способностью при меньших проходах и обеспечивает высокую скорость печати при высокой разрешающей способности с помощью увеличения эффективной плотности сопел по оси продвижения носителя.
Во взятом в качестве примера варианте осуществления изобретения печатающая головка содержит четыре группы оси, имеющих центральные линии, которые взаимно параллельны и разделены промежутками друг от друга в направлении, поперечном центральным линиям. Каждая группа оси имеет шаг оси (или разрешающую способность) приблизительно 300 тнд. Расположение в шахматном порядке, согласно настоящему изобретению, обеспечивает эффективный шаг всех четырех объединенных групп оси, равный 1200 тнд (измеренный вдоль оси носителя). Предпочтительно, концы четырех групп оси расположены по одной линии в пределах 1/300-ой дюйма так, что эффективный шаг объединения всех четырех групп оси будет 1200 тнд от конца до конца для ряда, покрытого во время сканирования печати.
Другой аспект настоящего изобретения включает использование пространственно эффективного расположения большого числа сопел для того, чтобы минимизировать размер печатающей головки, и дать возможность использования печатающей головки в относительно недорогих печатающих системах. Это пространственно эффективное расположение включает подложку с высоким коэффициентом сжатия, имеющую две центральные прорези подачи чернил, которые имеют очень компактное расположение, и базисные элементы формирователей капель чернил, имеющие общие проводники земли. Еще один аспект настоящего изобретения включает энергетически эффективную конструкцию для формирователей капель чернил. С помощью использования резисторов относительно высокого сопротивления, которые имеют защитные слои относительно низкого теплового импеданса, количество тепловой энергии, передаваемой в подложку на формируемую каплю, минимизируется.
II. Структурный обзор
Фиг.1 – блок-схема всей печатающей системы, включающей настоящее изобретение. Печатающая система 100 может быть использована для печати на носителе, например, чернилами на печатном носителе 102 (который может быть бумагой). Печатающая система 100 соединена с основной системой (такой как, компьютер или микропроцессор) для создания данных печати. Печатающая система 100 включает контроллер 110, источник питания 120, устройство 125 перемещения печатного носителя, узел 130 каретки и множество переключающих устройств 135. Устройство 115 подачи чернил жидкостным способом соединено с узлом 150 печатающей головки для выборочной подачи чернил в узел 150 печатающей головки. Устройство 125 перемещения печатного носителя обеспечивает средство перемещения печатного носителя 102 (такого как, бумага) относительно печатающей системы 100. Аналогично узел 130 каретки поддерживает узел 150 печатающей головки и обеспечивает средство для перемещения узла 150 печатающей головки в конкретное местоположение над печатным носителем 102 по инструкциям контроллера 110.
Узел 150 печатающей головки включает компактную структуру 160 печатающей головки. Как описано подробно ниже, структура 160 печатающей головки согласно настоящему изобретению содержит множество различных слоев, включающих подложку (не изображена). Подложка печатающей головки может быть единой монолитной подложкой, которая изготовлена из любого подходящего материала, предпочтительно имеющего низкий коэффициент теплового отклонения, такого как, например, кремний. Структура 160 печатающей головки также включает расположение в шахматном порядке формирователей 165 капель чернил с высокой плотностью, сформированных в подложке печатающей головки. Расположение формирователей 165 капель чернил включает термоэффективную конструкцию, которая позволяет, чтобы большое число формирователей капель чернил было расположено на относительно компактной подложке печатающей головки без больших тепловых отклонений. Кроме того, каждое из расположений формирователей 165 капель чернил включает множество элементов для вызывания выбрасывания капель чернил из узла 150 печатающей головки. Компактная структура 160 печатающей головки также включает электрический интерфейс 170, который подает энергию в переключающие устройства 135, которые, в свою очередь, подают питание в расположение в шахматном порядке с высокой плотностью формирователей 165 капель чернил.
Во время работы печатающей системы 100 источник 120 питания подает управляемое напряжение в контроллер 110, устройство 125 перемещения печатного носителя, узел 130 каретки и узел 150 печатающей головки. Кроме того, контроллер 110 принимает данные печати из основной системы 105 и преобразует данные в информацию управления принтером и данные изображения. Обработанные данные, данные изображения и другие статически или динамически сгенерированные данные подаются в устройство 125 перемещения печатного носителя, узел 130 каретки и узел 150 печатающей головки для эффективного управления печатающей системой 100.
Взятая в качестве примера печатающая система
Фиг.2 – взятая в качестве примера печатающая система, которая включает в себя высокоэффективную струйную печатающую головку высокой плотности согласно настоящему изобретению, изображена только с иллюстративной целью. Как изображено на фиг.2, печатающая система 200 включает лоток 222 для хранения печатного носителя. Когда операция печати инициализируется, печатный носитель перемещается в печатающую систему 200 из лотка 222, предпочтительно с использованием устройства 226 подачи листов, в направлении оси 227 продвижения носителя. Печатный носитель затем перемещается в U-образном направлении внутри печатающей системы 200 и выходит в противоположном входу направлении к выходному лотку 228. Могут также использоваться другие маршруты носителя, такие как, прямой маршрут бумаги.
После входа в печатающую систему 200 печатный носитель делает паузу в зоне 230 печати, а узел 130 каретки, который поддерживает, по меньшей мере, один узел 150 печатающей головки согласно настоящему изобретению, затем перемещается (или сканируется) поперек печатного носителя в направлении оси 234 сканирования для печати на нем ряда капель чернил. Узел 150 печатающей головки может быть съемно установлен или постоянно установлен в узел 130 каретки. Кроме того, узел 150 печатающей головки соединен с устройством 115 подачи чернил. Устройство 115 подачи чернил может быть автономным устройством подачи чернил (таким как, автономный резервуар чернил). Альтернативно узел 150 печатающей головки может быть соединен жидкостным способом через гибкий канал с устройством 115 подачи чернил. В качестве дополнительной альтернативы устройство 115 подачи чернил может быть одним или более контейнеров чернил, отделенных или отделяемых от узла 150 печатающей головки, и съемно установленных в узел 130 каретки.
Фиг.3 иллюстрирует взятый в качестве примера узел каретки печатающей системы фиг.2, который поддерживает высокоэффективную струйную печатающую головку высокой плотности согласно настоящему изобретению. Узел 130 каретки включает сканирующую каретку 320, которая поддерживает узел 150 печатающей головки, который может быть съемно или постоянно установленным в сканирующую каретку 320. Контроллер 110 соединен со сканирующей кареткой 320 и подает управляющую информацию в узел 150 печатающей головки.
Сканирующая каретка 320 является перемещаемой вдоль направления прямого маршрута по оси 234 сканирования. Электродвигатель 350 каретки, такой как, шаговый электродвигатель, перемещает сканирующую каретку 320 вдоль оси 234 сканирования в соответствии с командами из контроллера 354 положения (который находится во взаимодействии с контроллером 110). Контроллер 354 положения снабжен памятью 358 для того, чтобы дать возможность контроллеру 354 положения знать свое положение вдоль оси 234 сканирования. Контроллер 354 положения соединен с электродвигателем 362 валика (таким как, шаговый электродвигатель), который перемещает печатный носитель 102 по шагам. Печатный носитель 102 перемещается с помощью давления, приложенного между печатным носителем 102 и валиком 370. Электропитание для запуска электрических компонентов печатающей системы 200 (таких как, электродвигатель 350 каретки и электродвигатель 362 валика), а также энергия для того, чтобы заставить узел печатающей головки 150 выбрасывать капли чернил, подается с помощью источника электропитания 120.
Обычно операция печати происходит при подаче печатного носителя 102 из лотка 222 и перемещении печатного носителя 102 в зону 230 печати с помощью вращения электродвигателя 362 валика и, следовательно, валика 370 по оси 227 продвижения носителя. Когда печатный носитель 102 размещен правильно в зоне 230 печати, электродвигатель 350 каретки размещает (или сканирует) сканирующую каретку 320 и узел 150 печатающей головки над печатным носителем 102 по оси 234 сканирования для печати. После одного сканирования или множественных сканирований печатный носитель 102 затем по шагам сдвигается с помощью электродвигателя 362 валика по оси 227 перемещения носителя, таким образом размещая другую область печатного носителя 1-2 в зоне 230 печати. Сканирующая каретка 320 снова сканирует поперек печатного носителя 102 для того, чтобы печатать другой ряд капель чернил. Процесс повторяется до тех пор, пока желаемые данные печати не будут напечатаны на печатном носителе 102, и в этот момент печатный носитель 102 выбрасывается в выходной лоток 228.
III. Архитектура печатающей головки
Компактная печатающая головка согласно настоящему изобретению включает расположение в шахматном порядке с высокой плотностью формирователей капель чернил, что обеспечивает печать с высокой разрешающей способностью с высокой скоростью. Расположение с высокой плотностью формирователей капель чернил имеет термоэффективную конструкцию для того, чтобы позволить расположить формирователи капель чернил с высокой плотностью на компактной подложке печатающей головки. В предпочтительном варианте осуществления изобретения компактная подложка печатающей головки имеет плотность формирователей капель чернил, превышающую приблизительно десять формирователей капель чернил на квадратный миллиметр. Кроме того, в предпочтительном варианте осуществления изобретения формирователи капель чернил расположены группами, по меньшей мере, вдоль четырех осей (каждая известна как группа оси), причем каждая группа оси имеет множество сопел. Множество сопел для каждой группы оси составляет приблизительно одну третью часть дюйма в длину, приводя приблизительно к двенадцати соплам на квадратный миллиметр. Термоэффективный формирователь капель чернил согласно настоящему изобретению является тонкопленочной структурой, которая включает термоэффективную структуру резистора, имеющую высокое сопротивление и тонкую поверхностную протравку.
Другим аспектом настоящего изобретения является наличие уменьшенного числа входных проводников в печатающую головку относительно числа формирователей капель чернил, расположенных на компактной подложке печатающей головки. В частности, формирователи капель чернил расположены группами, называемыми базисными элементами, и в настоящем изобретении число соединений земли из принтера меньше, чем число базисных элементов. В предпочтительном варианте осуществления изобретения имеется четыре соединения земли для шестнадцати базисных элементов. Кроме того, другим аспектом является наличие капель чернил, выбрасываемых при малом весе капли с большой частотой выброса. Например, в предпочтительном варианте осуществления изобретения капли чернил имеют вес капли чернил около 15 нанограммов, и выбрасываются с частотой выброса, большей чем 12 килогерц (кГц).
Фиг.4 – вид в изометрии узла печатающей головки согласно настоящему изобретению, который изображен только с иллюстративной целью. Подробное описание настоящего изобретения сопровождается ссылкой на типичный узел печатающей головки, используемый с типичной печатающей системой, такой как, принтер 200 фиг.2. Однако настоящее изобретение может быть включено в любую конфигурацию печатающей головки и принтера. Из фиг.1 и 2 вместе с фиг.4 видно, что узел 150 печатающей головки состоит из узла 402 термоструйной головки и корпуса 404 печатающей головки. Узел 402 термоструйной головки может быть гибким материалом, обычно упоминаемым как узел ленточного автоматического связующего вещества (ЛАСВ), и может содержать контактные площадки 412 межсоединений. Контактные площадки 412 межсоединений соответствующим образом прикреплены к узлу 150 печатающей головки (также называемой как печатающий картридж), например, с помощью клейкого вещества. Контактные площадки 408 расположены по одной линии с электродами электрических контактов (не изображены) на узле 130 каретки.
Высокоэффективное расположение сопел
Фиг.5А – вид в плане взятой в качестве примера печатающей головки согласно настоящему изобретению, иллюстрирующий расположение сопел. Следует заметить, что фиг.5А является упрощенной иллюстрацией. Например, число проиллюстрированных сопел значительно уменьшено из примерного или предполагаемого коммерческого варианта осуществления изобретения. Взятая в качестве примера печатающая головка 500 включает компактную подложку 510, имеющую в ней множество формирователей капель чернил, входные контактные площадки 515 и слой 520 отверстий. Слой 520 отверстий содержит множество сопел 530, соответствующих множеству формирователей капель чернил.
Во взятом в качестве примера варианте осуществления изобретения по фиг.5А печатающая головка имеет объединенную разрешающую способность сопел приблизительно 1200 точек на дюйм (тнд). Другими словами, объединенный (или эффективный) шаг печатающей головки равен 1/1200-ой дюйма, измеренный вдоль базовой оси L. Каждое сопло печатающей головки работает с рабочей частотой, которая может превышать 12 кГц.
Для того чтобы достичь высокой разрешающей способности печати, взятая в качестве примера печатающая головка согласно настоящему изобретению, как изображено на фиг.5А, имеет сопла, расположенные в четырех группах оси (изображенных как группы 1-4 на фиг.5А). Каждая группа оси имеет центральную линию (изображенные как пунктирные линии на фиг.5А), которая обычно параллельна центральным линиям других групп оси и базовой оси L. При работе базовая ось L расположена по одной линии с осью 227 продвижения носителя. Каждая группа оси имеет шаг Р оси, измеренный относительно базовой оси L. Сопла из каждой группы оси расположены в шахматном порядке относительно сопел других групп оси и относительно базовой оси L. Как изображено на фиг.5А, каждая группа оси имеет шаг оси Р, и эффективный шаг для объединения всех четырех групп оси равен Р/4 относительно базовой оси L (или одной четвертой от шага любой одной группы оси). Кроме того, группа 1 и группа 3 могут быть объединены так, чтобы обеспечить эффективный шаг Р/2. Аналогично группа 2 и группа 4 могут быть объединены так, чтобы обеспечить эффективный шаг Р/2. В этом взятом в качестве примера варианте осуществления изобретения шаг Р оси каждой группы оси равен 1/300-ой дюйма, но этот способ расположения в шахматном порядке трех или более групп оси для того, чтобы обеспечить увеличенную разрешающую способность, может быть применен к любому шагу оси. Несмотря на то, что сопла каждой группы оси проиллюстрированы как, по существу, коллинеарные, следует заметить, что некоторые из сопел группы оси могут быть немного смещены от центральной линии группы оси. Это может произойти, например, когда требуется компенсировать задержки выстреливания.
Фиг.5В изображает вид в плане части печатающей головки фиг.5А с удаленным слоем отверстий, иллюстрирующий расположение в шахматном порядке формирователей капель чернил. В частности, печатающая головка 500 включает формирователи 540 капель чернил, расположенные на компактной подложке 510 печатающей головки. Сопла 530 находятся над формирователями 540 капель чернил и расположены в группах оси, включая группу 1, группу 2, группу 3 и группу 4. Группы оси формирователей капель чернил разделены промежутками друг от друга поперек относительно базовой оси L. В предпочтительном варианте осуществления изобретения базовая ось L расположена по одной линии с осью 227 продвижения носителя. Одна группа оси формирователей капель чернил имеет определенную разрешающую способность оси, определенную как 1, деленная на шаг оси (1/Р) для одного прохода печатающей головки 500 над печатным носителем. Во взятом в качестве примера варианте осуществления изобретения разрешающая способность (1/Р) оси приблизительно равна 300 тнд. С помощью использования расположения в шахматном порядке групп оси эффективная разрешающая способность объединенных групп оси увеличивается приблизительно до 4/Р при работе со всеми четырьмя группами оси, и приблизительно до 2/Р при работе с выбранной подходящим образом парой из четырех групп оси.
Шаг (Р) оси конкретной группы оси равен расстоянию между центрами двух ближайших формирователей капель чернил, спроецированному или измеренному в соответствии с базовой осью L. В предпочтительном варианте осуществления изобретения Р приблизительно равен 1/300-ой дюйма. Группы 1, 2, 3 и 4 расположены в шахматном порядке относительно друг друга вдоль базовой оси L на Р/4 (или 1/1200-ую дюйма), если Р приблизительно равен 1/300-ой дюйма) для любых двух групп оси, которые являются ближайшими соседями. Как проиллюстрировано на фиг.5В, это обеспечивает объединенное расстояние между центрами (опять измеренное вдоль базовой оси L), равное Р/4 (1/1200-ой дюйма во взятом в качестве примера варианте осуществления изобретения). При этом расположении объединенное расстояние между центрами групп 1 и 3 (обозначенное как Р13) равно Р/2 или 1/600-ой дюйма. Объединенное расстояние между центрами групп 2 и 4 (обозначенное как Р24) также равно Р/2. Это расположение в шахматном порядке с высокой плотностью позволяет печатающей головке согласно настоящему изобретению обеспечить высокоэффективную печать в компактной конструкции печатающей головки.
Фиг.5С изометрический вид с вырывом печатающей головки 500 по фиг.5А, иллюстрирующий различные слои печатающей головки 500. Печатающая головка 500 включает компактную подложку 510 печатающей головки (например, кремний), и имеющую различные устройства и тонкопленочные слои, сформированные на ней. Печатающая головка 500 также включает слой 520 отверстий, расположенный на барьерном слое 550, который, в свою очередь, находится над подложкой 510. Подложка 510 включает формирователи капель чернил, которые расположены с высокой плотностью расположения в шахматном порядке, включающем первое множество формирователей 560 капель чернил в группе 1 и второе множество формирователей 565 капель чернил в группе 2, расположенные вокруг первой прорези 570 подачи чернил. В этом взятом в качестве примера варианте осуществления изобретения обеспечена вторая прорезь 572 подачи чернил, при этом группа 3 и группа 4 расположены вокруг второй прорези 572 подачи чернил. Сопла 530 сформированы в слое 520 отверстий и расположены так, что каждое сопло 530 имеет находящийся под ним формирователь капель чернил. Чернила подаются через первую прорезь 570 подачи чернил в формирователи капель чернил, где они нагреваются и выбрасываются через сопла 530.
Процесс ламинирования обычно используется для того, чтобы прикрепить слой 520 к барьерному слою 550. Несмотря на то, что фиг.5С изображает барьерный слой 550 и слой 520 отверстий, как являющиеся отдельными дискретными слоями, они могут быть также сформированы в альтернативном варианте осуществления изобретения как интегральный барьерный слой и слой отверстий. Камера 575 выстреливания ограничена как слоем 520 отверстий, так и барьерным слоем 550 вместе. Камера выстреливания 575 находится там, где чернила нагреваются с помощью резистора 560 до тех пор, пока капля не выбросится через сопло 530.
Компактная удлиненная подложка печатающей головки
Настоящее изобретение включает расположение с высокой плотностью формирователей капель чернил, расположенных на компактной подложке печатающей головки. Печатающая головка имеет удлиненную (с небольшой шириной) форму, и в предпочтительном варианте осуществления изобретения компактная подложка печатающей головки является прямоугольником, имеющим ширину приблизительно 3 миллиметра и длину приблизительно 12 миллиметров. На этой компактной подложке печатающей головки содержится, по меньшей мере, 350 сопел с предпочтительным числом 416 сопел. В предпочтительном варианте осуществления изобретения результатом является компактная печатающая головка, имеющая приблизительно 12 сопел на квадратный миллиметр.
Формирователи капель чернил, содержащиеся на подложке печатающей головки, выбрасывают чернила из сопел, которые расположены, по меньшей мере, четырьмя расположенными в шахматном порядке рядами, имеющими 104 сопла каждый, с каждым рядом сопел около 1/3 дюйма в длину. Четыре ряда сопел расположены парами вокруг двух удлиненных прорезей подачи чернил, причем каждая прорезь подачи чернил имеет ширину приблизительно 200 микрон. Предпочтительно каждая прорезь подачи чернил расположена приблизительно на 680 микрон от центра печатающей головки.
Фиг.6 – вид в плане взятой в качестве примера печатающей головки по фиг.5 с удаленным сопловым слоем печатающей головки, и открывающее структуру резисторов 580, которые находятся под соплами. Каждое сопло согласно настоящему изобретению имеет соответствующий и находящийся под ним управляемый резистор 580. Число резисторов, проиллюстрированных на фиг.6, уменьшено с целью упрощения иллюстрации.
Резисторы 580 расположены на очень компактной подложке 510 печатающей головки так, что плотность резисторов составляет, по меньшей мере, 10 резисторов на квадратный миллиметр подложки 510 печатающей головки. Это расположение с высокой плотностью дает возможность, чтобы стоимость печатающей головки была ниже, чем многих других печатающих головок, имеющих меньше сопел. Во взятом в качестве примера варианте осуществления изобретения имеется приблизительно 12 резисторов на квадратный миллиметр подложки 510 печатающей головки. Следует заметить, что площадь прорезей подачи чернил включена в вычисление плотности резисторов.
Подложка 510 печатающей головки, как изображено на фиг.6, имеет коэффициент удлинения формы с длиной подложки 510 обычно расположенной по одной линии с базовой осью L. В предпочтительном варианте осуществления изобретения, по меньшей мере, 350 формирователей капель чернил расположены на подложке 510, имеющей ширину приблизительно меньше, чем 3 миллиметра, и длину приблизительно меньше, чем 12 миллиметров. В предпочтительном варианте осуществления изобретения подложка 510 содержит 416 резисторов и имеет ширину приблизительно 2,9 миллиметров и длину приблизительно 11,5 миллиметров.
Подложка 510 печатающей головки имеет две удлиненных прорези подачи чернил, включая первую прорезь 570 подачи чернил и вторую прорезь 572 подачи чернил. Каждая из прорезей 570, 572 подачи чернил подает чернила из устройства подачи чернил в резисторы 580 в двух группах оси. Например, как изображено на фиг.6, первая прорезь 570 подачи чернил подает чернила в резисторы в группах 1 и 2, а вторая прорезь 572 подачи чернил подает чернила в резисторы в группах 3 и 4. Каждая из прорезей 570, 572 подачи чернил имеет центральную линию (изображена как пунктирная линия на фиг.6), которая обычно параллельна базовой оси L, и приблизительно разделяет каждую из прорезей 570, 572 подачи чернил на равные части вдоль их соответственных длин. Центральные линии прорезей 570, 572 подачи чернил разделены промежутками поперек друг от друга в направлении, приблизительно параллельном базовой оси L. Каждая из прорезей 570, 572 подачи чернил имеет два горизонтальных края, которые имеют по существу длину прорези. В частности, первая прорезь 570 подачи чернил включает первый примыкающий горизонтальный край 610, который размещает резисторы группы 1, и второй примыкающий край 620, который размещает резисторы группы 2. Аналогично вторая прорезь 572 подачи чернил включает третий горизонтальный край 630 и четвертый горизонтальный край 640, имеющие группы 3 и 4, примыкающие к соответствующим краям.
На противоположных концах длины подложки 510 печатающей головки находятся конечные части, имеющие входные контактные площадки 515, которые обеспечивают энергию для резисторов каждой группы оси. Переключающие схемы (такие как, множество транзисторов) соединяют сигналы, подаваемые из входных контактных площадок 515 в резисторы в группах осей. Этот способ помогает уменьшить ширину подложки 510 печатающей головки.
Каждый из резисторов 580 соединен с переключающей схемой (такой как, полевой транзистор (ПТ)), которая подает импульсы тока в резистор 580. Эти переключающие схемы обсуждены подробно ниже. Резисторы 580 вместе со своими соответственными переключающими схемами расположены группами, называемыми базисными элементами (как изображено на фиг.6 под номерами 1-16). Во взятом в качестве примера варианте осуществления изобретения, изображенном на фиг.6, каждая из групп осей разделяется на 4 базисных элемента. Предпочтительно, каждый из базисных элементов имеет 26 сопел, всего 104 сопла на группу оси. Несмотря на то, что с целью простоты фиг.6 изображает только четыре резистора (и соответствующие формирователи капель чернил) на базисный элемент, понимается, что большинство конструкций печатающих головок будет иметь тенденцию иметь больше, чем 10 резисторов (и формирователей капель чернил) на базисный элемент.
Малый вес капли чернил
Предпочтительно, расположение с высокой плотностью формирователей капель чернил использует капли чернил малого веса. Капля чернил малого веса меньше и обеспечивает печать более высокой разрешающей способности, чем достигается с помощью капель чернил более высокого веса. Использование капли чернил малого веса с матрицей высокой плотности формирователей капель чернил обеспечивает настоящее изобретение высокой разрешающей способностью печати при высокой скорости печати. В предпочтительном варианте осуществления настоящее изобретение использует черные капли чернил, которые весят приблизительно 15 нанограммов (нг) с предпочтительным диапазоном от 14 до 16 нг.
Высокая частота выброса
Обычно предпочтительный вариант осуществления настоящего изобретения управляет формирователями капель чернил с высокой частотой выброса для того, чтобы облегчить использование капель чернил малого веса и, тем не менее, поддерживать высокую скорость печати. Предпочтительно эта частота выброса находится в диапазоне килогерц (кГц). Эта высокая частота выброса, объединенная с матрицей высокой плотности формирователей капель чернил, обеспечивает высокоскоростную печать с высокой разрешающей способностью.
В предпочтительном варианте осуществления изобретения формирователи капель чернил согласно настоящему изобретению используют частоту выброса больше, чем 12 кГц. Предпочтительный частотный диапазон составляет приблизительно от 15 до 18 кГц, с 18 кГц в качестве предпочтительной величины.
Электрические схемы печатающей головки
Настоящее изобретение включает высокоэффективную, вдобавок экономичную печатающую головку, которая использует компактную конструкцию для того, чтобы уменьшить стоимость, и является термоэффективной так, чтобы позволить использовать высокоэффективную конструкцию на компактной подложке печатающей головки. В частности, термоэффективная конструкция печатающей головки дает возможность разместить формирователи капель чернил с высокой плотностью на компактной подложке печатающей головки, в то же время минимизируя тепловые отклонения. Один способ согласно настоящему изобретению дает возможность высокоэффективной, вдобавок компактной конструкции включать схемы печатающей головки. В частности, схемы печатающей головки сконструированы так, что требуется малая мощность для того, чтобы управлять каждым формирователем капель чернил, и создается минимум тепловой энергии.
Один способ включает обеспечение конкретного базисного элемента проводником питания базисного элемента (который подает питание в конкретный базисный элемент), который является отдельно питаемым от каждого из проводников питания базисных элементов для каждого из остальных базисных элементов. Таким образом, проводник питания конкретного базисного элемента соединен со всеми проводниками питания базисных элементов, связанных с каждой из переключающих схем в конкретном базисном элементе. В предпочтительном варианте осуществления изобретения, где переключающими схемами являются ПТ, выбранный проводник конкретного базисного элемента соединен с каждыми соединениями истока и стока для каждого ПТ в конкретном базисном элементе.
Другой способ согласно изобретению касается отдельно питаемых проводников затворов, причем каждый проводник затвора соединен с одним переключающим устройством каждого из множества базисных элементов. Число проводников затвора равно от 1 до N (где N – число резисторов в самом большом базисном элементе). В предпочтительном варианте осуществления изобретения каждый базисный элемент имеет 26 резисторов (N=26) и, следовательно, имеется 26 проводников затвора. Когда переключающими схемами являются ПТ, каждый ПТ в базисном элементе имеет один из проводников затвора, соединенный с его затвором. Когда конкретное переключающее устройство активизируется, импульс тока протекает из проводника питания базисного элемента через переключающую схему, через нагревательный резистор и обратно, через возвратный проводник, или проводник заземления. Для того чтобы активизировать конкретное переключающее устройство, проводник затвора и проводник питания базисного элемента, связанные с этим переключающим устройством, должны быть одновременно активизированы, или на них одновременно должно быть подано питание.
Во время операции печати проводники затвора активизируются в некоторый момент времени и последовательно. В результате только одно переключающее устройство в конкретном базисном элементе может быть активизировано в некоторый момент времени. Однако некоторыми или всеми базисными элементами можно управлять одновременно, так как каждый проводник затвора соединен с одним переключающим устройством множества базисных элементов. В предпочтительном варианте осуществления изобретения каждый базисный элемент имеет самое большее одно соединение затвора для каждого из 26 проводников затвора. Так как печатающая система совершает цикл через проводники затвора во время работы, можно управлять только одним формирователем капель чернил в некоторый момент времени в базисном элементе. Однако так как большинство проводников затвора совместно используются базисными элементами, множественные базисные элементы могут возбуждаться одновременно. В предпочтительном варианте осуществления изобретения имеются, по меньшей мере, три и предпочтительно четыре базисных элемента, которые накладываются по оси сканирования (то есть поперек оси бумаги и поперек оси L), которыми можно управлять одновременно. Это дает возможность более полной и высокой разрешающей способности охвата в одном сканировании.
Фиг.7 – взятый в качестве примера вариант осуществления разводки питания базисных элементов для печатающей головки 500, изображенной на фиг.5А. Для конкретного базисного элемента имеется проводник питания базисного элемента, который соединен на первом конце с соответствующей контактной площадкой базисного элемента, то есть с одной из входных контактных площадок 515 (изображенных как Р1-Р16 на фиг.7), и соединен вдоль края с переключающими устройствами, соответствующими этому проводнику питания конкретного базисного элемента. Например, как изображено на фиг.7, базисный элемент 12 имеет проводник 70 питания базисного элемента, соединенный на первом конце в качестве контактной площадки 710 базисного элемента 12 (на дальней правой стороне верхнего ряда входных контактных площадок 515), и вдоль края 720 соединен с переключающими устройствами базисного элемента 11 (не изображен). Во взятом в качестве примера варианте осуществления изобретения каждый проводник питания базисного элемента соединен либо с соединением истока, либо с соединением стока для каждого ПТ в этом базисном элементе. Эти контактные площадки (Р1-Р16) используются для ввода энергии, требуемой для подачи питания в каждый из базисных элементов на печатающей головке 500.
Фиг.8А и 8В иллюстрируют два варианта осуществления проводников соединения заземления печатающей головки 500 согласно настоящему изобретению. Как обсуждалось ранее, каждая из прорезей 570, 572 подачи чернил имеет два горизонтальных края. К каждому горизонтальному краю примыкает одна из четырех групп оси резисторов. Для того чтобы уменьшить число входных контактных площадок 515, более чем один базисный элемент совместно использует один и тот же проводник соединения с заземлением. В обоих вариантах осуществления изобретения по фиг.8А и 8В два конца каждой группы оси совместно соединены для того, чтобы уменьшить разность паразитного сопротивления проводника заземления между резисторами около центра компактной подложки 510 печатающей головки относительно концов подложки 510.
Фиг.8А – взятый в качестве примера вариант осуществления изобретения, иллюстрирующий один проводник соединения заземления для печатающей головки 500, изображенной на фиг.5А. В этом варианте осуществления изобретения один проводник 810 соединения заземления используется для того, чтобы соединить все 16 базисных элементов с землей. Таким образом, все 16 базисных элемента соединены одним проводником соединения заземления с землей. Альтернативно, фиг.8В является другим взятым в качестве примера вариантом осуществления изобретения, иллюстрирующим два проводника соединения заземления для печатающей головки 500, изображенной на фиг.5А. В этом конкретном варианте осуществления изобретения имеется первый проводник 820 соединения заземления и второй проводник 830 соединения заземления. Каждый из двух проводников 820, 830 соединения заземления соединяет все базисные элементы вокруг конкретной прорези подачи чернил с землей. Например, как изображено на фиг.8В, первый проводник 820 соединения заземления соединяет базисные элементы вокруг первой прорези 570 подачи чернил с землей, а второй проводник 830 соединения заземления соединяет базисные элементы, окружающие вторую прорезь 572 подачи чернил, с землей.
Термоэффективная тонкопленочная структура резистора
Каждый из формирователей капель чернил согласно настоящему изобретению является термоэффективным так, чтобы дать возможность упаковать формирователи капель чернил в компактную подложку печатающей головки с высокой плотностью. Для того чтобы достичь этой термоэффективности каждый формирователь капель чернил включает структуру тонкопленочного резистора, которая уменьшает мощность, требуемую для каждого резистора. В частности, настоящее изобретение использует резисторы высокого сопротивления для того, чтобы уменьшить мощность, требуемую для подачи питания в резистор, и тонкий слой пассивации для того, чтобы уменьшить входную мощность, рассеиваемую из-за паразитного рассеяния энергии. Обе структуры резистора облегчают использование высокочастотных пачек печати в печатающей системе с помощью уменьшения требований мощности печатающей головки и исключения большего увеличения тепловой энергии из-за увеличенного требования мощности. Иначе говоря, уменьшение требования мощности дает возможность использовать меньше мощности печатающей головкой, даже если имеется больше резисторов, таким образом, позволяя печатающей головке работать при более низкой температуре и уменьшая тепловые отклонения.
В частности, фиг.9 – вид в изометрии в разрезе взятого в качестве примера формирователя капель чернил согласно настоящему изобретению. Формирователь 540 капель чернил расположен на компактной подложке 510 печатающей головки и включает тонкопленочную структуру 580 резистора (изображенную более подробно на фиг.10А и фиг.10В). Над структурой 580 резистора расположен барьерный слой 550 и слой 520 отверстий, оба обсуждены дополнительно ниже. Верх тонкопленочной структуры 580 резистора и барьерный слой 550 и слой 520 отверстий образуют камеру выстреливания, где чернила испаряются с помощью структуры 580 резистора и выбрасываются через сопло (такое как, сопло 530). Предпочтительно, диаметр отверстия находится в пределах диапазона приблизительно от 10 до 20 микрон, с примерной величиной приблизительно 16 микрон. Каждый компонент и слой формирователя 540 капель чернил может быть сформирован отдельно или интегрально, и различные способы для формирования этих компонентов и слоев известны в данной области техники. Например, барьерный слой 550 и слой отверстий 520 могут быть приложены отдельно или сформированы интегрально, а затем приложены к находящейся внизу компактной подложке 510 печатающей головки.
Одним способом, используемым настоящим изобретением для того, чтобы уменьшить тепловые отклонения, является уменьшение мощности, требуемой для того, чтобы активизировать резистор 580 с помощью уменьшения сопротивления выстреливающих резисторов 580 так, чтобы отношение сопротивления соединительной трассы (или паразитное сопротивление) к полному сопротивлению уменьшалось. Это отношение сопротивления непосредственно связано с мощностью, рассеиваемой в соединительных трассах, и известно как «паразитные потери мощности». Каждый резистор 580 имеет соединительные трассы, которые соединяют резистор 580 с различными электрическими соединениями. В традиционных конструкциях сопротивление соединительных трасс может быть до одной трети или больше сопротивления выстреливающего резистора 580. Эти паразитные потери мощности могут вызвать рассеяние до одной трети входной энергии в соединительных трассах. Паразитные потери мощности становятся еще более значительными в настоящем изобретении, так как имеется высокая плотность резисторов (число резисторов на единицу площади компактной печатающей головки), и имеется меньше места для соединительных трасс и больше общие требования мощности.
Настоящее изобретение уменьшает паразитные потери мощности с помощью увеличения сопротивления каждого выстреливающего резистора 580, таким образом уменьшая мощность, рассеиваемую в соединительных трассах. Предпочтительно, сопротивление каждого выстреливающего резистора 580 равно, по меньшей мере, 70 Ом, с предпочтительной величиной выше 100 Ом. Более высокое сопротивление может быть достигнуто с помощью уменьшения толщины резистора 580 или с помощью использования материала резистора более высокого удельного сопротивления. Однако в предпочтительном варианте осуществления изобретения толщина резистора и удельное сопротивление материала резистора не изменены, а длина трассы резистора увеличена для того, чтобы получить более высокое сопротивление. Это достигнуто с помощью разделения корпуса резистора на множество сегментов, которые соединены последовательно с помощью соединительного устройства или проводящего соединения. Разделенный резистор увеличивает сопротивление выстреливающего резистора 580, так как сопротивление каждого сегмента добавляется к сопротивлению предыдущего сегмента в последовательном соединении. Увеличение сопротивления резистора также увеличивает полное сопротивление (в то же время сохраняя сопротивление соединительной трассы почти постоянным) и, таким образом уменьшает паразитные потери мощности (отношение сопротивления трассы к полному сопротивлению).
Фиг.10А – вид в плане выстреливающего резистора по фиг.9. В этом взятом в качестве примера осуществлении изобретения выстреливающий резистор 580 содержит первый сегмент 1004 и второй сегмент 1008, которые соединены последовательно с помощью соединительного устройства или проводника 1012. Входная контактная площадка 1016 для приема электрических сигналов расположена примыкающей к первому сегменту 1004, а выходная контактная площадка 1020 для передачи электрических сигналов расположена примыкающей ко второму сегменту 1008. В этом предпочтительном варианте осуществления изобретения устройство 1021 управления током используется для того, чтобы уменьшить сжатие тока (плотность тока), которое иначе происходило бы в соединительном устройстве 1012. Это устройство 1021 управления током прерывает прямой путь тока через соединительное устройство 1012. Во взятом в качестве примера варианте осуществления изобретения, изображенном на фиг.10А, устройство 1012 управления током является выемкой 1021, сформированной в соединительном устройстве 1012 между первым сегментом 1004 и вторым сегментом 1008.
В этом взятом в качестве примера варианте осуществления изобретения каждый сегмент 1004, 1008 равен приблизительно 24 микрона в длину и 13 микрон в ширину. Это обеспечивает всего приблизительно четыре квадрата, причем каждый квадрат имеет сопротивление около 29 Ом, приводя к полному сопротивлению 130 Ом (включая соединительные трассы). Предпочтительно, паразитное сопротивление находится приблизительно в диапазоне между приблизительно от 7 до 8 процентов, и настраивается для веса капли чернил приблизительно 5 нанограммов (нг). Альтернативно, сопротивление, по меньшей мере, 80 Ом привело бы к паразитному сопротивлению приблизительно 12 процентов. Ширина зазора 1022 между противоположным сегментом равна приблизительно 3 микрона.
Другим способом, используемым настоящим изобретением для того, чтобы улучшить тепловую эффективность, является уменьшение теплового сопротивления слоя пассивации (поверхностной протравки) в тонкопленочной структуре 580 резистора. Более тонкий слой пассивации означает, что меньше энергии требуется для возбуждения резистора. Это означает, что меньше энергии требуется рассеивать из формирователей капель чернил, и приводит к лучшей тепловой эффективности. Настоящее изобретение выполняет это с помощью уменьшения толщины слоя пассивации для того, чтобы позволить минимальному количеству энергии возбуждать резистор 580 и заставлять выбрасываться каплю чернил. Предпочтительно, при более тонком слое пассивации энергия меньше, чем 1,4 микроджоуля требуется для того, чтобы возбудить резистор 580, причем предпочтительный диапазон энергии находится приблизительно от 0,8 до 1,0 микроджоуля. На мощность, требуемую для того, чтобы возбудить резистор 580, также влияет отношение сопротивления трассы к полному сопротивлению (паразитные потери мощности), причем более низкие паразитные потери мощности обычно означают, что требуется меньшая мощность. Настоящее изобретение предпочтительно уменьшает тепловые отклонения на печатающей головке с помощью использования как низкого отношения сопротивления трассы к полному сопротивлению (или низкие паразитные потери мощности), так и более тонкий слой пассивации.
Фиг.10В – вид сбоку выстреливающего резистора по фиг.10А, изображающий тонкопленочную структуру выстреливающего резистора 580. Фиг.10В – разрез вдоль АА’ из резистора 580, изображенного на фиг.10А. В этом взятом в качестве примера варианте осуществления изобретения резисторный слой 1023 изготовлен из Ta Al и расположен над слоем PSG 1024 и FOX 1026, расположенными на компактной подложке 510 печатающей головки (предпочтительно изготовленной из кремния). В предпочтительном варианте осуществления изобретения резисторный слой 1023 составляет приблизительно 900 ангстрем по толщине. Наверху части резисторного слоя 1023 расположен проводящий слой 1032, состоящий из ALSiCu.
Резисторный слой 1023 защищен от разрушения с помощью первого слоя 1034 пассивации, состоящего из Si N, и второго слоя 1036 пассивации, состоящего из SiC. В предпочтительном варианте осуществления изобретения толщина первого слоя 1034 пассивации равна 2570 ангстрем, а толщина второго слоя 1036 пассивации равна 1280 ангстрем. Объединение первого слоя 1034 пассивации и второго слоя 1036 пассивации содержит полный слой пассивации. Предпочтительно, полный слой пассивации поддерживается толщиной меньше, чем приблизительно 5000 ангстрем, с предпочтительным диапазоном приблизительно от 3500 до 4500 ангстрем. При этой толщине слоя пассивации энергия, требуемая для того, чтобы возбудить резисторный слой 1023 равна меньше, чем 1,4 джоуля.
Над вторым слоем 1036 пассивации расположен кавитационный слой 1040, который защищает резисторный слой 1023 и слои 1034, 1036 пассивации от разрушения из-за кавитации и разрушения капель чернил. Предпочтительно кавитационный слой 1040 состоит из тантала (Та), имеющего толщину 3000 ангстрем. Барьерный слой 550 (предпочтительно приблизительно 14 микрон толщиной) и слой 520 отверстий (предпочтительно приблизительно 25 микрон толщиной) расположены сверху кавитационного слоя 1040. Кавитационный слой 1040, барьерный слой 550 и слой 520 отверстий создают камеру 575 выстреливания, где чернила испаряются с помощью резисторного слоя 1023 и выбрасываются из сопла 530, созданного в слое 520 отверстий.
Вышеприведенное описание предпочтительных вариантов осуществления изобретения представлено с целью иллюстрации и описания. Оно не должно считаться исчерпывающим или ограничивающим изобретение точной раскрытой формой. Многие модификации и изменения возможны в свете вышеприведенного описания. Предполагается, что объем патентных притязаний изобретения не ограничен этим подробным описанием изобретения, а вместо этого ограничен прилагаемой к описанию формулой изобретения.
Формула изобретения
1. Струйная печатающая головка (150), включающая устройство (115) для подачи чернил заданного цвета, содержащая подложку (160) печатающей головки и множество формирователей (165) капель чернил жидкостным способом соединенных с устройством (115) подачи чернил, и сформированных в подложке (160) печатающей головки с плотностью, большей чем приблизительно десять формирователей капель чернил на квадратный миллиметр подложки (160) печатающей головки, причем множество формирователей (165) капель чернил расположено, по меньшей мере, четырьмя расположенными в шахматном порядке группами осей вдоль осей, которые по существу параллельны и размещены на расстоянии поперек по отношению друг к другу, при этом каждый из множества формирователей (165) капель чернил включает структуру (580) тонкопленочного резистора, имеющую сопротивление, по меньшей мере, 70 Ом.
2. Головка (150) по п.1, в которой плотность формирователей капель чернил находится приблизительно между одиннадцатью и тринадцатью формирователей капель чернил на квадратный миллиметр подложки (160) печатающей головки.
3. Головка (150) по п.1, в которой множество формирователей (165) капель чернил, расположенных вдоль осей, размещено в шахматном порядке относительно каждой из осей для того, чтобы уменьшить эффективный шаг печатающей головки приблизительно до одной четвертой шага множества формирователей капель чернил, расположенных вдоль одной оси.
4. Компактная монохромная струйная печатающая головка (150), содержащая подложку (160) печатающей головки; по меньшей мере, триста пятьдесят формирователей (165) капель чернил, расположенных на подложке (160) печатающей головки и расположенных в компактной области, при этом каждый из множества формирователей (165) капель чернил включает структуру (580) тонкопленочного резистора, имеющую сопротивление, по меньшей мере, 70 Ом.
5. Головка по п.4, в которой компактная область имеет длину меньше, чем приблизительно двенадцать миллиметров, и ширину меньше, чем приблизительно три миллиметра.
6. Головка (150) по п.4, дополнительно содержащая
первое множество формирователей (560) капель чернил, расположенных вдоль первой оси с образованием группы первой оси;
второе множество формирователей (565) капель чернил, расположенных вдоль второй оси с образованием группы второй оси и расположенных в шахматном порядке относительно группы первой оси;
третье множество формирователей капель чернил, расположенных вдоль третьей оси с образованием группы третьей оси и расположенных в шахматном порядке относительно групп первой и второй оси;
в которой первая, вторая и третья оси взаимно параллельны и размещены на расстоянии поперек по отношению друг к другу.
7. Компактная монохромная струйная печатающая головка (150), содержащая
подложку (160) печатающей головки;
формирователи (165) капель чернил, расположенные на подложке (160) печатающей головки и расположенные в компактной области, причем формирователи (165) капель чернил дополнительно содержат
первое множество формирователей (560) капель чернил, расположенных вдоль первой оси с образованием группы первой оси;
второе множество формирователей (565) капель чернил, расположенных вдоль второй оси с образованием группы второй оси и расположенных в шахматном порядке относительно группы первой оси;
третье множество формирователей капель чернил, расположенных вдоль третьей оси с образованием группы третьей оси и расположенных в шахматном порядке относительно групп первой и второй оси;
в которой первая, вторая и третья оси взаимно параллельны и размещены на расстоянии поперек по отношению друг к другу, при этом каждый из множества формирователей (165) капель чернил включает структуру (580) тонкопленочного резистора, имеющую сопротивление, по меньшей мере, 70 Ом.
8. Головка (150) по п.7, в которой компактная область имеет длину меньше, чем приблизительно двенадцать миллиметров, и ширину меньше, чем приблизительно три миллиметра.
9. Головка (150) по п.7, содержащая, по меньшей мере, триста пятьдесят формирователей капель чернил, расположенных в компактной области.
РИСУНКИ
|
|