|
|
(21), (22) Заявка: 2004105941/14, 30.07.2002
(24) Дата начала отсчета срока действия патента:
30.07.2002
(30) Конвенционный приоритет:
31.07.2001 IT B02001A000497
(43) Дата публикации заявки: 27.03.2005
(45) Опубликовано: 20.05.2006
(56) Список документов, цитированных в отчете о поиске:
US 5344408 А, 06.09.1994. US 6203527 B1, 20.03.2001. RU 2169585 C2, 27.09.1998. WO 99/08742 A1, 25.02.1999. US 6210373 B1, 03.04.2001.
(85) Дата перевода заявки PCT на национальную фазу:
01.03.2004
(86) Заявка PCT:
EP 02/08534 (30.07.2002)
(87) Публикация PCT:
WO 03/011381 (13.02.2003)
Адрес для переписки:
103735, Москва, ул. Ильинка, 5/2, ООО “Союзпатент”, пат.пов. В.С.Ткаченко
|
(72) Автор(ы):
ВИЛЛА Данило (IT), МИНАРИ Эмануэле (IT)
(73) Патентообладатель(и):
ДЕЛЬТА МЕД С.Р.Л. (IT)
|
(54) ЗАЩИТНОЕ УСТРОЙСТВО ДЛЯ ИГЛЫ (ВАРИАНТЫ)
(57) Реферат:
Настоящее изобретение относится к области техники, связанной с производством медицинских и хирургических изделий, и касается защитного устройства для иглы. Защитное устройство содержит защитные средства, которые со скольжением взаимодействуют с иглой. Защитные средства представляют собой комбинацию, по меньшей мере, с одной стороны – средств обеспечения безопасности, а с другой стороны – блокировочных средств. Средства обеспечения безопасности имеют, по меньшей мере, одну деталь, которая по завершении перемещения иглы в обратном направлении сквозь защитные средства размещается перед кончиком иглы и предотвращает повторное пользование этой иглой. Блокировочные средства работают совместно со средствами обеспечения безопасности и в тот момент, когда защитное устройство переходит из нерабочего состояния в свое рабочее состояние, освобождают средства обеспечения безопасности, перемещающиеся при этом из блокированного положение в свое разблокированное положение. В другом варианте выполнения защитные средства представляют собой один или несколько предохранительных язычков, которые по завершении перемещения иглы в обратном направлении автоматически размещаются перед кончиком иглы, благодаря чему предотвращается возможность повторного пользования этой иглой. Указанные язычки до завершения целиком всего хода иглы при перемещении ее в обратном направлении остаются на расстоянии от иглы. В третьем варианте выполнения защитное устройство содержит кольцо-скребок, взаимодействующее с иглой, при этом указанное кольцо-скребок расположено внутри корпуса на расстоянии от задней стороны задней стенки упомянутого корпуса. Технический результат – уменьшение вероятности контакта с различными жидкостями, извлекаемыми из тела пациента; предотвращение возможности случайного укалывания; компактность; легкость использования; простота конструкции. 4 н. и 15 з.п. ф-лы, 13 ил.
Настоящее изобретение относится к области техники, связанной с производством медицинских и хирургических изделий, и касается защитного устройства для иглы.
Преимущественно, данное изобретение предназначается для использования его в сочетании с катетером, обеспечивающим введение просто иглы или же иглы с канюлей; однако, в общем, не исключена возможность использования его также и в сочетании с другими типами хирургических игл.
Более конкретно, изобретение касается защитного устройства, которое способно предотвращать случайное укалывание медицинского персонала или же получение им ранок во время пользования соответствующими иглами.
В случае пользования комплектом иглы с канюлей медицинский работник внедряет канюлю вместе с иглой, которая находится в этой канюле, прокалывая кожный покров пациента в непосредственной близости от соответствующей вены или артерии, а затем вводит этот комплект иглы с канюлей своим кончиком в упомянутую вену или артерию. Как только произойдет внедрение иглы, канюлю оставляют на своем месте в таком ее положении, в котором она частично входит внутрь вены, в то время как игла, которая уже выполнила свое назначение, должна быть сразу же извлечена оттуда медицинским работником в обратном направлении.
Момент выполнения именно этой операции, когда острый кончик извлеченной иглы продолжает оставаться открытым и тем самым представляет опасность, чреват высокой степенью риска для медицинского работника, который может при этом уколоться или получить ранку.
Последующая операция, во время которой осуществляется укладывание иглы обратно на свое место в защитном чехольчике, в равной степени представляет собой определенную опасность для медицинского работника, выполняющего эту операцию, как это показывают статистические данные, полученные в результате проведения многочисленных специализированных исследований.
Для того, чтобы избежать возникновения этой проблемы и гарантировать для медицинского персонала безопасность во время выполнения им своих служебных обязанностей, были разработаны различные виды защитных устройств, пригодных к применению их для защиты при пользовании иглами, снабженными канюлями.
Известны безопасные комплекты игл с канюлями, имеющие защитное устройство, обеспечивающее возможность перемещения иглы в обратном направлении внутрь соответствующего защитного элемента, который может представлять собой деталь, входящую в состав этого комплекта, благодаря чему удаление иглы может осуществляться либо посредством соответствующего воздействия на рычаг, который при этом проталкивает иглу непосредственно внутрь указанного защитного элемента, либо вручную, выполнив для этого соответствующие манипуляции при помощи наружной ручки, соединенной с иглой, которая может скользить вдоль осевой линии защитного элемента, благодаря чему обеспечивается возможность удаления собственно иглы.
Основной недостаток этих устройств, которые уже известны в данной профессиональной области, заключается в том, что защитный элемент имеет довольно значительный объем и занимает много места, в результате чего пользование такими иглами, снабженными канюлями, может стать для медицинского работника весьма трудоемкой и трудновыполнимой операцией, из-за чего эту известную систему следует считать малопрактичной и недостаточно универсальной.
Другой недостаток указанных защитных устройств, которые уже известны в данной профессиональной области, состоит не только в том, что они имеют довольно сложную конструкцию или, иными словами, содержат слишком большое количество деталей, но также и в том, что не исключена при этом полностью вероятность ненадлежащего их срабатывания, а производство каждой из деталей, входящих в состав этих устройств, а также последующее осуществление их сборки сопряжены со значительными производственными издержками.
Еще один недостаток заключается в том, что по сравнению с применением устройств, не имеющих какой-либо защиты, возникает необходимость в выполнении каких-то дополнительных операций, что связано с риском их непредумышленного невыполнения или же ненадлежащего их выполнения тем или иным медицинским работником.
В данной профессиональной области известны также защитные устройства для игл с канюлей, предусматривающие применение пары колец, связанных между собой гибкой проволокой. Первое кольцо крепится к основанию иглы, тогда как второе кольцо крепится к концу канюли и предназначается для того, чтобы соответствующим образом направить иглу при ее извлечении и закрыть при этом собой ее кончик. Этот механизм обеспечивает скольжение иглы, пропускаемой при ее извлечении сквозь осевой просвет второго кольца, и это движение ее продолжается вплоть до того момента, пока игла не остановится, как только натянется гибкая проволока, имеющая определенную длину. Благодаря этому игла приходит в такое положение, в котором кончик иглы утапливается внутрь одного из колец. Иглу, находящуюся в таком положении, когда кончик ее защищен этим кольцом, можно безопасно извлечь из канюли вместе со всем этим устройством, состоящим из двух колец и проволоки.
Основной недостаток этого устройства состоит в том, что эти два защитных кольца и, помимо того, еще и гибкая проволока представляют собой значительную помеху для беспрепятственного пользования такой иглой с канюлей, что может привести к значительному повышению трудоемкости выполнения соответствующих операций, затрудняя работу медицинского персонала, пользующегося таким оборудованием, и сокращая спектр функциональных возможностей для применения такой иглы с канюлей.
Известно защитное устройство для иглы, раскрытое в патенте US, A, 5344408, содержащее защитные средства, которые со скольжением взаимодействуют с иглой. Концы такого защитного средства всегда находятся в контакте со стержнем иглы в процессе обратного движения иглы, в результате чего кровь соскабливается со стержня иглы.
Недостаток этого, а также и всех остальных устройств, известных в данной области техники, заключается в том, что различные жидкости, извлекаемые из тела пациента, а иногда и лекарственные средства, которые могут оставаться на игле в виде капель или же в виде налипшей на нее клейкой массы, остаются доступными, и/или при этом все еще сохраняется значительная опасность того, что при сотрясениях капли этих жидкостей или лекарственных средств могут сорваться с концов такого защитного устройства и попасть на незащищенные участки кожного покрова или же в глаза медицинских работников или других лиц, находящихся поблизости, что связано с риском инфицирования их или заражения.
Основной целью настоящего изобретения является создание такого защитного устройства для игл, а более конкретно – для игл с канюлей, которое позволило бы в значительной мере уменьшить вероятность контакта с различными жидкостями, извлекаемыми из тела пациента, или же с лекарственными средствами, находящимися на игле, и которое предотвращало бы при этом возможность случайного укалывания или же получения ранок, причем все это обеспечивалось бы при помощи такого защитного устройства, которое было бы достаточно компактным, в результате чего им также можно было бы легко пользоваться, и при этом открывались бы весьма широкие возможности для его практического применения.
Другой целью настоящего изобретения является создание такого защитного устройства, которое является простым по своей конструкции и сборку которого легко осуществить, благодаря чему оно могло бы быть сравнительно недорогим.
Помимо того, данное защитное устройство должно обеспечивать максимальную защиту для медицинского работника в момент извлечения им иглы из канюли.
Для достижения указанных целей в соответствии с настоящим изобретением предлагается защитное устройство для иглы, а более конкретно – для катетера, обеспечивающего введение просто иглы или же так называемого комплекта иглы с канюлей, при этом указанное защитное устройство содержит защитные средства, которые со скольжением взаимодействуют с иглой, причем указанное защитное устройство отличается тем, что упомянутые защитные средства представляют собой комбинацию, по меньшей мере, с одной стороны – соответствующих средств обеспечения безопасности, имеющих, по меньшей мере, одну деталь, которая по завершении перемещения иглы в обратном направлении сквозь указанные защитные средства, размещается перед кончиком иглы и предотвращает повторное пользование этой иглой, а с другой стороны – соответствующих блокировочных средств, которые работают совместно со средствами обеспечения безопасности и которые в тот момент, когда защитное устройство переходит из нерабочего состояния в свое рабочее состояние, освобождают упомянутые средства обеспечения безопасности, перемещающиеся при этом из блокированного положение в свое разблокированное положение.
Тот факт, что в соответствии с настоящим изобретением предлагаемая комбинация включает в свой состав средства обеспечения безопасности в сочетании с блокировочными средствами, которые автоматически освобождают указанные средства обеспечения безопасности, которые переходят при этом из блокированного в свое разблокированное положение, и тем самым обеспечивает получение преимущества, заключающегося в том, что устройство функционирует весьма эффективно, как это поясняется в приведенном ниже подробном описании.
В соответствии с предпочтительным вариантом осуществления настоящего изобретения средства обеспечения безопасности и блокировочные средства выполнены таким образом, что по завершении перемещения иглы в обратном направлении средства обеспечения безопасности, а более конкретно – та их деталь или те детали, которые затем размещаются перед кончиком иглы, в течение всего времени перемещения иглы в обратном направлении продолжают оставаться на расстоянии от иглы. Иными словами, в течение всего хода иглы в обратном направлении не наблюдается возникновения какого-либо контакта между, с одной стороны, средствами обеспечения безопасности, а более конкретно – между упомянутым предохранительным язычком или предохранительными язычками и, с другой стороны, иглой. В результате этого средства обеспечения безопасности, а более конкретно – упомянутые язычки, ни в коем случае не будут способствовать продвижению налипших на иглу жидкостей по направлению к кончику иглы с последующим сбрасыванием их с кончика иглы. Таким образом, благодаря этому полностью предотвращается соскребание жидкостей с иглы и исключается возможность выбрасывания их наружу из защитного устройства.
В наиболее предпочтительном варианте осуществления настоящего изобретения упомянутые блокировочные средства выполняются с обеспечением возможности их смещения по отношению к средствам обеспечения безопасности, благодаря чему за счет соответствующего перемещения блокировочных средств осуществляется освобождение средств обеспечения безопасности с переходом их из блокированного положения в свое разблокированное положение, при этом упомянутые блокировочные средства взаимодействуют с иглой таким образом, что соответствующее смещение иглы и перемещение ее в обратном направлении приводит также к соответствующему перемещению блокировочных средств. Таким образом, при наличии в конструкции минимального количества деталей предлагаемое устройство может приводиться в действие автоматически всего лишь за счет перемещения иглы в обратном направлении.
В практическом варианте осуществления настоящего изобретения блокировочные средства, в сущности, представляют собой скользящее кольцо, насаженное на иглу и охватывающее ее.
В одном из вариантов игла прикреплена к втулке иглы, и указанная втулка содержит, по меньшей мере, одну деталь, которая в крайнем переднем положении приходит во взаимодействие с защитными средствами, в результате чего предотвращается возможность перемещения блокировочных средств.
Предпочтительно, чтобы вышеупомянутая деталь или детали выполнены были из эластичного материала, обеспечивающего возможность их изгиба, и представляли собой предохранительные язычки, благодаря чему эти детали автоматически выходили бы на путь движения иглы по завершении перемещения последней в обратном направлении. В этом случае блокировочные средства могли бы быть выполнены в виде соответствующего элемента, к примеру, такого как кольцо, которое в нерабочем состоянии предохранительного устройства удерживало бы упомянутые детали в стороне от пути движения иглы.
При этом предпочтительно, чтобы средство обеспечения безопасности представляло собой пару предохранительных язычков, которые, находясь по противоположные стороны от иглы, способны заходить на траекторию движения этой иглы.
Кроме того, предпочтительно также, чтобы предлагаемое устройство отличалось бы тем, что защитные средства и игла содержали бы соответствующие стопорные средства, действующие в качестве опорных средств и расположенные между защитными средствами и иглой, и которые определяют собой конечное положение, занимаемое иглой при перемещении ее в обратном направлении, благодаря чему игла уже не может выйти наружу из указанных защитных средств.
Желательно, чтобы стопорные средства, выполненные на игле, представляли собой кольцевую канавку либо кольцевой выступ или утолщение, которые располагаются на наружной поверхности иглы, при этом стопорные средства, расположенные на защитных средствах, были бы образованы упомянутыми блокировочными средствами, либо соответствующими деталями, взаимодействующими с упомянутыми блокировочными средствами.
Целесообразно, чтобы средства обеспечения безопасности и блокировочные средства были размещены внутри полого корпуса, причем в этом корпусе было бы предусмотрено наличие проходных отверстий для иглы.
Возможно, чтобы защитные средства были реализованы в виде детали, имеющей удлиненную форму и предназначенной для подсоединения ее к втулке катетера, при этом указанная деталь, имеющая удлиненную форму, должна быть снабжена соответствующими соединительными средствами, обеспечивающими разъемное соединение этой детали с втулкой катетера.
В соответствии с еще одним важным предпочтительным признаком настоящего изобретения защитное устройство снабжается скребковыми средствами, предназначенными для очистки досуха иглы от жидкостей в тот момент, когда само это устройство переходит из нерабочего состояния в свое рабочее состояние.
Эти скребковые средства могут быть образованы блокировочными средствами и/или закреплены на них.
Данные скребковые средства, которые в предпочтительном варианте своего выполнения представляют собой кольцеобразную деталь, например пластмассовое кольцо круглого поперечного сечения, которое насажено на иглу и охватывает ее, в значительной степени повышают безопасность, обеспечиваемую данным устройством, как это поясняется в приведенном ниже описании.
Помимо этого, предпочтительно также, чтобы упомянутые защитные средства снабжены были задней стенкой, имеющей заднюю сторону, при этом указанные скребковые средства в крайнем наружном своем положении должны оставаться расположенными на некотором расстоянии от задней стороны упомянутой задней стенки.
В этом отношении следует отметить, что жидкости, которые соскребаются или стираются с иглы, собираются впереди указанных скребковых средств. В конце концов, никогда не следует совсем исключать возможность того, что эти жидкости могут проникнуть между скребковыми средствами и поверхностью иглы за счет насосного эффекта, который может возникать в том случае, когда игла смещается в боковом направлении по отношению к скребковым средствам. В связи с возникновением этого насосного эффекта, некоторые жидкости могут попадать на заднюю сторону скребковых средств. Выдерживая некоторое расстояние между этой задней стороной и указанной задней стороной задней стенки, исключают возможность того, что медицинский работник, который выполняет соответствующие операции с помощью этого устройства, будет при этом иметь контакт с рассматриваемой жидкостью.
Очевидно, что тот факт, который состоит в том, что предохранительные язычки не соприкасаются с иглой в течение всего времени перемещения иглы в обратном направлении, также обеспечивает соответствующие преимущества и в других защитных устройствах для игл.
Поставленная цель достигается также и тем, что предлагается защитное устройство для иглы, а более конкретно – для катетера, обеспечивающего введение иглы, при этом указанное защитное устройство содержит защитные средства, которые со скольжением взаимодействуют с иглой, причем указанное защитное устройство отличается тем, что упомянутые защитные средства представляют собой один или несколько предохранительных язычков, которые по завершении перемещения иглы в обратном направлении автоматически размещаются перед кончиком иглы, тем самым предотвращая возможность повторного пользования этой иглой, при этом указанные язычки по завершении целиком всего хода иглы при перемещении ее в обратном направлении остаются на расстоянии от иглы.
Кроме того, вышеупомянутый признак, заключающийся в том, что предусматривается применение скребковых средств и, в частности, скребкового кольца, которое при любых условиях продолжает оставаться на некотором расстоянии от задней стороны задней стенки защитного устройства, может быть также использован и применительно к другим типам защитных устройств, для которых при этом отпадает необходимость в оснащении их соответствующими блокировочными средствами.
Кроме того, предлагается защитное устройство для иглы, а более конкретно – для катетера, обеспечивающего введение иглы, при этом указанное защитное устройство содержит корпус, который со скольжением взаимодействует с иглой таким образом, что игла может перемещаться в обратном направлении до такого своего положения, в котором кончик иглы располагается внутри упомянутого корпуса, причем указанное защитное устройство отличается тем, что оно содержит кольцо-скребок, которое взаимодействует с иглой, при этом указанное кольцо-скребок располагается внутри корпуса на некотором расстоянии от задней стороны задней стенки упомянутого корпуса.
Настоящее изобретение также относится к таким иглам и безопасным комплектам, состоящим из иглы и канюли, которые снабжаются защитным устройством, выполненным в соответствии с настоящим изобретением.
Другие признаки настоящего изобретения будут очевидны при рассмотрении приведенного здесь ниже подробного описания изобретения в сочетании с прилагаемой к нему формулой изобретения.
Для более полного пояснения признаков настоящего изобретения далее следует описание нескольких предпочтительных вариантов его осуществления, которые приводятся здесь только лишь в качестве отдельных примеров, не налагающих каких-либо ограничений, и рассматриваются со ссылками на прилагаемые чертежи, на которых:
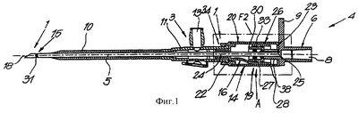
фиг.1 изображает вид сбоку в поперечном разрезе, показывающий комплект, состоящий из иглы и канюли, который снабжен защитным устройством, выполненным в соответствии с настоящим изобретением, причем упомянутое защитное устройство изображено в своем нерабочем состоянии;
фиг.2 – в увеличенном масштабе часть, которая обозначена позицией F2 на фигуре 1;
фиг.3 – ту же часть, что показана на фигуре 2, но в момент перемещения иглы в обратном направлении;
фиг.4 – вид сбоку в поперечном разрезе, аналогичный показанному на фигуре 1, но, однако, в тот момент, когда игла находится в отведенном назад положении, а защитное устройство находится в своем рабочем состоянии;
фиг.5 – увеличенное изображение части, которая обозначена позицией F5 на фигуре 4;
фиг.6 – вид сбоку в поперечном разрезе, аналогичный изображенному на фигуре 4, но, однако, уже после того, как игла вместе с защитным устройством будет отсоединена от канюли;
фиг.7 и 8 – альтернативный вариант осуществления настоящего изобретения, показанного в момент, когда защитное устройство находится соответственно в своем нерабочем и рабочем состояниях.
фиг.9 и 10 – другой альтернативный вариант осуществления настоящего изобретения, показанного в момент, когда защитное устройство находится соответственно в своем нерабочем и рабочем состояниях;
фиг.10 и 11 – еще один альтернативный вариант осуществления настоящего изобретения, показанного в момент, когда защитное устройство находится соответственно в своем нерабочем и рабочем состояниях;
фиг.13 – перспективный вид детали, которая на фиг.11 обозначена позицией F13.
Как показано на фиг.1-6, позицией 1, в общем, обозначено защитное устройство, предназначенное для комплекта 2, состоящего из иглы с канюлей, причем указанный комплект 2, состоящий из иглы с канюлей, образует совместно с канюлей 3 соответствующий сборочный комплект 4, включающий в свой состав иглу с канюлей.
Под комплектом 2, состоящим из иглы с канюлей, понимается комплект деталей, который включает в свой состав собственно иглу 5 и втулку 6 иглы, в которой закрепляется эта игла 5. При этом игла 5 входит внутрь канюли 3 и предпочтительно выполняется полой. Внутренний канал 7 сообщается с отверстием 8, выполненным во втулке 6 иглы, что позволяет осуществить, например, соединение его с так называемой промывной камерой, либо с каким-нибудь иным вспомогательным приспособлением. Как показано на прилагаемых иллюстрациях, втулка 6 иглы может быть также снабжена опорой 9.
Канюля 3 выполняется таким образом, что она имеет обычную конструкцию, содержащую, в основном, удлиненную полую переднюю часть 10, которая предназначается для частичного введения ее в вену пациента, и дополнительно включающую в свой состав заднюю часть 11, используемую в качестве втулки канюли, и в которой выполнено входное отверстие 12, предназначенное для введения сквозь него иглы 5 внутрь канюли 3. Кроме того, указанное входное отверстие 12 предназначается также для подсоединения его к трубке, чтобы обеспечить подачу через нее соответствующей жидкости или какого-нибудь аналогичного вещества по завершении перемещения иглы 5 в обратном направлении. Как показано на прилагаемых иллюстрациях, канюля 3 может быть снабжена одним или несколькими дополнительными входными отверстиями 13. Разумеется, канюля 3 может также использоваться и для введения внутрь других лекарственных веществ либо хирургических материалов или элементов, например, для введения катетера через вену, артерию или через аналогичный проток внутрь тела пациента.
Защитное устройство 1, по существу, состоит, с одной стороны, из защитных средств, в общем, обозначенных позицией 14, которые с обеспечением возможности их скольжения находят на иглу 5, и, с другой стороны, стопорных средств 15, служащих в качестве опорных средств и располагающихся между защитными средствами 14 и иглой 5, причем указанные опорные средства определяют собой конечное положение, занимаемое иглой 5 при перемещении ее в обратном направлении после прохождений сквозь указанные защитные средства 14.
Упомянутые защитные средства 14 содержат, с одной стороны, соответствующие средства 16 обеспечения безопасности, имеющие, по меньшей мере, одну деталь, в данном случае – предохранительный язычок 17, который по завершении перемещения иглы 5 в обратном направлении размещается перед кончиком 18 иглы 5 таким образом, чтобы предотвратить возможность повторного пользования этой иглой, а, с другой стороны, соответствующие блокировочные средства 19, которые взаимодействуют со средствами 16 обеспечения безопасности и которые в тот момент, когда защитное устройство переходит из нерабочего состояния А в свое рабочее состояние В, освобождают упомянутые средства 16 обеспечения безопасности, перемещающиеся при этом из блокированного положение в свое разблокированное положение, как это подробно поясняется в приведенном здесь ниже описании.
Как показано на прилагаемых иллюстрациях, средства 16 обеспечения безопасности и блокировочные средства 19 предпочтительно располагаются внутри полого тела или корпуса 20, имеющего боковую стенку 21 и две торцевые стенки 22 и 23, расположенные одна напротив другой, в которых предусматривается наличие проходного отверстия соответственно 24 и 25 для иглы 5.
Предохранительный язычок 17 представляет собой козырек, выполненный из эластичного материала, обеспечивающего возможность его изгиба, и который в данном случае сформирован за одно целое с торцевой стенкой 22, причем он имеет такую форму и размещен таким образом, чтобы, находясь в свободном своем положении, выступал на путь движения иглы 5, предпочтительно располагаясь при этом наклонно, как это показано на фиг.4-6.
Блокировочные средства 19 представляют собой элемент, который с обеспечением возможности его скольжения устанавливается в полом корпусе 20, причем указанный элемент в представленном здесь примере выполнен в виде кольца 26, состоящего из внутренней цилиндрической кольцевой части 27 и наружной цилиндрической кольцевой части 28, неподвижно соединенных одна с другой. Наружная цилиндрическая кольцевая часть с высокой точностью входит внутрь полого корпуса 20.
По своей форме кольцо 26 выполнено таким образом, что в нерабочем состоянии А защитного устройства 1, в котором игла 5 полностью входит внутрь канюли 3, кольцо 26 взаимодействует с предохранительным язычком 17 таким образом, чтобы последний, изгибаясь в наружную сторону, занимал при этом свое раскрытое положение S, в котором этот язычок 17 не препятствует движению иглы 5. Таким образом, как показано на фигурах 1 и 2, язычок 17 и кольцо 26, а более конкретно – его наружная кольцевая часть 28, слегка зацепляются друг за друга благодаря наличию выемки 29 на свободном конце язычка 17 и кольцевого выступа 30 на переднем наружном конце упомянутой кольцевой части 28.
Вышеупомянутые стопорные средства 15 состоят из опорных элементов, которые предусматриваются соответственно на игле 5 и на защитных средствах 14. В варианте осуществления настоящего изобретения, представленном на фиг.1-6, эти опорные элементы образованы кольцевой канавкой 31, расположенной в непосредственной близости от кончика иглы 5, и соответствующими удерживающими средствами, представляющими собой пластинки или ребра 32, направленные в сторону осевой линии кольца 26 и расположенные с наклоном в сторону, противоположную по отношению к направлению, в котором извлекается игла 5.
Помимо этого, защитное устройство 1 снабжается скребковыми средствами 33, предназначенными для очистки насухо иглы 5, пропускаемой со скольжением сквозь эти средства, в результате чего она освобождается от крови или других жидкостей, извлекаемых из тела пациента. Эти скребковые средства 33 представляют собой кольцо, мембрану или диск, имеющие центральное отверстие, либо какие-нибудь иные детали, подобные этим, и которые с определенным натягом насаживаются на иглу 5, причем упомянутые кольцо, мембрана или диск предпочтительно изготавливаются из гибкого синтетического материала. А более конкретно – эти средства выполняются в виде кольца, имеющего круглое поперечное сечение.
Защитные средства 14, а более конкретно – корпус 20, выполняются в виде единой детали, имеющей удлиненную форму, которую можно будет подсоединять к втулке катетера. С этой целью корпус снабжается соответствующими соединительными средствами 34, расположенными на его торцевой стенке 22, что позволяет обеспечить разъемное соединение корпуса с упомянутой втулкой катетера, которое предпочтительно осуществляется при помощи защелкивающегося соединения. С этой целью в представленном здесь варианте осуществления настоящего изобретения, упомянутые соединительные средства 34 представляет собой ребра 35, выполненные из эластичного материала, обеспечивающего возможность их изгиба, и имеющие соответствующие запорные части 36, которые могут взаимодействовать с кольцевым выступом 37, предусмотренным на задней кромке задней части канюли 3.
Как показано на прилагаемых иллюстрациях, втулка иглы предпочтительно содержит, по меньшей мере, одну деталь 38, которая в крайнем переднем положении иглы 5 входит во взаимодействие с защитными средствами 14, в результате чего предотвращается возможность такого перемещения блокировочных средств 14, при котором происходит переключение предлагаемого защитного устройства из нерабочего состояния А в рабочее его состояние В. Это обеспечивается благодаря тому, что указанная деталь 38 проникает сквозь отверстие 25 внутрь полого корпуса 20, в результате чего возникает препятствие для свободного перемещения блокировочных средств 14. А более конкретно, как показано на фиг.2, упомянутое переключение предотвращается за счет того, что своим свободным концом деталь 38 приходит в контакт с упомянутой внутренней кольцевой частью 27 и/или с упомянутыми ребрами 35.
Ниже, по существу, следует описание принципа действия предлагаемого защитного устройства 1.
Как только игла 5 и канюля 3 будут введены в вену или артерию пациента, иглу 5 выдвигают в обратном направлении из канюли 3, в результате чего происходит автоматическое срабатывание защитных средств 14 и переключение их из нерабочего состояния А в рабочее состояние В.
Вначале в нерабочем состоянии А деталь 38 находится в контакте с внутренней кольцевой частью 27, в результате чего предотвращается перемещение блокировочных средств 14, благодаря чему предохранительный язычок 17 удерживается в положении, показанном на фиг.1 и 2.
При перемещении иглы 5 в обратном направлении эта игла сначала свободно проскальзывает сквозь защитные средства 14. Начиная с того момента, когда кольцевая канавка 31 выходит на уровень расположения ребер 32 по высоте, эти ребра за счет своей эластичности проникают в кольцевую канавку 31, в результате чего игла 5 уже не может дальше продолжать свое дальнейшее движение, при котором она проскальзывает сквозь кольцо 26. Вследствие этого кольцо 26 начинает перемещаться вместе с иглой 5, в результате чего кольцо 26, или, иными словами, блокировочные средства 19 освобождают язычок 17, который при этом, распрямляясь, занимает положение между проходным отверстием 24 и кончиком 18 иглы 5, соответствующее освобожденному его состоянию R.
При дальнейшем перемещении иглы в обратном направлении кольцо 26 придет в контакт с торцевой стенкой 23, как показано на фиг.5, вследствие чего предотвращается какое-либо дальнейшее перемещение иглы 5, сопровождающееся извлечением ее из защитных средств 14. После этого можно уже будет осуществить разъединение этого состоящего из канюли и иглы комплекта 2, отсоединив иглу от канюли 3 с помощью разъемных соединительных средств 34.
Таким образом, когда устройство находится в рабочем состоянии В, кончик 18 иглы 5 не сможет выйти наружу из защитных средств 14, потому что он блокирован в направлении отверстия 25 за счет срабатывания стопорных средств 15, а в противоположном направлении – язычком 17, который входит в промежуток между кончиком иглы 18 и отверстием 24.
Защитные средства 14 предпочтительно выполняются таким образом, чтобы исключен был всякий контакт между предохранительным язычком 17 и иглой 5 в течение всего времени перемещения иглы 5 в обратном направлении. Таким образом, исключается вероятность того, что предохранительный язычок 17 будет использоваться в качестве скребкового элемента, очищающего иглу 5, а также того, что в момент освобождения язычка 17 произойдет выбрасывание крови или других жидкостей через проходное отверстие 24, а возможно, также и загрязнение этого отверстия. При нормальной эксплуатации, в той конструкции, которая показана на фиг.1-6, не будет возникать какого-либо контакта между язычком 17 и кончиком 18 иглы в тот момент, когда язычок 17 отгибается, занимая при этом свободное свое положение. Однако, для того чтобы полностью исключить всякий контакт между ними, можно дополнительно укоротить кончик 18, как это показано штрихпунктирной линией 39 на фиг.3.
Геометрическая форма и наклон ребер 32 обеспечивают возможность пропускания иглы 5 по направлению к канюле 3 во время стадии составления сборочного комплекта 4, состоящего из иглы и канюли. Кроме того, блокировочные средства 19 обеспечивают также и то преимущество, что при составлении указанного сборочного комплекта можно с помощью указанных блокировочных средств 19 продолжать удерживать язычок 17 в невыпрямленном его состоянии, обеспечивая тем самым свободное прохождение иглы 5 внутрь защитных средств 14.
При переходе устройства из нерабочего состояния А в рабочее состояние В игла 5 проскальзывает сквозь скребковые средства 33, которые протирают ее досуха, удаляя с нее жидкости, которые налипли на эту иглу 5, благодаря чему эти жидкости продолжают оставаться внутри полого корпуса 20. Таким образом, хотя стержень иглы 5 теперь уже больше не стерилен, тем не менее, при этом обеспечивается значительное уменьшение количества налипших на него инфекционных и токсичных продуктов, остающихся на игле 5, благодаря чему уменьшается риск заражения или отравления для всякого, кто может дотронуться до стержня иглы 5 голыми руками. Кроме того, хотя полый корпус 20 и не является полностью закрытым, тем не менее, жидкости, собираемые в нем при помощи скребковых средств 33, удерживаются внутри него практически полностью даже в том случае, если игла 5 будет подвергаться воздействию ударов или вибраций.
В варианте осуществления настоящего изобретения, представленном на фиг.1-6, соединительные средства 34 и торцевая стенка 22 выполнены вместе друг с другом в виде одной единой детали, которая служит в качестве крышки, соединяемой с боковой стенкой 21 тем или иным способом.
В соответствии с еще одним вариантом своего выполнения указанные соединительные средства 34 могут быть также сформированы в виде одной цельной детали вместе с полым корпусом 20.
На фиг.7 и 8 представлен второй вариант осуществления настоящего изобретения, в котором защитное устройство 1 содержит средства 16 обеспечения безопасности, представляющие собой пару расположенных один напротив другого предохранительных язычков 40 и 41, выполненных из эластичного материала, обеспечивающего возможность их изгиба, которые обращены один навстречу другому и закреплены каждый на торцевой стенке 23. Язычки 40 и 41 имеют разную длину и выполнены таким образом, что каждый из них состоит из упруго изгибаемой первой части 42, которая располагается, по существу, в продольном направлении по длине устройства, и второй части 43, которая находится на периферическом конце этой первой части 42 и располагается в поперечном или в близком к поперечному направлении по отношению к первой части 42. Предохранительные язычки 40 и 41 выполнены таким образом, что за счет свой упругости они постоянно стремятся занять положение, в котором вторая часть 43 каждого из них будет находиться на пути движения иглы 5.
Торцевая стенка 23 выполнена в виде фланца. Этот фланец вместе с язычками 40 и 41 образует одну цельную вставную деталь, которая с помощью защелкивающегося соединения 44 крепится в полом корпусе 20.
В этом варианте осуществления настоящего изобретения блокировочные средства 19 представляют собой кольцо 45, которое располагается вокруг иглы 5, находясь при этом между язычками 40 и 41, благодаря чему эти язычки 40 и 41 могут при помощи упомянутого кольца 45 удерживаться в раскрытом состоянии S, как показано на фиг.7.
Аналогично тому, как это показано на фиг.1-6, кольцо 45 снабжается ребрами 32.
Следует отметить, что в конструкции, показанной на фиг.7, геометрические размеры выбраны таким образом, чтобы язычки находились в контакте с кольцом 45, а также в контакте с иглой 5. Таким образом, язычки 40 и 41 при этом только лишь слегка соприкасаются с иглой 5, благодаря чему в течение всего времени перемещения иглы 5 в обратном направлении не возникает каких-либо значительных сил трения.
Очевидно, что для разных вариантов осуществления настоящего изобретения, в зависимости от диаметра кольца 45 и/или от длины указанных вторых частей 43 предохранительных язычков, может существовать контакт между свободными концами язычков 40 и 41 и иглой 5, либо может и не быть такого контакта.
Фактически, в первую очередь при применении блокировочных средств 19 преследуется цель удерживать язычки 40 и 41 на соответствующем расстоянии один от другого, пока еще игла 5 между ними не введена, благодаря чему при последующем введении иглы 5 в защитные средства 14 обеспечивается возможность свободного перемещения этой иглы 5 сквозь полый корпус 20.
При переходе устройства из нерабочего состояния А в рабочее его состояние В ребра 32 входят в кольцевую канавку 31 иглы 5 во время скольжения последней в осевом направлении, вследствие чего кольцо 45 начинает скользить по направлению к торцевой стенке 23. В результате такого скользящего своего перемещения кольцо 45 отходит от свободных концов язычков 40 и 41, благодаря чему они снова возвращаются в свое освобожденное состояние R, в котором эти свободные концы изгибаются навстречу друг другу, вследствие чего язычки 40 и 41 будут располагаться теперь в промежутке между проходным отверстием 24 и кончиком 18 иглы. За счет разной длины язычков 40 и 41 соответствующие их свободные концы будут тогда перекрывать друг друга, предпочтительно не соприкасаясь при этом между собой, предотвращая тем самым возможность выхода иглы 5 наружу из полого корпуса 20.
На фиг.9 и 10 показан еще один вариант осуществления настоящего изобретения, единственное отличие которого от варианта осуществления изобретения, представленного на фиг.7 и 8, заключается в том, что кольцо 45 не имеет каких-либо ребер 32 и насаживается непосредственно на иглу 5, в то время как стопорные средства 15 представляют собой кольцевой выступ 46 или утолщение, выполненные на игле 5 в непосредственной близости от кончика 18 иглы. Таким обрезом, боковая часть 47 кольца 45 служит в этом случае упором для кольцевого выступа 46.
Преимущество данного варианта осуществления настоящего изобретения состоит в том, что скребковые средства 33 и опорные средства, вступающие во взаимодействие с кольцевым выступом 46, выполнены в виде одной цельной детали, а именно упомянутого кольца 45. Кроме того, это кольцо 45 служит также и в качестве блокировочного средства 19, и, таким образом, оно одновременно выполняет три различные функции.
Фиг.11 и 12 относятся к еще одному варианту осуществления настоящего изобретения. Важное его отличие от варианта осуществления настоящего изобретения, представленного на фиг.9 и 10, заключается в том, что язычки 40 и 41, а также кольцо 45 имеют такие размеры, при которых в нерабочем состоянии А защитного устройства 1 отсутствует какой-либо контакт между язычками 40, 41 и иглой 5, и, кроме того, в том, что такой контакт не наблюдается также и в течение всего времени перемещения иглы 5 в обратном направлении. На фиг.12 показано промежуточное положение, в отношении которого следует отметить, что язычки 40 и 41 находятся совсем близко от кончика 18 иглы, но при этом они не прикасаются к последнему. Как уже объяснялось здесь выше при рассмотрении варианта осуществления настоящего изобретения, представленного на фиг.1-6, эта особенность позволяет получить соответствующее преимущество, состоящее в том, что язычки 40 и 41 не используются в данном случае как своеобразные скребковые элементы, и поэтому капли крови или других жидкостей не будут собираться на этих язычках 40 и 41, благодаря чему исключается возможность отбрасывания таких капель по направлению к проходному отверстию 24.
Во всех рассмотренных выше вариантах осуществления настоящего изобретения может предусматриваться наличие втулки 6 иглы, выполняемой таким образом, чтобы она включала в свой состав одну или несколько продолговатых выступающих частей, которые располагаются, по меньшей мере, частично вокруг фактических защитных средств 14 или, иными словами, окружают собой полое тело или корпус 20. Такая втулка 6 иглы применяется в варианте осуществления настоящего изобретения, представленном на фиг.11 и 12, а сама по себе она показана отдельно на фиг.13. Более конкретно, данная втулка 6 содержит продолговатые выступы 48, 49 и 50, расположенные соответственно по боковым ее сторонам и частично в верхней ее части. Это дополнительное усовершенствование предназначается для того, чтобы медицинский работник не имел возможности отсоединить комплект 2, состоящий из иглы и канюли, без приведения при этом в действие защитного устройства 1.
Предпочтительно, чтобы игла 5 изготовлена была из стали марки AISI 304, а защитные средства 14 и канюля 3 – из ацетальной смолы либо полипропилена или полиэтилена.
В соответствии с предпочтительной отличительной особенностью настоящего изобретения, которая имеет важное значение и упомянута во вводной части данного описания, скребковые средства представляют собой скребковое кольцо, которое находится во взаимодействии с иглой 5, причем во всех своих положениях упомянутое скребковое кольцо располагается внутри корпуса на некотором расстоянии от задней стороны задней стенки или торцевой стенки упомянутого корпуса. В рассмотренных здесь ранее вариантах осуществления настоящего изобретения эта отличительная особенность иллюстрируется, как наличие соответствующего расстояния D, которое указывается на фиг.5, 8 и 10.
Основное преимущество настоящего изобретения заключается в том, что оно обеспечивает получение такого защитного устройства для комплекта, состоящего из иглы с канюлей, которое позволяет в значительной мере уменьшить вероятность контакта с различными жидкостями, извлекаемыми из тела пациента, или же с лекарственными средствами, остающимися на мокрой игле, а также опасность случайного укалывания или нанесения ранок, причем это устройство действует весьма эффективно во многих отношениях.
Данное устройство имеет малые размеры, и оно достаточно компактно, что обеспечивает легкость пользования им и открывает очень широкие возможности для его применения.
Другое преимущество состоит в том, что обеспечивается получение такого защитного устройства, которое является простым по своей конструкции, и сборку которого легко можно будет при этом осуществить, в связи с чем оно является весьма рациональным с экономической точки зрения.
Еще одно преимущество заключается в том, что оно обеспечивает при пользовании иглой гарантированную максимальную защиту для медицинского работника в момент выполнения им операции извлечения иглы из канюли.
Настоящее изобретение ни в коей мере не ограничивается только лишь теми его формами, которые предложены в качестве вариантов его осуществления, рассмотренных в качестве отдельных примеров в приведенном здесь выше описании и изображены на прилагаемых иллюстрациях, причем такое защитное устройство, а также сборные комплекты, состоящие из иглы и канюли, и просто отдельные иглы при оснащении их таким защитным устройством могут быть реализованы в самых разнообразных формах и иметь самые различные размеры, не выходя при этом за пределы существа, а также объема данного изобретения.
Формула изобретения
1. Защитное устройство для иглы, а более конкретно – для катетера, обеспечивающего введение просто иглы или же так называемого комплекта иглы с канюлей, при этом указанное защитное устройство содержит защитные средства, которые со скольжением взаимодействуют с иглой, отличающееся тем, что защитные средства представляют собой комбинацию, по меньшей мере, с одной стороны – средств обеспечения безопасности, имеющих, по меньшей мере, одну деталь, которая по завершении перемещения иглы в обратном направлении сквозь защитные средства размещается перед кончиком иглы и предотвращает повторное пользование этой иглой, а с другой стороны – блокировочных средств, которые работают совместно со средствами обеспечения безопасности и которые в тот момент, когда защитное устройство переходит из нерабочего состояния в свое рабочее состояние, освобождают средства обеспечения безопасности, перемещающиеся при этом из блокированного положения в свое разблокированное положение.
2. Защитное устройство по п.1, отличающееся тем, что средства обеспечения безопасности и блокировочные средства выполнены таким образом, что по завершении перемещения иглы в обратном направлении средства обеспечения безопасности, а более конкретно – та их деталь или те детали, которые затем размещаются перед кончиком иглы, в течение всего времени перемещения иглы в обратном направлении продолжают оставаться на расстоянии от иглы.
3. Защитное устройство по п.1 или 2, отличающееся тем, что упомянутые блокировочные средства выполнены с обеспечением возможности их смещения по отношению к средствам обеспечения безопасности, благодаря чему за счет соответствующего перемещения блокировочных средств осуществляется освобождение средств обеспечения безопасности с переходом их из блокированного положения в разблокированное положение, при этом упомянутые блокировочные средства взаимодействуют с иглой таким образом, что соответствующее смещение иглы и перемещение ее в обратном направлении приводит также к соответствующему перемещению блокировочных средств.
4. Защитное устройство по п.3, отличающееся тем, что блокировочные средства, по существу, представляют собой скользящее кольцо, насаженное на иглу и охватывающее ее.
5. Защитное устройство по п.3, отличающееся тем, что игла прикреплена к втулке иглы, а также тем, что указанная втулка иглы содержит, по меньшей мере, одну деталь, которая в крайнем переднем положении иглы приходит во взаимодействие с защитными средствами, в результате чего предотвращается возможность перемещения блокировочных средств.
6. Защитное устройство по п.1, отличающееся тем, что деталь в составе средств обеспечения безопасности выполнена из эластичного материала, обеспечивающего возможность ее изгиба, благодаря чему она выходит на траекторию перемещения иглы, а также тем, что упомянутые детали выполнены из эластичного материала, обеспечивающего возможность их изгиба, благодаря чему они выходят на путь перемещения иглы, при этом упомянутая деталь и соответственно упомянутые детали в блокированном их положении удерживаются, в сущности, по меньшей мере, по существу в стороне от траектории движения иглы при помощи упомянутых блокировочных средств.
7. Защитное устройство по п.1, отличающееся тем, что упомянутая деталь, а также соответственно упомянутые детали в составе средств обеспечения безопасности представляют собой предохранительные язычки.
8. Защитное устройство по п.7, отличающееся тем, что средство обеспечения безопасности представляет собой пару предохранительных язычков, которые, находясь по противоположные стороны от иглы, способны заходить на траекторию движения этой иглы.
9. Защитное устройство по п.1, отличающееся тем, что защитные средства и игла содержат соответствующие стопорные средства, действующие в качестве опорных средств и расположенные между защитными средствами и иглой, и которые определяют собой конечное положение, занимаемое иглой при перемещении ее в обратном направлении.
10. Защитное устройство по п.9, отличающееся тем, что стопорные средства, выполненные на игле, представляют собой кольцевую канавку либо кольцевой выступ или утолщение, которые располагаются на наружной поверхности иглы, а также тем, что стопорные средства, расположенные на защитных средствах, образованы упомянутыми блокировочными средствами либо соответствующими деталями, взаимодействующими с упомянутыми блокировочными средствами.
11. Защитное устройство по п.1, отличающееся тем, что средства обеспечения безопасности и блокировочные средства размещаются внутри полого корпуса, причем в упомянутом полом корпусе предусмотрено наличие проходных отверстий для иглы.
12. Защитное устройство по п.1, отличающееся тем, что защитные средства реализованы в виде детали, имеющей удлиненную форму и предназначенной для подсоединения ее к втулке катетера, при этом указанная деталь, имеющая удлиненную форму, снабжена соответствующими соединительными средствами, обеспечивающими разъемное соединение этой детали с упомянутой втулкой катетера.
13. Защитное устройство по п.1, отличающееся тем, что оно снабжено скребковыми средствами, предназначенными для очистки досуха иглы от жидкостей в тот момент, когда само указанное устройство переходит из нерабочего состояния в свое рабочее состояние.
14. Защитное устройство по п.13, отличающееся тем, что скребковые средства образованы блокировочными средствами и/или закреплены на них.
15. Защитное устройство по п.13 или 14, отличающееся тем, что скребковые средства представляют собой кольцеобразную деталь, а предпочтительно пластмассовое кольцо круглого поперечного сечения, которое насажено на иглу и охватывает ее.
16. Защитное устройство по п.1, отличающееся тем, что игла закреплена на втулке иглы, а также тем, что упомянутая втулка иглы содержит один или несколько продолговатых выступов, которые расположены таким образом, чтобы, по меньшей мере, частично окружать собой защитные средства.
17. Защитное устройство для иглы, а более конкретно – для катетера, обеспечивающего введение иглы, при этом указанное защитное устройство содержит защитные средства, которые со скольжением взаимодействуют с иглой, отличающееся тем, что защитные средства представляют собой один или несколько предохранительных язычков, которые по завершении перемещения иглы в обратном направлении автоматически размещаются перед кончиком иглы, благодаря чему предотвращается возможность повторного пользования этой иглой, при этом указанные язычки до завершения целиком всего хода иглы при перемещении ее в обратном направлении остаются на расстоянии от иглы.
18. Защитное устройство для иглы, а более конкретно – для катетера, обеспечивающего введение иглы, при этом указанное защитное устройство содержит полое тело, представляющее собой корпус, который со скольжением взаимодействует с иглой таким образом, что игла может перемещаться в обратном направлении в такое свое положение, в котором кончик иглы располагается внутри упомянутого полого тела, отличающееся тем, что упомянутое защитное устройство содержит кольцо-скребок, взаимодействующее с иглой, при этом указанное кольцо-скребок расположено внутри корпуса на расстоянии от задней стороны задней стенки упомянутого корпуса.
19. Игла или безопасный комплект, состоящий из иглы и канюли, отличающиеся тем, что они снабжены защитным устройством, выполненным в соответствии с любым из предшествующих пунктов.
РИСУНКИ
|
|