|
|
(21), (22) Заявка: 2004132687/14, 09.11.2004
(24) Дата начала отсчета срока действия патента:
09.11.2004
(45) Опубликовано: 20.05.2006
(56) Список документов, цитированных в отчете о поиске:
RU 2190352 C1, 10.10.2002. WO 99/37209 A1, 29.09.1999. WO 94/01043 A1, 20.01.1994.
Адрес для переписки:
456318, Челябинская обл., г. Миасс, пр. Октября, 21, ООО “Сонда”
|
(72) Автор(ы):
Трусов Анатолий Александрович (RU)
(73) Патентообладатель(и):
Общество с ограниченной ответственностью “Сонда” (RU)
|
(54) УСТРОЙСТВО ДЛЯ РЕГИСТРАЦИИ ПАПИЛЛЯРНОГО УЗОРА
(57) Реферат:
Изобретение относится к области оптического формирования изображения с использованием вычислительной техники, в частности к устройствам для получения дактилоскопических карт, используемых правоохранительными органами. Устройство для регистрации папиллярного узора содержит оптически связанные между собой источник света, воспринимающую отпечатки ладони поверхность, выполненную из оптически прозрачного материала и являющуюся одной из сторон герметичной кюветы, заполненной иммерсионной жидкостью, и систему фотоприемных элементов, электрически связанную с блоком обработки изображения. Дно кюветы и одна из ее боковых поверхностей выполнены из оптически прозрачного материала, при этом дно кюветы расположено параллельно воспринимающей отпечатки ладоней поверхности, а источник света размещен под дном кюветы. Боковая поверхность кюветы, выполненная из оптически прозрачного материала, наклонена к воспринимающей отпечатки ладони поверхности таким образом, что нормаль к ней образует с нормалью воспринимающей отпечатки ладони поверхности угол, близкий к углу полного внутреннего отражения. Устройство позволяет оперативно и качественно проводить идентификацию личности по дактилоскопическим отпечаткам. 1 ил.
Предлагаемое изобретение относится к области оптического формирования изображения с использованием вычислительной техники, в частности к устройствам для получения дактилоскопических карт, используемых правоохранительными органами.
Известны аналоги предлагаемого изобретения, например устройство для регистрации отпечатков пальцев (заявка РФ №93002977/14, МПК 7 А 61 В 5/117), содержащее призму, одна из граней которой освещена под углом полного внутреннего отражения источником света, проекционную оптическую систему в виде телескопической системы, фотоприемник, выполненный в виде прямоугольной матрицы фотоэлементов, и блок обработки изображения. Недостатком аналога является то, что он имеет ограниченные функциональные возможности, поскольку позволяет регистрировать лишь отпечатки пальцев и фрагментов ладони. Стандартная дактилокарта должна содержать отпечатки первой фаланги всех пальцев и контрольные оттиски обеих рук, образованные одновременным прижатием 4-х пальцев (от указательного до мизинца) одной руки. В настоящее время в требования к дактилокарте входит также регистрация отпечатков ладоней вместе с контрольными оттисками пальцев. Аналог позволяет получение оттисков ладоней лишь в несколько приемов. Это связано с ограниченными размерами воспринимающей поверхности призмы. При этом возникают сложности в “сшивании” отдельных фрагментов полученных оттисков ладони в единое изображение, что требует разработки специальных программ для ЭВМ и методик, приводящих к удорожанию процесса снятия оттиска ладоней и потере качества изображения. Требования к однородности материала призмы (стекла) высоки, поэтому применение призм большого размера, на воспринимающую поверхность которых ладонь помещалась бы полностью, приводит к значительным технологическим трудностям, существенному удорожанию конструкции и увеличению размеров устройства.
Известно также устройство для регистрации папиллярного узора (патент РФ №2190352, МПК 7 А 61 В 5/117), содержащее воспринимающую отпечатки пальцев поверхность, проекционную оптическую систему, источник света, отклоняющую оптическую систему и систему фотоприемных элементов, оптически связанных между собой и выполненные с возможностью синхронного перемещения, а также блок обработки изображений, электрически связанный с системой фотоприемных элементов. При этом отклоняющая оптическая система погружена в иммерсионную жидкость, заполняющую кювету, одной из сторон которой является воспринимающая отпечатки пальцев поверхность. Данное устройство выбрано в качестве прототипа как наиболее близкое к заявляемому. Прототип позволяет получать полный оттиск ладони, однако наличие подвижных элементов, перемещающихся внутри жидкости, усложняет конструкцию устройства и ее обслуживание, что и является недостатком прототипа.
Задачей, решаемой заявляемым техническим решением, является упрощение конструкции устройства и снижение его стоимости.
Достигается это тем, что:
– дно кюветы и одна из ее боковых поверхностей выполнены из оптически прозрачного материала;
– дно кюветы расположено параллельно воспринимающей отпечатки ладоней поверхности;
– источник света расположен под дном кюветы;
– боковая поверхность, выполненная из оптически прозрачного материала, наклонена к воспринимающей отпечатки ладоней поверхности таким образом, что нормаль к ней образует с нормалью воспринимающей отпечатки ладоней поверхности угол, близкий к углу полного внутреннего отражения.
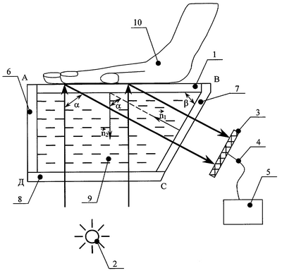
Суть изобретения поясняется чертежом, где представлен общий вид заявляемого устройства.
Устройство для регистрации папиллярного узора содержит воспринимающую отпечатки ладоней поверхность 1, выполненную из оптически прозрачного материала (например, стекла), источник света 2 и систему фотоприемных элементов 3, оптически связанных между собой. Система фотоприемных элементов 3 электрически связана, например, кабелем 4 с блоком обработки изображения 5, которым может быть компьютер. Поверхность 1, боковые поверхности 6 и 7 и поверхность 8, являющаяся дном, образуют герметичную кювету ABCD, заполненную иммерсионной жидкостью 9, в качестве которой может быть использован раствор глицерина. Одна из боковых поверхностей кюветы, например поверхность 7, и ее дно 8 выполнены из оптически прозрачного материала, при этом дно кюветы 8 расположено параллельно воспринимающей отпечатки ладони поверхности 1, а источник света 2 расположен под дном 8 кюветы АВСД. Кроме того, боковая поверхность 7 наклонена к воспринимающей отпечатки ладони поверхности таким образом, что нормаль к ней (нормаль n1) образует с нормалью воспринимающей отпечатки ладони поверхности 1 (нормаль n2) угол , близкий к углу полного внутреннего отражения. Этого можно достичь путем подбора угла . К внешней относительно кюветы стороне поверхности 1 прикладывается ладонь 10 (либо палец руки).
Работает заявляемое устройство следующим образом. Световой пучок (показан стрелками) от источника света 2 входит в кювету АВСД через дно 8 под углом, обеспечивающим минимальные потери (перпендикулярно), и падает, проходя через иммерсионную жидкость 9 и материал воспринимающей отпечатки ладони поверхности 1, на внешнюю (относительно кюветы АВСД) границу поверхности 1. В тех точках воспринимающей отпечатки ладони поверхности 1, которые не имеют контакта с папиллярными линиями ладони 10, свет уходит в кожу и поглощается, а в тех точках воспринимающей поверхности 1, которые имеют контакт с папиллярными линиями ладони 10, свет диффузно рассеивается и часть его выходит из материала поверхности 1 под углом полного внутреннего отражения, после чего, пройдя через иммерсионную жидкость 9, световые пучки падают перпендикулярно на боковую поверхность 7 и проходят через нее без существенных потерь, что приводит к возникновению в плоскости фотоприемных элементов 3 светотеневой картины, повторяющей линии папиллярного узора ладони. Показатель преломления иммерсионной жидкости 9 близок к показателю преломления материала воспринимающей отпечатки ладони поверхности 1, поэтому преломление и отражение светового пучка от внутренней (относительно кюветы АВСД) границы поверхности 1 пренебрежимо малы. Электрический сигнал с фотоприемников 3 через электрическую связь 4 (например, кабель) вводится в блок 5 для дальнейшей обработки.
Таким образом, заявителем предложено простое и надежное устройство, позволяющее получить качественные отпечатки пальцев, контрольные оттиски и отпечатки ладоней, используемые в дактилоскопии. Устройство не содержит в своей конструкции движущиеся внутри жидкости элементы и детали, что существенно упрощает его обслуживание и эксплуатацию по сравнению с прототипом, а также снижает его себестоимость.
Заявителем разрабатывается опытный образец устройства со сроком внедрения в 2005 году.
Формула изобретения
Устройство для регистрации папиллярного узора, содержащее оптически связанные между собой источник света, воспринимающую отпечатки ладоней поверхность, выполненную из оптически прозрачного материала и являющуюся одной из сторон герметичной кюветы, заполненной иммерсионной жидкостью, и систему фотоприемных элементов, электрически связанную с блоком обработки изображения, отличающееся тем, что дно кюветы и одна из ее боковых поверхностей выполнены из оптически прозрачного материала, при этом дно кюветы расположено параллельно воспринимающей отпечатки ладоней поверхности и под ним размещен источник света, а боковая поверхность кюветы из оптически прозрачного материала выполнена с возможностью подбора угла ее наклона к воспринимающей отпечатки ладони поверхности, обеспечивающего перпендикулярное через нее прохождение отраженных от воспринимающей отпечатки ладони поверхности световых пучков к системе фотоприемных элементов.
РИСУНКИ
|
|