|
|
(21), (22) Заявка: 2004134791/13, 29.11.2004
(24) Дата начала отсчета срока действия патента:
29.11.2004
(45) Опубликовано: 20.05.2006
(56) Список документов, цитированных в отчете о поиске:
SU 1769819 A1, 23.10.1992. SU 481276 A1, 28.05.1975. RU 2219763 С2, 27.12.2003. RU 97110982 А, 20.06.1999. UA 66002 А, 15.04.2004.
Адрес для переписки:
656049, г.Барнаул, пр-кт Красноармейский, 98, Алтайский госагроуниверситет, Сектор охраны интеллектуальной собственности
|
(72) Автор(ы):
Капустин Николай Игнатьевич (RU), Золотарев Сергей Васильевич (RU)
(73) Патентообладатель(и):
Федеральное государственное образовательное учреждение высшего профессионального образования “Алтайский государственный аграрный университет” (RU)
|
(54) УСТРОЙСТВО ДЛЯ ВЫРАБОТКИ СЫРНОГО ЗЕРНА
(57) Реферат:
Изобретение относится к области механизации переработки сельскохозяйственной продукции и может применяться при производстве сыров. Устройство для выработки сырного зерна включает двустенную ванну, режуще-вымешивающий элемент, привод режуще-вымешивающего механизма, запорный клапан, датчик температуры. Устройство также содержит исполнительный механизм режуще-вымешивающего элемента, исполнительный механизм запорного клапана, блок управления, датчик нагрузки двигателя, датчик и исполнительный механизм дозирования закваски и датчик расхода сыворотки. При этом исполнительный механизм режуще-вымешивающего элемента, привод исполнительного механизма дозирования закваски и исполнительный механизм запорного клапана соединены с выходами блока управления, а датчик температуры, датчик нагрузки двигателя, датчик механизма дозирования закваски и датчик расхода сыворотки соединены с входами блока управления. Данное изобретение позволяет повысить качество выработки сырного зерна. 3 ил.
Изобретение относится к области механизации переработки сельскохозяйственной продукции и может применяться при производстве сыров.
Все разнообразие сыров имеет общие и отличительные признаки. К общим можно отнести единую температуру нагрева молока до 32-35°С перед внесением закваски. К отличительным признакам относят температуру и продолжительность второго нагревания, а также длительность вымешивания сырного зерна, что и определяет органолептические показатели и пищевую ценность сыра.
Контроль и управление технологическим процессом оператор осуществляет периодически, причем контроль и качество сыра зависит от субъективных факторов (технолога), см. А.В.Оноприенко, А.Г.Храмцов, В.А.Оноприенко. Производство молочных продуктов. Изд. Центр «Март», Москва – Ростов-на-Дону, 2004, 383 с.
Технология выработки сырного зерна состоит из следующих операций:
1. Наполнение ванны молоком до заданного уровня.
2. Включение привода в режим перемешивания молока (например, против часовой стрелки).
3. Подогрев молока до температуры свертывания.
4. Внесение бактериальной закваски, растворов фермента и др. компонентов.
5. Выключение привода по окончании перемешивания (т.е. при достижении однородности массы).
6. Свертывание молока до необходимой плотности сгустка.
7. Включение привода в режиме резания сгустка (вращение по часовой стрелке) при минимальной частоте вращения.
8. Частичный отбор сыворотки с выключенным или работающим приводом.
9. Включение привода в режиме вымешивания сырного зерна.
10. Нагрев сырного зерна.
11. Подсушка сырного зерна.
12. Включение привода наклона ванны.
13. Открытие клапана выпуска сырного зерна самотеком в формировочные устройства или отделители сыворотки.
Известно устройство для выработки сырного зерна, состоящее из двустенной ванны с запорным клапаном для спуска сырного зерна с сывороткой, режуще-вымешивающего элемента с приводом, устройства подачи горячей воды в ванну, датчиков контроля.
Недостатком в работе устройства является ручное управление частотой вращения режущего элемента посредством бесступенчатого вариатора скоростей и четырехскоростного электродвигателя (Машины и аппараты пищевых производств). Книга 2 под ред. В.А.Панфилова. М., «Высшая школа», 2001 – 1384 с., стр.1091-1095).
Известно устройство для выработки сырного зерна, содержащее двустенную ванну, режуще-вымешивающий элемент, запорный клапан, датчики (А.с. СССР №1808273). Недостатком данного устройства является то, что производственные процессы в нем не автоматизированы.
Наиболее близким по своей технической сущности является устройство для выработки сырного зерна, включающее двустенную ванну, режуще-вымешивающий элемент, привод режуще-вымешивающего механизма, запорный клапан, датчики (А.с. СССР №1769819, кл. А 01 J 25/02).
Недостатком данного устройства является то, что оно имеет ручное управление протекающим в нем процессом, а соответственно и низкое качество продукции.
Задачей настоящего технического решения является повышение качества выработки сырного зерна и автоматизации процесса.
Настоящая задача решается тем, что устройство для выработки сырного зерна, включающее двустенную ванну, режуще-вымешивающий элемент, привод режуще-вымешивающего элемента, запорный клапан, датчик температуры, дополнительно содержит исполнительный механизм режуще-вымешивающего элемента, исполнительный механизм запорного клапана, блок управления, датчик нагрузки двигателя, датчик и исполнительный механизм дозирования закваски, датчик расхода сыворотки, при этом исполнительный механизм режуще-вымешивающего элемента соединен с первым выходом блока управления; привод исполнительного механизма дозирования закваски соединен со вторым выходом блока управления; исполнительный механизм запорного клапана соединен с третьим выходом блока управления; к первому входу блока управления подсоединен датчик температуры, ко второму – датчик нагрузки двигателя, к третьему – датчик механизма дозирования закваски, а четвертый вход соединен с датчиком расхода сыворотки
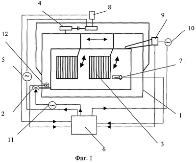
На фиг.1 дана функциональная схема управления сыродельной ванной.
На фиг.2 – циклограмма.
На фиг.3 – алгоритм управления процессом выработки сырного зерна.
Устройство для выработки сырного зерна состоит из двухстенной ванны 1, запорного клапана 2, режуще-вымешивающего элемента 3 и его привода 4, исполнительного механизма 5 режуще-вымешивающего элемента 3, соединенного с первым выходом блока управления 6, к первому входу которого подсоединен датчик температуры 7, ко второму входу блока управления 6 подсоединен датчик нагрузки двигателя 8, а к третьему входу блока управления 6 подсоединен датчик механизма дозирования закваски 9, привод которого через исполнительный механизм 10 подсоединен ко второму выходу блока управления 6. Запорный клапан 2 через исполнительный механизм 11 соединен с третьим выходом блока управления 6, причем четвертый вход последнего соединен с датчиком расхода сыворотки 12.
Работает устройство следующим образом: при наполнении ванны до заданного объема производится подогрев молока до заданной температуры с постоянным перемешиванием при заданной частоте вращения мешалки. При достижении температуры молока заданного значения датчик температуры молока 7 подает сигнал на блок управления 6, который подает сигнал управляющего воздействия на исполнительный механизм дозатора закваски 10. Дозатор закваски производит подачу порции компонентов в ванну, и после окончания процесса дозирования датчик 9 подает сигнал на блок управления 6, причем последний вырабатывает сигнал управляющего воздействия и подает его на исполнительный механизм 5 режуще-вымешивающего элемента 3 для его остановки на заданное время. По истечении заданного времени реле времени (не показано) блока управления 6 вырабатывает сигнал управляющего воздействия и подает его на механизм 4 привода режуще-перемешивающего элемента 3. Датчик нагрузки электродвигателя 8 подает сигнал на блок рассогласования (не показано) блока управления 6, который сравнивает сигнал от нагрузки с заданным для процесса. В зависимости от величины и знака сигнала рассогласования блок управления 6 подает сигнал на исполнительный механизм 5 работы привода режуще-вымешивающего элемента 3 об изменении числа оборотов. При достижении значения сигнала рассогласования равным 0 происходит остановка механизма привода 4 режуще-вымешивающего элемента 3 и блок управления 6 подает сигнал управляющего воздействия на исполнительный механизм 11 запорного клапана слива сыворотки 2 об его открытии и сливе заданного объема сыворотки. При сливании заданного объема сыворотки датчик расхода сыворотки 12 подает сигнал на вход блока управления 6 о закрытии запорного клапана 2 и включении механизма привода 5 режуще-вымешивающего механизма 3, а также подогреве сырного зерна с сывороткой. По истечении заданного времени блок управления 6 подает сигнал на исполнительный механизм 11 запорного клапана 2 и происходит слив сырного зерна с сывороткой из ванны 1. По окончании слива происходит отключение всех механизмов ванны 1.
Формула изобретения
Устройство для выработки сырного зерна, включающее двустенную ванну, режуще-вымешивающий элемент, привод режуще-вымешивающего элемента, запорный клапан, датчик температуры, отличающееся тем, что оно дополнительно содержит исполнительный механизм режуще-вымешивающего элемента, исполнительный механизм запорного клапана, блок управления, датчик нагрузки двигателя, датчик и исполнительный механизм дозирования закваски, датчик расхода сыворотки, при этом исполнительный механизм режуще-вымешивающего элемента, привод исполнительного механизма дозирования и исполнительный механизм запорного клапана соединены с выходами блока управления, а датчик температуры, датчик нагрузки двигателя, датчик механизма дозирования закваски и датчик расхода сыворотки – с входами блока управления.
РИСУНКИ
MM4A – Досрочное прекращение действия патента СССР или патента Российской Федерации на изобретение из-за неуплаты в установленный срок пошлины за поддержание патента в силе
Дата прекращения действия патента: 30.11.2006
Извещение опубликовано: 10.07.2008 БИ: 19/2008
|
|