|
|
(21), (22) Заявка: 2003120295/12, 02.07.2003
(24) Дата начала отсчета срока действия патента:
02.07.2003
(43) Дата публикации заявки: 20.01.2005
(45) Опубликовано: 20.05.2006
(56) Список документов, цитированных в отчете о поиске:
SU 1535397 A1, 15.01.1990. SU 1584775 A1, 15.08.1990. US 3469637 A, 27.12.1966. SU 1657077 A1, 23.06.1991. DE 1457693 A, 09.04.1963.
Адрес для переписки:
362040, РСО-Алания, г. Владикавказ, ул. Кирова, 37, ГГАУ, патентный отдел
|
(72) Автор(ы):
Кудзаев Анатолий Бештауович (RU), Хадаев Вадим Ахурбекович (RU), Цгоев Алан Эльбрусович (RU)
(73) Патентообладатель(и):
Горский государственный аграрный университет (ГГАУ) (RU)
|
(54) КУЛЬТИВАТОР
(57) Реферат:
Изобретение относится к сельскохозяйственному машиностроению и может быть использовано при обработке каменистой почвы в междурядьях или при сплошной культивации. Культиватор содержит два ряда рабочих органов, выполненных в виде продольных пружин. Один конец каждой пружины С-образно загнут и на него крепится культиваторная лапа. Другой конец пружины выполняет роль грядиля и крепится к раме. Рабочие органы содержат упругий элемент, выполненный в виде упругой скобы. Один конец каждой скобы связан с первым витком пружины, а другой с нижней частью витка свободного конца пружины. Жесткость скоб больше жесткости пружин. Подобная конструкция хорошо вибрирует в процессе обработки почвы, что снижает тяговое сопротивление и легко обходит препятствия за счет того, что происходит деформация и грядиля, и пружины, и скобы. Такое конструктивное выполнение позволит повысить качество обработки каменистых почв, уменьшить металлоемкость. 4 ил.
Изобретение относится к сельскохозяйственному машиностроению, в частности к культиваторам.
Культиватор содержит два ряда рабочих органов, выполненных в виде продольных пружин, один конец каждой из которых С-образно загнут, и на него крепятся культиваторные лапы, а другой конец выполняет роль грядиля и крепится к раме, и отличающийся тем, что рабочие органы содержат упругий элемент, выполненный в виде скобы, один конец каждой из которых связан с первым витком пружины, а другой – с нижней частью витка свободного конца пружины, причем жесткость скобы больше жесткости пружин.
Известен культиватор, состоящий из рабочих органов, выполненных в виде С-образной стойки, изготовленной из стальной полосы и усиленной сзади по всей длине.
Недостатком этой стойки является то, что она при работе на тяжелых каменистых почвах плохо обходит большие камни, в результате чего возрастает тяговое усилие.
Наиболее близким техническим решением является культиватор, у которого рабочие органы крепятся на упругой стойке, имеющей витки, ориентированные по направлению движения под углом 45° (а.с. 1535397, А 01 В 23/02, 1988 г.). Однако у данных стоек нет возможности регулирования жесткости, в зависимости от типа обрабатываемой почвы, из-за чего витки изготавливаются толстыми и имеют большую массу.
Цель: улучшение качества обработки каменистых почв, а также уменьшение металлоемкости.
Поставленная цель достигается тем, что на культиваторе устанавливается два ряда рабочих органов, выполненных в виде продольных пружин, один конец каждой из которых С-образно загнут и на него крепится культиваторная лапа, а другой конец выполняет роль грядиля и крепится к раме, и он отличается тем, что рабочие органы содержат упругий элемент, выполненный в виде упругой скобы, один конец каждой из которых связан с первым витком пружины, а другой – с нижней частью витка свободного конца пружины, причем жесткость скоб больше жесткости пружин. Подобная конструкция хорошо вибрирует в процессе обработки почвы, что снижает тяговое сопротивление и легко обходит препятствия за счет того, что происходит деформация и грядиля, и пружины, и скобы. Снижение металлоемкости достигается тем, что сама пружина навита из прутка небольшого диаметра, а ее нижние витки предварительно сжаты упругой скобой.
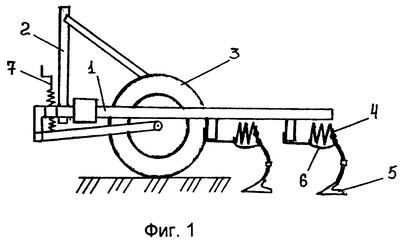
На фиг.1 изображен культиватор, состоящий из рамы 1, навески 2, опорных колес 3, пружинная стойка 4, лапа 5 и скоба 6 механизмы регулировки глубины обработки 7, вид сбоку; на фиг.2 – рабочий орган культиватора, на фиг.4 изображена скоба.
На раме 1 в два ряда установлены пружины и стойки 4, на свободный конец которой крепится стрельчатая лапа 5. При этом пружина стягивается скобой 6. Скоба 6 выполнена из пружиной стали круглого сечения с загнутыми в полукольца концами. Пружина предварительно стягивается и фиксируется в таком положении скобой 6.
Культиватор работает следующим образом.
В процессе обработки почвы пружинная стойка 4 совершает колебательные движения, в вертикальной и горизонтальной плоскости. При такой конструкции лапа 5 имеет возможность обходить препятствия, отгибаясь в сторону. Жесткость скобы 6 подобрана таким образом, что под действием силы сопротивления почвы она деформируется незначительно. В то же время жесткость пружины 4 позволяет стойке совершать колебательные движения в горизонтальной плоскости. Стойка также имеет возможность совершать колебательные движения и в вертикальной плоскости. В случае наезда лапы на инородное тело усилие на стойку возрастает, грядиль в точке В начинает уходить вниз, стойка поворачивается относительно точки А, а затем срабатывает скоба 6, и лапа принимает такое положение (фиг.3), что она легко обходит препятствие. Скоба позволяет рабочей части отклонится, а после прохождения препятствия возвращает рабочий орган в исходное положение, предотвращая таким образом деформацию или поломку элементов рабочего органа. Причем в зависимости от степени засоренности почв камнями чувствительность конструкции можно изменять сменными скобами. При этом соединение в точке А выполняет функцию шарнира и обеспечивает возможность совершать колебательные движения лапе 5.
Это повышает надежность конструкции и позволяет повысить качество работы культиватора при работе на каменистых почвах.
Формула изобретения
Культиватор, содержащий два ряда рабочих органов, выполненных в виде продольных пружин, один конец каждой из которых С-образно загнут и на него крепятся культиваторные лапы, а другой конец выполняет роль грядиля и крепится к раме, отличающийся тем, что рабочие органы содержат упругий элемент, выполненный в виде скобы, один конец каждой из которых связан с первым витком пружины, а другой – с нижней частью витка свободного конца пружины, причем жесткость скобы больше жесткости пружин.
РИСУНКИ
MM4A – Досрочное прекращение действия патента СССР или патента Российской Федерации на изобретение из-за неуплаты в установленный срок пошлины за поддержание патента в силе
Извещение опубликовано: 20.07.2007 БИ: 20/2007
|
|