|
|
(21), (22) Заявка: 2005100150/09, 11.01.2005
(24) Дата начала отсчета срока действия патента:
11.01.2005
(45) Опубликовано: 10.05.2006
(56) Список документов, цитированных в отчете о поиске:
RU 2239226 С2, 27.10.2004. RU 2218591 C1, 10.12.2003. RU 2003115417 A, 20.11.2004. JP 2001-057492 B1, 27.02.2001. JP 06-260783 В1, 16.09.1994. JP 10-213370 B1, 11.08.1998.
Адрес для переписки:
199106, Санкт-Петербург, В.О., 21 линия, 2, СПГГИ (ТУ), патентный отдел
|
(72) Автор(ы):
Толстунов Сергей Андреевич (RU), Мозер Сергей Петрович (RU), Толстунов Антон Сергеевич (RU)
(73) Патентообладатель(и):
Государственное образовательное учреждение высшего профессионального образования Санкт-Петербургский государственный горный институт им. Г.В. Плеханова (технический университет) (RU)
|
(54) УСТРОЙСТВО ДЛЯ РАССЕИВАНИЯ ТЕПЛА ОТ ИНТЕРФЕЙСНЫХ ПЛАТ
(57) Реферат:
Изобретение относится к рассеивающим тепло устройствам и может быть использовано для отвода тепла от различного рода интерфейсных плат. Техническим результатом является упрощение конструкции и повышение эффективности по отбору и отводу тепла. Устройство для рассеивания тепла от интерфейсных плат содержит радиатор, имеющий первую и вторую излучающую секции с множеством пластин радиатора, теплопроводящую трубку, заполненную рабочей жидкостью и имеющую два конца, образованных в виде принимающей тепло секции и охлаждающей секции. Внутри пластин радиатора помещен с зазором легкоплавкий металл, в качестве рабочей жидкости используют глауберову соль. Теплопроводящая трубка размещена между пластинами радиатора в контакте с ними. В верхней части первой излучающей секции радиатора и в колене теплопроводящей трубки образована герметичная полость с аварийным клапаном, размещенным на колене теплопроводящей трубки. 4 з.п. ф-лы, 3 ил.
Изобретение относится к рассеивающим тепло устройствам и может быть использовано для отвода тепла от различного рода интерфейсных плат.
Известна система охлаждения сверхбыстрых процессоров (заявка на изобретение РФ 2002122702, H 05 K 7/20, Н 05 К 5/02, 2004.03.20). Система включает взаимосвязанные между собой и смонтированные на основании (системной плате) функциональные узлы – разъема процессора, процессора, процессорной емкости, высокогерметичных контактных выводов, прижимной пластины-радиатора, термоэлектрических охлаждающих модулей процессорной емкости, электрической контактной группы процессорного модуля, боковых стяжек крепления процессора, эластичного термоизолированного шлейфа, модуля нагнетания жидкости, предохранительных стоек, термоизолирующей прокладки, задней охлаждающей емкости, воздушного радиатора, крепежных стяжек воздушного радиатора, модуля анализа и управления, элементов для создания турбулентных потоков воздуха в воздушном радиаторе, электрических контактов термоэлектрических модулей задней охлаждающей емкости, эластичной герметизирующей прокладки, согласно изобретению узел процессора снабжен двумя канавками глубиной несколько миллиметров, расположенными по его периметру, узел процессора осуществляет непосредственный контакт с охлаждающей жидкостью, охлаждение узла процессора осуществляется одновременно охлаждающей жидкостью, которая в свою очередь охлаждается в узле термоэлектрических модулей задней охлаждающей емкости и узлами пластины-радиатора и термоэлектрических охлаждающих моделей процессорной емкости.
Недостатками данного изобретения являются сложность и низкая эффективность по отбору и отводу тепла для рассеивания.
Известно рассеивающее тепло устройство для интерфейсных плат, принятое за прототип (патент РФ №2239226, G 06 F 1/20, H 05 K 7/20, 2004.10.27). Устройство содержит радиатор, имеющий первую излучающую секцию, расположенную на одной его стороне, вторую излучающую секцию, расположенную на другой стороне, третью излучающую секцию, расположенную на еще одной стороне, соответствующей второй излучающей секции, и пространство для размещения, расположенное между второй излучающей секцией третьей излучающей секцией, причем как первая излучающая секция, так и вторая излучающая секция имеют выемку, теплопроводящую трубку, имеющую два конца, образованных в виде принимающей тепло секции и охлаждающей секции соответственно, и размещенную в указанной выемке; и генератор воздушного потока, расположенный в пространстве для размещения, причем принимающая тепло секция выполнена с возможностью приема тепла от радиатора для испарения рабочей жидкости в теплопроводящей трубке до паровой фазы, протекающей к охлаждающей секции для отвода тепла и охлаждения генератором воздушного потока, при этом отведенное тепло выводится из корпуса компьютера через первую излучающую секцию, а охлажденная рабочая жидкость течет к принимающей тепло секции благодаря эффекту капиллярности, так что испарение и охлаждение повторяются непрерывно для рассеивания тепла, выделяемого интерфейсной платой.
Недостатками данного изобретения являются сложность и низкая эффективность по отбору и отводу тепла для рассеивания.
Техническим результатом изобретения является упрощение конструкции и повышение эффективности по отбору и отводу тепла для рассеивания.
Технический результат достигается тем, что в устройстве для рассеивания тепла от интерфейсных плат, содержащем радиатор, имеющий первую и вторую излучающие секции с множеством пластин радиатора, теплопроводящую трубку, заполненную рабочей жидкостью и имеющую два конца, образованных в виде принимающей тепло секции и охлаждающей секции соответственно, согласно изобретению внутри пластин радиатора помещен с зазором легкоплавкий металл, в качестве рабочей жидкости используют глауберову соль, причем теплопроводящая трубка размещена между пластинами радиатора в контакте с ними, а в верхней части первой излучающей секции радиатора и колене теплопроводящей трубки образована герметичная полость с размещенным на колене теплопроводящей трубки аварийным клапаном.
Технический результат достигается также тем, что участки теплопроводящей трубки, расположенные между первой и второй излучающими секциями, выполнены теплоизолированными.
Технический результат достигается также тем, что в качестве теплоизолирующего материала используют изоляцию из пористой керамики с теплоотражающим покрытием.
Технический результат достигается также тем, что в качестве легкоплавкого металла используют металлический калий.
Технический результат достигается также тем, что в качестве легкоплавкого металла используют натрий.
Применение предлагаемого устройства по сравнению с прототипом позволяет упростить конструкцию устройства и повысить эффективность по отводу и отбору тепла для рассеивания.
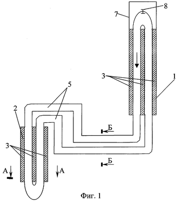
Устройство для рассеивания тепла от интерфейсных плат поясняется чертежом, где на фиг.1 изображено устройство, общий вид, на фиг.2 изображен разрез по линии А-А, увеличение, на фиг.3 изображен разрез Б-Б, где:
1 – первая излучающая секция;
2 – вторая излучающая секция;
3 – пластины радиатора;
4 – легкоплавкий металл, например натрий или металлический калий;
5 – теплопроводящая трубка;
6 – глауберова соль (мирабилит);
7 – герметичная емкость;
8 – аварийный клапан;
9 – зазор;
10 – пористая керамика;
11 – теплоотражающее покрытие.
Устройство для рассеивания тепла от интерфейсных плат содержит первую 1 и вторую 2 излучающую секции. При изготовлении в пластины 3 радиаторов излучающих секций 1 и 2 помещают легкоплавкий металл 4, например металлический калий или натрий, с зазором 9 для компенсации их теплового расширения при нагревании. После этого между пластинами 3 радиаторов размещают теплопроводящую трубку 5, контактирующую с ними, для обеспечения наилучшей теплопроводности. В теплопроводящую трубку 5 помещают глауберову соль. Глауберова соль (мирабилит) – природный сульфат, обогащенный кристаллизованной водой. Химическая формула глауберовой соли Na2SO4·10H2O, химический состав окись натрия (Na2O) – 19,3%, сульфат (SO3) – 24,8%, вода (Н2O) – 55,9%. Глауберова соль из-за наличия кристаллизованной воды обладает способностью при температуре около 16°С переходить в жидкое состояние, что позволяет использовать его в качестве рабочей жидкости для циркуляции по теплопроводящей трубке 5. Наряду с этим глауберова соль обладает теплоемкостью, большей, чем у воды или ацетона, что позволяет судить о его большей эффективности по отбору и отводу тепла. В верхней части первой 1 излучающей секции на колене теплопроводящей трубки 5 помещают аварийный клапан 8, расположенный в герметичной емкости 7, предназначенной для улавливания возможных утечек рабочей жидкости при аварийном давлении в теплопроводящей трубке 5.
Устройство для рассеивания тепла от интерфейсных плат работает следующим образом. В процессе работы различного рода интерфейсных плат происходит выделение значительного количества тепла, поглощаемого второй излучающей секцией 2 и радиаторными пластинами 3 с помещенными внутри них с зазором 9 легкоплавкими металлами 4. При достижении температуры плавления легкоплавкого металла, например для металлического калия равной 64°С, он расплавляется и за счет разности температур начинает перемещаться по внутреннему пространству радиаторных пластин 3, интенсивно поглощая тепло при фазовом переходе и рассеивая его за счет циркуляции и теплообмена с теплопроводящей трубкой 5. Рабочая жидкость – глауберова соль 6 приходит в движение за счет разности температур в первой 1 и второй 2 излучающих секциях. Предполагается, что охлаждение производится первой 1 излучающей секцией, установленной, например, вне корпуса компьютера. Для снижения тепловыделения, например внутри корпуса компьютера, возможна теплоизоляция участков теплопроводящей трубки 5, расположенных между первой 1 и второй 2 излучающими секциями. В качестве теплоизолятора можно использовать изоляцию из пористой керамики 10 с теплоотражающим покрытием. Использование глауберовой соли 6 помимо эффективного поглощения тепла позволит решить вопрос транспорта системных блоков в условиях отрицательных температур, что для России имеет немаловажное значение.
Применение устройства для рассеивания тепла от интерфейсных плат обеспечивает следующие преимущества:
– упрощение конструкции;
– повышение эффективности устройств данного типа по отбору и отводу тепла;
– расширение области применения данного вида устройств.
Формула изобретения
1. Устройство для рассеивания тепла от интерфейсных плат, содержащее радиатор, имеющий первую и вторую излучающие секции с множеством пластин радиатора, теплопроводящую трубку, заполненную рабочей жидкостью и имеющую два конца, образованных в виде принимающей тепло секции и охлаждающей секции соответственно, отличающееся тем, что внутри пластин радиатора помещен с зазором легкоплавкий металл, в качестве рабочей жидкости используют глауберову соль, причем теплопроводящая трубка размещена между пластинами радиатора в контакте с ними, а в верхней части первой излучающей секции радиатора и колене теплопроводящей трубки образована герметичная полость с размещенным на колене теплопроводящей трубки аварийным клапаном.
2. Устройство для рассеивания тепла от интерфейсных плат по п.1, отличающееся тем, что участки теплопроводящей трубки, расположенные между первой и второй излучающими секциями, выполнены теплоизолированными.
3. Устройство для рассеивания тепла от интерфейсных плат по п.1, отличающееся тем, что в качестве теплоизолирующего материала используют изоляцию из пористой керамики с теплоотражающим покрытием.
4. Устройство для рассеивания тепла от интерфейсных плат по п.1, отличающееся тем, что в качестве легкоплавкого металла используют металлический калий.
5. Устройство для рассеивания тепла от интерфейсных плат по п.1, отличающееся тем, что в качестве легкоплавкого металла используют натрий.
РИСУНКИ
MM4A – Досрочное прекращение действия патента СССР или патента Российской Федерации на изобретение из-за неуплаты в установленный срок пошлины за поддержание патента в силе
Дата прекращения действия патента: 12.01.2007
Извещение опубликовано: 27.08.2008 БИ: 24/2008
|
|