|
|
(21), (22) Заявка: 2003131399/09, 26.03.2002
(24) Дата начала отсчета срока действия патента:
26.03.2002
(30) Конвенционный приоритет:
20.02.2002 (пп.1-20) US 10/078,840
(43) Дата публикации заявки: 27.05.2005
(45) Опубликовано: 10.05.2006
(56) Список документов, цитированных в отчете о поиске:
RU 2141168 C1, 10.11.1999. RU 2145152 C1, 27.01.2000. US 6317411 B1, 13.11.2001. US 6006075 A, 21.12.1999. WO 99/01994 A3, 14.01.1999.
(85) Дата перевода заявки PCT на национальную фазу:
28.10.2003
(86) Заявка PCT:
IB 02/00939 (26.03.2002)
(87) Публикация PCT:
WO 02/080375 (10.10.2002)
Адрес для переписки:
129010, Москва, ул. Б. Спасская, 25, стр.3, ООО “Юридическая фирма Городисский и Партнеры”, пат.пов. Ю.Д.Кузнецову, рег.№ 595
|
(72) Автор(ы):
КУЧИ Киран (US), ХОТТИНЕН Ари (FI), ТИРККОНЕН Олав (FI), КУУСЕЛА Маркку (FI), КАЙПАЙНЕН Ирье (FI)
(73) Патентообладатель(и):
НОКИА КОРПОРЕЙШН (FI)
|
(54) ПРОСТРАНСТВЕННО-ВРЕМЕННОЙ КОД С НЕНУЛЕВЫМ КОМПЛЕКСНЫМ ВЗВЕШИВАНИЕМ ДЛЯ ПЕРЕДАЧИ МНОЖЕСТВОМ АНТЕНН
(57) Реферат:
Изобретение относится к системам связи с разнесенной передачей, в частности к способу и устройству для ненулевого комплексного взвешивания и пространственно-временного кодирования сигналов для передачи множеством антенн. Техническим результатом является разнесение передачи с более чем двух антенн. Способ и устройство обеспечивают расширение пространственно-временного блочного кода N×N’ до пространственно-временного блочного кода М×М’, где М>N, с использованием скачкообразного изменения фазы символов в пространственно-временном блочном коде N×N’, чтобы можно было передавать пространственно-временной блочный код с разнесенных антенн в количестве, превосходящем N’. 2 н. и 18 з.п. ф-лы, 16 ил.
Область техники
Данное изобретение относится к способу и устройству для достижения разнесения передачи в системах связи, в частности к способу и устройству для ненулевого комплексного взвешивания и пространственно-временного кодирования сигналов для передачи множеством антенн.
Предпосылки изобретения
По мере развития систем связи при построении системы связи все большую важность приобретают требования к оборудованию и производительности. Перспективные беспроводные системы, т.е. системы третьего и четвертого поколений, в сравнении с аналоговыми системами первого поколения и цифровыми системами второго поколения, используемыми в настоящее время, призваны обеспечивать, помимо высококачественных голосовых услуг, услуги высококачественной и высокоскоростной передачи данных. Наряду с требованиями к производительности системных услуг, имеют место ограничения на проектирование оборудования, что будет сильно влиять на проектирование мобильных терминалов. Беспроводные мобильные терминалы третьего и четвертого поколений должны быть более компактными, более легкими, более экономичными блоками, способными также обеспечивать усовершенствованные услуги передачи голоса и данных, предусмотренные в этих перспективных беспроводных системах.
Изменяющееся во времени многолучевое замирание имеет место в беспроводных системах, когда переданный сигнал распространяется к приемнику по множеству траекторий, вызывая замирание, обусловленное конструктивным и деструктивным суммированием сигналов в приемнике. Известно несколько способов преодоления эффектов многолучевого замирания, например, перемежение по времени с кодированием с исправлением ошибок, реализация частотного разнесения с использованием методов расширения спектра или методов управления мощностью передатчика. Однако каждый из этих подходов имеет недостатки в отношении использования в беспроводных системах третьего и четвертого поколений. Перемежение по времени может приводить к нежелательным задержкам, методы расширения спектра могут требовать выделения большой ширины полосы для преодоления большой ширины полосы когерентности, и для применения методов управления мощностью может потребоваться более высокая мощность передатчика, чем желательно использовать для усовершенствованных методов обратной связи с приемника на передатчик, что повышает сложность мобильного терминала. Все эти недостатки затрудняют достижение нужных характеристик мобильных терминалов третьего и четвертого поколений.
Еще одним методом преодоления эффектов многолучевого замирания в беспроводных системах является антенное разнесение. При разнесенном приеме для приема переданного сигнала используются две или более физически разделенные антенны, и затем переданный сигнал обрабатывается путем объединения и коммутации для генерации принятого сигнала. Недостаток разнесенного приема состоит в том, что необходимое физическое разделение между антеннами может делать разнесенный прием практически неприменимым в прямой линии связи в новых беспроводных системах, где требуется малый размер мобильного терминала. Второй метод реализации антенного разнесения представляет собой разнесенную передачу. При разнесенной передаче сигнал передается с двух или более антенн, после чего обрабатывается в приемнике с использованием блока оценки последовательности максимального правдоподобия (ОПМП), приемников с минимальной среднеквадратической ошибкой (МСКО), приемников максимума апостериорной вероятности или их приближений. Разнесенная передача более применима для прямой линии связи в беспроводных системах, поскольку в базовой станции легче реализовать множество антенн, чем в мобильном терминале.
Разнесенная передача для случая двух антенн хорошо изучена. Аламоути предложил способ разнесенной передачи для двух антенн, который обеспечивает разнесение второго порядка для сигналов с комплексными значениями. S. Alamouti, “A Simple Transmit Diversity Technique for Wireless Communications”, IEEE Journal on Selected Areas of Communications, стр. 1451-1458, октябрь, 1998 г. Способ Аламоути предусматривает одновременную передачу двух сигналов с двух антенн в течение символьного периода. В течение одного символьного периода с первой антенны передают сигнал, обозначаемый S0, а со второй антенны передают сигнал, обозначаемый S1. В течение следующего символьного периода с первой антенны передается сигнал -S1*, а со второй антенны передается сигнал S0*, где * обозначает оператор комплексного сопряжения. Аналогичная система разнесенной передачи возможна также в кодовой области. Например, можно параллельно передавать две копии одного и того же символа с использованием двух ортогональных кодов Уолша. Аналогичные методы можно также использовать для построения способа пространственно-частотного кодирования.
Способ Аламоути нельзя непосредственно распространить на случай более двух антенн. Тарок и др. предложили способ использования пространственно-временного (ПВ) блочного кодирования на скорости 1/2 и 3/4 для передачи с трех и четырех антенн с использованием комплексных диаграмм сигнала. V. Tarokh, H. Jafarkhani and A. Calderbank, “Space-Time Block Codes from Orthogonal Designs”, IEEE Transactions on Information Theory, стр. 1456-1467, июль, 1999 г. Недостатком этого способа является потеря скорости передачи и то, что многоуровневый характер символов, подвергнутых ПВ-кодированию, предъявляет повышенное требование к отношению максимум/среднее для передаваемого сигнала и предъявляет строгие требования к конструкции линейного усилителя мощности. Дополнительные методы, смягчающие эти проблемы, предложены в O. Tirkkonen and A. Hottinen, “Complex space-time block codes for four Tx antennas”, Proc. Globecom 2000, ноябрь, 2000 г., Сан-Франциско, США. Другие предложенные способы включают в себя способ ортогонально разнесенной передачи (ОРП) + схема пространственно-временного разнесения передачи (ПВРП) для четырех антенн на скорости 1. L. Jalloul, K. Rohani, K. Kuchi and J. Chen, “Performance Analysis of CDMA Transmit Diversity Methods” Proceedings of IEEE Vehicular Technology Conference, Fall 1999; и M. Harrison, K. Kuchi, “Open and Closed Loop Transmit Diversity at High Data Rates on 2 and 4 Elements”, Motorola Contribution to 3GPP-C30-19990817-017. Этот способ требует внешнего кода и обеспечивает разнесение второго порядка в силу блока ПВРП (блока Аламоути) и коэффициент усиления перемежения второго порядка из использования блока ОРП. Производительность этого способа зависит от мощности внешнего кода. Поскольку этот способ требует внешнего кода, он неприменим для некодированных систем. Для случая сверточного кода со скоростью 1/3, производительность способа ОРП+ПВРП и способа Тарока ПВ блочного кодирования на скорости 3/4 примерно одинаковы. Другой способ для скорости 1 предложен в O. Tirkkonen, A. Boariu and A. Hottinen, “Minimal non-orthogonality rate 1 space-time block code for 3+ Tx antennas”, Proc. ISSSTA 2000, сентябрь, 2000 г. Способ, предложенный в этой публикации, позволяет добиться высокой производительности, но требует сложного приемника.
Таким образом, желательно иметь способ и устройство, которые обеспечивали бы преимущество разнесенной передачи с более чем двух антенн и, в то же время, не увеличивали бы сложность конструкции системы.
Сущность изобретения
Настоящее изобретение представляет способ и устройство для ненулевого комплексного взвешивания и пространственно-временного кодирования сигналов для передачи множеством антенн. Способ и устройство обеспечивают расширение пространственно-временного блочного кода N×N , где N – количество траекторий передачи и N – количество выходных символов на траекторию передачи, до пространственно-временного блочного кода М×М , где M>N, генерируемого с использованием повторения и ненулевого комплексного взвешивания символов в пространственно-временном блочном коде N×N , чтобы можно было передавать пространственно-временной блочный код по М траекториям разнесенной передачи. Траектории разнесенной передачи могут содержать раздельные антенны или лучи. Временная длина большего кода М может быть равна временной длине исходного кода N . В соответствии со способом и устройством, осуществляется преобразование входного потока символов для генерации результата преобразования, содержащего пространственно-временной блочный код. Затем N выходных потоков пространственно-временного блочного кода, каждый из которых состоит из N выходных символов, повторяются, и по меньшей мере один из повторенных потоков подвергается ненулевому комплексному взвешиванию во времени для генерации М потоков из N выходных символов для передачи по М траекториям разнесенной передачи. Ненулевое комплексное взвешивание может включать в себя сдвиг фазы.
Согласно одному варианту осуществления, N равно по меньшей мере 2 и М равно по меньшей мере 3. Затем по меньшей мере два из N потоков из N выходных символов, соответствующих N исходным потокам из N выходных символов, передаются с первой по меньшей мере одной антенны, и по меньшей мере один из M-N потоков из N символов, подвергнутых ненулевому комплексному взвешиванию, передается со второй по меньшей мере одной антенны. Первая по меньшей мере одна антенна и вторая по меньшей мере одна антенна могут содержать любую из М антенн.
Согласно другому варианту осуществления, способ и устройство можно реализовать в передатчике, имеющем общие или выделенные пилот-каналы, которые обеспечивают эффективную канальную оценку коэффициентов, необходимых для декодирования пространственно-временного кода. В этом варианте осуществления, в передатчике можно реализовать либо общие, либо выделенные пилот-каналы, либо и те, и другие. Согласно одной альтернативе этому варианту осуществления, по N траекториям разнесенной передачи передают обучающие символы, что дает возможность оценивать N независимых траекторий разнесенной передачи. Для этого кодовую последовательность выделенного пилот-канала можно мультиплексировать в каждый из N потоков из N выходных символов исходного пространственно-временного блочного кода, чтобы генерировать N потоков из N выходных символов и последовательности пилот-канала. Затем можно применить ненулевое комплексное взвешивание, чтобы генерировать М сдвинутых по фазе потоков из N выходных символов и последовательности пилот-канала. Затем, по меньшей мере два из N исходных потоков из N выходных символов и последовательности пилот-канала передают с первой по меньшей мере одной антенны, а по меньшей мере один из M-N комплексно взвешенных потоков из N выходных символов и последовательности пилот-канала передают со второй по меньшей мере одной антенны. Другой способ обеспечения оценки N каналов состоит в том, что общие пилот-каналы передают так, что N общих пилот-каналов передают с каждой из первой по меньшей мере одной антенны, а M-N комплексно взвешенных копий некоторых из N общих пилот-каналов передают с каждой из второй по меньшей мере одной антенны. Комплексные весовые коэффициенты, используемые для общих каналов в каждой из второй по меньшей мере одной антенны, идентичны тем, что используются для построения M-N дополнительных комплексно взвешенных потоков из N выходных символов из исходных N потоков из N выходных символов. В этих вариантах осуществления, приемнику могут быть известны, а могут и не быть известны способ, используемый для расширения пространственно-временного блочного кода N×N до пространственно-временного блочного кода M×N , и применяемые последовательности временного взвешивания.
Согласно другим вариантам осуществления, где N равно по меньшей мере 2 и М равно по меньшей мере 3, пилот-каналы можно использовать для обеспечения оценки по меньшей мере N+1 траектории разнесенной передачи. Затем по меньшей мере один из N потоков из N выходных символов, соответствующих N исходным потокам из N выходных символов, передают с первой по меньшей мере одной антенны, а по меньшей мере один из M-N комплексно взвешенных потоков из N символов передают со второй по меньшей мере одной антенны. Разные общие пилот-каналы передают с каждой из первой по меньшей мере одной антенны и второй по меньшей мере одной антенны. В этих вариантах осуществления, приемнику необходимо по меньшей мере частично знать способ, используемый для расширения пространственно-временного блочного кода N×N до пространственно-временного блочного кода M×N , и применяемые последовательности временного взвешивания.
В различных вариантах осуществления, комплексное взвешивание можно применять путем применения периодического или случайного шаблона комплексного взвешивания к каждому из потоков символов, подвергаемых комплексному взвешиванию. Можно также заранее задать соотношение между комплексными весовыми коэффициентами потоков символов, передаваемых на разных антеннах.
Краткое описание чертежей
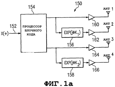
Фиг.1а – блок-схема передатчика, соответствующего варианту осуществления изобретения;
Фиг.1b – блок-схема фрагментов передатчика ПВРП с общим пилот-каналом, соответствующего варианту осуществления изобретения;
Фиг.2 – блок-схема фрагментов передатчика ПВРП с общим пилот-каналом, соответствующего другому варианту осуществления изобретения;
Фиг.3 – блок-схема фрагментов передатчика ПВРП с выделенным пилот-каналом, соответствующего еще одному варианту осуществления изобретения;
Фиг.4 – блок-схема фрагментов варианта осуществления приемника для использования с передатчиком, показанным на фиг.1;
Фиг.5 – блок-схема фрагментов варианта осуществления приемника для использования с передатчиком, показанным на фиг.2 или передатчиком, показанным на фиг.3;
Фиг.6 – вариант осуществления отвода демодулятора ПВРП 508, показанного на фиг.5;
Фиг.7 – блок-схема фрагментов передатчика ПВР, соответствующего варианту осуществления изобретения;
Фиг.8 – блок-схема фрагментов передатчика ОРП, соответствующего варианту осуществления изобретения;
Фиг.9 – блок-схема фрагментов варианта осуществления приемника для использования с передатчиком, показанным на фиг.7;
Фиг.10 – блок-схема фрагментов варианта осуществления приемника для использования с передатчиком, показанным на фиг.8;
Фиг.11 – блок-схема фрагментов передатчика длинного ПВ блочного кода, соответствующего варианту осуществления изобретения;
Фиг.12 – блок-схема фрагментов передатчика ПВРП с общим/выделенным пилот-каналом, соответствующего еще одному варианту осуществления изобретения;
Фиг.13 – блок-схема фрагментов приемника для использования с передатчиком, показанным на фиг.12;
Фиг.14 – блок-схема фрагментов приемника для использования при управлении мощностью передатчика, показанного на фиг.12;
Фиг.15 – диаграмма, задающая шаблон сдвига фазы, который можно использовать в различных вариантах осуществления изобретения.
Подробное описание изобретения
На фиг.1а показана блок-схема передатчика 150, соответствующего варианту осуществления изобретения. Передатчик 150 имеет вход 152 для приема входного потока символов, процессор 154 блочного кода для осуществления преобразования входного потока символов для генерации результата преобразования, представляемого ортогональным пространственно-временным блочным кодом, и для вывода 2 потоков символов результата преобразования, блок 156 ненулевого комплексного взвешивания для ненулевого комплексного взвешивания первого из двух потоков символов, блок 158 ненулевого комплексного взвешивания для ненулевого комплексного взвешивания второго из двух потоков символов, ВЧ-передатчик 160 для передачи первого потока символов с Ант.1, ВЧ-передатчик 162 для передачи потока символов, подвергнутого ненулевому комплексному взвешиванию, с Ант.2, ВЧ-передатчик 164 для передачи второго потока символов с Ант.3 и ВЧ-передатчик 166 для передачи сдвинутого по фазе второго потока символов с Ант.4. Антенны Ант.1-Ант.4 могут быть поляризованы относительно друг друга для обеспечения улучшенного приема с разнесением. Например, Ант.1 или Ант.2 могут быть вертикально поляризованы относительно горизонтальной поляризации Ант.3 или Ант.4 соответственно. Вариант осуществления передатчика 150, показанного на фиг.1а, можно реализовать в разных формах, пригодных для разных технологий и систем, чтобы расширить блочный код 2×N для передачи по 4 траекториям разнесения передачи. В передатчике 150 каждая из 4 траекторий разнесения передачи включает в себя отдельную антенну, Ант.1-Ант.4. Разнесение передачи можно применять в разных системах, например в системах множественного доступа с кодовым разделением (МДКР), системах множественного доступа с временным разделением (МДВР) или в системе цифровой связи любого другого типа. В качестве альтернативы варианту осуществления, представленному на фиг.1а, ненулевое комплексное взвешивание можно осуществлять лишь на некоторых из траекторий передачи, чтобы создавать относительные сдвиги фазы между передачами с Ант.1 и Ант.2 или Ант.3 и Ант.4. Например, ненулевое комплексное взвешивание можно также применять ко входным сигналам ВЧ-передатчика 160 и 164, создавая версию ненулевого комплексного взвешивания каждого из потоков символов, но поддерживая относительный сдвиг фазы между передаваемыми сигналами. В качестве альтернативы варианту осуществления передатчика 150, можно использовать менее 4 антенн, чтобы реализовать 4 траектории разнесения. Например, сигналы, поступающие на ВЧ-передатчики 164 или 166, можно объединять друг с другом и передавать с одной антенны. Возможны и другие альтернативы, согласно которым используется менее 4 траекторий разнесения, например, ненулевое комплексное взвешивание и передача по двум траекториям разнесения только одного из 2 потоков данных. В качестве альтернативы варианту осуществления, показанному на фиг.1а, операцию ненулевого комплексного взвешивания можно осуществлять на выходе блоков 160, 162, 164, 166 ВЧ-передатчика, т.е. ненулевое комплексное взвешивание можно реализовать в виде непрерывного изменения фазы после модуляции и фильтрации в базовой полосе символов, подвергнутых пространственно-временному кодированию.
Возможны различные альтернативы ненулевого комплексного взвешивания для этих передач с Ант.2 и Ант.4. Например, для Ант.4 можно применять фазовый шаблон W1(t) = exp(j*pi*фаза_в_градусах/180), используемый для Ант.2, и фазовый шаблон -W1(t), сдвинутый по фазе на 180 градусов относительно W1(t). Примерами диаграммы 4ФМн могут служить фазовый шаблон сдвигов в градусах {0, 90, 180, 270} для Ант.2 и {180, 270, 0, 90} для Ант.4. Можно привести другие примеры шаблонов {0, 45, 90, 135, 180, 225, 270, 315} для 8ФМн и {0, 22.5, 45, 67.5, …337.5} для 16ФМн. На фиг.15 показана диаграмма, задающая другой шаблон сдвига фазы, который можно использовать в различных вариантах осуществления изобретения. Эту последовательность сдвигов в градусах {0, 135, 270, 45, 180, 315, 90, 225} можно передавать с антенны 2, используя при этом в антенне 4 шаблон сдвигов в градусах {180, 315, 90, 225, 0, 135, 270, 45}. Сдвиг фазы может быть периодическим или случайным. Периодический сдвиг фаз относится к заданному фазовому шаблону, например, к периодически повторяющемуся комплексному весовому коэффициенту W1(t). Комплексные весовые коэффициенты можно задавать так, чтобы последовательность комплексных весовых коэффициентов задавала траекторию максимальной длины, чтобы последовательные выборки эффективного канала были как можно более независимыми. Таким образом, можно избавиться от необходимости перемежения и, таким образом, обеспечивать низкую задержку передачи. Псевдослучайный фазовый сдвиг может представлять собой последовательность случайно выбранных фаз из диаграммы МФМн. Альтернативно, другая схема ненулевого комплексного взвешивания, в которой разность фаз между последовательными фазовыми состояниями по возможности мала, имеет преимущество при оценивании канальных коэффициентов или метрик, относящихся к управлению мощностью на основании канала, подвергнутого ненулевому комплексному взвешиванию. В этом случае, фазовые состояния могут все же покрывать 360 градусов на протяжении одного блока кодирования. Как и в традиционных системах, в вариантах осуществления можно использовать канальное перемежение. Можно также совместно реализовать последовательность ненулевого комплексного взвешивания и перемежитель, чтобы символы на выходе перемежителя были по возможности независимыми. Кроме того, изменяя относительную фазу между антеннами 1 и 2 и антеннами 3 и 4, соответственно, способ можно реализовать так, чтобы иметь во всех антенных элементах сдвиг или изменение фазы, но поддерживать относительные сдвиги фазы между антеннами 1 и 2 и антеннами 3 и 4. Например, при изменении фазы, чтобы реализовать эффективное изменение, соответствующее 100 Гц, можно использовать 50 Гц изменение фазы в антенне 1 и -50 Гц изменение фазы в антенне 2. Аналогично для антенн 3 и 4.
Сдвиг фазы может меняться каждые Т секунд. Выбор Т зависит от суммарной длительности символов данных и способа, используемого для оценки канальных коэффициентов. Можно поддерживать постоянную фазу на протяжении суммарной длительности символов данных в пределах по меньшей мере одного блока пространственно-временного кодирования, и, для обеспечения правильной канальной оценки, можно использовать соответствующую выделенную или общую пилот-последовательность/обучающую последовательность. Пилот-последовательность может быть кодом Уолша, который используется в системах МДКР, или последовательностью обучающих символов с хорошими корреляционными свойствами, которая используется для канальной оценки в МДВР. Пилот-символы могут применять те же ненулевые комплексные весовые коэффициенты, что и данные в пространственно-временном блоке. Альтернативно, пилот-каналы можно передавать без смены фазы. В этом случае, эффективный канал для данных можно вывести из заранее известного шаблона скачкообразного изменения фазы совместно с канальной оценкой, полученной из канала без смены фазы. В случаях применения ненулевого комплексного взвешивания к общим пилот-каналам, к каналам данных и общим пилот-каналам можно применять один и тот же или разные фазовые шаблоны. Оценка канала с использованием пилотных или обучающих последовательностей без смены фазы (передаваемых по общим или выделенным каналам) обеспечивает более высокие канальные оценки, поскольку канал является более стационарным.
На фиг.1b изображена блок-схема фрагментов передатчика 100 пространственно-временным разнесением передачи (ПВРП) с общим пилот-каналом, соответствующего варианту осуществления изобретения. Передатчик 100 может работать как расширение 4-антенного разнесения передачи к версии 99 стандарта системы третьего поколения широкополосного МДКР (ШМДКР). Передатчик 100 содержит вход 126, процессор 124 блочного кода, входы 102а-102d отводов обработки потока символов канала трафика, блоки 104а-104d усиления антенны, фазовращатели 106а и 106b, входы 112а и 112b фазовращателей, кодовые умножители 108а-108d, входы 114а-114d отводов обработки пилот-последовательности, блоки 116а-116d усиления антенны, кодовые умножители 118а-118d, ВЧ-передатчик 128, включая ВЧ-передатчики 128а-128d и антенны Ант.1-Ант.4.
Согласно фиг.1b, данные, подлежащие передаче, включающие в себя канально-кодированный и перемеженный входной символьный поток X(t), содержащий символы S1S2, поступает на вход 126. Процессор 124 блочного кода осуществляет преобразование каждых двух принятых символов S1S2, чтобы генерировать результат преобразования, содержащий ортогональный пространственно-временной блочный код 2×2. Согласно варианту осуществления, процессор 124 блочного кода может осуществлять преобразование Аламоути, чтобы генерировать блочный код в виде следующей матрицы:
(1)
Затем матрица делится на 4 потока из 2 символов, причем каждый из потоков поступает на один из входов 102а-102d отвода обработки потока символов канала трафика. Согласно фиг.1, поток S1S2 поступает на 102а, S1S2 поступает на 102b, -S2*S1* поступает на 102с и -S2*S1* поступает на 102d. Ненулевое комплексное взвешивание осуществляется блоками 104а-104d усиления антенны и фазовращателями 106а и 106b. Коэффициент усиления антенны для каждого отвода обработки регулируется блоками 104а-104d усиления антенны. После регулировки коэффициента усиления антенны фазовращатели 106а и 106b подвергают сдвигу фазы поток S1S2, выводимый блоком 104b усиления антенны, и поток -S2*S1, выводимый блоком 104d усиления антенны. Блоки 112а и 112b управления фазовращателем могут управлять фазовращателями 106а и 106b, вызывая сдвиг фазы с использованием непрерывного или дискретного шаблона смены фазы. Затем скремблирующий код МДКР поступает на кодовые умножители 108а-108d, чтобы генерировать поток S1S2 на ВЧ-передатчик 128а для передачи с Ант.1, S1S2(exp(j k1)) – на ВЧ-передатчик 128b для передачи с Ант.2, -S1*S2* – на ВЧ-передатчик 128с для передачи с Ант.3 и -S2*S1(exp(j k2)) – на ВЧ-передатчик 128d для передачи с Ант.4. ВЧ-передатчики могут осуществлять формирование модулирующих импульсов в базовой полосе, модуляцию и преобразование на несущую частоту. В некоторых реализациях можно по выбору применять скачкообразное или непрерывное изменение фазы после этапов формирования импульсов в базовой полосе и модуляции.
Последовательности Х1-Х4 общего пилот-канала поступают на входы 114а-114d отвода обработки пилот-последовательности. Затем пилот-последовательности раздельно обрабатываются блоками 116а-116d усиления антенны и кодовыми умножителями 118а-118d. Кодированные выходные сигналы кодовых умножителей 118а-118d поступают на ВЧ-передатчики 128а-128d, соответственно, ВЧ-передатчика 128.
Затем пилот-последовательность Х1 передается с Ант.1, пилот-последовательность Х2 передается с Ант.2, пилот-последовательность Х3 передается с Ант.3 и пилот-последовательность Х4 передается с Ант.4.
На фиг.4 изображена блок-схема фрагментов приемника для использования с передатчиком 100, показанным на фиг.1b. На фиг.4 показана обработка сигнала для одного приемного отвода приемника. Принимаемые пилот-последовательности Х1-Х4, переданные с передатчика 100, принимаются и поступают на отводы 402а-402d обработки канальной оценки соответственно. Блок 404 канальной оценки осуществляет функцию канальной оценки, например, функцию скользящего среднего фильтра низких частот, для каждого из канала 1 – канала 4. Оценки канала 1 – канала 4 выводятся с выходов 406а-406d на сумматор 410а, фазовращатель 408а, сумматор 410b и фазовращатель 408b. Фазовращатель 408а принимает входной сигнал от блока 414а управления фазовращателем и сообщает оценке канала 2 такой же сдвиг фазы, который используется в символах S1S2 канала трафика, переданных с Ант.2 передатчика 100. Фазовращатель 408b принимает входной сигнал от блока 414b управления фазовращателем и сообщает оценке канала 4 такой же сдвиг фазы, который используется в символах -S2*S1* канала трафика, переданных с Ант.4 передатчика 100. Сумматор 410а объединяет сдвинутую по фазе версию оценки для канала 2 с оценкой для канала 1, и сумматор 410b объединяет сдвинутую по фазе версию оценки для канала 4 с оценкой для канала 3. Объединенная оценка для каналов 1 и 2 (412а) и объединенная оценка для каналов 3 и 4 (412b) поступают на демодулятор ПВРП 418, который обрабатывает принятые сигналы трафика со входа 416 с использованием канальных оценок. Демодулированный сигнал обрабатывается в объединителе отводов, обращенном перемежителе и канальном декодере 420 для генерации принятых символов S1S2.
В альтернативном варианте осуществления общего пилот-канала для 4-антенного разнесения, общие пилот-каналы сдвинуты по фазе таким же образом, как каналы трафика до передачи. На фиг.2 изображена блок-схема фрагментов передатчика 200 ПВРП с общим пилот-каналом, соответствующего другому варианту осуществления изобретения. Передатчик 200 содержит вход 226, процессор 224 блочного кода, входы 202а-202d отвода обработки потока символов канала трафика, блоки 204а-204d усиления антенны, фазовращатели 206а и 206b, входы 212а и 212b фазовращателя, кодовые умножители 208а-208d, вход 210 кодового умножителя, входы 214а-214d отвода обработки пилот-последовательности, блоки 216а-216d усиления антенны, фазовращатели 218а-218b, блоки 224а и 224b управления фазовращателем, кодовые умножители 220а-220d, вход 222 кодового умножителя, ВЧ-передатчик 228, содержащий ВЧ-передатчики 228а-228d, и антенны Ант.1-Ант.4.
Обработка и передача канала трафика в передатчике 200 осуществляется таким же образом, как в передатчике 100, показанном на фиг.1. Однако, передатчик 200 использует общие пилот-каналы, сдвинутые по фазе. Последовательность Р1 общего пилот-канала поступает на входы 214а и 214b отвода обработки пилот-последовательности, и последовательность Р2 общего пилот-канала поступает на входы 214с и 214d отвода обработки пилот-последовательности. Затем пилот-последовательности обрабатываются по отдельности в блоках 216а-216d усиления антенны. Пилот-последовательность Р1, выводимая из блока 216а усиления антенны, поступает на кодовый умножитель 220а. Пилот-последовательность Р2, выводимая из блока 216с усиления антенны, поступает на кодовый умножитель 220с. Пилот-последовательность Р1, выводимая из блока 216b усиления антенны, поступает на фазовращатель 218а. Пилот-последовательность Р2, выводимая из блока 216d усиления антенны, поступает на фазовращатель 218b. Фазовращатель 218а, 218b осуществляет сдвиг фазы под управлением блока 224а, 224b управления фазовращателем соответственно. Сдвиг фазы может представлять собой тот же непрерывный или дискретный шаблон скачкообразного изменения фазы, который используется для каналов трафика. Сдвинутая по фазе пилот-последовательность Р1, выводимая из фазовращателя 218а, поступает на кодовый умножитель 220b, и сдвинутая по фазе пилот-последовательность Р2, выводимая из фазовращателя 218b, поступает на кодовый умножитель 220d. Кодированная пилот-последовательность Р1, выводимая из кодового умножителя 220а, поступает в ВЧ-передатчик 228а для передачи с Ант.1. Кодированная сдвинутая по фазе пилот-последовательность Р1, выводимая из кодового умножителя 220b, поступает в ВЧ-передатчик 228b для передачи с Ант.2, кодированная пилот-последовательность Р2, выводимая из кодового умножителя 220с, поступает в ВЧ-передатчик 228с для передачи с Ант.3, и кодированная сдвинутая по фазе пилот-последовательность Р2, выводимая из кодового умножителя 220d, поступает в ВЧ-передатчик 228d для передачи с Ант.4.
Фазовращатели 218а и 218b могут осуществлять сдвиг фазы в соответствии с разными альтернативами, например, описанными для сдвига фазы, осуществляемого согласно варианту осуществления, представленному на фиг.1.
На фиг.5 представлена блок-схема фрагментов варианта осуществления приемника 500 для использования с передатчиком, показанным на фиг.2. Приемник 500 содержит вход 502а отвода обработки оценки канала 1 и канала 2 и вход 502b отвода обработки оценки канала 3 и канала 4, блок 504 канальной оценки, демодулятор ПВРП 508, вход 510 сигнала трафика и объединитель отводов, обращенный перемежитель и канальный декодер 512.
Принимаемая пилот-последовательность Р1 (ch1+ch2 ), принятая в каналах 1 и 2 с Ант.1 и Ант.2, соответственно, передатчика 200, поступает на вход 502а. Принимаемая пилот-последовательность Р2 (ch3+ch4 ), принятая в каналах 3 и 4 с Ант.3 и Ант.4, соответственно, передатчика 200, поступает на вход 502b. Блок 504 канальной оценки осуществляет оценку канала с использованием, например, функции скользящего среднего фильтра низких частот и выдает объединенную оценку для каналов 1 и 2 (кан.оц. 1,2) и объединенную оценку для каналов 3 и 4 (кан.оц. 3,4). Канальные оценки поступают на демодулятор ПВРП 508, который обрабатывает принятые сигналы трафика со входа 510, с использованием канальных оценок. Демодулированный сигнал обрабатывается в блоке 512 объединителя отводов, обращенного перемежителя и канального декодера для генерации принятых символов S1S2. На фиг.6 показан вариант осуществления отвода демодулятора ПВРП 508, показанного на фиг.5, который использует кан.оц.1,2 и кан.оц.3,4 для демодуляции принятых сигналов трафика.
Согласно другому варианту осуществления 4-антенного разнесения, в передатчике 150 по версии ШМДКР, показанном на фиг.1, можно реализовать выделенные пилот-каналы. На фиг.3 изображена блок-схема фрагментов передатчика 300 ПВРП с выделенным пилот-каналом, соответствующего еще одному варианту осуществления изобретения. Передатчик 300 содержит вход 318, процессор 316 блочного кода, входы 302а-302d отводов обработки потока символов канала, блоки 304а-304d усиления антенны, фазовращатели 306а и 306b, входы 312а и 312b фазовращателей, кодовые умножители 308а-308d, вход 310 кодового умножителя и антенны Ант.1-Ант.4.
Передатчик 300, показанный на фиг.3, является реализацией, в которой используются выделенные пилот-каналы, передаваемые путем внедрения пилот-последовательностей в поток символов канала трафика. Вход 318 и процессор 316 блочного кода функционируют таким же образом, как вход 126 и процессор 124 блочного кода, изображенные на фиг.1. В передатчике 300, когда символы S1S2 поступают на входы 302а и 302b отвода для обработки символьного потока, последовательность U1 пилот-канала поступает на входы 302а и 302b и мультиплексируется между наборами символов S1S2. Кроме того, -S2*S1* поступает на входы 302с и 302d отвода для обработки символьного потока, и последовательность U2 пилот-канала поступает на входы 302с и 302d и мультиплексируется между наборами символов -S2*S1*. Другая возможность состоит в том, чтобы задавать 4 разных выделенных пилот-последовательности, по одной на каждую передающую антенну.
Мультиплексированные символьные потоки на входах 302а-302d поступают в блоки 304а-304d усиления антенны, соответственно. В блоках 304а-304d усиления антенны применяется коэффициент усиления канала. Поток, содержащий S1S2 и пилот-последовательность U1, выводится из блока 304а усиления антенны на кодовый умножитель 308а. Поток, содержащий S1S2 и пилот-последовательность U1, выводится из блока 304b усиления антенны на фазовращатель 306а, где получает сдвиг фазы в соответствии со входным сигналом от блока 312а управления фазовращателем, после чего поступает на кодовый умножитель 308b. Поток, содержащий -S2*S1* и пилот-последовательность U2, выводится из блока 304с усиления антенны на кодовый умножитель 308с, и тот же самый поток, -S2*S1* и пилот-последовательность U2, выводится из блока 304d усиления антенны на фазовращатель 306d, где получает сдвиг фазы в соответствии со входным сигналом от блока 312b управления фазовращателем, после чего поступает на кодовый умножитель 308d. Кодовые умножители 308а-308d умножают соответствующий поток на скремблирующий код. Умноженный на код поток S1S2 и пилот-последовательности U1 поступает на ВЧ-передатчик 314а для передачи с Ант.1. Умноженный на код сдвинутый по фазе поток S1S2 и пилот-последовательности U1 поступает на ВЧ-передатчик 314b для передачи с Ант.2. Умноженный на код поток -S2*S1* и пилот-последовательности U2 поступает на ВЧ-передатчик 314с для передачи с Ант.3, и умноженный на код сдвинутый по фазе поток -S2*S1* и пилот-последовательности U2 поступает на ВЧ-передатчик 314d для передачи с Ант.4. ВЧ-передатчики могут осуществлять формирование импульсов в базовой полосе, модуляцию и преобразование на несущую частоту. В некоторых реализациях можно по выбору применять ненулевое взвешивание после формирования импульсов в базовой полосе и модуляции.
Приемник, показанный на фиг.5, можно модифицировать для использования с передатчиком 300, показанным на фиг.3. В этом случае, приемник 500 будет функционировать аналогично, но входы 502а и 502b будут вводить U1(Ch1+Ch2 ) и U2(Ch3+Ch4 ), соответственно на блок 504с оценки канала.Согласно еще одному варианту осуществления 4-антенного разнесения, можно реализовать объединенный вариант осуществления выделенных пилот-каналов и общих пилот-каналов. На фиг.12 изображена блок-схема фрагментов передатчика 1200 ПВРП с выделенным/общим пилот-каналом, соответствующего еще одному варианту осуществления изобретения.
Передатчик 1200 функционирует, по существу, таким же образом, как передатчик 300, показанный на фиг.3, за тем исключением, что на Ант.1 и Ант.2 добавляются общие пилот-каналы. Последовательности Р1 и Р2 общего пилот-канала поступают на входы 1218а и 1218b отвода обработки пилот-последовательности, соответственно. Пилот-последовательности раздельно обрабатываются блоками 1220а и 1220b усиления антенны и кодовыми умножителями 1222а и 1222b. Кодированные выходные сигналы кодовых умножителей 1222а и 1222b поступают на ВЧ-передатчики 1214а и 1214с, соответственно, ВЧ-передатчика 1214. ВЧ-передатчики могут осуществлять формирование импульсов в базовой полосе, модуляцию и преобразование на несущую частоту. В некоторых реализациях можно по выбору применять ненулевое взвешивание после формирования модулирующих импульсов и модуляции.
Передатчик 1200, показанный на фиг.12, выдает общие пилот-каналы без смены фазы на Ант.1 и Ант.3 и выделенные пилот-каналы на Ант.1, Ант.2, Ант.3 и Ант.4. Пилот-последовательности можно мультиплексировать в одном канальном интервале, например, в варианте осуществления, где кадр передачи содержит 15 канальных интервалов. Для общих и выделенных каналов управления можно задавать разные коэффициенты усиления антенны. Коэффициенты усиления антенны также могут быть изменяющимися со временем.
На фиг.13 представлена блок-схема фрагментов приемника 1300 для использования с передатчиком, показанным на фиг.12. Приемник 1300 содержит отвод для обработки канала 1 и канала 2, имеющий входы 1302а и 1302b, отвод для обработки канала 3 и канала 4, имеющий входы 1302с и 1302d, вход 1304 фазовращателя, блок 1306 канальной оценки, демодулятор ПВРП 1310, вход 1312 сигнала трафика и обращенный перемежитель и декодер 1314.
Принятые пилот-последовательности Р1, U1, P2 и U2 поступают на входы 1302а, 1302b, 1302с и 1302d, соответственно, приемника 1300. Блок 1306 канальной оценки осуществляет оценку канала с использованием, например, функции скользящего среднего фильтра низких частот, и выдает объединенную оценку для каналов 1 и 2 (кан.оц. 1,2) 1308а и объединенную оценку для каналов 3 и 4 (кан.оц. 3,4) 1308b. Канальные оценки поступают на демодулятор ПВРП 1310, который обрабатывает принятые сигналы трафика со входа 1312 с использованием канальных оценок. Демодулированный сигнал обрабатывается в блоке 1314 объединителя отводов, обращенного перемежителя и канального декодера для генерации принятых символов S1, S2.
Для управления мощностью можно использовать заранее известную информацию о скачкообразном изменении фазы. На фиг.14 показаны фрагменты приемника для оценивания управления мощностью, соответствующего варианту осуществления изобретения. Приемник 1400 содержит блок 1402 канальной оценки, входы 1404а-1404d отводов канальной оценки, входы 1408а и 1408b фазовращателя, фазовращатели 1406а и 1406b, выходы 1410а и 1410b канальной оценки, блоки 1412а и 1412b возведения в квадрат и процессор 1414 управления мощностью.
Блок 1402 оценки канала вычисляет канальные коэффициенты из общих или выделенных каналов, например, от передатчика 1200, для всех четырех антенн в течение данного канального интервала «t». Это может быть канальное прогнозирование для канального интервала t+1; альтернативно, в каналах с медленным замиранием можно использовать канальную оценку для канального интервала t. Эти канальные коэффициенты обозначаются кан.оц#1(t), кан.оц#2(t), кан.оц#3(t) и кан.оц#4(t) на входах 1404а-1404d соответственно. Для множественных отводов, например, кан.оц#1(t) является векторной канальной оценкой, соответствующей всем отводам от Ант.1.
На основании заранее известной информации о скачкообразном изменении фазы на входах 1408а и 1408b фазовращателя и информации о канальной оценке для текущего канального интервала «t», канальные коэффициенты для канального интервала «t+1» оцениваются следующим образом:
кан.оц#12(t+1) = кан.оц#1(t) + кан.оц#2(t)e 12(t+1)
кан.оц#34(t+1) = кан.оц#3(t) + кан.оц#4(t)e 34(t+1), (2)
где 12, 34 заранее известны.
Оценку мощности принятого сигнала для канального интервала (t+1) можно производить на основании кан.оц#12(t+1) и кан.оц#34(t+1):
Процессор 1414 генерирует команду управления мощностью с использованием канальной оценки принимаемой мощности.
Способ и устройство, соответствующие изобретению, можно также реализовать с разнесением в области кодов Уолша. На фиг.7 изображена блок-схема фрагментов передатчика 700 пространственно-временного расширения (ПВР), соответствующего варианту осуществления изобретения.
Передатчик 700 является вариантом осуществления ПВР передатчика 150, показанного на фиг.1а, в котором процессор пространственно-временного блока осуществляет преобразование в области кодов Уолша. Используемую матрицу блочного кода ПВР можно представить в виде:
(3)
Аналогично варианту осуществления, представленному на фиг.1а, каждая строка матрицы и ее сдвинутая по фазе версия передаются с раздельных антенн Ант.1-Ант.4. Символы S1 и S2 в каждой строке передаются одновременно в течение двух символьных периодов, а не последовательно. Символы данных поступают на передатчик 700 со входа 718 канального кодера 720. Канальный кодер 720 кодирует, перфорирует (прокалывает), перемежает и форматирует входные символы данных и через раз выводит выходной символ S1 кодера как четные данные и через раз – выходной символ S2 кодера как нечетные данные. Четные данные поступают для обработки на блоки 702а,b,e,f повторения символа, блоки 704b и 704d функции Уолша, умножители Уолша 706a,b,e,f, сумматоры 708а-708d и комплексные сумматоры 710а и 710b. Нечетные данные поступают для обработки на блоки 702c,d,g,h повторения символа, блоки 704b и 704d функции Уолша, умножители Уолша 706c,d,g,h, сумматоры 708а-708d и комплексные сумматоры 710а и 710b. Результат на выходе комплексного сумматора 710b представляет собой строку матрицы.
Затем поступает на комплексный умножитель 712а для генерации и поступает на комплексный умножитель 712b для генерации Затем поступает на ВЧ-передатчик 714а для передачи с Ант.1, поступает на ВЧ-передатчик 714b для передачи с Ант.2, поступает на ВЧ-передатчик 714c для передачи с Ант.3, и поступает на ВЧ-передатчик 714d для передачи с Ант.4.
На фиг.9 показана блок-схема фрагментов варианта осуществления приемника 900 для использования с передатчиком 700, показанным на фиг.7. Приемник 900 содержит вход 912, блоки 902b и 902d функции Уолша, умножители Уолша 902а и 902с, канальные умножители 904а-904d, комплексные сумматоры 906а и 906b, мультиплексор 908 и выход 910. Принимаемые входные сигналы принимаются на входе 912 и обрабатываются демодулятором ПВР. Процедуры передачи пилот-каналов и оценки каналов могут быть такими же, как объяснено для случая ПВРП. Блоки 904с и 904b могут быть такими же, как 412а, 412b, описанные на фиг.4 для случая общего пилот-канала без смены фазы. В случае общих пилот-каналов или выделенных пилот-каналов со скачкообразным изменением фазы передачу канальных оценок можно получить от блока 504 канальной оценки, описанного со ссылкой на фиг.5. Эти канальные оценки поступают на демодуляторы ПВР на фиг.9 как h1 и h2. h1 соответствует объединенной канальной оценке от Ант.1, Ант.2 и h2 соответствует объединенной канальной оценке от Ант.3, Ант.4. После ПВР-демодуляции с использованием 902a,b,c,d и 904a,b,c,d и 906а,b, на выходе 908 получается ПВР-демодулированный сигнал, подлежащий передаче в блок 512 объединителя отводов, обращенного перемежителя и канального декодера, указанного на фиг.5.
Предложенное изобретение можно также реализовать в варианте осуществления ортогонально разнесенной передачи (ОРП) изобретения. На фиг.8 изображена блок-схема фрагментов передатчика 800 ОРП, соответствующего варианту осуществления изобретения. Передатчик 800 содержит вход 822, канальный кодер 820, блоки 802а-802d повторения символов, блоки 804а и 804b функции Уолша, умножители Уолша 806а-806d, комплексные сумматоры 808а-808b, комплексные умножители 810а и 810b, ВЧ-передатчики 812а-812d. Передатчик является вариантом осуществления с ортогональным разнесением передачи (ОРП) передатчика 150, показанного на фиг.1а, в котором процессор пространственно-временного блока осуществляет преобразование в пространстве кодов Уолша. Используемую матрицу блочного кода ОРП можно представить в виде:
(4)
Как и в варианте осуществления, представленном на фиг.1а, каждая строка матрицы и ее сдвинутая по фазе версия передаются с раздельных антенн Ант.1-Ант.4. Символы данных поступают на передатчик 800 со входа 822 канального кодера 820. Канальный кодер 820 кодирует, перфорирует (покалывает), перемежает и форматирует входные символы данных и через раз выводит выходной символ S1 кодера как четные данные и через раз – выходной символ S2 кодера как нечетные данные. Четные данные поступают для обработки на блоки 802а и 802b повторения символа, блок 804а функции Уолша, умножители Уолша 806a и 806b комплексный сумматор 808а. Нечетные данные поступают для обработки на блоки 802c и 802d повторения символа, блок 804b функции Уолша, умножители Уолша 806c и 806d и комплексный сумматор 808b. Результат на выходе комплексного сумматора 808а представляет собой , и результат на выходе комплексного сумматора 808b представляет собой . поступает на комплексный умножитель 818а для генерации и поступает на комплексный умножитель 818b для генерации Затем поступает на ВЧ-передатчик 812а для передачи с Ант.1, поступает на ВЧ-передатчик 812b для передачи с Ант.2, поступает на ВЧ-передатчик 812c для передачи с Ант.3, и поступает на ВЧ-передатчик 714d для передачи с Ант.4.
На фиг.10 показана блок-схема фрагментов варианта осуществления приемника 1000 для использования с передатчиком 800, показанным на фиг.8. Приемник 1000 содержит вход 1010, блоки 1002а и 1002b функции Уолша, умножители Уолша 1010а и 1010b, умножители 1004а и 1004b, мультиплексор 1006 и выход 1008. Принимаемые входные сигналы принимаются на входе 1010 и обрабатываются демодулятором ОРП 1000 на основании известных канальных коэффициентов h1* и h2*. Канальные коэффициенты h1 и h2 для этого блока ОРП получают таким же образом, как объяснено на фиг.4 и фиг.5. Демодулятор ОРП 1000 реализован с использованием 1010, 1010а,b и 1012а,b и 1004а,b и 1006. ОРП-демодулированный выход 1008 поступает на блок 512 объединителя отводов, обращенного перемежителя и канального декодера, указанного на фиг.5.
Вариант осуществления, представленный на фиг.1, можно также реализовать в передатчике МДВР для работы в системе EDGE (электронной аппаратуры сбора данных). На фиг.11 показана блок-схема фрагментов передатчика длинного ПВ блочного кода, соответствующего варианту осуществления изобретения. Передатчик 1100 содержит вход 1118, 1120, входы 1116а-1116d отвода для обработки потока символов, блоки 1102 и 1104 обращения времени, блоки 1106а и 1106b комплексного сопряжения, умножитель 1108, фазовые умножители 1110а и 1110b, блоки 1112а и 1112b управления фазовым умножителем и антенны Ант.1, Ант.2, Ант.3 и Ант.4. Канальный кодер 1120 кодирует, перфорирует, перемежает и форматирует поток символов, принимаемый на входе 1118. Канальный кодер 1120 также расщепляет входной поток символов на потоки четных и нечетных данных. Поток четных данных поступает на вход 1116а отвода и ВЧ-передатчик 1122а для передачи с Ант.1 в течение первой половины пакета данных, и поток нечетных данных поступает на вход 1116с отвода и ВЧ-передатчик 1122с для передачи с Ант.2 в течение первой половины пакета данных. В течение второй половины пакета данных поток четных данных поступает на вход 1116b отвода, подвергается обращению по времени в блоке 1102 обращения времени, комплексному сопряжению в блоке 1106а комплексного сопряжения и поступает на ВЧ-передатчик 1122с для передачи с Ант.3. Поток нечетных данных поступает на вход 1116d отвода, подвергается обращению по времени в блоке 1104 обращения времени, комплексному сопряжению в блоке 1106b комплексного сопряжения, умножается на -1 в умножителе 1108 и поступает на ВЧ-передатчик 1122d для передачи с Ант.4 в течение второй половины пакета данных. Обучающая последовательность SEQ1 вводится в середину пакета, передаваемого с Ант.1, и обучающая последовательность SEQ2 вводится в середину пакета, передаваемого с Ант.2. Фазовые умножители 1112а и 1112b сдвигают по фазе входные сигналы ВЧ-передатчиков 1122b и 1122d с использованием блоков умножения 1110а и 1110b соответственно. Выходной сигнал фазового умножителя 1112а поступает на ВЧ-передатчик 1122b для передачи с Ант.2, и выходной сигнал фазового умножителя 1112b поступает на ВЧ-передатчик 1122d для передачи с Ант.4. ВЧ-передатчики могут осуществлять формирование импульсов базовой полосы, модуляцию и преобразование на несущую частоту. В некоторых реализациях можно по выбору применять фазовое умножение после этапов формирования импульсов базовой полосы и модуляции.
Сдвиг фазы, применяемый в фазовых умножителях 1122а и 1122b, остается постоянным на длине пакета, но фаза меняется от пакета к пакету. Фаза может меняться периодически или случайно на основании диаграммы МФМн, как было объяснено выше. Согласно предпочтительному варианту осуществления, сдвиг фазы на Ант.4 остается равным сдвигу фазы на Ант.2 со сдвигом на 180 градусов или умножением на -1. Фазовое умножение можно производить до или после формирования импульсов базовой полосы. В качестве альтернативы варианту осуществления, представленному на фиг.11, передача с Ант.1 и Ант.3 может быть чередующейся.
В EDGE можно также применять несколько модифицированный передатчик, показанный на фиг.3. Применительно к EDGE пространственно-временной блок, обозначенный позицией 316, применяется не посимвольно, а поблочно. Длину блока можно выбирать равной первой половине пакета. В EDGE длина первой половины и второй половины пакетов равна 58 символов. В этом случае, S1 и S2 обозначают блоки символов, и ()* обозначает обращение по времени блока символов и операцию комплексного сопряжения. S1* обозначает обращенный по времени и комплексно сопряженный блок символов S1. -S2* обозначает обращенный по времени, комплексно сопряженный и умноженный на -1 блок символов S2. В качестве пилот-последовательностей U1 и U2 можно выбирать две обучающие последовательности, например, общеизвестные последовательности CAZAC. Коды расширения 308a,b,c,d в EGDE не применяются. Блоки 306а и 306b фазового умножения сохраняются.
Приемник, разработанный для 2-антенного пространственно-временного блочного кода, можно использовать в качестве приемника для вариантов осуществления, представленных на фиг.1 или фиг.2.
Из вышеприведенных описания и вариантов осуществления специалисты в данной области могут понять, что, хотя способ и устройство, соответствующие настоящему изобретению, проиллюстрированы и описаны в отношении конкретных вариантов его осуществления, описанные варианты осуществления допускают многочисленные модификации и замены и можно реализовать многочисленные другие варианты осуществления изобретения без изменения сущности и объема изобретения, определяемых формулой изобретения.
Формула изобретения
1. Способ передачи сигнала с множества антенн, заключающийся в том, что
принимают поток символов в передатчике,
осуществляют преобразование входного потока символов для генерации результата преобразования, содержащего ортогональный пространственно-временной блочный код N×N’, и генерируют N первых сигналов, где N – количество траекторий передачи, N’ – количество выходных символов на траекторию передачи,
осуществляют ненулевое комплексное взвешивание во времени, по меньшей мере, одного из N первых сигналов результата преобразования для формирования, по меньшей мере, одного второго сигнала, причем каждый из, по меньшей мере, одного второго сигнала сдвинут по фазе относительно одного из N первых сигналов, из которого он сформирован, при этом ненулевое комплексное взвешивание включает в себя сдвиг по фазе, по меньшей мере, одного из N первых сигналов посредством, по меньшей мере, первой заданной последовательности скачкообразного изменения фазы, причем весовые коэффициенты скачкообразного изменения для заданной последовательности скачкообразного изменения фазы получены из диаграммы фазовой манипуляции (ФМн), имеющей 8 состояний, и заданная последовательность скачкообразного изменения фазы в градусах представляет собой (0, 135, 270, 45, 180, 315, 90, 225), и передают по существу одновременно каждый из N первых сигналов результата преобразования с первой, по меньшей мере одной, антенны и каждый из, по меньшей мере, одного второго сигнала со второй, по меньшей мере одной, антенны, причем упомянутые N первых сигналов и упомянутый, по меньшей мере, один второй сигнал вместе образуют М сигналов, где М больше N.
2. Способ по п.1, отличающийся тем, что, по меньшей мере, один второй сигнал, сдвинутый по фазе относительно одного из N первых сигналов, из которого он был сформирован на этапе ненулевого комплексного взвешивания, содержит первый из второго сигнала и, по меньшей мере, второй из второго сигнала, причем, по меньшей мере, первая заданная последовательность скачкообразного изменения фазы включает в себя первую заданную последовательность скачкообразного изменения фазы в градусах (0, 135, 270, 45, 180, 315, 90, 225) и, по меньшей мере, вторую заданную последовательность скачкообразного изменения фазы, причем вторая заданная последовательность скачкообразного изменения фазы в градусах представляет собой (180, 315,90, 225, 0, 135, 270, 45).
3. Способ по п.2, отличающийся тем, что первый из второго сигнала сдвинут по фазе посредством первой заданной последовательности скачкообразного изменения фазы, а второй из второго сигнала сдвинут по фазе посредством второй заданной последовательности скачкообразного изменения фазы.
4. Способ по п.3, отличающийся тем, что скачки фазового сдвига первой заданной последовательности скачкообразного изменения фазы и второй заданной последовательности скачкообразного изменения фазы, посредством которых первый и второй сигналы упомянутых вторых сигналов соответственно сдвигаются по фазе на этапе ненулевого комплексного взвешивания, следуют с последовательными выбранными интервалами.
5. Способ по п.4, отличающийся тем, что последовательные выбранные интервалы, с которыми следуют скачки фазовых сдвигов первой и второй заданных последовательностей скачкообразного изменения фазы, сдвигающих по фазе первый и второй из вторых сигналов, содержат периодические интервалы.
6. Способ по п.3, отличающийся тем, что скачки фазовых сдвигов первой заданной последовательности скачкообразного изменения фазы и второй заданной последовательности скачкообразного изменения фазы, посредством которых первый и второй сигналы из вторых сигналов соответственно сдвигаются по фазе на этапе ненулевого комплексного взвешивания, следуют со случайными интервалами.
7. Способ по п.1, отличающийся тем, что скачки фазовых сдвигов заданной последовательности скачкообразного изменения фазы, посредством которой, по меньшей мере, один из вторых сигналов сдвигается по фазе на этапе ненулевого комплексного взвешивания, следуют с последовательными выбранными интервалами.
8. Способ по п.7, отличающийся тем, что последовательные выбранные интервалы, с которыми следуют скачки фазовых сдвигов заданной последовательности скачкообразного изменения фазы, сдвигающей по фазе, по меньшей мере, один второй сигнал, содержат периодические интервалы.
9. Способ по по.1, отличающийся тем, что скачки фазовых сдвигов заданной последовательности скачкообразного изменения фазы, посредством которой, по меньшей мере, один второй сигнал сдвигаются по фазе на этапе ненулевого комплексного взвешивания, следуют со случайными интервалами.
10. Устройство для передачи сигнала, содержащее
процессор для выполнения преобразования входного потока символов для генерации результата преобразования, содержащего ортогональный пространственно-временной блочный код N×N’, и генерирования N первых сигналов, где N – количество траекторий передачи, N’ – количество выходных символов на траекторию передачи,
по меньшей мере, одно устройство взвешивания для ненулевого комплексного взвешивания во времени, по меньшей мере, одного из N первых сигналов результата преобразования для формирования, по меньшей мере, одного второго сигнала, причем каждый из, по меньшей мере, одного второго взвешенного сигнала сдвинут по фазе относительно одного из N первых сигналов, из которого он сформирован, при этом ненулевое комплексное взвешивание включает в себя сдвиг по фазе, по меньшей мере, одного из N первых сигналов в соответствии с, по меньшей мере, первой заданной последовательностью скачкообразного изменения фазы, причем весовые коэффициенты скачкообразного изменения фазы для последовательности скачкообразного изменения фазы получены из диаграммы фазовой манипуляции (ФМн), имеющей 8 состояний, и заданная последовательность скачкообразного изменения фазы в градусах представляет собой (0, 135, 270, 45, 180, 315, 90, 225), и
передатчик для передачи по существу одновременно каждого из N первых сигналов результата преобразования с первой, по меньшей мере, одной антенны и каждого из, по меньшей мере, одного второго сигнала со второй, по меньшей мере, одной антенны, причем упомянутые N первых сигналов и упомянутый, по меньшей мере, один второй сигнал вместе образуют М сигналов, где М больше N.
11. Устройство по п.10, отличающееся тем, что, по меньшей мере, один второй сигнал, сдвинутый по фазе относительно одного из N первых сигналов, из которого он был сформирован посредством, по меньшей мере, одного устройства взвешивания, содержит первый из второго сигнала и, по меньшей мере, второй из второго сигнала, причем, по меньшей мере, первая заданная последовательность скачкообразного изменения фазы включает в себя первую заданную последовательность скачкообразного изменения фазы в градусах (0, 135, 270, 45, 180, 315, 90, 225) и, по меньшей мере, вторую заданную последовательность скачкообразного изменения фазы, причем вторая заданная последовательность скачкообразного изменения фазы в градусах представляет собой (180, 315, 90, 225, 0, 135, 270, 45).
12. Устройство по п.11, отличающееся тем, что первый из второго сигнала сдвинут по фазе посредством первой заданной последовательности скачкообразного изменения фазы, а второй из второго сигнала сдвинут по фазе посредством второй заданной последовательности скачкообразного изменения фазы.
13. Устройство по п.12, отличающееся тем, что скачки фазового сдвига первой заданной последовательности скачкообразного изменения фазы и второй заданной последовательности скачкообразного изменения фазы, с использованием которых первый и второй из вторых сигналов соответственно сдвигаются по фазе посредством, по меньшей мере, одного устройства взвешивания, следуют с последовательными выбранными интервалами.
14. Устройство по п.13, отличающееся тем, что последовательные выбранные интервалы, с которыми следуют скачки фазовых сдвигов первой и второй заданных последовательностей скачкообразного изменения фазы, сдвигающих по фазе первый и второй из вторых сигналов, содержат периодические интервалы.
15. Устройство по п.12, отличающееся тем, что скачки фазовых сдвигов первой заданной последовательности скачкообразного изменения фазы и второй заданной последовательности скачкообразного изменения фазы, с использованием которых первый и второй из вторых сигналов соответственно сдвигаются по фазе посредством, по меньшей мере, одного устройства взвешивания, следуют со случайными интервалами.
16. Устройство по п.11, отличающееся тем, что, по меньшей мере, одно устройство взвешивания содержит первое устройство взвешивания для ненулевого комплексного взвешивания первого из первого из N первых сигналов, генерируемых процессором, и, по меньшей мере, второе устройство взвешивания для ненулевого комплексного взвешивания второго из первого из N первых сигналов, генерируемых процессором.
17. Устройство по п.16, отличающееся тем, что первое устройство взвешивания сдвигает по фазе первый из первого сигнала посредством первой заданной последовательности скачкообразного изменения фазы, а второе устройство взвешивания сдвигает по фазе второй из первого сигнала посредством второй заданной последовательности скачкообразного изменения фазы.
18. Устройство по п.10, отличающееся тем, что скачки фазовых сдвигов заданной последовательности скачкообразного изменения фазы, с использованием которой, по меньшей мере, один второй сигнал сдвигается по фазе посредством, по меньшей мере, одного устройства взвешивания, следуют с последовательно выбранными интервалами.
19. Устройство по п.18, отличающееся тем, что последовательные выбранные интервалы, с которыми последовательно повторяются скачки фазовых сдвигов заданной последовательности скачкообразного изменения фазы, сдвигающей по фазе, по меньшей мере, один второй сигнал, содержат периодические интервалы.
20. Устройство по п.10, отличающееся тем, что скачки фазовых сдвигов заданной последовательности скачкообразного изменения фазы, с использованием которой, по меньшей мере, один второй из второго сигнала сдвигается по фазе посредством, по меньшей мере, одного устройства взвешивания, следуют со случайными интервалами.
РИСУНКИ
|
|