|
|
(21), (22) Заявка: 2004118071/09, 16.11.2001
(24) Дата начала отсчета срока действия патента:
16.11.2001
(43) Дата публикации заявки: 10.01.2006
(45) Опубликовано: 10.05.2006
(56) Список документов, цитированных в отчете о поиске:
WO 0141324 А, 07.06.2001. RU 2172077 A1, 10.08.2001. WO 9963427 A, 09.12.1999. ЕР 1081924 А, 07.03.2001.
(85) Дата перевода заявки PCT на национальную фазу:
16.06.2004
(86) Заявка PCT:
CH 01/00677 (16.11.2001)
(87) Публикация PCT:
WO 03/043298 (22.05.2003)
Адрес для переписки:
129010, Москва, ул. Б. Спасская, 25, стр.3, ООО “Юридическая фирма Городисский и Партнеры”, пат.пов. Ю.Д.Кузнецову, рег.№ 595
|
(72) Автор(ы):
ПИТУ Фредерик (CH), ШЕНКЕР Рольф (CH), ФРИДЕРИХ Ханс (CH)
(73) Патентообладатель(и):
СВИССКОМ ФИКСНЕТ АГ (CH)
|
(54) СПОСОБ И УСТРОЙСТВО ДЛЯ КЛАССИФИКАЦИИ СЕТЕВЫХ СОЕДИНЕНИЙ
(57) Реферат:
Изобретение относится к системе связи и может использоваться для классификации соединений. Технический результат состоит в осуществлении возможности быстро и гибко определять параметры качества обслуживания. Для этого в способе и устройстве посредством вычислительного блока определяют один или несколько коэффициентов расстояния, причем коэффициенты расстояния указывают эффективную длину сетевого соединения в зависимости от расстояния по воздуху. На основе известных данных о сетевых соединениях определяют коэффициент распределения ослаблений, указывающий на отношение друг к другу ослаблений различных участков сетевого соединения. Определяют запас ресурсов передачи данных для определения максимальных пропускных способностей передачи данных для различных типов модемов. На основе эффективной длины сетевого соединения, коэффициента распределения ослаблений и запасов ресурсов передачи данных посредством вычислительного блока осуществляют классификацию (классифицируемого сетевого соединения в соответствии с его максимальной пропускной способностью передачи данных. 3 н. и 25 з.п. ф-лы, 9 ил.
Настоящее изобретение относится к способу и системе для классификации сетевых соединений, причем в указанных способе и системе географические координаты начала и конца классифицируемого сетевого соединения между передатчиком и приемником известны. В особенности способ касается сетей, использующих кабельные соединения с медными жилами.
Традиционные услуги телефонной связи, такие как обозначаемые термином POTS (обычная телефонная сеть), соединяют традиционным образом жилые помещения и малые предприятия с распределительной станцией провайдера телефонной сети по медным проводам, которые свиты друг c другом и называются скрученной парой. Они первоначально предназначались для того, чтобы обеспечивать передачу аналоговых сигналов, в частности, тональных и речевых передач. Однако эти требования позже с приходом технологии Интернет и связанной с этим передачей потоков данных изменились и стремительно продолжают изменяться в настоящее время вследствие потребности в обеспечении возможности работы в реальном времен и с использованием мультимедийных приложений как в домашних условиях, так и на работе.
Сети передачи данных, например интранет и Интернет, основываются в значительной степени на так называемых совместно используемых средах передачи, например, на технологиях пакетно-ориентированных локальных сетей (LAN) или сетей широкого охвата (WAN), как для широкополосных магистралей сети между коммутаторами и шлюзами, так и локальных сетевых соединений с полосами пропускания меньшей ширины. Широко распространено использование систем управления пакетами, таких как мосты (устройства сопряжения локальных сетей) или маршрутизаторы, чтобы обеспечивать соединение локальных сетей с Интернет. Интернет-маршрутизатор должен иметь возможность передавать пакеты на основе самых различных протоколов, таких как IP (Интернет-протокол), IPX (межсетевой пакетный обмен), DECNET (протокол сетевой архитектуры компании DEC), ApplTALK (стек сетевых протоколов фирмы Apple), OSI (взаимодействие открытых систем), SNA (системная сетевая архитектура компании IBM) и т.д. Интеграция таких сетей в целях маршрутизации пакетов в глобальном масштабе является проблемой как для поставщиков услуг (провайдеров), так и для изготовителей необходимых аппаратных средств.
Наиболее употребительные системы локальных сетей (LAN) работают относительно хорошо при скоростях передачи данных порядка 100 Мбит/с. При скоростях передачи выше 100 Мбит/с в большинстве современных сетей ресурсов сетевых администраторов, таких как коммутаторов пакетов, недостаточно для управления распределением ширины полосы и доступом пользователей. Разумеется, полезность пакетно-ориентированных сетей для передачи цифровой информации, особенно при кратковременных импульсных передачах, уже давно признана. Такие сети обычно имеют структуру «из точки к точке» (двухточечную структуру соединений), причем пакет направляется от одного единственного отправителя к одному единственному получателю, при этом каждый пакет включает в себя, по меньшей мере, целевой адрес (адрес получателя). Типовой пример этого представляет известный IP-заголовок IP-пакета данных. Сеть реагирует на пакет данных тем, что направляет пакет на адрес соответствующего заголовка. Пакетно-ориентированные сети могут также служить для того, чтобы передавать типы данных, которым необходим непрерывный поток данных, как, например, тональные и аудиопередачи с высоким качеством или видеопередачи. Коммерческое использование сетей делает особенно желательным, чтобы пакетно-ориентированная передача одновременно была возможна и к множеству пунктов назначения. Примером этого может служить так называемая пакетная трансляция для передачи видео- и аудиоданных. Таким образом может быть реализовано платное телевидение, то есть платная трансляция передач видеоданных по сети.
Однако в приложениях следующего поколения, таких как приложения реального времени и мультимедийные приложения с их еще более высокими потребностями в ширине полосы, которая должна быть гарантирована в каждый момент времени, пакетно-ориентированные сети наталкиваются на ограничения. Так следующее поколение сетей должно иметь возможность динамически изменять конфигурацию сетей, чтобы постоянно гарантировать пользователю предварительно определенную ширину полосы для требуемых или согласованных параметров качества (QoS – качество обслуживания). Такие параметры качества включают в себя, например, гарантию доступа, производительность доступа, допуск на ошибки, надежность передачи данных и т.д. между всеми возможными оконечными системами. Новые технологии, такие как режим асинхронной передачи (АТМ), должны при этом способствовать тому, чтобы в долговременном развитии сетей создать требуемые предпосылки как для частной сети интранет, так и для сети открытого доступа Интернет. Эти технологии обещают более экономичное и масштабируемое решение для таких гарантированных за счет параметров QoS высококачественных соединений.
Изменение будущих систем затронет, в частности, и поток данных. Поток данных в настоящее время основывается на модели сервер-клиент, то есть данные от множества клиентов передаются к одному или нескольким или от одного или нескольких сетевых серверов. Клиенты обычно не создают прямого соединения передачи данных, а осуществляют связь друг с другом через сетевые серверы. Данный тип соединения будет иметь свое значение и в будущем. Несмотря на это, следует ожидать, что объем данных, передаваемый между одноранговыми узлами, в будущем сильно возрастет. Так как конечной целью сетей, чтобы удовлетворить предъявляемые требования, будет действительно децентрализованная структура, в которой все системы будут иметь возможность действовать как сервер и как клиент, то поток данных по соединениям между одноранговыми узлами возрастет. Тем самым сеть должна будет создавать больше прямых соединений с различными одноранговыми узлами, причем, например, настольные компьютеры будут осуществлять прямые соединения через магистральные сети Интернет.
Таким образом, ясно, что для перспективных приложений все более важным становится обеспечение возможности гарантировать пользователю предварительно определенные параметры QoS и большие значения ширины полосы.
Для передачи данных к конечному пользователю, в частности, используется традиционная телефонная сеть общего пользования (PTSN) и/или мобильная наземная сеть общего доступа (PLMN), которые первоначально были разработаны для передачи только тональных сигналов, а не для передачи таких объемов цифровых данных. При этом при определении параметров QoS, которые провайдер или поставщик услуг телефонной связи может гарантировать пользователю, решающую роль играет так называемая «последняя миля». Этим термином определено расстояние между последней распределительной станцией телефонной сети общего пользования и конечным пользователем. Эта последняя миля в отдельных случаях образована высокопроизводительными стекловолоконными кабелями, однако чаще всего основывается на обычных кабелях с медными жилами, как, например, кабель с диаметром жил 0,4 или 0,6 мм. К тому же кабели не везде проложены под землей в защищенном кабелепроводе, а существуют и участки их прокладки над местностью на телефонных столбах и т.п. Следствием этого являются дополнительные помехи.
Дополнительной проблемой при определении максимального параметра QoS является так называемая проблематика перекрестных помех. Эта проблема возникает при модуляции сигнала на участке, например, от конечного пользователя до распределительной станции провайдера телефонных услуг и обратно. Для модуляции цифровых сигналов в уровне техники известны, например, технологии xDSL (цифровая абонентская линия), такие как ADSL (асимметричная цифровая абонентская линия), SDSL (симметричная цифровая абонентская линия), HDSL (высокоскоростная цифровая абонентская линия) или VDSL (сверхвысокоскоростная цифровая абонентская линия). Упомянутая перекрестная помеха представляет собой физическое явление, которое проявляется при модуляции данных, передаваемых по медному кабелю. Расположенные рядом жилы внутри одного медного кабеля получают за счет электромагнитного взаимодействия парные составляющие сигналов, которые вырабатываются модемом. Это приводит к тому, что модемы xDSL, осуществляющие передачу по смежным жилам кабеля, создают взаимные помехи. Различают перекрестную помеху ближнего конца (NEXT), которая относится к непреднамеренному вводу сигналов передатчика на одном конце в сигналы в приемнике на том же конце, и перекрестную помеху дальнего конца (FEXT), которая относится к непреднамеренному вводу сигналов при передаче к приемнику на другом конце, причем сигналы при передаче вводятся в сигналы соседних медных пар и в приемнике проявляются как шумы.
Хотя в настоящее время имеется множество исследований перекрестных помех xDSL, как, например, “Spectral management on metallic access networks; Part 1: Definitions and signal library”, ETSI, TR 101 830, September 2000, вследствие сложности явления перекрестной помехи и остальных параметров шумов в настоящее время имеется мало практичных и технически простых для использования, а также экономичных вспомогательных средств для определения параметров QoS для определенного конечного пользователя в сети. В уровне техники известны системы дистанционного измерения, предложенные различными фирмами, например, Acterna (WG SLK-11/12/22, Eningen u.A, Германия), Trend Communications (LT2000 Line Tester, www.trendcomms.com, Buckinghamshire, Великобритания) и т.д. При этом максимальные скорости передачи данных на последней миле определяются за счет прямых измерений посредством систем дистанционного измерения: цифровой процессор сигналов устанавливается на каждой локальной распределительной станции провайдера сети телефонной связи (например, в Швейцарии несколько тысяч). Посредством цифрового процессора сигналов проводится так называемое «несимметричное измерение», так как у пользователя на другой стороне последней мили не требуется устанавливать никакие приборы. Но принципиально также возможны измерения по принципу «симметричных измерений». Но при этом необходима установка измерительных приборов на обоих концах линии. В опубликованной международной заявке WO 01/41324 А1 (Qwest Communications International Inc.) описан способ классификации сетевых соединений. При этом определяется географическая длина отдельной линии, например, посредством измерения участка трассы, и осуществляется классификация посредством сравнения с известными измерениями сетевых соединений.
Недостатки указанного уровня техники включают, в том числе, высокие затраты, обусловленные необходимой установкой систем дистанционного измерения в каждой локальной распределительной станции, неточно известную неопределенность или неизвестную ошибку при измерении, так как измерения проводятся только с одной стороны (несимметричные измерения), а для определения ошибки потребовалось бы осуществлять двусторонние измерения. Двустороннее измерение было бы нецелесообразным из-за трудовых, временных и финансовых затрат. Кроме того, в уровне техники не известны алгоритмы с аппаратной или программной реализацией для расчета или прогнозирования максимально возможных скоростей передачи битов сетевого соединения. Установка систем дистанционного измерения на меньшем количестве центральных распределительных станций вместо локальных оконечных распределительных станций показывает, что измерениям свойственна настолько высокая степень неопределенности, что они не пригодны для определения максимально возможной скорости передачи данных для конкретной линии к оконечному пользователю.
Задачей изобретения является создание нового способа и устройства для классификации сетевых соединений, не имеющих описанных выше недостатков. В особенности, должна быть создана возможность быстро и гибким образом определять параметры качества обслуживания QoS и конкретно максимально гарантируемые скорости передачи данных для определенного пользователя, не требуя несоразмерных технических, трудовых и финансовых затрат. Это должно обеспечиваться и в том случае, когда сеть включает в себя лишь неточно известные сложные структуры соединений, как, например, последняя миля.
В соответствии с изобретением эта задача решается в особенности за счет признаков независимых пунктов формулы изобретения. Предпочтительные варианты осуществления вытекают из зависимых пунктов формулы изобретения и описания.
В особенности указанные результаты достигаются в изобретении тем, что для классификации сетевых соединений, причем географические координаты передатчика и приемника классифицируемого сетевого соединения известны, на основе известных данных сетевого соединения посредством вычислительного блока определяется один или несколько коэффициентов расстояния и полученные данные, соотнесенные с определяемой вероятностью, передаются на носитель данных вычислительного блока, причем коэффициенты расстояния указывают эффективную длину сетевого соединения в зависимости от расстояния по воздуху, а определяемая вероятность того, является ли определенная длина сетевого соединения меньшей или большей, чем ее эффективная сетевая длина, определяется посредством коэффициента надежности, на основе одного или нескольких коэффициентов расстояний, коэффициента надежности и географических координат передатчика и приемника классифицируемого сетевого соединения с помощью вычислительного блока определяется эффективная длина сетевого соединения и передается на носитель данных вычислительного блока в соответствии с классифицируемым сетевым соединением, на основе известных данных сетевого соединения определяется, по меньшей мере, один коэффициент распределения ослаблений и передается на носитель данных вычислительного блока, при этом, по меньшей мере, один коэффициент распределения ослаблений указывает на отношение друг к другу ослаблений различных участков сетевого соединения, определяются запасы ресурсов передачи данных для определения максимальных пропускных способностей передачи данных для различных типов модемов и сохраняются на носителе данных вычислительного блока в соответствии с физической длиной и толщиной кабеля сетевого соединения, причем посредством устройства измерения мощности измеряются энергетические спектры для типов модемов, посредством вычислительного блока на основе энергетических спектров определяются эффективные уровни сигналов и соответствующие уровни шумов и с помощью модуля гауссова преобразования на основе уровней сигналов и уровня шумов для различных модуляций передачи данных и/или модулирующих кодов определяются запасы ресурсов передачи для предварительно определенной скорости передачи битов, и на основе эффективной длины сетевого соединения, коэффициента распределения ослаблений и запасов ресурсов передачи данных посредством вычислительного блока осуществляется классификация классифицируемого сетевого соединения в соответствии с его максимальной пропускной способностью передачи данных. Преимущество изобретения, в том числе, заключается в том, что способ и система впервые обеспечивают простое и быстрое определение запасов ресурсов передачи данных, не требуя больших технических, трудовых и временных затрат. В особенности, можно скорректировать неопределенности за счет упомянутой коррекции, не требуя, как в известных системах дистанционного измерения для измерения запасов ресурсов передачи данных и/или скоростей передачи битов, корректировки в каждой локальной распределительной станции различной, точно не известной неопределенности или неизвестной ошибки, которую за счет односторонних измерений трудно оценить, так как для определения ошибки были бы необходимы двусторонние измерения.
В одном варианте осуществления в качестве коэффициентов расстояния с помощью вычислительного блока определяются коэффициент наклона (угловой коэффициент) и абсцисса, при этом определяется линейная зависимость между расстоянием по воздуху и эффективной длиной сетевого соединения. Этот вариант выполнения имеет, в том числе, преимущество, состоящее в том, что он достаточен для большинства зависимостей сетевых структур и может давать результаты в пределах необходимой точности. Для специалиста это является более чем неожиданным, так как не ожидалось, что для таких сложных зависимостей в пределах желательной точности окажется достаточной линейная функция. В частности, линейные зависимости проще и быстрее определять и обрабатывать, чем нелинейные.
В другом варианте выполнения вычислительный блок определяет коэффициенты расстояния как параметры полинома, по меньшей мере, 2-й степени. Этот вариант выполнения, в числе прочего, имеет то преимущество, что он обеспечивает любую точность в зависимости от порядка применяемого полинома и требуемого максимального отклонения для зависимости между расстоянием по воздуху и эффективной длиной сетевого соединения. Неожиданным при этом явилось то, что по существу не требуются полиномы очень высокого порядка, чтобы удовлетворить требованиям этого способа.
В другом варианте выполнения посредством коэффициента надежности выбрана вероятность в пределах от 0,85 до 0,95. Преимущество этого варианта заключается в том, что допуск на ошибку и максимальное отклонение ограничены точностью, требуемой для данного способа и устройства.
В одном из вариантов выполнения коэффициент надежности имеет значение в пределах от 700 до 800. Единицей измерения для данного варианта является метр. Преимущества этого варианта состоят в том же, что и для предыдущего варианта выполнения.
В еще одном варианте выполнения посредством коэффициента распределения ослаблений определяется линейная зависимость ослаблений относительно друг друга. Этот вариант имеет то преимущество, что он достаточен для большинства зависимостей сетевых структур и может обеспечить результаты в пределах необходимой точности. Для специалиста это является более чем неожиданным, так как не ожидалось, что для таких сложных зависимостей в пределах желательной точности окажется достаточной линейная функция. В частности, линейные зависимости проще и быстрее определять и обрабатывать, чем нелинейные. Этот вариант осуществления особенно подходит для сетей с соединениями, состоящими из двух разных кабелей с различными толщинами жил, например, кабелей с диаметром жил 0,4 мм и 0,6 мм.
В другом варианте осуществления вычислительный блок определяет скорректированные запасы ресурсов передачи данных посредством, по меньшей мере, одного корректирующего коэффициента на основе сохраненных запасов ресурсов передачи данных и сохраняет их в соответствии с физическими длинами и толщинами жил кабелей сетевого соединения, на носителе данных вычислительного блока, причем корректирующий коэффициент включает в себя среднее отклонение сохраненных запасов ресурсов передачи данных относительно эффективных запасов ресурсов передачи данных. Этот вариант выполнения имеет преимущество, заключающееся, в числе прочего, в том, что могут учитываться факторы, которые обуславливают дополнительное отклонение вычисленных запасов ресурсов передачи данных относительно эффективных запасов ресурсов передачи данных. Сюда относятся, например, отклонения, обусловленные качественным или некачественным выполнением модема изготовителем или дополнительными внутренними шумами вследствие шумов дискретизации или некачественным взаимным согласованием блока коррекции.
В еще одном варианте выполнения уровни шумов определяются вычислительным блоком в зависимости, по меньшей мере, от параметров перекрестной помехи и числа источников помех на основе энергетических спектров.
В другом варианте выполнения, по меньшей мере, один корректирующий коэффициент воспроизводит нелинейную зависимость относительно физических длин и/или толщин жил кабелей, то есть корректирующий коэффициент может представлять собой нелинейную функцию, например, функцию полинома, степень которого больше 1. Преимуществом этого варианта выполнения является то, что тем самым имеется возможность учитывать и корректировать более сложные зависимости, чем описываемые линейными корректирующими коэффициентами.
В одном варианте выполнения энергетический спектр измеряется в зависимости от частоты передачи для типов модемов ADSL, и/или SDSL, и/или HDSL, и/или VDSL. Возможные типы модемов SDSL могут при этом включать в себя, по меньшей мере, тип модема G.991.2, и/или типы модемов ADSL могут включать в себя, по меньшей мере, тип модема G.992.2. Посредством модуля гауссова преобразования могут определяться запасы ресурсов передачи данных, по меньшей мере, для модуляций передачи данных вида 2B1Q (2 двоичная, 1 четверичная), и/или CAP (амплитудная/фазовая модуляция без несущей), и/или DMT (цифровая мультитональная), и/или PAM (импульсная амплитудная модуляция). Также посредством модуля гауссова преобразования могут определяться запасы ресурсов передачи данных, по меньшей мере, для кодирования с использованием модуляции решетчатым кодом. Этот вариант выполнения имеет, в числе прочего, преимущество, состоящее в том, что для типов модемов xDSL, при упомянутых модуляциях передачи данных и кодировании с использованием модуляции решетчатым кодом используются обычные стандартные технологии, которые легко доступны на рынке, и применение которых широко распространено как в Европе, так и в США.
В частности, вышеуказанные цели в настоящем изобретении достигаются тем, что для классификации сетевых соединений используются известные географические координаты передатчика и приемника классифицируемого сетевого соединения, на основе известных данных о сетевых соединениях посредством вычислительного блока определяется один или несколько коэффициентов расстояния, и полученные данные, соотнесенные с определяемой вероятностью, переносятся на носитель данных вычислительного блока, причем коэффициенты расстояния указывают эффективную длину сетевого соединения в зависимости от расстояния по воздуху, а определяемая вероятность того, является ли определенная длина сетевого соединения меньшей или большей, чем ее эффективная сетевая длина, определяется посредством коэффициента надежности, на основе коэффициентов расстояний, коэффициента надежности и географических координат передатчика и приемника классифицируемого сетевого соединения с помощью вычислительного блока определяется эффективная длина сетевого соединения и переносится на носитель данных вычислительного блока в соответствии с классифицируемым сетевым соединением, на основе известных данных о сетевых соединениях определяется, по меньшей мере, один коэффициент распределения ослаблений и передается на носитель данных вычислительного блока, при этом, по меньшей мере, один коэффициент распределения ослаблений указывает на отношение друг к другу ослаблений различных участков сетевого соединения, определяются скорости передачи битов для определения максимальных пропускных способностей передачи данных для различных типов модемов и сохраняются на носителе данных вычислительного блока в соответствии с физической длиной и толщиной кабеля сетевого соединения, причем посредством устройства измерения мощности измеряются энергетические спектры для типов модемов, посредством вычислительного блока на основе энергетических спектров определяются эффективные уровни сигналов и соответствующие уровни шумов, и с помощью модуля гауссова преобразования на основе уровней сигналов и уровня шумов для различных модуляций передачи данных и/или модулирующих кодов определяются скорости передачи битов для предварительно определенного запаса ресурсов передачи, и на основе эффективной длины сетевого соединения, коэффициента распределения ослаблений и запасов ресурсов передачи данных посредством вычислительного блока осуществляется классификация классифицируемого сетевого соединения в соответствии с его максимальной пропускной способностью передачи данных. Преимущество данного варианта выполнения, в том числе, заключается в том, что способ и система впервые обеспечивают простое и быстрое определение скорости передачи битов, не требуя больших технических, трудовых и временных затрат. В особенности, можно скорректировать неопределенности за счет упомянутой коррекции, не требуя, как в известных системах, дистанционного измерения для измерения запасов ресурсов передачи данных и/или скоростей передачи битов, корректировки в каждой локальной распределительной станции различной, точно не известной неопределенности или неизвестной ошибки, которую за счет односторонних измерений трудно оценить, так как для определения ошибки были бы необходимы двусторонние измерения.
В одном варианте осуществления в качестве коэффициентов расстояния с помощью вычислительного блока определяются коэффициент наклона (угловой коэффициент) и абсцисса, при этом определяется линейная зависимость между расстоянием по воздуху и эффективной длиной сетевого соединения. Этот вариант выполнения имеет, в том числе, преимущество, состоящее в том, что он достаточен для большинства зависимостей сетевых структур и может давать результаты в пределах необходимой точности. Для специалиста это является более чем неожиданным, так как не ожидалось, что для таких сложных зависимостей в пределах желательной точности окажется достаточной линейная функция. В частности, линейные зависимости проще и быстрее определять и обрабатывать, чем нелинейные.
В другом варианте выполнения вычислительный блок определяет коэффициенты расстояния как параметры полинома, по меньшей мере, 2-й степени. Этот вариант выполнения, в числе прочего, имеет то преимущество, что он обеспечивает любую точность в зависимости от порядка применяемого полинома и требуемого максимального отклонения для зависимости между расстоянием по воздуху и эффективной длиной сетевого соединения. Неожиданным при этом явилось то, что по существу не требуются полиномы очень высокого порядка, чтобы удовлетворить требованиям этого способа.
В другом варианте выполнения посредством коэффициента надежности выбрана вероятность в пределах от 0,85 до 0,95. Преимущество этого варианта заключается в том, что допуск на ошибку и максимальное отклонение ограничены точностью, требуемой для данного способа и устройства.
В одном из вариантов выполнения коэффициент надежности имеет значение в пределах от 700 до 800. Единицей измерения для данного варианта является метр. Преимущества этого варианта состоят в том же, что и для предыдущего варианта выполнения.
В еще одном варианте выполнения посредством коэффициента распределения ослаблений определяется линейная зависимость ослаблений относительно друг друга. Этот вариант имеет то преимущество, что он достаточен для большинства зависимостей сетевых структур и может обеспечить результаты в пределах необходимой точности. Для специалиста это является более чем неожиданным, так как не ожидалось, что для таких сложных зависимостей в пределах желательной точности окажется достаточной линейная функция. В частности, линейные зависимости проще и быстрее определять и обрабатывать, чем нелинейные. Этот вариант осуществления особенно подходит для сетей с соединениями, состоящими из двух разных кабелей с различными толщинами жил, например, кабелей с диаметром жил 0,4 мм и 0,6 мм.
В другом варианте осуществления вычислительный блок определяет скорректированные скорости передачи битов посредством, по меньшей мере, одного корректирующего коэффициента на основе сохраненных скоростей передачи битов и сохраняет их, соотнесенными с соответствующими физическими длинами и толщинами жил кабелей сетевого соединения, на носителе данных вычислительного блока, причем корректирующий коэффициент включает в себя среднее отклонение сохраненных скоростей передачи битов относительно эффективных скоростей передачи битов. Этот вариант выполнения имеет преимущество, заключающееся, в числе прочего, в том, что могут учитываться факторы, которые обуславливают дополнительное отклонение вычисленных скоростей передачи битов относительно эффективных скоростей передачи битов. Сюда относятся, например, отклонения, обусловленные качественным или некачественным выполнением модема изготовителем или дополнительными внутренними шумами вследствие шумов дискретизации (аналого-цифрового преобразования) или некачественным взаимным согласованием блока коррекции.
В одном варианте выполнения энергетический спектр измеряется в зависимости от частоты передачи для типов модемов ADSL, и/или SDSL, и/или HDSL, и/или VDSL. Возможные типы модемов SDSL могут при этом включать в себя, по меньшей мере, тип модема G.991.2, и/или типы модемов ADSL могут включать в себя, по меньшей мере, тип модема G.992.2. Посредством модуля гауссова преобразования могут определяться запасы ресурсов передачи данных, по меньшей мере, для модуляций передачи данных вида 2B1Q, и/или CAP, и/или DMT, и/или PAM. Также посредством модуля гауссова преобразования могут определяться запасы ресурсов передачи данных, по меньшей мере, для кодирования с использованием модуляции решетчатым кодом. Этот вариант выполнения имеет, в числе прочего, преимущество, состоящее в том, что для типов модемов xDSL, при упомянутых модуляциях передачи данных и кодировании с использованием модуляции решетчатым кодом используются обычные стандартные технологии, которые легко доступны на рынке, и применение которых широко распространено как в Европе, так и в США.
В другом варианте выполнения, по меньшей мере, один корректирующий коэффициент воспроизводит нелинейную зависимость относительно физических длин и/или толщин жил кабелей, то есть корректирующий коэффициент может представлять собой нелинейную функцию, например, функцию полинома, степень которого больше 1. Преимуществом этого варианта выполнения является то, что тем самым имеется возможность учитывать и корректировать более сложные зависимости, чем описываемые линейными корректирующими коэффициентами.
Еще в одном варианте выполнения посредством модуля гауссова преобразования определяют скорости передачи битов для запасов ресурсов передачи данных между 3 и 9 дБ. Этот вариант выполнения, в числе прочего, имеет преимущество, состоящее в том, что диапазон между 3 и 9 дБ обеспечивает прием с параметром QoS, удовлетворяющим большинству требований. В частности, указанный диапазон запасов ресурсов передачи данных между 3 и 9 дБ обеспечивает оптимизацию скорости передачи битов по отношению к другим параметрам QoS.
Еще в одном варианте выполнения посредством модуля гауссова преобразования определяют скорости передачи битов для запаса ресурсов передачи данных 6 дБ. Этот вариант выполнения, в числе прочего, имеет те же преимущества, что и в предыдущем описанном варианте выполнения. В частности, указанный запас ресурсов передачи данных 6 дБ обеспечивает оптимизацию скорости передачи битов по отношению к другим параметрам QoS.
Кроме того, следует отметить, что заявленное изобретение, наряду со способом, соответствующим изобретению, также относится к устройству для осуществления этого способа.
Ниже на примерах описаны варианты выполнения заявленного изобретения. Примеры выполнения проиллюстрированы чертежами, на которых представлено следующее:
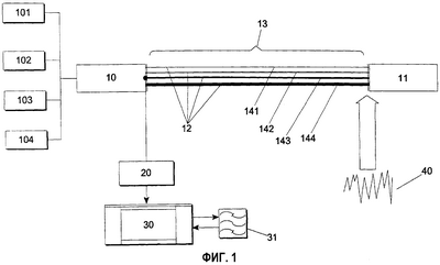
Фиг. 1 – блок-схема, показывающая архитектуру варианта выполнения соответствующей изобретению системы для определения запасов ресурсов передачи данных или скоростей передачи битов для сетевого соединения 12 с определенной физической длиной 13 между передатчиком 10 и приемником 11.
Фиг. 2 – схематичное представление перекрестной помехи с перекрестной помехой ближнего конца (NEXT) 51, которая относится к непреднамеренному вводу сигналов 50 передатчика 10 на одном конце в сигналы 50 в приемнике 11 на том же конце, и перекрестной помехой дальнего конца (FEXT) 52, которая относится к непреднамеренному вводу сигналов 50 при передаче к приемнику 11 на другом конце, причем сигналы 50 при передаче вводятся в сигналы 50 соседних медных пар и в приемнике 11 проявляются как шумы.
Фиг. 3 – схематичное представление участка передачи сетевого соединения в зависимости от скорости передачи (скорости передачи битов) для модемов ADSL, как она может быть получена с помощью соответствующей изобретению системы. Ссылочные позиции 60 и 61 обозначают различные условия шумов.
Фиг. 4 – схематичное представление так называемой «последней мили» телефонной сети общего пользования (PSTN), существующей в типовом случае между конечным пользователем дома с сетью, которая должна быть доступной через телефонную сеть общего пользования.
Фиг. 5 – диаграмма примера выборки данных для существующей сети, причем выборка данных включает в себя 200000 измеренных сетевых соединений последней мили телефонной сети.
Фиг. 6 – диаграмма среднего отклонения эффективной длины De сетевого соединения от вычисленной длины Da сетевого соединения. Ось Х указывает среднее отклонение D в метрах, а ось Y – величину применяемой выборки данных, то есть число N известных сетевых соединений.
Фиг. 7 – схематичное представление отношения R1 медного кабеля t1 с диаметром жил 0,4 мм к медному кабелю t2 с диаметром жил 0,6 мм на последней миле в телефонной сети общего пользования. Ось Х указывает эффективную длину De сетевого соединения, то есть ее физическую длину, а ось Y – доли Rt соответствующего типа кабеля в процентах.
Фиг. 8 – диаграмма примера определения 2011/2012 одного или нескольких коэффициентов расстояния, а также коэффициента надежности. По аналогии с фиг. 5, ось Х указывает эффективную длину De сетевого соединения в метрах, а ось Y – расстояние по воздуху сетевых соединений Dа, также в метрах.
Фиг. 9 – схема последовательности операций заявленного способа. Четырехзначные ссылочные позиции относятся соответственно к фиг. 9.
На фиг. 1 представлена архитектура, которая может быть использована для осуществления изобретения. В этом примере выполнения для способа и устройства для классификации сетевых соединений географические координаты передатчика 10 и приемника 11 классифицируемого сетевого соединения 12 известны (блок 1000 на фиг. 9). Координаты могут, например, указывать с достаточной точностью градусы долготы и широты, но могут использоваться и другие координаты или данные местоположения для обозначения относительного географического положения передатчика 10 и приемника 11. Например, чтобы иметь возможность определения того, функционирует ли для некоторого подключения определенное сетевое соединение, например, соединение xDSL, нужно знать эффективную длину кабеля с точностью до известного отклонения. На практике с приемлемыми затратами (финансовыми, временными, трудовыми и материальными) может быть определено только расстояние по воздуху. С помощью координатных данных или данных местоположения для относительного географического местоположения передатчика 10 и приемника 11 с помощью вычислительного блока 30 определяется расстояние по воздуху между передатчиком 10 и приемником 11, которое может, например, сохраняться на носителе данных вычислительного блока 30. Вычислительный блок 30 определяет (3010) на основе выборки данных (4010) из известных данных (5000) о сетевых соединениях один или несколько коэффициентов расстояния (2011). Процесс выполнения соответствующего изобретению способа представлен на фиг. 9, к которой относятся приводимые четырехзначные ссылочные позиции. Данные 5000 могут представлять собой, например, экспериментально определенные данные или известные иным образом данные, относящиеся к сетевым соединениям, которые включают в себя расстояние по воздуху и эффективные физические длины этих сетевых соединений. Коэффициенты 2011 расстояний определяются тем самым в зависимости от вероятности, причем вероятность может быть определена, и описывают эффективную длину De сетевого соединения в зависимости от расстояния по воздуху Da. Затем коэффициенты 2011 расстояний, соотнесенные с определяемой вероятностью, могут быть перенесены на носитель данных вычислительного блока 30. В качестве коэффициентов 2011 расстояния с помощью вычислительного блока 30 могут определяться коэффициент наклона (угловой коэффициент) и абсцисса, при этом определяется линейная зависимость между расстоянием по воздуху Da и эффективной длиной De сетевого соединения. Но также можно с помощью вычислительного блока 30 определять коэффициенты 2011 расстояния как параметры полинома 2-й или более высокой степени. Определяемая вероятность, которая может устанавливаться посредством коэффициента 2012 надежности, указывает, является ли вычисленная длина De сетевого соединения меньшей или большей, чем эффективная длина De сетевого соединения. Вероятность может быть выбрана посредством коэффициента надежности в пределах от 0,85 до 0,95. Коэффициент надежности при упомянутом значении вероятности в случае последней мили (описано ниже) имеет, например, значение в пределах от 700 до 800, причем единицей измерения является метр.
На фиг. 5 показан пример выборки данных для существующей сети, причем выборка данных включает в себя 200000 измеренных сетевых соединений последней мили телефонной сети. В этой сети существуют соединения, главным образом, из традиционных телефонных соединений с медным кабелем с диаметрами жил 0,4 мм и 0,6 мм. Пример ясно иллюстрирует корреляцию, хотя ввиду сложности некоторых сетевых структур специалисты ожидали бы более сложную зависимость. Ось Х указывает эффективную длину De сетевого соединения в метрах, а ось Y – расстояние по воздуху сетевых соединений Dа, также в метрах.
На фиг. 8 представлен пример определения одного или нескольких коэффициентов 2011 расстояния, а также коэффициента 2012 надежности. По аналогии с фиг. 5, ось Х указывает эффективную длину De сетевого соединения в метрах, а ось Y – расстояние по воздуху сетевых соединений Dа, также в метрах. Точки данных могут быть выбраны (4010) из выборки данных с известными данными 5000 о сетевых соединениях. Определение коэффициентов 2011 расстояния, а также коэффициента 2012 надежности может происходить, например, посредством модуля подгонки. В этом примере была определена линейная зависимость между расстоянием по воздуху Dа и эффективной длиной De сетевого соединения, причем в качестве коэффициентов 2011 расстояния с помощью вычислительного блока 30 определяется угловой коэффициент а и абсцисса b. Абсцисса b определяется для различных мест подключения (например, город, пригород, сельская местность, горная местность), а также для различных областей подключения (например, главный распределитель, распределительная коробка, переходной пункт и т.д.). Эффективное расстояние получается тогда следующим образом: De=y=aDa+b. Для y примерно 50% вычисленных сетевых соединений короче, чем эффективные сетевые соединения, то есть с вероятностью 0,5. Коэффициент 2012 надежности S также выбирался линейным, то есть как постоянная. Тем самым получается De=ys=aDa+b+S. С помощью S можно определить вероятность того, является ли длина сетевого соединения более короткой или более длинной, чем его эффективная сетевая длина De. В показанном примере при ys согласно фиг. 8 вероятность посредством коэффициента 2012 надежности S устанавливалась на 0,9. В данном примере выполнения для углового коэффициента a=De/Da для последней мили традиционной телефонной сети были найдены следующие значения: для городских условий as=1,27, для условий пригорода av=1,28, для условий сельской местности al=1,30 и для условий горной местности ag=130. Для смешанного блока данных (город, пригород, сельская местность, горная местность) определяется значение aall=1,30. Аналогичным образом получаются значения для bs=200, bv=355, bl=372, bg=391 и ball=328, причем b указывается в метрах. Стандартные отклонения для данного примера выполнения следующие: s=333, v=569, l=682, g=527 и all=598. Стандартное отклонение определяет рассеяние разностей между эффективной длиной сетевого соединения и вычисленной длиной сетевого отклонения. Среднее отклонение в метрах эффективной длины De сетевого соединения от вычисленной длины Da сетевого отклонения приближенно независимо от длины сетевого соединения и показано на фиг. 6 для данного примера выполнения. Ось Х указывает среднее отклонение D в метрах, а ось Y – величину применяемой выборки данных, то есть число N известных сетевых соединений. Чтобы получить вероятность 0,9, это обеспечивается в данном примере выполнения для коэффициента надежности S, например, Ss=360, Sv=640, Sl=850, Sg=670 и Sall=730. Чтобы получить вероятность 0,95, это обеспечивается в данном примере выполнения для коэффициента надежности S, соответственно, Ss=490, Sv=1100, Sl=1330, Sg=930 и Sall=1210.
На основе одного или нескольких коэффициентов расстояния 2011 и коэффициентов 2012 надежности с помощью географических координат передатчика 10 и приемника 11 классифицируемого сетевого соединения 12 вычислительный блок 30 определяет (1010) эффективную длину сетевого соединения, то есть его физическую длину, и переносит ее на носитель данных вычислительного блока 30 в соответствии с классифицируемым сетевым соединением 12. Под физической длиной понимается эффективная длина кабеля, а не, например, длина по воздуху, между передатчиком 10 и приемником 11. Сетевое соединение 12 может состоять из аналоговой среды передачи, например, кабеля с медными проводниками. В этом примере выполнения, например, применялись медные кабели с диаметром жил 0,4 или 0,6 мм, как они типичным образом используются для последней мили телефонной сети общего пользования (PSTN). Последняя миля схематично представлена на фиг. 4. Ссылочная позиция 70 обозначает маршрутизатор к сети, которая связана, например, через 10BT Ethernet 77 и телефонную сеть общего пользования (PSTN) 72 c сервером 71 модемного терминала. Сервер 71 модемного терминала может представлять собой мультиплексор доступа DSL (DSLAM). Как упомянуто, ссылочная позиция 72 обозначает телефонную сеть общего пользования (PSTN), к которой сервер 71 модемного терминала подключен, например, стекловолоконным кабелем 78. Кроме того, телефонная сеть 79 общего пользования и, соответственно, сервер 71 модемного терминала в типовом случае через кабель 79 с медными жилами через телефонную коробку 73 соединены с модемом 74 персонального компьютера (ПК) 75. Ссылочная позиция 79 при этом относится к упомянутой так называемой «последней миле» от распределительной станции провайдера телефонной сети до конечного пользователя. Конечный пользователь 76 тем самым может с помощью своего ПК получать непосредственный доступ к маршрутизатору 70 посредством описанного соединения. Наиболее употребительные телефонные провода могут состоять, например, из пары медных проводов 2-2400. Но могут применяться и другие аналоговые среды передачи, в особенности медный кабель, например, с другими диаметрами жил. Необходимо указать на то, что сетевые соединения 12 могут не только иметь соответственно различные диаметры или толщины 114, 142, 143, 144, но и что отдельное сетевое соединение может состоять из комбинации кабелей с различными диаметрами или толщинами жил, то есть что сетевое соединение включает в себя несколько отдельных кабелей с различными толщинами жил.
Если сеть состоит из комбинации кабелей с различными диаметрами или толщинами жил, то на основе выборки данных 4020, выбранной из известных данных 5000 о сетевых соединениях, определяется (3020), по меньшей мере, один коэффициент 2020 распределения ослаблений, который переносится на носитель данных вычислительного блока 30, причем, по меньшей мере, один коэффициент 2020 распределения ослаблений указывает на соотношение ослаблений различных участков сетевого соединения. Коэффициент 2020 распределения ослаблений может определяться как линейный коэффициент. По меньшей мере, один коэффициент 2020 распределения ослаблений при необходимости может включать в себя и нелинейную зависимость. В этом примере выполнения сетевые соединения включают в себя медные кабели с диаметром жил 0,4 или 0,6 мм, как они типичным образом используются для последней мили. Так как применяются только два типа кабелей, то достаточно определение только одного коэффициента 2020 распределения ослаблений. Соединительные кабели проявляют, в соответствии со своими различными диаметрами, различные электрические свойства и различные ослабления. Поэтому для данного способа важно, чтобы, по меньшей мере, соотношение долей медного кабеля с диаметром жил 0,4 мм и медного кабеля с диаметром жил 0,6 мм для конкретного сетевого соединения было известно с требуемой точностью. Телефонная сеть общего пользования обычно проектируется таким образом, что полный импеданс по постоянному току (DC) лежит в определенных пределах. Это свойство используется для того, чтобы определить, когда пользователь снимает телефонную трубку, чтобы сделать вызов. Если телефон используется, то есть пользователь снял трубку, то телефон изменяет свой импеданс, и это изменение обнаруживается на центральной станции. Поэтому обычно для длинных линий применяют больше кабеля с диаметром жил 0,6 мм (так как сопротивление меньше), а для коротких расстояний применяют больше кабеля с диаметром жил 0,4 мм. Тем самым соотношение толщин жил кабеля может определяться приближенно в соответствии с логикой явлений. В частности, вычислительный блок 30 с помощью модуля подгонки на основе известных данных 5000 о сетевых соединениях может определить (2020) функцию коэффициента распределения ослаблений в зависимости от длины соединения. В этом примере выполнения был использован линейный коэффициент в качестве коэффициента 2020 распределения ослаблений, при этом:
De 10: 

Причем L0,4 указывает долю кабеля с диаметром жил 0,4 мм в км, а L0,6 указывает долю кабеля с диаметром жил 0,6 мм также в км как функцию от De (De – эффективная длина сетевого соединения). Фиг. 7 схематично представляет зависимость Rt, где t1 – доля медного кабеля с диаметром жил 0,4 мм, а t2 – медного кабеля с диаметром жил 0,6 мм. Ось Х указывает эффективную длину De сетевого соединения, то есть его физическую длину, а ось Y – доли Rt соответствующего типа кабеля в процентах. Можно видеть, что доля медного кабеля с диаметром жил 0,6 мм для расстояний свыше 10 км возрастает до 100%, то есть сетевое соединение по существу исключительно состоит из медного кабеля с диаметром жил 0,6 мм. На основе функции для коэффициента распределения ослаблений для классифицируемого сетевого соединения определяется (1020) коэффициент распределения ослаблений в зависимости от длины соединения 2020 и эффективной длины сетевого соединения и переносится на носитель данных вычислительного блока 30 в соответствии с классифицируемым сетевым соединением 12.
На следующем этапе определяются (1030) запасы ресурсов 2030 передачи данных для определения максимальных пропускных способностей передачи данных и сохраняются на носителе данных вычислительного блока 30 соответственно различным типам модемов и физической длине кабеля 13 и толщине кабеля 141, 142, 143, 144 сетевого соединения 12. Для этого измеряется энергетический спектр PSDModem(f) в зависимости от частоты f передачи для возможных типов модемов 101, 102, 103, 104 посредством устройства 20 измерения мощности и переносится на носитель данных вычислительного блока 30. Энергетический спектр также обозначается понятием «спектральная плотность мощности» (PSD) и воспроизводит для определенной ширины полосы непрерывный спектр частот, то есть полную мощность определенной ширины полосы частот, деленную на определенную ширину полосы. Деление на ширину полосы соответствует нормированию. Таким образом, спектральная плотность мощности PSD является функцией, зависящей от частоты f, и обычно приводится в ваттах на герц. Для измерения мощности посредством устройства 20 измерения мощности в приемнике 11 может применяться простой аналого-цифровой преобразователь, причем напряжение прикладывается к сопротивлению. Для модуляции цифровых сигналов в линии 12, например, от конечного пользователя к распределительной станции провайдера телефонной сети и обратно могут применяться различные типы модуляции. В уровне техники, например, известны технологии xDSL (цифровая абонентская линия), двумя основными представителями которых являются ADSL (асимметричная цифровая абонентская линия) и SDSL (симметричная цифровая абонентская линия). Другими представителями технологии xDSL являются HDSL (высокоскоростная цифровая абонентская линия) или VDSL (сверхвысокоскоростная цифровая абонентская линия). Технологии xDSL являются высокоразвитыми схемами модуляции, применяемыми для того, чтобы модулировать данные, передаваемые в линии передачи на медных проводах или в других аналоговых средах передачи. Технологии xDSL иногда обозначают как «технологии последней мили», в частности, из-за того, что они обычно служат для соединения последней распределительной станции телефонной сети с конечным пользователем в бюро или дома, и не применяются для соединений между отдельными распределительными станциями телефонной сети. Технология xDSL подобна сети ISDN (Цифровая сеть с комплексными услугами) в том отношении, что она может работать на существующих линиях передачи на медных проводах, и обе они требуют относительно короткого расстояния до следующей распределительной станции провайдера телефонной сети. Технология xDSL обеспечивает, однако, более высокие скорости передачи данных, чем ISDN. xDSL достигает скоростей передачи данных до 32 Мбит/с для скорости нисходящего потока (скорости передачи при приеме данных, то есть при модуляции) и скоростей от 32 кбит/с до 6 Мбит/с для скорости восходящего потока (скорость передачи при передаче данных, то есть при демодуляции), в то время как ISDN поддерживает скорости передачи данных на канал порядка 64 кбит/с. ADSL в последнее время становится очень популярной технологией для модуляции данных в линии передачи на медных проводах. ADSL поддерживает скорости передачи данных от 0 до 9 Мбит/с для скоростей в нисходящем направлении потока и от 0 до 800 кбит/с для скоростей в восходящем направлении потока. ADSL называется асимметричной DSL, так как она поддерживает различные скорости передачи в восходящем и нисходящем направлении потока. SDSL, или симметричная DSL, называется, в противоположность этому, симметричной потому, что она поддерживает одинаковые скорости для восходящего и нисходящего потоков данных. SDSL обеспечивает возможность передачи данных со скоростями вплоть до 2,3 Мбит/с. ADSL передает цифровые импульсы в высокочастотном диапазоне медного кабеля. Так как эти высокие частоты при нормальной передаче тональных сигналов в слышимом диапазоне (например, голоса) не используются, то ADSL может одновременно действовать для передачи телефонных разговоров по тому же медному кабелю. Технология ADSL наиболее широко распространена в Северной Америке, в то время как технология SDSL прежде всего развивалась в Европе. ADSL и SDSL требуют специально оснащенных для этого модемов. HDSL является представителем для симметричной DSL (SDSL). Стандартом для симметричных HDSL (SDSL) в настоящее время является G.SHDSL, известный как G.991.2, разработанный в качестве международного стандарта Комитетом CCITT Международного союза по телекоммуникациям (ITU). G.991.2 поддерживает прием и передачу симметричного потока данных по простой паре медных проводов со скоростями передачи от 192 кбит/с до 2,31 Мбит/с. Стандарт G.991.2 был разработан таким образом, что он включает в себя свойства ADSL и SDSL и поддерживает стандартные протоколы, такие как IP (Интернет-протокол), в частности современные версии IPv4 и IPv6 или IPng (Рабочей группы по разработкам сети Интернет – IETF), а также TCP/IP (протокол управления передачей), ATM (асинхронный режим передачи), T1, E1 и ISDN. В качестве последней из технологий xDSL здесь упоминается технология VDSL (сверхвысокоскоростная цифровая абонентская линия). VDSL передает данные в диапазоне 13-55 Мбит/с на короткие расстояния (обычно в пределах 300-1500 м) по медному кабелю на скрученной паре. Для VDSL справедливо соотношение, заключающееся в том, что чем короче расстояние, тем выше скорость передачи. В качестве завершающего участка сети VDSL применяется для соединения бюро или дома пользователя с соседним оптическим сетевым блоком, называемым оптическим сетевым блоком (ONU), который в типовом случае связан с основной стекловолоконной сетью (магистралью), например, фирмы. VDSL обеспечивает пользователю доступ к сети с максимальной шириной полосы по нормальным телефонным проводам. Стандарт VDSL еще не определен полностью. Так, имеются VDSL-технологии, которые имеют схему кодирования линии на основе DMT (дискретного мультитонального сигнала), причем DMT представляет собой систему с множеством несущих, что очень сходно с технологией ADSL. Другие технологии VDSL имеют схему кодирования линии, основанную на квадратурной амплитудной модуляции (QAM), которая в противоположность DMT является более экономичной и требует меньше энергии. Для данного примера выполнения типы модемов могут включать в себя типы модемов (101, 102, 103, 104) ADSL, и/или SDSL, и/или HDSL, и/или VDSL. В частности, возможные типы SDSL-модемов (101, 102, 103, 104) могут включать в себя, по меньшей мере, один тип модема G.991.2, и/или типы ADSL-модемов (101, 102, 103, 104) могут включать в себя, по меньшей мере, один тип модема G.992.2. Однако понятно, что этот перечень никоим образом не должен считаться ограничивающим объем охраны изобретения, и напротив, возможны и другие типы модемов.
С помощью вычислительного блока 30 определяется ослабление Н для различных физических длин 13 и толщин жил кабелей 141, 142, 143, 144, как, например, 0,4 мм и 0,6 мм сетевого соединения 12, и эффективные уровни сигналов S(f) в приемнике 11, основанные на ослаблении Н(f) и энергетическом спектре PSD(f), соотнесенные с соответствующими физическими длинами L13 и толщинами жил кабелей D 141, 142, 143, 144, сохраняются в первом списке на носителе данных вычислительного блока 30. Ослабление H(f,L,D), как и эффективный уровень сигнала S(f), является функцией, зависящей от частоты f. Посланный от передатчика 10 сигнал соответствует PSDModem(f), в то время как в приемнике принимается эффективный уровень сигнала S(f)=PSD(f)H2(f,L,D). Во втором списке на носителе данных вычислительного блока 30 сохраняется уровень шума N(f), соотнесенный с соответствующими физическими длинами 13 и толщинами жил кабеля 141, 142, 143, 144 сетевого соединения, причем уровень шума N(f) 40 определяется вычислительным блоком 30 в зависимости от, по меньшей мере, параметров перекрестной помехи Xtalktype и числа А источников помех на основе энергетического спектра PSD. То есть:

Сумма берется по индексу i по всем помеховым модуляциям (SModem) в зависимости от их параметра перекрестной помехи Xtalktype, которые действуют на параллельных соединениях данного сетевого соединения. PSDSModem(i) представляет собой энергетический спектр i-го модема. Нхр представляет ослабление в зависимости от перекрестной помехи. Как упомянуто, проблематика перекрестной помехи связана с физическим явлением, которое возникает при модуляции данных, передаваемых по медному кабелю. Соседние медные кабельные жилы внутри медного кабеля получают за счет электромагнитного взаимодействия парные составляющие сигналов, которые вырабатываются модемами. Это приводит к тому, что xDSL-модемы, которые осуществляют передачу по соседним проводам, создают взаимные помехи. Перекрестная помеха как физическое действие пренебрежимо мала для ISDN (диапазон частот до 120 кГц), но является существенной, например, для ASDL (диапазон частот до 1 МГц) и является решающим фактором для VDSL (диапазон частот до 12 МГц). Как описано, применяемые телефонные линии состоят из медных жил числом от 2 до 2400. Чтобы, например, иметь возможность использовать четыре пары, поток данных в передатчике подразделяется на множество параллельных потоков данных, а в приемнике вновь восстанавливается, что повышает эффективную пропускную способность в 4 раза. Это позволило бы осуществлять передачу данных со скоростями до 100 Мбит/с. Дополнительно, в случае 4 пар медных проводов одинаковые провода четырех пар используются для того, чтобы одинаковые объемы данных одновременно передавать в противоположном направлении. Двусторонняя передача данных по каждому медному проводу пары удваивает информационную емкость, которая может передаваться. В этом случае скорость передачи данных возрастает в восемь раз по сравнению с обычными передачами, при которых две пары используются соответственно только для одного направления. Для передачи данных, как описано выше, шумы перекрестной помехи являются сильно ограничивающим фактором. В качестве типов перекрестной помехи (Xtalktype) различают перекрестную помеху ближнего конца (NEXT) 51, которая относится к непреднамеренному вводу сигналов 50 передатчика 10 на одном конце в сигналы 50 в приемнике 10 на том же конце, и перекрестную помеху дальнего конца (FEXT) 52, которая относится к непреднамеренному вводу сигналов 50 при передаче в приемник 11 на другом конце, причем сигналы 50 при передаче вводятся в сигналы 50 соседних медных пар и в приемнике 11 проявляются как шумы (см. фиг. 1). Обычно исходят из того, что помеха NEXT 51 имеет только источник помех ближнего конца. Параметр Xtalktype, таким образом, зависит от места и потока (восходящий/нисходящий), то есть эта зависимость может быть записана как Xtalktype (поток, место). Если имеется более двух медных жил, как это обычно имеет место (в типовом случае имеется от 2 до 2400 жил), то вышеописанная попарная связь больше не действует. Например, для случая, когда используются одновременно проводники четырех пар, тогда, следовательно, имеется три непреднамеренных источника помех, которые своей энергией действуют на сигнал 50. Для А в этом случае справедливо соотношение А=3. То же самое справедливо для перекрестной помехи типа FEXT 52.
Вычислительный блок 30 определяет запасы ресурсов передачи данных посредством модуля 31 гауссова преобразования на основе эффективных уровней сигнала S(f) из первого списка и соответствующих уровней шумов N(f) из второго списка для различных модуляций передачи данных и/или модулирующих кодов для предварительно определенной скорости передачи битов и сохраняет запасы ресурсов передачи данных, соотнесенные с соответствующими физическими длинами 13 и толщинами жил кабеля 141, 142, 143, 144 сетевого соединения 12, на носителе данных в вычислительном блоке 30. На основе эффективных уровней сигнала S(f) из первого списка и соответствующих уровней шумов N(f) из второго списка можно с помощью вычислительного блока 30 определить отношение сигнала S к шуму N (SNR) в следующем виде:

Это выражение справедливо только для модуляций вида CAP, 2B1Q и РАМ, однако неприменимо для модуляции вида DMT. Модуляция вида DMT ниже описана более подробно. Т при этом обозначает интервал символа или половину инверсной величины частоты Найквиста. Частота Найквиста является максимальной частотой, с которой еще может быть точно взята выборка. Частота Найквиста есть половинное значение частоты дискретизации, так как непреднамеренные частоты генерируются, когда дискретизируется сигнал, частота которого выше, чем половинное значение частоты дискретизации. Индекс n есть индекс суммирования. На практике обычно достаточно, когда n принимает значения от -1 до +1. Если этого недостаточно, то можно использовать дополнительные максимумы 0, ±1/Т, ±2/Т и т.д. до тех пор, пока не будет достигнута требуемая точность. Запасы ресурсов передачи данных зависят от модуляций передачи данных и/или модулирующих кодов, как отмечено выше. В данном примере выполнения показана зависимость для модуляции 2B1Q, используемой для HDSL-модемов, и модуляция САР в качестве примера для ADSL-модуляции вида DMT, а также для модулирующих кодов с использованием сигналов решетчатого кодирования. Однако понятно, что соответствующие изобретению способ и система также могут применяться для других модуляций передачи данных и/или модулирующих кодов, таких как РАМ (импульсная амплитудная модуляция) и т.д. Как модуляция вида 2B1Q, так и модуляция вида САР применяются для HDSL-модемов и характеризуются предварительно определенной скоростью передачи битов. Модуляция вида DMT используется для ADSL-модемов и имеет в противоположность этому переменную скорость передачи битов. Виды модуляции САР и DMT используют одинаковую основополагающую технологию модуляции: квадратурную амплитудную модуляцию (QAM), хотя эта технология используется различным образом. QAM обеспечивает возможность того, что два цифровых сигнала несущей имеют одинаковую ширину полосы передачи. При этом применяются два независимых, так называемых сигнала сообщения, чтобы модулировать два несущих сигнала, которые имеют одинаковую несущую частоту, но различаются по амплитуде и по фазе. Приемники сигналов QAM могут различить, требуется ли низкое или высокое число амплитудных и фазовых состояний, чтобы преодолеть влияние шумов и взаимных помех, например, в одной паре медных жил. Модуляция вида 2B1Q также известна как 4-уровневая амплитудная модуляция (РАМ). Она использует два уровня напряжения для импульсов сигналов, а не один уровень, как, например, в случае модуляции вида AMI (кодирование с чередованием полярности элементов). Поскольку для этого применяются положительные и отрицательные различия в уровнях, получают 4-уровневый сигнал. Биты затем оцениваются попарно, какая пара соответствует определенному уровню напряжения (отсюда название 2-битовая модуляция). За счет этого можно наполовину уменьшить необходимую частоту передачи для осуществления передач с той же скоростью передачи битов, что и в случае биполярной модуляции вида AMI. Для HDSL-модема, использующего модуляцию вида 2B1Q или САР, существует следующая зависимость запаса ресурсов передачи данных от SNR:

где параметр может быть определен в зависимости от частоты ошибок (частоты ошибок символов) s. Для локальных сетей протокола Интернет обычно достаточная частота ошибок s=10-7, то есть каждый 107 бит в среднем передается с искажением. Фирмы требуют в типовом случае для своих фирменных сетей s=10-12. Если значение s становится порядка величины передаваемого пакета данных (например, 10-3), то это, напротив, означало бы, что каждый пакет в среднем должен передаваться дважды, пока он не будет принят правильно. Для модуляции вида 2B1Q для параметра s справедливо, например, следующее:
для некодированных сигналов
для сигналов решетчатого кодирования
в то время как для модуляции вида САР справедливы следующие соотношения:
для некодированных сигналов
для сигналов решетчатого кодирования
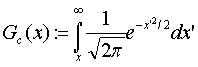
Параметр Gc для обоих видов кодирования представляет собой комплементарную гауссову функцию:

М обозначает для модуляции вида 2B1Q моментное число, причем М=4 для 2B1Q, в то время как для модуляции вида САР параметр группирования равен МхМ. Т обозначает, как указано выше, интервал символа или половину инверсной величины частоты Найквиста. Для ADSL-модемов с использованием модуляции вида DMT зависимость иная. Как отмечено выше, ADSL имеет переменную скорость передачи битов. Это проявляется также и в определении параметра Мс. В этом случае справедливо следующее соотношение:

при этом (f) обозначает отношение сигнала к шуму S(f)/N(f). хref обозначает эталонный запас ресурсов, который в этом примере выполнения в типовом случае был выбран равным 6 дБ, то есть хref=100,6. Однако для хref могут быть выбраны и другие значения в качестве эталонных запасов ресурсов. f – вся полоса частот или та полоса частот, которая используется для передачи. Интегрирование выполняется по частоте. D – скорость передачи битов, например, в битах в секунду (бит/с). Г – корректирующий коэффициент. В этом примере выполнения Г имеет значение, например, равное 9,55. Интегрирование в этом примере выполняется по частоте f. Аналогично этому, оно может, однако, проводиться и по времени или другой физической величине, причем приведенное выше выражение должно быть соответственно согласовано.
В общем случае полученные выше запасы ресурсов передачи данных не совпадают с экспериментом. Поэтому вычислительный блок 30 определяет эффективные запасы ресурсов передачи данных посредством, по меньшей мере, одного корректирующего коэффициента на основе сохраненных запасов ресурсов передачи данных. Корректирующий коэффициент был выбран для этого примера выполнения таким образом, что достигается достаточная согласованность между полученными запасами ресурсов передачи данных и эффективными запасами ресурсов передачи данных. В качестве достаточной величины в данном случае было принято, например, ±3 дБ, причем могут быть использованы и другие значения. Чтобы получить это максимальное отклонение ±3 дБ, определяются два параметра. Mimp учитывает хорошую или некачественную реализацию модема изготовителем. Параметр Mimp был введен на основе того факта, что одинаковые модемы со сравнимыми аппаратными средствами и одинаковыми модуляциями передачи данных и/или модулирующими кодами, однако выпущенные разными изготовителями, при преобразовании аналогового сигнала в цифровой сигнал и обратно давали разные результаты, что оказывало влияние на их максимальную скорость передачи данных или на их максимальную дальность действия для определенного сетевого соединения. Это должно быть скорректировано по отношению к запасу ресурсов передачи данных. В качестве второго параметра был введен параметр Nint. Параметр Nint учитывает шумы квантования в модеме (аналого-цифрового преобразования), а также возможную плохую настройку блока коррекции при передаче. Если происходит передача между передатчиком 10 и приемником 11, то блок коррекции в модеме согласует скорость передачи данных с условиями сетевого соединения, например, ослаблением в линии, искажением фазы и т.д. посредством тестовой последовательности, которая посылается между обоими ведущими информационный обмен модемами в обоих направлениях. Плохое согласование, обусловленное блоком коррекции, приводит к искажению результатов и должно корректироваться. Для линейного блока коррекции может применяться, например, следующее выражение:

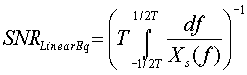
где

При этом SNRLinearEq обозначает отношение сигнал/шум, Se – сигнал, принимаемый блоком коррекции, Ne – шумы и f – частота. Для блока коррекции с адаптивной решающей обратной связью (DFE) может применяться, например, следующее выражение:

где

При этом вновь SNRDFE обозначает отношение сигнал/шум, Se – как и выше, сигнал, принимаемый блоком коррекции, Ne – шумы и f – частота. Вычислительный блок 30 для определения SNRDFE может использовать, например, следующее приближение:

Тем самым, для эффективных запасов ресурсов передачи данных получаем: S(f)= PSDModem(f)H2(f,L,D), как и раньше. Шумы корректируются следующим образом:

Коррекция может быть реализована в вычислительном блоке 30 аппаратными средствами или программным обеспечением в одном модуле. Необходимо отметить то, что с помощью такого модуля на основе коррекции Nint вводится переменный шум-фактор, который, например, может учитывать настройку блока коррекции и т.д. Данное решение неизвестно из уровня техники и принадлежит, в числе прочего, к существенным достоинствам изобретения. Эффективные запасы ресурсов передачи данных Meff учитываются посредством соотношения Meff=Mc-Mimp, что учитывается дополнительно к Nint, как упомянуто выше. Корректные значения для Mc и Nint могут быть получены посредством вычислительного блока 30 в сравнении с экспериментальными данными. В типовом случае вычислительный блок 30 должен тогда иметь доступ к данным различных экспериментов, чтобы иметь возможность корректно определить параметры в пределах желательных отклонений. Посредством корректирующих коэффициентов, которые, следовательно, включают в себя среднее отклонение сохраненных запасов ресурсов передачи данных по отношению к эффективным запасам ресурсов передачи данных, определяются, как описано выше, эффективные запасы ресурсов передачи данных и также в сопоставлении с соответствующими физическими длинами L 13 и толщинами D жил кабелей 141, 142, 143, 144 сетевого соединения сохраняются на носителе данных вычислительного блока 30. Следует отметить, что корректирующие коэффициенты необязательно являются линейными коэффициентами, то есть должны быть постоянными, но с тем же успехом могут включать в себя корректирующие функции с нелинейной зависимостью. Тем самым могут, в зависимости от применения, учитываться и более сложные отклонения экспериментальных данных. Посредством сохраненных массивов данных с запасами ресурсов передачи данных вычислительный блок 30 определяет на основе сохраненных эффективных запасов ресурсов передачи данных с помощью известной физической длины 13 сетевого соединения 12 между передатчиком 10 и приемником 11 запас ресурсов передачи данных для определенного сетевого соединения 12. Запасы ресурсов передачи данных указываются, как неоднократно упоминалось выше, в децибелах. Для значений >0 модем функционирует типовым образом, в то время как для значений <0 он не работает. Чтобы гарантировать качественное надежное функционирование, может быть целесообразным, в качестве нижней границы выбрать, например, 6 дБ. Однако в общем случае пригодны для использования и другие значения запасов ресурсов передачи данных для нижней границы, например, значения в пределах от 3 дБ до 9 дБ. За счет аналогичной конфигурации для ADSL-модемов также можно, как следует из приведенных выше данных, вместо массивов данных с запасами ресурсов передачи данных соответственно определить массивы данных со скоростями передачи битов для различных сетевых соединений, например, для запасов ресурсов передачи данных 6 дБ. Тем самым для определения массивов данных со скоростями передачи битов 6 дБ = Meff. Для HDSL-модемов это не имеет смысла в данном отношении, так как в случае HDSL используются кодирования, например, вида 2B1Q или САР c постоянной скоростью передачи данных, в данном случае 2,048 Мбит/с. Причина такого различия по отношению к ADSL-модемам лежит в том, что HDSL-системы проектировались только для подключения с более высокой скоростью передачи битов, и для них представляет интерес только надежность передачи (отношение SNR). На фиг. 3 представлен участок передачи сетевого соединения в зависимости от скорости передачи битов для ADSL-модемов. Ссылочными позициями 60 и 61 обозначены различные условия шумов. Скорости передачи битов, как описано выше, представлены на основе сохраненных массивов данных или списков 2030.
На основе сохраненных массивов данных или списков 2030 запасов ресурсов передачи данных/скоростей передачи битов определяются (1030) запасы ресурсов передачи данных/скорости передачи битов для классифицируемого сетевого соединения и переносятся на носитель данных вычислительного блока 30 в соответствии с классифицируемым сетевым соединением 12.
На основе эффективной длины сетевого соединения, коэффициента 2020 распределения ослаблений и запасов ресурсов 2030 передачи данных с помощью вычислительного блока 30 может быть осуществлена классификация (1040) классифицируемого соединения в соответствии с его максимальной пропускной способностью для данных. Классификация может, в частности, включать в себя максимально возможную скорость передачи данных для классифицируемого сетевого соединения. Результаты классификации могут предоставляться (1050) пользователю посредством экрана, модуля печати или иного устройства вывода. В частности, можно, например, через устройство посредством графического интерфейса соединиться с сетью Интернет, причем любому телефонному абоненту провайдера телефонных услуг легко определить, подходит ли его подключение (например, в его жилом помещении) для конкретного сетевого подключения.
Формула изобретения
1. Способ классификации сетевых соединений, причем географические координаты передатчика (10) и приемника (11) классифицируемого сетевого соединения (12) известны, отличающийся тем, что
на основе известных данных (5000) сетевого соединения посредством вычислительного блока (30) определяют один или несколько коэффициентов (2010) расстояния и полученные данные, соотнесенные с определяемой вероятностью, переносят на носитель данных вычислительного блока (30), причем коэффициенты (2010) расстояния указывают эффективную длину сетевого соединения в зависимости от расстояния по воздуху, а определяемую вероятность того, является ли определенная длина сетевого соединения меньшей или большей, чем ее эффективная сетевая длина, определяют посредством коэффициента (2012) надежности,
на основе одного или нескольких коэффициентов (2010) расстояний, коэффициента (2012) надежности и географических координат передатчика (10) и приемника (11) классифицируемого сетевого соединения (12) с помощью вычислительного блока (30) определяют (1010) эффективную длину сетевого соединения и переносят на носитель данных вычислительного блока (30) в соответствии с классифицируемым сетевым соединением (12),
на основе известных данных (5000) о сетевых соединениях определяют (3020), по меньшей мере, один коэффициент (2020) распределения ослаблений и переносят на носитель данных вычислительного блока (30), при этом, по меньшей мере, один коэффициент (2020) распределения ослаблений указывает на отношение друг к другу ослаблений различных участков сетевого соединения,
определяют (3030) запас ресурсов (2030) передачи данных для определения максимальных пропускных способностей передачи данных для различных типов модемов и сохраняют на носителе данных вычислительного блока (30) в соответствии с физической длиной (13) и толщиной кабеля (141, 142, 143, 144) сетевого соединения (12), причем посредством устройства (20) измерения мощности измеряют энергетические спектры для типов модемов, посредством вычислительного блока (30) на основе энергетических спектров определяют эффективные уровни сигналов и соответствующие уровни шумов и с помощью модуля (31) гауссова преобразования на основе уровней сигналов и уровней шумов для различных модуляций передачи данных и/или модулирующих кодов определяют запас ресурсов (2030) передачи для предварительно определенной скорости передачи битов и
на основе эффективной длины сетевого соединения, коэффициента (2020) распределения ослаблений и запасов ресурсов (2030) передачи данных посредством вычислительного блока (30) осуществляют классификацию (1040) классифицируемого сетевого соединения в соответствии с его максимальной пропускной способностью передачи данных.
2. Способ по п.1, отличающийся тем, что в качестве коэффициентов (2011) расстояния с помощью вычислительного блока (30) определяют угловой коэффициент и абсциссу, при этом определяют линейную зависимость между расстоянием по воздуху и эффективной длиной сетевого соединения.
3. Способ по п.1, отличающийся тем, что посредством вычислительного блока определяют коэффициенты (2011) расстояния как параметры полинома, по меньшей мере, 2-й степени.
4. Способ по п.1, отличающийся тем, что посредством коэффициента (2012) надежности выбирают вероятность в пределах от 0,85 до 0,95.
5. Способ по п.1, отличающийся тем, что коэффициент надежности (2012) имеет значение в пределах от 700 до 800.
6. Способ по п.1, отличающийся тем, что посредством коэффициента (2020) распределения ослаблений определяют линейную зависимость ослаблений относительно друг друга.
7. Способ по любому из пп.1-6, отличающийся тем, что вычислительный блок (30) определяет скорректированные запасы ресурсов передачи данных посредством, по меньшей мере, одного корректирующего коэффициента на основе сохраненных запасов ресурсов (2030) передачи данных и сохраняет их соотнесенными с соответствующими физическими длинами (13) и толщинами жил кабелей (141, 142, 153, 144) сетевого соединения (12) на носителе данных вычислительного блока (30), причем, по меньшей мере, один корректирующий коэффициент включает в себя среднее отклонение сохраненных запасов ресурсов передачи данных относительно эффективных запасов ресурсов передачи данных и/или коэффициент блока коррекции для настройки блока коррекции.
8. Способ по п.7, отличающийся тем, что корректирующий коэффициент воспроизводит нелинейную зависимость относительно физических длин (13) и/или толщин жил кабелей (141, 142, 143, 144).
9. Способ по п.1, отличающийся тем, что уровни шумов определяются вычислительным блоком (30) в зависимости, по меньшей мере, от параметров перекрестной помехи и числа источников помех на основе энергетических спектров.
10. Способ по п.1 или 9, отличающийся тем, что энергетический спектр измеряют в зависимости от частоты передачи для типов модемов (101, 102, 103, 104) ADSL, и/или SDSL, и/или HDSL, и/или VDSL.
11. Способ по п.10, отличающийся тем, что возможные типы модемов (101, 102, 103, 104) SDSL включают в себя, по меньшей мере, тип модема G.991.2 и/или типы модемов (101, 102, 103, 104) ADSL включают в себя, по меньшей мере, тип модема G.992.2.
12. Способ по п.1, отличающийся тем, что посредством модуля (31) гауссова преобразования определяют запасы ресурсов передачи данных, по меньшей мере, для модуляций передачи данных вида 2В 1Q (2 двоичная, 1 четверичная), и/или CAP (амплитудная/фазовая модуляция без несущей), и/или DMT (цифровая мультитональная), и/или РАМ (импульсная амплитудная модуляция).
13. Способ по любому из пп.1-6, 11 и 12, отличающийся тем, что посредством модуля (31) гауссова преобразования определяют запасы ресурсов передачи данных, по меньшей мере, для кодирования с использованием модуляции решетчатым кодом.
14. Способ классификации сетевых соединений, причем географические координаты передатчика (10) и приемника (11) классифицируемого сетевого соединения (12) известны, отличающийся тем, что
на основе известных данных (5000) о сетевых соединениях посредством вычислительного блока (30) определяют один или несколько коэффициентов (2011) расстояния и в соответствии с определяемой вероятностью переносят на носитель данных вычислительного блока (30), причем коэффициенты (2011) расстояния указывают эффективную длину сетевого соединения в зависимости от расстояния по воздуху, а определяемую вероятность того, является ли определенная длина сетевого соединения меньшей или большей, чем ее эффективная сетевая длина, определяют посредством коэффициента (2012) надежности,
на основе коэффициентов (2010) расстояний, коэффициента (2012) надежности и географических координат передатчика (10) и приемника (11) классифицируемого сетевого соединения (12) с помощью вычислительного блока (30) определяют (1010) эффективную длину сетевого соединения и переносят на носитель данных вычислительного блока в соответствии с классифицируемым сетевым соединением (12),
на основе известных данных (5000) о сетевых соединениях определяют (3020), по меньшей мере, один коэффициент (2020) распределения ослаблений и переносят на носитель данных вычислительного блока (30), при этом, по меньшей мере, один коэффициент (2020) распределения ослаблений указывает на отношение друг к другу ослаблений различных участков сетевого соединения,
определяют скорости передачи (2030) битов для определения максимальных пропускных способностей передачи данных для различных типов модемов и сохраняют на носителе данных вычислительного блока (30) в соответствии с физической длиной (13) и толщиной кабеля (141, 142, 143, 144) сетевого соединения (12), причем посредством устройства (20) измерения мощности измеряют энергетические спектры для типов модемов, посредством вычислительного блока (30) на основе энергетических спектров определяют эффективные уровни сигналов и соответствующие уровни шумов и с помощью модуля (31) гауссова преобразования на основе уровней сигналов и уровня шумов для различных модуляций передачи данных и/или модулирующих кодов определяют скорости передачи (2030) битов для предварительно определенного запаса ресурсов передачи данных и
на основе эффективной длины сетевого соединения, коэффициента (2020) распределения ослаблений и запасов ресурсов (2030) передачи данных посредством вычислительного блока (30) осуществляют классификацию (1040) классифицируемого сетевого соединения в соответствии с его максимальной пропускной способностью передачи данных.
15. Способ по п.14, отличающийся тем, что в качестве коэффициентов (2011) расстояния с помощью вычислительного блока (30) определяют угловой коэффициент и абсциссу, при этом определяют линейную зависимость между расстоянием по воздуху и эффективной длиной сетевого соединения.
16. Способ по п.14, отличающийся тем, что посредством вычислительного блока (30) определяют коэффициенты (2011) расстояния как параметры полинома, по меньшей мере, 2-й степени.
17. Способ по п.14, отличающийся тем, что посредством коэффициента (2012) надежности выбирают вероятность в пределах от 0,85 до 0,95.
18. Способ по п.14, отличающийся тем, что коэффициент (2012) надежности имеет значение в пределах от 700 до 800.
19. Способ по п.14, отличающийся тем, что посредством модуля (31) гауссова преобразования определяют скорости передачи битов для запасов ресурсов передачи данных между 3 и 9 дБ.
20. Способ по п.14, отличающийся тем, что посредством модуля (31) гауссова преобразования определяют скорости передачи битов для запаса ресурсов передачи данных 6 дБ.
21. Способ по любому из пп.14-20, отличающийся тем, что вычислительный блок (30) определяет скорректированные скорости передачи битов посредством, по меньшей мере, одного корректирующего коэффициента на основе сохраненных скоростей передачи (2030) битов и сохраняет их в соответствии с физическими длинами (13) и толщинами жил кабелей (141, 142, 143, 144) сетевого соединения (12) на носителе данных вычислительного блока (30), причем корректирующий коэффициент включает в себя среднее отклонение сохраненных скоростей передачи битов относительно эффективных скоростей передачи битов и/или коэффициента блока коррекции для настройки блока коррекции.
22. Способ по п.21, отличающийся тем, что, по меньшей мере, один корректирующий коэффициент воспроизводит нелинейную зависимость относительно физических длин (13) и/или толщин жил кабелей (141, 142, 143, 144).
23. Способ по п.14, отличающийся тем, что уровни шумов определяют посредством вычислительного блока (30) в зависимости, по меньшей мере, от параметров перекрестной помехи и числа источников помех на основе энергетических спектров.
24. Способ по п.14 или 23, отличающийся тем, что энергетический спектр измеряют в зависимости от частоты передачи для типов модемов (101, 102, 103, 104) ADSL, и/или SDSL, и/или HDSL, и/или VDSL.
25. Способ по п.24, отличающийся тем, что возможные типы модемов (101, 102, 103, 104) SDSL включают в себя, по меньшей мере, тип модема G.991.2 и/или типы модемов (101, 102, 103, 104) ADSL включают в себя, по меньшей мере, тип модема G.992.2.
26. Способ по п.14, отличающийся тем, что посредством модуля (31) гауссова преобразования определяют скорости передачи битов, по меньшей мере, для модуляций передачи данных вида 2В 1Q, и/или CAP, и/или DMT, и/или РАМ.
27. Способ по любому из пп.14-20, 25 и 26, отличающийся тем, что посредством модуля (31) гауссова преобразования определяют скорости передачи битов, по меньшей мере, для кодирования с использованием модуляции решетчатым кодом.
28. Устройство для классификации сетевых соединений, причем географические координаты передатчика (10) и приемника (11) классифицируемого сетевого соединения (12) известны, отличающееся тем, что
устройство содержит вычислительный блок (30) для определения и сохранения одного или нескольких коэффициентов (2011) расстояния в соответствии с определяемой вероятностью на основе известных данных (5000) о сетевых соединениях, причем коэффициенты (2011) расстояния указывают эффективную длину сетевого соединения в зависимости от расстояния по воздуху, а определяемая вероятность того, является ли определенная длина сетевого соединения меньшей или большей, чем ее эффективная сетевая длина, определяется посредством коэффициента (2012) надежности,
вычислительный блок (30) содержит средство для определения и сохранения, по меньшей мере, одного коэффициента (2020) распределения ослаблений на основе известных данных (5000), при этом, по меньшей мере, один коэффициент (2020) распределения ослаблений указывает на отношение друг к другу ослаблений различных участков сетевого соединения,
устройство также содержит устройство (20) измерения мощности для измерения энергетических спектров для различных типов модемов, средство (30) для определения эффективных уровней сигналов и соответствующих уровней шумов на основе энергетических спектров, а также модуль (31) гауссова преобразования для определения и сохранения запасов ресурсов (2030) передачи на основе уровней сигналов, уровней шумов для различных модуляций передачи данных и/или модулирующих кодов и для предварительно определенной скорости передачи битов.
РИСУНКИ
PD4A – Изменение наименования обладателя патента Российской Федерации на изобретение
(73) Новое наименование патентообладателя:
Свисском (Швейц) АГ (CH)
Адрес для переписки:
129090, Москва, ул. Б. Спасская, 25, стр. 3, ООО “Юридическая фирма Городисский и Партнеры”
Извещение опубликовано: 10.01.2010 БИ: 01/2010
PC4A – Регистрация договора об уступке патента Российской Федерации на изобретение
(73) Патентообладатель(и):
СВИССКОМ (ШВЕЙЦ) АГ (CH)
(73) Патентообладатель:
СВИССКОМ АГ (CH)
Дата и номер государственной регистрации перехода исключительного права: 14.04.2010 № РД0063231
Извещение опубликовано: 27.05.2010 БИ: 15/2010
|
|