|
|
(21), (22) Заявка: 2004134761/09, 29.11.2004
(24) Дата начала отсчета срока действия патента:
29.11.2004
(45) Опубликовано: 10.05.2006
(56) Список документов, цитированных в отчете о поиске:
RU 2134481 C1, 10.08.1999. RU 2064219 C1, 15.06.1994. SU 756581 A, 15.08.1980. SU 1594670 A1, 23.09.1990. US 3793572 A, 19.02.1974. DE 2307561 A, 16.06.1976. DE 2029460 A, 07.07.1973. DE 3133311 A1, 10.03.1983. CH 546509 A, 28.02.1983. EP 0332568 A, 13.09.1989.
Адрес для переписки:
350044, г.Краснодар, Калинина, 13, КГАУ, Патентно-информационный отдел
|
(72) Автор(ы):
Стрижков Игорь Григорьевич (RU), Трубин Александр Николаевич (RU), Чеснюк Евгений Николаевич (RU), Стрижков Сергей Игоревич (RU)
(73) Патентообладатель(и):
Федеральное государственное образовательное учреждение высшего профессионального образования Кубанский государственный аграрный университет (RU)
|
(54) СПОСОБ И УСТРОЙСТВО СИНХРОНИЗАЦИИ ЭЛЕКТРОДВИГАТЕЛЯ
(57) Реферат:
Изобретение относится к электротехнике, в частности к устройствам управления синхронными двигателями. Технический результат заключается в повышении эффективности и надежности синхронизации синхронных двигателей с токовым компаундированием в устройстве возбуждения. Способ и устройство синхронизации электродвигателя основаны на измерении механических напряжений в деталях крепления станины двигателя к основанию, пропорциональных тормозному моменту двигателя, с помощью тензореле, которое подает сигнал на отключение возбуждения синхронного двигателя при появлении тормозного момента больше порогового значения с последующей повторной синхронизацией. Использование изобретения уменьшает вероятность возникновения тяжелых аварий в случае неуспешной синхронизации двигателя или при выпадении его из синхронизма. 2 н.п. ф-лы, 2 ил.
Изобретение относится к электротехнике, в частности к устройствам управления синхронными двигателями.
Известен способ синхронизации синхронных двигателей, реализованный в патенте RU 2134480, Н 02 Р 21/00, опубл. 10.08.1999, заключающийся в том, что синхронизация двигателя осуществляется после асинхронного разгона двигателя до подсинхронной скорости включением возбуждения в определенный момент времени. Для определения момента включения возбуждения измеряется угол поворота оси ротора по отношению к полю статора и возбуждение включается в момент, когда угол принимает установленное значение. Известно устройство реализации этого способа управления по патенту RU 2134481, Н 02 Р 21/00, опубл. 10.08.1999.
Недостатками указанного способа являются сложность реализации, требующая наличия электронных анализаторов угла расположения осей ротора и поля, а также возможность неуспешной синхронизации синхронных двигателей с автоматическим регулированием напряжения (АРВ), построенным на основе токового компаундирования, с аварийным торможением двигателя.
Наиболее близким по технической сущности и принятым за прототип способом является способ синхронизации, описанный в кн. [Слодарж М.И. Режимы работы, релейная защита и автоматика синхронных электродвигателей. М.: Энергия, 1977]. Синхронизация двигателя с тиристорным возбудителем осуществляется в момент времени, когда магнитные оси поля статора совпадают с магнитной осью индуктора, для чего измеряется ЭДС в обмотке возбуждения при подсинхронной скорости.
Недостатками прототипа являются:
1) сложность и высокая стоимость устройства за счет устройств слежения за положением магнитных осей двигателя;
2) низкая надежность, обусловленная использованием сложной электронной схемы управления синхронизацией, работающей в условиях большого диапазона изменения тока и напряжения в обмотках статора и возбуждения при асинхронном пуске синхронного двигателя;
3) недостаточно высокое быстродействие, обусловленное временем, затрачиваемым на анализ положения магнитных осей машины.
Известно применения тензореле для измерения механических напряжений сжатия и растяжения в элементах конструкции машин различного назначения [патент RU №02164669 «Тензорезистивный датчик силы», 7 G 01 L 1/22]. Типовая схема тензореле контроля механического напряжения в деталях машин описана в книге [В.И.Литвак. Тензореле. М.: Машиностроение, 1989]. Типовая схема тензореле содержит следующие блоки: упругие элементы, тензорезисторы, измерительную схему, источник питания, усилитель-преобразователь, исполнительный орган, в качестве которого может выступать электромагнитное реле или геркон.
Патентный поиск не выявил применения тензореле в устройствах управления синхронизацией синхронных электродвигателей.
Известно устройство синхронизации синхронного двигателя [Слодарж М.И. Режимы работы, релейная защита и автоматика синхронных электродвигателей. М.: Энергия, 1977, с.88], имеющего трехфазную обмотку статора, обмотку возбуждения и пусковую обмотку на роторе, выключатель в цепи обмотки статора для включения и выключения двигателя, возбудитель с полупроводниковым выпрямителем и приборами управления возбуждением, где для синхронизации синхронного двигателя напряжение возбуждения подается на обмотку возбуждения после асинхронного разбега двигателя и осуществляется автоматический контроль за процессом синхронизации.
Недостатками такого устройства являются сложность и дороговизна, невысокая надежность, большая длительность процесса синхронизации при неуспешных попытках синхронизации, причины которых раскрыты при описании прототипа способа.
Технической задачей является повышение надежности и эффективности синхронизации синхронного двигателя.
Решение задачи достигается тем, что в способе синхронизации синхронного двигателя, включающем контроль за процессом синхронизации на основе измерения переменной физической величины в детали конструкции электродвигателя, в качестве переменной физической величины используют механическое напряжение в деталях крепления электродвигателя к основанию, а отключение возбуждения двигателя для прерывания синхронизации производят при изменении направления механического напряжении в этих деталях и превышении механическим напряжением порогового значения, с последующим повторным включением возбуждения для синхронизации двигателя после выдержки времени.
Реализация способа осуществляется устройством синхронизации, содержащим синхронный двигатель с трехфазной обмоткой на статоре и обмотками возбуждения и пусковой на роторе, основной выключатель для включения и выключения двигателя, возбудитель с выключателем возбуждения, приборами управления возбуждением, согласно изобретению имеет тензореле с двумя тензорезисторами, установленными на опорных деталях крепления с двух сторон станины двигателя, снабженное анализатором направления действия механического напряжения, при этом исполнительный орган тензореле включен в цепь питания привода выключателя возбуждения.
По сравнению с прототипом способ обладает следующими отличительными признаками: в качестве физической переменной величины используется механическое напряжение в деталях крепления двигателя, сигнал на отключение возбуждения двигателя формируется при появлении первого признака торможения – тормозного момента, без затрат времени на оценку изменения косвенных признаков неуспешной синхронизации; устройства, реализующие предложенный способ, значительно проще устройств прототипа; тензореле в устройстве управления синхронным двигателем ранее не применялось. Таким образом, способ и устройство обладают признаками, соответствующими критерию «изобретательский уровень».
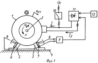
Сущность изобретения поясняется чертежами на фиг.1 и 2. На фиг.1 представлена схема синхронного двигателя и устройств управления; на фиг.2 представлена блок-схема тензореле заявленного устройства.
Синхронный двигатель с горизонтальным валом (фиг.1) имеет станину 1, которая с помощью двух деталей крепления (лап) 2 и 3 крепится на основании машины 4 (фундаменте). Ротор 5 двигателя сочленен с рабочей машиной через передаточный орган (два последних на чертеже не показаны). На лапах 2 и 3 установлены тензорезисторы (датчики) 6 и 7 механического напряжения лап. Тензорезисторы воспринимают напряжения сжатия и растяжения в лапах от действия крутящего момента станины. Тензорезисторы 6 и 7 проводниками 8 соединены с электронным блоком тензореле 9. Выключатель 10 обеспечивает включение и выключение двигателя. Возбудитель 11 обеспечивает возбуждение двигателя с автоматическим регулированием по заданному закону в синхронном режиме и синхронизацию двигателя при запуске и ресинхронизации, для чего имеет встроенный выключатель возбуждения, функцию которого может выполнять регулируемый выпрямитель или отдельный коммутационный аппарат. Реле времени 12 обеспечивает выдержку времени для повторной синхронизации двигателя при пуске и ресинхронизации.
Электронный блок тензореле 9 (фиг.2) (далее тензореле) содержит измерительную схему 13, получающую питание от источника питания 14 и соединенную проводниками 8 с тензорезисторами 6 и 7, установленными на лапах 2 и 3 двигателя, анализатор направления момента двигателя 15, определяющий, какое из электрических сопротивлений тензорезисторов 6 и 7 больше, усилитель электрических сигналов 16, так же, как и схема 13, получающий питание от источника 14. Измерительная схема 13 передает электрический сигнал анализатору направления момента 15, усилителю 16 и далее исполнительному органу 17, в качестве которого может использоваться электромагнитное реле или геркон. Исполнительный орган 17 своим размыкающим контактом воздействует на цепь управления возбудителя 11, вызывая снятие возбуждения двигателя.
В качестве измерительной схемы 13 может использоваться четырехплечий измерительный мост постоянного тока, с включением тензорезисторов 6 и 7 в смежные плечи моста. Полярность электрического напряжения на выходе моста определяется направлением изменения электрического сопротивления тензорезисторов 6 и 7. В качестве анализатора направления момента 14 может использоваться диод.
Новой является область применения тензореле для управления синхронизацией двигателя. Новизна конструктивной схемы тензореле заключается во введении анализатора направления момента 15, позволяющего адаптировать тензореле к задаче управления синхронизацией двигателя.
Способ и устройство синхронизации синхронного двигателя имеют следующий принцип работы.
У отключенного двигателя на лапы 2 и 3 действует сила тяжести двигателя, создавая в них примерно одинаковое механическое напряжение сжатия.
При пуске и нормальной работе двигателя на его ротор 5 действует крутящий момент Мдв, направленный по направлению вращения ротора 5. Такой же по величине и противоположно направленный момент Мст действует на станину 1, вызывая перераспределение механического напряжения в лапах 2 и 3 двигателя: на набегающей лапе 2 сжатие уменьшается (или переходит в растяжение), на сбегающей лапе 3 сжатие усиливается. Разность механических напряжений в лапах 2 и 3 пропорциональна крутящему моменту Мст.
Аварийное торможение двигателя при синхронизации или при выпадении из синхронизма возникает вследствие появления электромагнитного тормозного момента, который является результатом взаимодействия токов статора I и возбуждения If при неблагоприятном расположении оси индуктора по отношению к полю статора. При этом направление моментов, действующих на ротор 5 и станину 1, изменяется на противоположное. В этом случае усиливается сжатие лапы 2 и уменьшается сжатие лапы 3 с возможной сменой знака этих механических напряжений (т.е. перехода от растяжения к сжатию и наоборот). Это изменение механических напряжений фиксируется тензореле 9 и последнее подает возбудителю 11 команду на отключение возбуждения. Аналогичного по характеру и величине изменения механических напряжений в лапах 2 и 3 не происходит при других возможных режимах синхронного двигателя и потому является однозначным признаком неуспешной синхронизации или выпадения из синхронизма с аварийным торможением двигателя.
Блок-схема, представленная на фиг.2, работает следующим образом.
При успешной синхронизации и нормальной работе двигателя в синхронном режиме в лапе 3, как упругом элементе, механическое напряжение больше, чем в лапе 2, соответственно электрическое сопротивление тензорезистора 6 меньше, чем тензорезистора 7. Измерительная схема 13 реагирует на такое изменение величины сопротивления тензорезисторов появлением отрицательного электрического сигнала на выходе, который подается на анализатор направления момента 15. Анализатор 15 не передает отрицательный сигнал усилителю 16 и исполнительное реле 17 не получает сигнал на размыкание цепи управления возбудителем 11. Возбудитель 11 подает ток возбуждения If в обмотку возбуждения двигателя.
При неуспешной синхронизации и появлении тормозного момента, вызывающего аварийное торможение двигателя, механические напряжения в упругих элементах изменяются: в лапе 2 оно становится больше, чем в лапе 3, электрическое сопротивление тензорезистора 6 становится больше, чем тензорезистора 7, измерительная схема 13 реагирует на это изменение величины электрического сопротивления тензорезисторов сменой знака и величины выходного сигнала, анализатор направления момента 15 передает положительный электрический сигнал на вход усилителя 16. Усиленный сигнал передается исполнительному органу 17, который размыкает электрический контакт в цепи управления возбудителя 11, вызывая снятие возбуждения с двигателя (If=0) и устраняя тем самым тормозной электромагнитный момент двигателя. Двигатель в асинхронном режиме выходит на подсинхронную скорость вращения.
Реле времени 12 с выдержкой времени подает сигнал возбудителю 11 на повторное включение возбуждения, и цикл синхронизации повторяется. При неуспешной повторной синхронизации опять происходит отключение возбуждения по вышеописанному алгоритму; в случае успешной синхронизации возбудитель 11 остается подключенным к обмотке возбуждения двигателя. Таким образом, двигатель синхронизируется одним или несколькими включениями возбуждения.
Повышение эффективности синхронизации достигается увеличением быстродействия при отключении возбуждения, поскольку появление тормозного момента обнаруживается в самый начальный период аварийного торможения при неуспешной синхронизации, а тензореле 9 обладает высоким быстродействием, поскольку не имеет инерционных элементов. При этом скорость двигателя остается близкой к подсинхронной, что позволяет делать повторную синхронизацию после малой выдержки времени. При нескольких (в опыте, не более трех) повторных попытках синхронизация происходит надежно.
Высокая надежность устройства определяется, с одной стороны, однозначностью признака неуспешной синхронизации (аварийного торможения) двигателя, большим диапазоном изменения механических напряжений в лапах 2 и 3 двигателя, что обусловливает надежное срабатывание тензореле 9, и, с другой стороны, высокой конструктивной надежностью тензореле 9.
Использование изобретения повышает надежность работы синхронного двигателя, упрощает и удешевляет устройство синхронизации.
Формула изобретения
1. Способ синхронизации синхронного двигателя, включающий контроль за процессом синхронизации на основе измерения переменной физической величины в детали конструкции синхронного двигателя, отличающийся тем, что в качестве переменной физической величины используют механическое напряжение в деталях крепления синхронного двигателя к основанию, а отключение возбуждения синхронного двигателя для прерывания синхронизации производят при изменении направления механического напряжения в этих деталях и превышении механическим напряжением порогового значения с последующим повторным включением возбуждения для синхронизации синхронного двигателя после выдержки времени.
2. Устройство синхронизации, содержащее синхронный двигатель с трехфазной обмоткой на статоре и обмотками возбуждения и пусковой на роторе, основной выключатель для включения и выключения синхронного двигателя, возбудитель с встроенным выключателем возбуждения, который обеспечивает возбуждение синхронного двигателя с автоматическим регулированием возбуждения по заданному закону в синхронном режиме и синхронизацию двигателя при запуске и ресинхронизации и подает ток возбуждения в обмотку возбуждения синхронного двигателя, отличающееся тем, что имеет тензореле с двумя тензорезисторами, установленными на опорных деталях крепления с двух сторон станины синхронного двигателя, снабженное анализатором направления действия механического напряжения, определяющим, какое электрическое сопротивление тензорезисторов больше, и передающим сигнал исполнительному органу тензореле, который включен в цепь питания привода встроенного выключателя возбуждения, реле времени, которое с выдержкой времени подает сигнал возбудителю на повторное включение возбуждения для синхронизации синхронного двигателя.
РИСУНКИ
MM4A – Досрочное прекращение действия патента СССР или патента Российской Федерации на изобретение из-за неуплаты в установленный срок пошлины за поддержание патента в силе
Дата прекращения действия патента: 30.11.2006
Извещение опубликовано: 27.08.2008 БИ: 24/2008
|
|