|
| На основании пункта 3 статьи 13 Патентного закона Российской Федерации от 23 сентября 1992 г. № 3517-I патентообладатель обязуется передать исключительное право на изобретение (уступить патент) на условиях, соответствующих установившейся практике, лицу, первому изъявившему такое желание и уведомившему об этом патентообладателя и федеральный орган исполнительной власти по интеллектуальной собственности, – гражданину РФ или российскому юридическому лицу. |
|
(21), (22) Заявка: 2004134880/09, 29.11.2004
(24) Дата начала отсчета срока действия патента:
29.11.2004
(45) Опубликовано: 10.05.2006
(56) Список документов, цитированных в отчете о поиске:
ПРУТКОВСКИЙ С.А., Гидрогенераторы, Ленинград, Энергоатомиздат, 1990, с.319-320. SU 875541 A, 23.10.1981. SU 1767624 A1, 07.10.1992. SU 1365248 A1, 07.01.1988. RU 2144726 C1, 20.01.2000. DE 4217099 С1, 04.11.1993. АЛЕКСАНДРОВ А.Е., Подпятники гидрогенераторов, Москва, Энергия, 1975, с.17, 22, 36, 51, 82, 113.
Адрес для переписки:
199226, Санкт-Петербург, ул. Кораблестроителей, 23, корп.1, кв.392, В.В. Чернявец
|
(72) Автор(ы):
Тилес Сергей Александрович (RU), Виноградов Евгений Николаевич (RU), Знаменская Ольга Львовна (RU), Чернявец Владимир Васильевич (RU)
(73) Патентообладатель(и):
Виноградов Евгений Николаевич (RU), Тилес Сергей Александрович (RU), Знаменская Ольга Львовна (RU), Чернявец Владимир Васильевич (RU)
|
(54) ВСТРОЕННАЯ МАСЛЯНАЯ ВАННА ГИДРОГЕНЕРАТОРА
(57) Реферат:
Изобретение относится к области электротехники, а именно – крупного электромашиностроения, и касается особенностей конструктивного выполнения крупных электрических машин, в частности масляных ванн подпятников и подшипников гидрогенераторов. Сущность изобретения состоит в том, что во встроенной масляной ванне гидрогенератора, образованной стенками и днищами центральной части крестовины и выгородкой, которая образует внутреннюю кольцевую стенку ванны, представляющую собой цилиндр, внутри которого проходит вал, а с внешней стороны имеется втулка, согласно данному изобретению, в верхней части упомянутой выгородки со стороны внешнего диаметра установлены уплотняющие кольца, соединенные с цилиндрической частью выгородки и образующие кольцеобразный лоток, в котором размещено уплотнение плавающего типа, выполненное в виде кольца, прижатого к вращающейся втулке пружинными элементами, расположенными в аксиальном направлении равномерно по окружности между вертикальной стенкой выгородки и уплотнением и посаженными на направляющие стержни и упирающимися одним концом в дно углублений, выполненных в уплотнении со стороны внутреннего диаметра, а другим концом упирающимися в цилиндрическую часть выгородки, на которой закреплены направляющие стержни, при этом уплотнение снабжено фиксирующим элементом, выполненным в виде упорных пальцев, размещенных в вертикальных углублениях уплотнения и закрепленных в верхнем кольце кольцеобразного лотка. Технический результат, достигаемый при использовании данного изобретения, состоит в повышении надежности функционирования масляной ванны с установленными в ней узлами гидрогенератора путем исключения протекания масла со стороны внутреннего диаметра ванны в каналы, между валом, выгородкой и втулкой под воздействием центробежных сил, возникающих при вращении ротора гидрогенератора. 8 ил.
Изобретение относится к области крупного электромашиностроения, преимущественно гидрогенераторов, а более конкретно к масляным ваннам подпятников и подшипников.
Известна конструкция масляной ванны гидрогенератора [1], в которой сегменты подшипника вместе с опорными элементами для уменьшения потерь от нагрева размещены вблизи вращающегося вала. Для удобства изготовления, сборки и эксплуатации непосредственно корпус ванны выполнен с разъемно-отъемной внутренней стенкой, представляющей собой выгородку, включающую внутреннюю отъемную стенку ванны с небольшой частью днища. Выгородка выполнена в виде цилиндра с присоединительным фланцем. Так как выгородка является составной частью масляной ванны, то между ней и вращающимися частями вала, представляющими собой валопровод, предусмотрен зазор от 20 до 150 мм, что исключает соприкосновение выгородки вращающимся валом и втулкой подпятника или подшипника. Втулка при этом закреплена на вращающемся валу запорными кольцами. При таком взаиморасположении вала, выгородки и втулки образуется пространство в виде вертикальных кольцевых каналов, через которые возможны вытекание масла и выброс его паров из ванны вовнутрь генератора. Под воздействием центробежного эффекта ротора эта часть масла попадает на сердечники и обмотки ротора и статора, что приводит к замасливанию этих элементов и в конечном итоге снижает эксплуатационную надежность и долговечность генератора в целом. Для исключения этого явления необходимо останавливать гидрогенератор для очистки замасленных частей, что приводит к его необоснованному простою.
В известной конструкции масляной ванны подшипника гидрогенератора [2] для уменьшения влияния попадания масла на узлы генератора предусмотрена установка между валом и втулкой двух цилиндрических выгородок, на одной из которых, в частности на наружной, предусмотрены отбойные лопатки соответствующего сечения, расположенные под заданным углом, что частично замедляет процесс попадания масла и его паров на узлы генератора благодаря установке отбойных лопаток, но так как между лопатками и стенками ванны остаются зазоры, то часть масла и паров достигают узлов сердечников и обмотки генератора, что снижает эксплуатационную надежность гидрогенератора.
Известны также конструкции встроенных масляных ванн как для подпятников, так и для подшипников гидрогенераторов, которые образованы стенками и днищами центральной части крестовины и выгородкой [3]. Выгородка образует внутреннюю кольцевую стенку ванны и представляет собой цилиндр, внутри которого проходит вал генератора. Для успокоения циркулирующего масла в данном устройстве установлены маслораспределительньте щиты, а также маслоуспокоительные щиты, что позволяет стабилизировать циркулирующие потоки масла в масляной ванне в целом. Однако в верхней части выгородки со стороны внешнего диаметра в известной конструкции имеется зазор, через который масло и его пары попадают на узлы сердечника и обмотки генератора, что может негативно сказаться на долговечности и надежности функционирования гидрогенератора.
Задачей настоящего предложения является повышение надежности функционирования масляной ванны с установленными в нее узлами гидрогенератора путем исключения протекания масла со стороны внутреннего диаметра ванны в каналы, между валом, выгородкой и втулкой под воздействием центробежного эффекта ротора.
Решение поставленной задачи достигается за счет того, что в встроенной масляной ванне подпятника гидрогенератора, образованной стенками и днищами центральной части крестовины и выгородкой, которая образует внутреннюю кольцевую стенку ванны, представляющую собой цилиндр, внутри которого проходит вал, а с внешней стороны имеется втулка, в которой в верхней части выгородки со стороны внешнего диаметра установлены кольца, соединенные с цилиндрической частью выгородки и образующие кольцеобразный лоток, в котором размещено уплотнение плавающего типа, выполненное в виде кольца, прижатого к вращающейся втулке пружинными элементами, расположенными в аксиальном направлении равномерно по окружности между вертикальной стенкой выгородки и уплотнением и посаженными на направляющие стержни и упирающимися одним концом в дно углублений, выполненных в уплотнении со стороны внутреннего диаметра, а другим концом упирающимися в цилиндрическую часть выгородки, на которой закреплены направляющие стержни, при этом уплотнение снабжено фиксирующим элементом, выполненным в виде упорных пальцев, размещенных в вертикальных углублениях уплотнения и закрепленных в верхнем кольце кольцеобразного лотка.
Установка в верхней части выгородки со стороны внешнего диаметра колец, соединенных с цилиндрической частью выгородки с образованием кольцеобразного лотка, в котором размещено уплотнение плавающего типа, закрепленное соответствующим образом, позволяет не только уменьшить турбулентность циркулирующего потока масла в масляной ванне под воздействием центробежного эффекта ротора, но и исключить попадание масла и его паров в каналы между валом, выгородкой и втулкой.
Совокупность новых признаков, заключающихся в установке в верхней части выгородки со стороны внешнего диаметра колец, соединенных с цилиндрической частью выгородки с образованием кольцевого лотка, в котором размещено уплотнение плавающего типа, из известного уровня техники не выявлена, что позволяет сделать вывод о соответствии заявляемого технического решения условию патентоспособности “изобретательский уровень”.
Предлагаемое решение иллюстрируется чертежами, где на фиг.1 показан продольный разрез масляной ванны подпятника вертикального гидрогенератора, на фиг.2 – вид сверху масляной ванны с частичным разрезом отдельных элементов по стрелке А, на фиг.3 и фиг.4 показан частичный разрез составных частей уплотняющего узла, на фиг.5, фиг.6 и фиг.7 показаны варианты изготовления трущейся поверхности уплотняющего кольца, на фиг.3 показан продольный разрез масляной ванны с подшипником радиального типа.
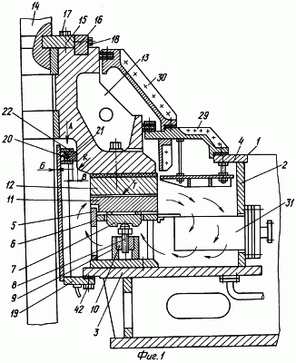
Масляная ванна состоит из корпуса 1, образованного стенками 2, днища 3, верхнего фланца 4. Внутри ванны, заполненной маслом, установлен подпятник 5, состоящий из корпуса 6, опор тарельчатого типа 7, опорно-регулировочных болтов 8, ввернутых в стаканы 9 с втулками 10. Сегменты 11 подпятника 5 расположены равномерно по окружности с соответствующим эксцентриситетом на опорах 7.
Общая осевая вертикальная нагрузка от веса вращающихся частей генератора и турбины, а также от реакции воды, поступающей на рабочее колесо турбины, передается на сегменты 11 через вращающийся диск 12, который прикреплен к втулке 13, которая в свою очередь соединена с валом 14 посредством запорных колец 15, сухарей 16 и крепежных элементов 17 и 18.
Между валом 14, втулкой 13 и подпятником 5 для образования внутренней стенки ванны установлена цилиндрическая выгородка 19 с соответствующим зазором Б и В и закрепленная к днищу 3, что обеспечивает необходимый объем и уровень масла в ванне для обеспечения смазки плоскостей трения Т между сегментами 11 и диском 12 во время работы генератора.
При работе генератора в зазоры Б и В между вращающимся валом 14 и выгородкой 19, а также между втулкой 13 и выгородкой 19 возможно протекание масла и масляных паров, особенно на режимах работы генератора, когда мениск поверхности масла может иметь обратную характеристику.
Для исключения возможности попадания масла и его паров через зазоры Б и В на активные части генератора в верхней части 20 выгородки 19 установлено уплотнение плавающего типа 21, которое размещено между образующими кольцевой лоток кольцами 22, соединенными с цилиндрической частью выгородки 19. Для надежного соединения уплотнителя 21, выполненного в виде уплотняющего кольца, к вращающейся втулке 13 кольцо 21 поджато пружинными элементами 23, упирающимися одним концом в цилиндрическую часть выгородки 19 в ее вершине, а другим концом в дно углублений 24. Углубления 24 выполнены в теле уплотняющих колец 21 со стороны внутреннего диаметра. От выпадения и сползания элементов 23 в сторону предусмотрены направляющие стержни 25, закрепленные на стенке выгородки 19. Для исключения возможного сдвига уплотняющего кольца 21 в радиальном и тангенциальном направлениях, обусловленного вибрационными явлениями, предусмотрены фиксирующие болты 26 с шайбами 27.
Концевая часть каждого болта 26 размещена в углублении 28. Зазор “Г” между концевой частью болта 26 и углублением 28 выполнен значительно большим, чем радиальный “бой” R втулки 13, что обеспечивает необходимое поджатие уплотняющего кольца 21 к втулке 13 с помощью пружинящего элемента 23.
Радиальная подвижка уплотняющего кольца 21 обеспечивается также минимальным зазором по высоте между кольцами 22 и 21.
Вытекание масла или просачивание его паров со стороны верхнего торца и со стороны наружного диаметра ванны исключается установкой уплотнений 29 и 30. Охлаждение масла в процессе работы генератора осуществляется охладителями 31. На фиг.5, 6 и 7 показаны варианты выполнения трущейся поверхности 32 уплотнений 21, примыкающих к втулке 13 со стороны наружного диаметра.
Аналогичное уплотняющее устройство может быть применено и в масляных ваннах с размещенными в ней радиальными направляющими подшипниками (фиг.8), где показаны вал 33, втулка 34, в которую упираются сегменты 35 с опорными регулировочными элементами 36, 37 и 38, размещенными в цилиндре 39 крестовины 40, и выгородка 41, предназначенная для создания необходимого объема для масла, предназначенного для смазки сегментов подшипника в период работы генератора. Сечение плоскости уплотнения 21, прилегающей к вращающейся поверхности втулки, может иметь различное исполнение (фиг.5, 6 и 7), а уплотнение может быть изготовлено из фторопласта, резины и т.п.
Установка уплотняющих элементов 21 для уплотнения пространства между втулкой 13 и выгородкой 19 осуществляется следующим образом. На выгородке 19, закрепленной к днищу 3, устанавливают пружинящие элементы 23, например пружину, на стержни 25. Затем устанавливают кольца 21 между кольцами 22. При этом кольца 21 выставляют так, чтобы свободные концы пружин 25 вошли свободно в углубления 24. После установки всех колец в кольцевом лотке обеспечивается свободное легкое движение под нажатием пружин всех колец в радиальном направлении. Затем все кольца фиксируются от чрезмерного сдвига в радиальном и тангенциальном направлениях посредством болтов 26, установленных в резьбовое отверстие верхнего кольца 22 и в проходное отверстие 28. Резьбовое отверстие для болтов 26 может быть выполнено и в нижнем кольце 22. После сборки выгородки 19 с уплотняющими элементами 21 устанавливают и закрепляют втулку 13 на штатное место. Чтобы уплотняющие элементы не были повреждены при опускании втулки на нижней ее кромке К , предусмотрены заходная фаска и радиус на нижнем торце втулки внутреннего диаметра.
Ревизия или необходимый ремонт узлов и элементов, расположенных в масляной ванне, может быть осуществлен при опускании уплотняющего элемента вниз после предварительного вывинчивания болтов 42 и слива масла из ванны.
Для возможности опускания выгородки 19 кольца 21 имеют несколько меньший диаметр, чем внутренний диаметр днища 3.
Реализация предлагаемого технического решения технической трудности не представляет, так как оно может быть изготовлено как в заводских условиях, так и в условиях ГЭС, что позволяет сделать вывод о соответствии заявляемого технического предложения условию патентоспособности “промышленная применимость”.
Источники информации
1. Александров А.Е. Подпятники гидрогенераторов. М., Энергия, 1975,с.17, 22, 36, 51, 82, 113.
2. Патент Индии №36865.
3. Прутковский С.А. Гидрогенераторы. Л., Энергоатомиздат, 1990, с.319-320.
Формула изобретения
Встроенная масляная ванна гидрогенератора, образованная стенками и днищами центральной части крестовины и выгородкой, которая образует внутреннюю кольцевую стенку ванны, представляющую собой цилиндр, внутри которого проходит вал, а с внешней стороны имеется втулка, отличающаяся тем, что в верхней части выгородки со стороны внешнего диаметра установлены уплотняющие кольца, соединенные с цилиндрической частью выгородки и образующие кольцеобразный лоток, в котором размещено уплотнение плавающего типа, выполненное в виде кольца, прижатого к вращающейся втулке пружинными элементами, расположенными в аксиальном направлении равномерно по окружности между вертикальной стенкой выгородки и уплотнением, посаженными на направляющие стержни и упирающиеся одним концом в дно углублений, выполненных в уплотнении со стороны внутреннего диаметра, а другим концом упирающиеся в цилиндрическую часть выгородки, на которой закреплены направляющие стержни, при этом уплотнение снабжено фиксирующим элементом, выполненным в виде упорных пальцев, размещенных в вертикальных углублениях уплотнения и закрепленных в верхнем кольце кольцеобразного лотка.
РИСУНКИ
|
|