|
| На основании пункта 3 статьи 13 Патентного закона Российской Федерации от 23 сентября 1992 г. № 3517-I патентообладатель обязуется передать исключительное право на изобретение (уступить патент) на условиях, соответствующих установившейся практике, лицу, первому изъявившему такое желание и уведомившему об этом патентообладателя и федеральный орган исполнительной власти по интеллектуальной собственности, – гражданину РФ или российскому юридическому лицу. |
|
(21), (22) Заявка: 2005101008/09, 18.01.2005
(24) Дата начала отсчета срока действия патента:
18.01.2005
(45) Опубликовано: 10.05.2006
(56) Список документов, цитированных в отчете о поиске:
ПРУТКОВСКИЙ С.А., Гидрогенераторы, т.2, издание 3, Ленинград, Энергоатомиздат, 1990, с.229, рис.5-9. RU 2056694 C1, 20.03.1996. SU 1270836 A1, 15.11.1986. RU 2046497 С1, 20.10.1995. SU 1140205 А1, 15.02.1985. SU 736892 A3, 25.05.1980. SU 1171905 А1, 07.08.1985. US 4329609 А, 11.05.1982. US 2735030 А, 14.02.1956. US 2280974 А, 28.04.1942.
Адрес для переписки:
199226, Санкт-Петербург, ул. Кораблестроителей, 23, корп.1, кв.392, В.В. Чернявец
|
(72) Автор(ы):
Виноградов Евгений Николаевич (RU), Чернявец Владимир Васильевич (RU)
(73) Патентообладатель(и):
Виноградов Евгений Николаевич (RU), Чернявец Владимир Васильевич (RU)
|
(54) ПОЛЮС МОЩНОЙ ЭЛЕКТРИЧЕСКОЙ МАШИНЫ С ЯВНО ВЫРАЖЕННЫМИ ПОЛЮСАМИ
(57) Реферат:
Изобретение относится к области электротехники, а именно – к конструкциям явно выраженных полюсов мощных электрических машин переменного тока, преимущественно высоконагруженных в электромагнитном и тепловом отношении. Сущность изобретения состоит в том, что в явно выраженном полюсе мощной электрической машины переменного тока, снабженном биметаллическими щеками с крепежными элементами, стержнями демпферной обмотки возбуждения, каждая из щек сердечника полюса содержит немагнитные вставки, имеющие трапециевидное сечение, размещенные в радиальной части полюсного наконечника вдоль его оси между стержнями демпферной обмотки в специальных пазах, расположенных между стержнями демпферной обмотки, а также над стержнями и в теле полюсного наконечника по его радиальной составляющей, крепежные элементы немагнитных вставок выполнены из немагнитного материала, немагнитные вставки зафиксированы в пазах на продольных кромках. Технический результат – снижение нагрева торцевых пакетов сердечников полюсов при одновременном снижении трудоемкости изготовления их щек и расхода дорогостоящего материала немагнитных вставок, в частности – титана. 5 ил.
Изобретение относится к конструкциям электрических машин, в частности к конструкции полюсов мощных электрических машин переменного тока с явно выраженными полюсами, преимущественно высоконагруженным в электромагнитном и тепловом отношении.
Известны электрические машины [1], в которых полюс ротора состоит из сердечника, катушки обмотки возбуждения, изоляции между ними и демпферной обмотки.
Щеки сердечников большей частью изготавливаются из стальных поковок, реже из стального листа или литья.
Для снижения потерь и нагрева при прохождении части магнитного потока через массивные щеки на их наружной поверхности выполняются канавки, играющие ту же роль, что шихтовка полюсного башмака. Однако при такой конструкции увеличение электромагнитных нагрузок приводит к возрастанию магнитных полей, потерь и нагрева торцевой зоны сердечника статора. При этом температура крайних пакетов сердечника статора в ряде эксплуатационных режимов превышает температуру средних пакетов более чем в 2 раза. Осевой магнитный поток, вызывающий повышенный нагрев крайних пакетов сердечника статора, в значительной степени определяется вытеснением в торцевую зону основным магнитным потоком. Плотность торцевого потока на статоре может быть снижена, например, за счет уменьшения вылета полюсов ротора относительно статора. Однако при известных конструктивных исполнениях компоновки этой части, например, гидрогенератора выполнить такую задачу практически невозможно, с одной стороны, из-за выступающих в осевом направлении магнитных щек полюсов ротора, а с другой стороны из-за необходимости обеспечения требуемой плотности магнитного потока в основании сердечников полюсов.
Дня снижения нагрева торцевых крайних пакетов сердечника статора и обеспечения требуемой плотности магнитного потока щеки выполняют составными, наружная часть которых выполнена из немагнитного материала, в частности титана. Это позволяет снизить нагрев торцевых пакетов сердечника более чем на 30%.
Конструктивно составная щека разделена геометрически на равные две части, верхняя часть которой выполнена из титана и имеет плоскую часть с развитым Г-образным элементом полюсного наконечника, а нижняя часть щеки выполнена плоской, оснащенной элементами в виде ласточкина хвоста. Такая конструкция биметаллических щек полюсов вполне удовлетворяет требованиям, предъявляемым к электромагнитному потоку и тепловому режиму, а также требованиям по надежности и долговечности.
Однако выполнение биметаллической щеки с 50% содержанием титана приводит к повышенным расходам титанового сплава и трудоемкости изготовления щеки и полюса в целом.
Задачей заявляемого технического решения является снижение расхода титанового сплава и трудоемкости изготовления щек полюсов.
Поставленная задача решается за счет того, что в полюсе мощной электрической машины переменного тока с явно выраженными полюсами, снабженными биметаллическими щеками с крепежными элементами, стержнями демпферной обмотки возбуждения, каждая из щек сердечника полюса содержит немагнитные вставки, имеющие трапециевидное сечение, размещенные в радиальной части полюсного наконечника вдоль его оси между стержнями демпферной обмотки, а также над стержнями и в теле полюсного наконечника по его радиальной составляющей, крепежные элементы немагнитных вставок выполнены из немагнитного материала, немагнитные вставки зафиксированы в пазах на продольных кромках.
Предлагаемая конструкция, выполненная в виде биметаллических щек полюсов с немагнитными вставками, размещенными только в зоне радиальной части полюсов наконечника каждой щеки на участках между стержнями демпферной обмотки вдоль оси полюсного наконечника, а также над стержнями и в теле полюсного наконечника обеспечивает снижение нагрева торцевой зоны сердечника и электрической машины в целом, и снижает трудоемкость изготовления полюсов.
Выполненный расчет электромагнитного и теплового режимов такой конструкции показал, что достаточно иметь слой немагнитного материала в виде вставок на поверхности полюсного наконечника в пределах 6-10 мм, равного, например, глубине выполняемых шлицев, что существенно снижает расход титанового сплава.
Сущность технического предложения поясняется чертежами.
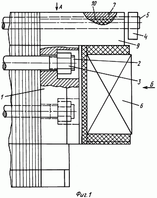
Фиг.1. Разрез полюса ротора электрической машины по торцевой зоне.
Фиг.2. Вид на торцевую зону полюса со стороны наружного диаметра.
Фиг.3. Вид на торцевую зону полюса без демпферного сегмента.
Фиг.4. Щека полюса с продольными пазами для немагнитных вставок.
Фиг.5. Щека полюса с радиально-поперечными пазами для немагнитных вставок, без демпферных сегментов и стержней.
Для обеспечения снижения нагрева электрической машины биметаллические щеки 1 полюсов выполнены с немагнитными вставками 2, размещенными только в зоне радиальной части 3 полюсного наконечника 4 каждой щеки 1 на участках между стержнями 5 демпферной обмотки. При этом немагнитные вставки 2 из титанового сплава имеют сечение в виде трапеции и размещены в соответствующих пазах 6 с последующей чеканкой по продольной оси.
Вставки 7 размещены в радиальной части 8 полюсного наконечника 9 вдоль его оси на участках с чередованием между стержнями 5 демпферной обмотки в пазах 10.
Вставки 11 в виде радиально изогнутых полос расположены и закреплены в пазах над стержнями 5 демпферной обмотки. При этом пазы 12 под немагнитные вставки выполнены в виде радиальных канавок, дно 13 которых адекватно радиусу полюсного наконечника.
Предлагаемая конструкция позволяет уменьшить плотность торцевого потока на статоре электрической машины, что позволяет снизить нагрев торцевых пакетов сердечника на 30%.
Источники информации
1. Прутковский С.А. Гидрогенераторы. Том 2, издание 3, Л., Энергоатомиздат, 1990, с.229, рис.5-9.
Формула изобретения
Полюс мощной электрической машины переменного тока с явно выраженными полюсами, снабженными биметаллическими щеками с крепежными элементами, стержнями демпферной обмотки возбуждения, отличающийся тем, что каждая из щек сердечника полюса содержит немагнитные вставки, имеющие трапециевидное сечение, размещенные в радиальной части полюсного наконечника вдоль его оси между стержнями демпферной обмотки в специальных пазах, расположенных между стержнями демпферной обмотки, а также над стержнями и в теле полюсного наконечника по его радиальной составляющей, крепежные элементы немагнитных вставок выполнены из немагнитного материала, немагнитные вставки зафиксированы в пазах на продольных кромках.
РИСУНКИ
|
|