|
(21), (22) Заявка: 2005103452/09, 10.02.2005
(24) Дата начала отсчета срока действия патента:
10.02.2005
(45) Опубликовано: 10.05.2006
(56) Список документов, цитированных в отчете о поиске:
ЕР 0176677 А2, 09.04.1986. SU 1181023 А, 23.09.1985. SU 1181024 A, 23.09.1985. ЕР 0139525 A3, 02.05.1985.
Адрес для переписки:
664074, г.Иркутск, ул. Лермонтова, 83, Иркутский государственный технический университет
|
(72) Автор(ы):
Тарасов Владимир Иннокентьевич (RU), Константинова Елена Георгиевна (RU), Нейман Виктор Владимирович (RU), Яровиков Андрей Владимирович (RU)
(73) Патентообладатель(и):
Государственное образовательное учреждение высшего профессионального образования “Иркутский государственный технический университет” (ГОУ ИрГТУ) (RU)
|
(54) ЭЛЕКТРИЧЕСКИЙ РАЗЪЕМНЫЙ СОЕДИНИТЕЛЬ ДЛЯ ПЕРЕДАЧИ ЭЛЕКТРИЧЕСКИХ ТОКОВ
(57) Реферат:
Изобретение относится к области электротехники и может быть использовано в системах электроснабжения жилых, административных и производственных объектов напряжением 0,4 кВ, с преобладанием активной нагрузки в сети. Технический результат – расширение диапазона токов за счет снижения переходного сопротивления контактов соединителя, а также повышение термической стойкости при протекании токов аварийных режимов, что повышает надежность соединителя. Электрический разъемный соединитель содержит розетку и вилку с параллельными токонесущими штырями. Взаимодействующие части штырей вилки и гнезд розетки выполнены в форме усеченного самопересекающегося лимоновидного тора с радиусом R его меридиана, удовлетворяющим условию: R 6·L, где L – длина части штыря вилки, взаимодействующей с гнездом розетки. На корпусе вилки установлена с возможностью свободного вращения втулка, соединенная с корпусом розетки резьбовым соединением с крупным шагом ходовой резьбы. 4 ил.
Изобретение относится к области электротехники, в частности к соединительным устройствам, состоящим из двух частей, с токонесущими штырями с осями, параллельными друг другу, и взаимодействующими со скольжением в продольном направлении с отдельными гнездами (ответными контактами), и может быть преимущественно использовано в системах электроснабжения жилых, административных и производственных объектов напряжением 0,4 кВ, с преобладанием активной нагрузки в сети.
Известен электрический соединитель (Авт. свид. SU №1181024, МКИ 4 H 01 R 23/00, Изобретения стран мира: Реферативная информация. Вып. 120, №24, 1985 г.).
Соединитель состоит из двух частей – вилки и розетки, каждая из которых содержит корпус с герметичным вводом, плату с контактами и установленную со стороны сочленения эластичную прокладку со сквозными прорезями для контактов, герметизация которых обеспечивается выпуклостями, расположенными на торцевой поверхности прокладки. С целью повышения надежности, каждая ответная часть соединителя снабжена охватывающим корпус и установленным с возможностью осевого перемещения нажимным элементом, выполненным в виде цилиндрической ступенчатой втулки, на внутренней поверхности которой выполнен выступ с фаской со стороны сочленения, и нажимными сегментами, установленными между выпуклостями прокладки и нажимным элементом. В одной ответной части соединителя нажимной сегмент выполнен в виде одного конического выступа на каждый контакт, а в другой ответной части нажимной сегмент выполнен в виде пары конических выступов на каждый контакт. При этом выступы одной ответной части расположены между парой выступов другой ответной части и все выступы взаимодействуют с конусной поверхностью кольцевого выступа нажимных элементов.
Коаксиально расположенные контакты аналога являются признаком, совпадающим с существенным признаком заявляемого изобретения.
Надежность соединения контактов аналога обеспечивается нажимным усилием втулки, развиваемым вдоль оси контактов. При этом прижимные усилия снижают величину переходного сопротивления только на участке торцов контактов, а на остальную, цилиндрическую, поверхность штыря вилки и гнезда розетки усилие нажима не распространяется, что в итоге незначительно снижает переходное сопротивление контактов и ограничивает диапазон значений передаваемых токов при нормальных режимах работы систем электроснабжения.
Известен электрический гнездовой соединитель (Заявка ЕР №0139525, МКИ 3 H 01 R 13/10, Изобретения стран мира: Реферативная информация. Вып. 120, №23, 1985 г.).
Аналог относится к элементам конструкции соединительных устройств, имеющих гнезда, взаимодействующие со штырями или ножами. Надежное соединение, между контактами штыревого и гнездового соединений, обеспечивается давлением пальцев (выступов) на штырях гнездового контакта, одновременно обеспечивая механическое сопротивление, препятствующее разделению штыревого и гнездового соединения.
Коаксиально расположенные контакты аналога являются признаком, совпадающим с существенным признаком заявляемого изобретения.
Несмотря на усилие, развиваемое гнездом при взаимодействии со штырем, со стороны выступов штыревых соединителей гнезда, надавливающих на штырь, надежность соединения аналога недостаточна.
Причинами, препятствующими получению технического результата, а именно надежности соединения аналога (за счет пальцев на гнездовом соединителе) является следующее.
Во-первых, изначально заложенное в аналоге условие максимального снижения давления пальцев на штырь с целью уменьшения износа рабочих поверхностей взаимодействующих контактов.
Во-вторых, снижение давления произойдет при частой коммутации, за счет разгибания пальцев.
В-третьих, при возможных перегревах контактов в ненормальных режимах и перегревах, вызванных неплотным прилеганием пальцев, со временем снизятся силы упругой реакции со стороны пальцев на поверхность штыря при соединении его с гнездом.
В-четвертых, в случае ошибочного (грубого надавливания штырем на поверхность пальца гнезда) соединения возможно дополнительное разгибание пальца и, как следствие, значительное снижение давления с последующим снижением надежности соединения.
Известен электрический разъем (Авт. свид. SU №1181023, МКИ 4 H 01 R 13/62, Изобретения стран мира: Реферативная информация. Вып. 120, №24, 1985 г.). Разъем состоит из двух частей – вилки и розетки, имеющих корпуса, соединяемые накидной гайкой, свободновращающейся на корпусе розетки, и имеющей резьбовое соединение с корпусом вилки.
Гайка удерживается на корпусе розетки за счет выступа корпуса, взаимодействующего со специальным выступом на гайке.
Признаком аналога, совпадающим с существенным признаком заявляемого изобретения, является наличие зажимного элемента, обеспечивающего удерживание контактов в замкнутом состоянии, – накидной гайки (в заявляемом изобретении – втулки).
Несмотря на надежное удерживание контактов в замкнутом состоянии посредством накидной гайки, аналог не обеспечивает быструю коммутацию (включение и отключение) соединителя потому, что мелкий шаг резьбы накидной гайки при отключении соединителя затягивает время расхождения контактных поверхностей штыря вилки и гнезда розетки. Гайка создает силу нормального давления, обусловленную силой нажима. В данном случае, эта сила эффективна только на поверхности соприкосновения торца штыря и дна гнезда, но не по боковым поверхностям контактов, поэтому аналогом не достигается значительного снижения переходного сопротивления контактов.
За прототип принят наиболее близкий к совокупности существенных признаков – многополюсный разъемный штепсельный соединитель для передачи электрических токов (заявка ЕР №017667, МКИ 4 H 01 R 23/02, В 60 D 1/08, Изобретения стран мира: Реферативная информация. Вып. 120, №23, 1986 г.).
Параллельно расположенные контакты вилки и розетки, входящие друг в друга со скольжением – признак аналога, совпадающий с существенным признаком заявляемого изобретения.
Недостатком аналога, препятствующим получению технического результата, а именно надежного соединения цилиндрических контактов, является ограниченность применения изобретения в слаботочных цепях, вызванная особенностью конструкции соединителя, не обеспечивающего достаточных прижимных усилий контактов разъема.
Цилиндрическая форма взаимодействующих контактов без специальных устройств, создающих нажимное усилие на контактирующие поверхности разъема, обуславливает высокое переходное сопротивление, при протекании по которому токов более двадцати ампер на контактах разъема выделяется тепловая энергия, способная вызвать оплавление междуфазной изоляции проводов с последующим междуфазным коротким замыканием и возгорание контактирующих пожароопасных зон.
Другими словами, надежность соединения прототипа обусловлена лишь тем, что после соединения вилка и розетка удерживаются в замкнутом состоянии за счет сил трения, во взаимодействующих частях корпусов вилки и розетки, и трения штырей вилки о гнезда розетки.
В данном случае силы трения компенсируют незначительные силы, размыкающие соединитель, например, возникающие либо от воздействия вибрации либо от колебаний, например, в результате перемещения соединителя в пространстве и т.п., а надежность соединения обеспечивается кратковременным нажатием в момент замыкания контактов. Усилие нажатия направлено вдоль оси цилиндрических контактов и эффективно только при взаимодействии торца штыря и дна гнезда, поэтому усилие нажатия практически не влияет на величину переходного сопротивления в месте взаимодействия контактов прототипа, величина которого определяется только силой давления со стороны цилиндрических токосъемов гнезда розетки на штырь вилки. Это обуславливает высокое переходное сопротивление контактов, при протекании по которому токов более двадцати ампер будет выделяться тепловая энергия, достаточная для сильного нагрева контактов с большой вероятностью оплавления междуфазной изоляции отходящих проводов и, как следствие, междуфазного короткого замыкания.
Изобретение направлено на предотвращение пожаров от возгорания электропроводки систем электроснабжения жилых, административных и производственных объектов напряжением 0,4 кВ, распространяемых от контактов разъемных соединителей.
Технический результат изобретения заключается в повышении надежности соединителя, обусловленной, во-первых, значительным расширением диапазона токов в нормальном режиме работы систем электроснабжения за счет значительного снижения переходного сопротивления контактов соединителя, и, во-вторых, повышением термической стойкости соединителя при протекании по нему токов аварийных режимов системы электроснабжения.
Технический результат достигается тем, что в электрическом разъемном соединителе для передачи электрических токов, содержащем вилку с токонесущими штырями с осями, параллельными друг другу, взаимодействующими со скольжением в продольном направлении с гнездами розетки, согласно изобретению взаимодействующие части штырей вилки и гнезд розетки выполнены в форме усеченного самопересекающегося лимоновидного тора с радиусом R его меридиана, удовлетворяющим условию:
R 6·L, где
L – длина части штыря вилки, взаимодействующей с гнездом розетки, при этом на корпусе вилки установлена с возможностью свободного вращения втулка, соединенная с корпусом розетки резьбовым соединением с крупным шагом резьбы.
Достижение технического результата заявляемого изобретения обусловлено тем, что в контактах соединителя появляются значительные силы нормального давления, распределенные перпендикулярно к тороидальной поверхности соприкосновения штыря вилки и гнезда розетки.
Силы нормального давления FД, обусловленные передачей нажимного усилия при преобразовании вращательного движения втулки с резьбой в поступательное движение штыря вилки, уравновешиваются силами реакции N со стороны поверхности гнезда.
Силе реакции N гнезда пропорциональна максимальная сила трения покоя FТР.МАКС, направленная по касательной к тороидальной поверхности соприкосновения штыря и гнезда соединителя, и возникающая как реакция на силу FР, разъединяющую соединитель. До достижения силой FР, разъединяющей соединитель, значения большего максимальной силы трения покоя FТР.МАКС отключение соединителя невозможно. Максимальная сила трения покоя FТР.МАКС определяется выражением:
FТР.МАКС= ·N, где
=0,2 – коэффициент трения покоя материалов меди друг о друга.
Из-за тороидальной формы поверхности соприкосновения контактов результирующий вектор максимальной силы трения покоя направлен по оси соединения штыря вилки и гнезда розетки и приблизительно равен (из-за малого угла – угла между касательной к тороидальной поверхности контактов и осью соединения штыря вилки и гнезда розетки соединителя – изменяющегося в пределах от нуля до нескольких градусов) 20% значения силы реакции N гнезда.
Таким образом, тороидальный штырь вилки, даже без специального устройства (в заявляемом устройстве – втулки с резьбой), удерживается в гнезде розетки со значительной силой, соответствующей одной пятой значения силы нормального давления FД, что обуславливает высокую надежность работы соединителя, разъединение которого возможно только при условии выполнения неравенства сил:
FР>FТР.МАКС.
В заявляемом устройстве сила трения равномерно распределена по всей поверхности тороидальных контактов, что при многократных операциях включения и отключения соединителя не вызовет увеличения переходного сопротивления контактов, так как износ контактов будет равномерным, и площадь поверхности соприкосновения при этом не уменьшится.
Таким образом, форма выполнения взаимодействующих частей штырей вилки и гнезд розетки играет основную роль в обеспечении взаимного давления контактирующих органов без специального прижимного элемента.
Влияние втулки на технический результат обусловлено тем, что, во-первых, при отключении соединителя втулка сообщает штырю вилки силу FР, разъединяющую соединитель, большую максимальной силы трения покоя FТР.МАКС, и, во-вторых, осуществляется передача нажимного усилия на поверхность соприкосновения штыря и гнезда соединителя при включении соединителя.
Крупный шаг резьбы втулки, по сравнению с мелким шагом, увеличивает скорость расхождения поверхностей штыря вилки и гнезда розетки при отключении соединителя, что снижает вероятность восстановления электрической дуги между разводимыми контактами.
Новизна заявляемого устройства подтверждается его отличием от устройства-прототипа: новой формой взаимодействующих частей штырей вилки и гнезд розетки и установленной с возможностью свободного вращения на корпусе вилки втулки, соединенной с корпусом розетки резьбовым соединением с крупным шагом резьбы.
Из теоретического курса по черчению известны поверхности с названием самопересекающийся тор, также называемый лимоновидным, образованный вращением окружности (или ее дуги) вокруг оси, лежащей в плоскости этой окружности, но не проходящей через ее центр (Чекмарев А.А. Начертательная геометрия и черчение: Учеб. для студ. вузов. – 2-е изд., перераб. и доп. – М.: Гуманит. изд. центр ВЛАДОС, 1999. – с.100-103, рис.8.12, рис.8.13, г).
Из уровня техники не известно выполнение штырей в форме самопересекающегося лимоновидного тора.
Из уровня техники выявлены устройства для увеличения нажимных усилий контактов дополнительными специальными устройствами: с пружинами, гибкими планками, рычагами и тому подобными элементами, передающими упругие усилия, которые усложняют конструкцию, но не дают достаточного улучшения контакта рабочих органов (например, Заявка ЕР №0139525).
Из уровня техники известно, что сила нормального давления, обусловленная силой нажатия на поверхность соприкосновения цилиндрических или прямоугольных контактов, имеет место только в области торцов контактов, где сила трения покоя не может быть использована для увеличения надежности соединения, так как вектор силы трения, направленный по поверхности торца, перпендикулярен оси соединения контактов. А увеличение силы трения покоя, обусловленной силой нормального давления токосъемных частей гнезда на боковую цилиндрическую или прямоугольную поверхность штыря, достигается наличием специальных элементов, прижимающих поверхности соприкосновения контактов, без которых надежность соединения незначительна, что обуславливает высокое переходное сопротивление контактов.
Анализ уровня техники и проведенный сопоставительный анализ показал, что признак, относящийся к форме выполнения взаимодействующих частей штырей вилки и гнезд розетки, неизвестен, а технический результат заявляемого соединителя не совпадает со свойствами известных технических решений, что подтверждает соответствие критерию – “изобретательский уровень”.
Сущность изобретения поясняется чертежами:
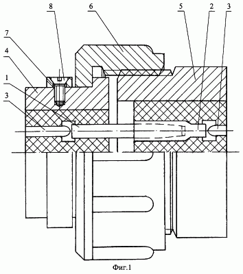
на фиг.1. представлен вид сбоку заявляемого соединительного устройства, в замкнутом состоянии – соответствующий режиму передачи электрических токов;
на фиг.2. представлена в аксонометрии форма тороидального штыря вилки заявляемого соединительного устройства;
на фиг.3. представлен разрез вида сбоку штыря вилки и гнезда розетки в разомкнутом состоянии заявляемого соединительного устройства;
на фиг.4. представлен разрез вида сбоку штыря вилки и гнезда розетки в замкнутом состоянии заявляемого соединительного устройства, с векторами сил, распределенными по поверхности соприкосновения контактов и возникающими в момент отключения соединителя.
Соединительное устройство имеет металлические, например медные, штырь 1 вилки и гнездо 2 розетки, взаимодействующие части которых выполнены в форме усеченного самопересекающегося лимоновидного тора.
Поверхность вращения на чертеже задается образующей эту поверхность линией (дугой окружности) и положением оси поверхности тора. Ось тора параллельна оси соединения вилки и розетки. Образующая линия (дуга окружности) определяется радиусом R меридиана тора и положением центра окружности. Центр окружности с радиусом R находится в плоскости экватора тора.
По сравнению с длиной L, части штыря 1 вилки, взаимодействующей с гнездом 2 розетки, радиус R меридиана определяется следующей формулой:
R 6·L.
Причем длина L части штыря 1 вилки, введенной в гнездо 2 розетки, меньше длины LГ гнезда 2 розетки, так как передача нажимного усилия на поверхность торца штыря 1 вилки и дна гнезда 2 розетки снижает надежность соединения, из-за снижения значения составляющей силы нормального давления FД, распределенной по тороидальной поверхности соприкосновения контактов соединителя.
Воздушный зазор между торцом штыря 1 вилки и дном гнезда 2 розетки в замкнутом состоянии соединителя устраняет взаимодействие торца штыря 1 вилки и дна гнезда 2 розетки.
Выражение R 6·L характеризует положение в пространстве линии (дуги окружности), образующей тороидальную поверхность контактов, а именно значения угла (угла между касательной к тороидальной поверхности контактов и осью тора). Чем больше радиус R меридиана тора, тем больше абсолютное значение результирующего вектора максимальной силы трения покоя , так как значение угла уменьшается с увеличением радиуса R меридиана тора, и, соответственно, абсолютное значение результирующего вектора максимальной силы трения покоя стремится к максимальному значению до 20% от силы нормального давления FД, что повышает надежность соединения контактов.
При значениях радиуса R меридиана тора, меньших чем шесть длин L части штыря 1 вилки, взаимодействующей с гнездом 2 розетки, абсолютное значение результирующего вектора максимальной силы трения покоя значительно меньше максимально возможного значения, равного 20% от силы нормального давления FД, что снижает надежность соединения штыря 1 вилки и гнезда 2 розетки (например, возможны случайные колебания соединителя, приводящие к незначительным для отключения соединителя расхождениям штыря 1 вилки и гнезда 2 розетки, но достаточным для значительного увеличения переходного сопротивления контактов).
Диаметр D экватора тора штыря 1 вилки и гнезда 2 розетки определяется в зависимости от величины передаваемого тока.
Штырь 1 вилки и гнездо 2 розетки присоединены к отходящим от соединителя проводам 3 посредством, например, сварного соединения.
Корпус 4 вилки соединен с корпусом 5 розетки посредством втулки 6. Корпуса 4, 5 и втулка 6 выполнены из диэлектрического материала, например пластмассы. Крупный шаг ходовой резьбы (резьбового соединения) между втулкой 6 и корпусом 5 розетки, например, трапецеидальной резьбы, ГОСТ 9484-81:
Trd×P, где
– номинальный диаметр резьбы d зависит от наружного диаметра корпуса розетки;
– шаг ходовой резьбы Р выбирается из стандартного ряда значений крупного шага резьбы: [1,5; 1,75; 2; 2,5; 3; 3,5; 4…] (см., например, крупный шаг ходовой трапецеидальной резьбы, приведенный в Основах черчения: Учебник для средних специальных учебных заведений / Л.А.Баранова, Р.Л.Боровикова, А.П.Панкевич. – 3-е изд., перераб. и доп. – М.: Высш. шк. 1996. – с.198, табл.7, стр.200) обеспечивает быструю коммутацию и достаточное усилие, при вращении втулки 6, по преодолению сил трения в момент разъединения контактов.
На корпусе 4 вилки установлена съемная шайба 7 с крепежным винтом 8, позволяющая заменить втулку 6 при ее повреждениях, вызванных неосторожным обращением с соединителем.
При коммутации соединителя втулка 6, свободно вращающаяся на корпусе 4 вилки, взаимодействует с шайбой 7 (при отключении соединителя) или с выступом корпуса 4 вилки (при включении соединителя), передавая усилие от сил вращения корпусу 4 вилки.
Устройство работает следующим образом. На первом этапе соединения соединителя штырь 1 вилки входит со скольжением в гнездо 2 розетки. На втором этапе соединение контактов происходит за счет вращения втулки 6 по наружной резьбе корпуса 5 розетки до плотного прилегания штыря 1 вилки, перемещающегося с корпусом 4 вилки, и гнезда 2 розетки, после чего производится нажимное усилие втулкой 6. Втулка 6 фиксирует нажимное усилие после полного замыкания контактов, обеспечивая надежное соединение контактов.
В замкнутом состоянии по тороидальной поверхности соприкосновения контактов распределены следующие нормальные силы:
– сила нормального давления FД;
– сила реакции N гнезда 2 розетки на давление FД штыря 1 вилки.
При отключении соединителя втулка 6, вращаясь, передает давление на шайбу 7 с силой FР, разъединяющей соединитель.
При значениях силы FР меньших или равных абсолютному значению результирующего вектора максимальной силы трения покоя отключение соединителя невозможно.
В момент превышения силой FР, разъединяющей соединитель, абсолютного значения результирующего вектора максимальной силы трения покоя корпусу 4 вилки сообщается ускорение относительно корпуса 5 гнезда, и соединитель отключается.
Формула изобретения
Электрический разъемный соединитель для передачи электрических токов, содержащий вилку с токонесущими штырями с осями, параллельными друг другу, взаимодействующими со скольжением в продольном направлении с гнездами розетки, отличающийся тем, что взаимодействующие части штырей вилки и гнезд розетки выполнены в форме усеченного самопересекающегося лимоновидного тора с радиусом R его меридиана, удовлетворяющим условию
R 6·L,
где L – длина части штыря вилки, взаимодействующей с гнездом розетки;
при этом на корпусе вилки установлена с возможностью свободного вращения втулка, соединенная с корпусом розетки резьбовым соединением с крупным шагом резьбы.
РИСУНКИ
|