|
|
(21), (22) Заявка: 2004129222/09, 04.10.2004
(24) Дата начала отсчета срока действия патента:
04.10.2004
(45) Опубликовано: 10.05.2006
(56) Список документов, цитированных в отчете о поиске:
SU 957291 A1, 07.09.1982. SU 1582220 A1, 30.07.1990. SU 1001208 A1, 28.02.1983. SU 76699 A1, 01.01.1949. WO 0208026 A1, 10.10.2002. JP 2002352650 B1, 06.12.2002.
Адрес для переписки:
607188, Нижегородская обл., г. Саров, пр. Мира, 37, ФГУП “РФЯЦ-ВНИИЭФ”, начальнику ОПИНТИ
|
(72) Автор(ы):
Собянин Виталий Григорьевич (RU), Колесников Сергей Васильевич (RU), Телков Сергей Аркадьевич (RU), Иваненко Игорь Васильевич (RU)
(73) Патентообладатель(и):
Российская Федерация в лице Федерального агентства по атомной энергии-Агентство (RU), Федеральное государственное унитарное предприятие “Российский федеральный ядерный центр – Всероссийский научно-исследовательский институт экспериментальной физики” – ФГУП “РФЯЦ – ВНИИЭФ” (RU)
|
(54) КОНТАКТНОЕ УСТРОЙСТВО
(57) Реферат:
Изобретение относится к области электротехники и может быть использовано в контактных устройствах, где не допустим разрыв цепи при воздействии вибраций, ударов и электродинамических сил. Техническим результатом является устранение дребезга, уменьшение максимальной длительности разомкнутого состояния цепи во всем неразрушающем диапазоне амплитуд ударных нагрузок и уменьшение массогабаритных характеристик. Контактное устройство содержит, по крайней мере, два контактных элемента, один из которых выполнен в виде двух пластин. Пластины снабжены ограничителями отброса при воздействии механических и/или электродинамических сил. Пластины выполнены упругими, а ограничители их отброса жестко закреплены на оси. Ось размещена с зазором в отверстиях пластин. 1 з.п. ф-лы, 2 ил.
Изобретение относится к электротехнике и может быть использовано в контактных устройствах, где не допускается разрыв цепи при воздействии вибраций, ударов и электродинамических сил.
Известен “Врубной контакт” (АС №1582220, Н 01 Н 1/42, опубл. в БИ №28, 30.07.90), состоящий из ножевого контакта, губок неподвижного контакта, упругих дуг и пружины. Защемление ножевого контакта в губках происходит посредством упругих дуг в результате воздействия ножа на пружину при их непосредственном контакте. При воздействии удара на контактную систему его составляющая в поперечном относительно ножа направлении возбуждает вибрации пружины и упругих дуг, колебания которых в противофазе, в свою очередь, приводят к периодическому пропаданию контакта между ножом и губками (дребезгу контактов).
Наиболее близким к заявляемому контактному устройству является “Контактное устройство” (АС №957291, Н 01 Н 1/50, опубл. в БИ №33, 07.09.82), состоящее из контактных элементов-ламелей, подвижного контакта, пружин, прижимающих ламели к подвижному контакту, и ограничителей отброса ламелей в виде колпачков. Недостатком прототипа является то, что каждая из ламелей образует две контактные поверхности: в установочном гнезде и с подвижным контактом. При воздействии объемного удара на центр масс жесткой ламели риск пропадания одной из двух контактных поверхностей увеличивается в два раза.
Другим недостатком прототипа является наличие дополнительных пружин, шпилек, ограничителей и т.д., что предполагает их конструктивную заделку в корпусе устройства и приводит к увеличению массогабаритных характеристик последнего.
Задача, на решение которой направлено заявляемое изобретение, заключается в создании малогабаритного контактного устройства с максимальной надежностью контактирования при ударных и вибрационных воздействиях на систему.
Технические результаты, достигаемые при осуществлении изобретения, состоят в уменьшении максимальной длительности разомкнутого состояния цепи во всем неразрушающем диапазоне амплитуд ударных нагрузок и уменьшении массогабаритных характеристик.
Это достигается тем, что в контактном устройстве, содержащем, по крайней мере, два контактных элемента, один из которых выполнен в виде двух пластин, снабженных ограничителями их отброса при воздействии механических и/или электродинамических сил, новым является то, что пластины выполнены упругими, а ограничители их отброса жестко закреплены на оси, размещенной с зазором в отверстиях, выполненных в пластинах.
Для исключения дребезга контактов от колебаний по модам более высокого порядка между пластинами дополнительно введен ограничитель их внутренних относительных перемещений, установленный с зазором на оси.
Выполнение пластин упругими позволяет уменьшить массогабаритные характеристики устройства, а размещение с зазором в их отверстиях оси с жестко закрепленными на ней ограничителями отброса не позволяет отойти пластинам от другого контакта при колебаниях пластин.
Введение между пластинами ограничителя их внутренних относительных перемещений, установленного с зазором на оси, позволяет исключить дребезг контактов, возникающий от колебаний пластин по модам более высокого порядка (2-я, 4-я…).
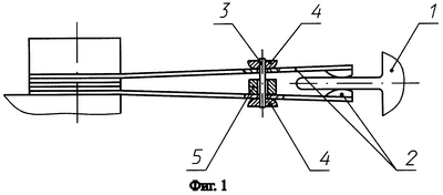
На фиг.1 изображено контактное устройство в замкнутом состоянии, на фиг.2 – то же, вид сверху.
Контактное устройство содержит три контактных элемента: ножевой контакт 1 и два контакта, каждый из которых выполнен в виде двух консольно закрепленных пластин 2. Ось 3 размещена в соосных отверстиях пластин 2 с зазором. На концах оси 3 жестко закреплены ограничители 4 отброса пластин. Расположение отверстий от свободного конца пластин 2 и расстояние между ограничителями отброса 4 определяется заданным усилием поджатия контактных пластин 2 к ножу 1.
Между пластинами 2 на оси 3 установлен с зазором ограничитель 5 их внутренних относительных перемещений (выполненный, например, в виде втулки), причем величина зазора выбирается из условия ограничения амплитуды колебаний по 2-й моде.
При перемещении (врубании) ножевого контакта 1 между пластинами 2 происходит замыкание электрической цепи, состоящей из двух пар упругих пластин 2 и торцевых поверхностей ножа 1. Пластины 2 поджаты к ножу 1 с одной стороны и к жестко закрепленным на оси 3 ограничителям отброса 4 – с другой. Усилие поджатия определяется расстоянием от оси 3 до контактного пятна на ноже 1 и расстоянием между ограничителями отброса 4.
При воздействии на контактную систему объемного удара наиболее опасные для целостности электрической цепи колебания в противофазе упругих контактов 1 снаружи ограничиваются ограничителями отброса 4, а внутри – ограничителем внутренних перемещений 5. Причем ограничитель 5 необходим при возникновении колебаний пластин 2 по модам более высокого порядка.
Колебательные процессы в контактных элементах могут происходить и при возникновении отталкивающих электродинамических сил в результате включения (выключения) устройства на ток короткого замыкания, при этом за счет уменьшения амплитуды отброса (благодаря наличию ограничителей) существенно сокращается длина образовавшейся дуги и уменьшается обгар контактов.
Относительное смещение в поперечном направлении контактов 1 и 2 в результате удара и допусков на сборку компенсируется длиной упругих пластин и не сказывается на целостности электрического контакта.
Формула изобретения
1. Контактное устройство, содержащее, по крайней мере, два контактных элемента, один из которых выполнен в виде двух пластин, снабженных ограничителями их отброса при воздействии механических и/или электродинамических сил, отличающееся тем, что пластины выполнены упругими, а ограничители их отброса жестко закреплены на оси, размещенной с зазором в отверстиях, выполненных в пластинах.
2. Контактное устройство по п.1, отличающееся тем, что между пластинами дополнительно введен ограничитель их внутренних относительных перемещений, установленный с зазором на оси.
РИСУНКИ
QB4A Регистрация лицензионного договора на использование изобретения
Лицензиар(ы): Федеральное агентство по атомной энергии, Федеральное государственное унитарное предприятие “Российский федеральный ядерный центр-Всероссийский научно-исследовательский институт экспериментальной физики” (ФГУП “РФЯЦ-ВНИИЭФ”)
НИЛ
Лицензиат(ы): Федеральное государственное унитарное предприятие “Производственное объединение “Старт” (ФГУП “ПО “Старт”)
Договор № РД0034192 зарегистрирован 21.03.2008
Извещение опубликовано: 10.05.2008 БИ: 13/2008
* ИЛ – исключительная лицензия НИЛ – неисключительная лицензия
|
|