|
|
(21), (22) Заявка: 2004135699/09, 06.12.2004
(24) Дата начала отсчета срока действия патента:
06.12.2004
(30) Конвенционный приоритет:
09.12.2003 UA 20031211260
(45) Опубликовано: 10.05.2006
(56) Список документов, цитированных в отчете о поиске:
SU 362357 А, 13.12.1973. US 3728654 А, 17.04.1973. DE 4403420 А1, 10.08.1995. JP 56-051808 В1, 09.05.1981. Выключатели вакуумные серии ВВ/TEL Руководство по эксплуатации ИТЕА674152.003РЭ. ТАВРИДА-ЭЛЕКТРИК, 2002.
Адрес для переписки:
61174, Украина, г. Харьков-174, а/я 1502, Л.И. Кулагиной
|
(72) Автор(ы):
Бугайчук Виктор Михайлович (UA), Клименко Борис Владимирович (UA)
(73) Патентообладатель(и):
Бугайчук Виктор Михайлович (UA), Клименко Борис Владимирович (UA)
|
(54) ДВУХПОЗИЦИОННЫЙ ЭЛЕКТРОМАГНИТ
(57) Реферат:
Изобретение относится к области электротехники и может быть использовано для приводов электрических выключателей, в частности вакуумных выключателей высокого напряжения. Техническим результатом является увеличение силы удержания подвижной части магнитопровода при обесточенных катушках. В двухпозиционном электромагните неподвижная часть магнитопровода состоит из коаксиально расположенных деталей – цилиндрического сердечника с кольцеобразным выступом в средней части и кольцеобразного корпуса. Детали неподвижной части соединены между собой с помощью немагнитных деталей, расположенных в зазоре между кольцеобразным выступом сердечника и корпусом, причем эти детали по азимуту лишь частично заполняют зазор. Катушки расположены на сердечнике между сердечником и корпусом с обеих сторон кольцеобразного выступа, постоянные магниты расположены вне занятой немагнитными деталями части зазора между кольцеобразным выступом сердечника и корпусом, а подвижная часть состоит из немагнитного штока, расположенного в отверстии сердечника, и двух дискообразных якорей, закрепленных на торцах штока. 2 ил.
Изобретение относится к области электротехники, а именно к электрическим аппаратам, а точнее к электромагнитам, и может быть использовано для приводов электрических выключателей, в частности вакуумных выключателей высокого напряжения.
Известен двухпозиционный электромагнит, состоящий из катушки, неподвижной части магнитопровода, выполненного из магнитомягкого ферромагнитного материала в виде двух фланцев (крышек) – упорного (верхнего) и проходного (нижнего), кольцевого магнита, выполненного из магнитотвердого ферромагнитного материала, подвижной части магнитопровода (якоря), выполненного из магнитомягкого ферромагнитного материала в виде цилиндра и возвратной пружины, расположенной между якорем и упорным фланцем [1].
В исходном положении, благодаря действию нажатия возвратной пружины, якорь отходит от упорного фланца и между ними образуется немагнитный (воздушный) зазор. Если через катушку пропустить электрический ток определенной величины, в магнитопроводе возникнет магнитный поток, который намагнитит якорь и фланцы, и якорь, двигаясь в отверстии проходного фланца, притянется к упорному фланцу, сжимая возвратную пружину. Одновременно с этим в осевом направлении намагничивается и кольцевой магнит, выполненный из магнитотвердого ферромагнитного материала. Если выключить ток в катушке, якорь остается в притянутом положении благодаря действию остаточного магнитного потока, который создается намагниченным кольцевым магнитом. Для возврата якоря в исходное положение через катушку нужно пропустить ток противоположного направления, благодаря чему кольцевой магнит размагничивается, магнитный поток уменьшается и под действием пружины якорь отходит от упорного фланца.
Использование принципа перемагничивания кольцевого магнита делает невозможным применение для их изготовления современных высококоэрцитивных магнитотвердых материалов, для перемагничивания которых через катушку нужно пропускать очень большие токи, что нуждается в мощных источниках энергии в цепях управления и создает проблемы коммутации таких токов. Использование же магнитотвердых материалов с относительно малой коэрцитивной силой уменьшает магнитный поток в рабочем зазоре и, как следствие, уменьшает силу, которая удерживает якорь в притянутом положении, что является существенным недостатком данного устройства.
Известен также двухпозиционный электромагнит фирмы ALSTOM, состоящий из катушки, неподвижной части магнитопровода броневого типа, кольцевого магнита, выполненного из магнитотвердого ферромагнитного материала, подвижной части магнитопровода (якоря) в виде цилиндра и вспомогательных элементов неподвижной части магнитопровода, которые препятствуют размагничиванию постоянного магнита при изменении направления тока в катушке благодаря перетеканию размагничивающего магнитного потока, из ветви цепи, в которой расположен постоянный магнит, в шунтирующую магнитную цепь [2].
Недостатком такой конструкции электромагнита является относительно небольшая сила удержания подвижной части магнитопровода при обесточенной катушке в положении “включено”, потому что сила удержания в этом положении создается лишь в одном зазоре и ограничивается величиной магнитной индукции насыщения материала магнитопровода, которая в современных магнитомягких материалах равняется приблизительно 2 Тл, а соответствующее такой индукции значение силы удержания составляет 16 кГ/см2.
Наиболее близким к предлагаемому техническому решению является двухпозиционный электромагнит (актуатор), который используется в вакуумных выключателях высокого напряжения VM1 концерна ABB [3].
Двухпозиционный электромагнит выключателя VM1 состоит из неподвижной части магнитопровода, подвижной части, двух катушек и постоянных магнитов. Подвижная часть магнитопровода – якорь представляет собой параллелепипед, изготовленный из магнитомягкого материала. Катушки расположены в пространстве параллельно друг другу на расстоянии, которое приблизительно равняется ширине поперечного сечения якоря, и имеют прямоугольные отверстия с размерами, которые приблизительно равняются ширине и глубине поперечного сечения якоря. Якорь находится внутри отверстия катушки, причем длина якоря меньше расстояния между противоположными перпендикулярными оси якоря поверхностями катушек на величину рабочего хода якоря. Неподвижная часть магнитопровода представляет собой пакет ферромагнитных пластин прямоугольной формы, толщина которого приблизительно равняется глубине поперечного пересечения якоря. Пластины имеют отверстия прямоугольной формы и два прямоугольных выступа, которые направлены внутрь отверстия и расположены один напротив другого посередине отверстия. Выступы имеют ширину, которая приблизительно равняется расстоянию между ближними перпендикулярными оси якоря поверхностями катушек. Внутри отверстия пакета пластин расположены катушки и якорь, который свободно перемещается в отверстии катушек. На поверхностях выступов расположены высококоэрцитивные постоянные магниты, которые имеют форму параллелепипедов, ширина и глубина которых приблизительно равняются ширине выступа в отверстии неподвижной части магнитопровода и толщине пакета пластин неподвижной части магнитопровода. Толщина магнита выбрана таким образом, что он почти полностью заполняет промежуток между торцом выступа неподвижной части магнитопровода и боковой поверхностью якоря. В состав подвижной части электромагнита входит также немагнитный шток цилиндровой формы, который жестко скреплен с якорем, причем вертикальная ось якоря (в направлении его длины) и ось штока совпадают. На оси неподвижной части магнитопровода, которая совпадает с осью якоря, расположены две втулки, в отверстиях которых перемещается шток, который передает движение якоря подвижным контактам вакуумных камер выключателя.
Если якорь оказывается прижатым к неподвижной части магнитопровода, он надежно удерживается в этом положении при обесточенных катушках благодаря магнитному потоку, который создается постоянными магнитами. Этот магнитный поток значительно превышает поток через противоположную торцевую поверхность якоря, потому что между ней и неподвижной частью магнитопровода есть относительно большой немагнитный зазор, который приблизительно равняется рабочему ходу якоря. Если пропустить ток соответствующей величины и направления через катушку, которая расположена со стороны этого зазора, якорь начнет перемещаться таким образом, что немагнитный зазор со стороны катушки, через которую течет ток, начнет уменьшаться, а зазор со стороны обесточенной катушки начнет увеличиваться. Когда якорь упрется в неподвижную часть магнитопровода, он останется в этом положении и после отключения соответствующей катушки благодаря магнитному потоку, который перетекает в сторону меньшего зазора. Данный электромагнит является двухпозиционным, потому что имеет два устойчивых положения при обесточенных катушках.
Недостатком такой конструкции электромагнита является относительно небольшая сила удержания подвижной части магнитопровода при обесточенных катушках, потому что сила удержания в каждом установившемся положении создается лишь в одном зазоре и ограничивается величиной магнитной индукции насыщения материала магнитопровода, которая в современных магнитомягких материалах составляет приблизительно 2 Тл, а соответствующее такой индукции значение силы удержания составляет 16 кГ/см2.
В основу изобретения поставлена задача усовершенствования двухпозиционного электромагнита, в котором за счет иной конструкции и иных связей между его деталями обеспечивается увеличение силы удержания подвижной части магнитопровода при обесточенных катушках и за счет этого повышение эффективности и надежности работы электрических выключателей, в которых такие электромагниты применяются.
Решение этой задачи достигается тем, что в двухпозиционном электромагните, состоящем из неподвижной части магнитопровода, подвижной части, двух катушек и постоянных магнитов, согласно изобретению неподвижная часть магнитопровода состоит из коаксиально расположенных деталей – цилиндрического сердечника с цилиндрическим отверстием и кольцеобразным выступом в средней части и кольцеобразного корпуса, плоскости торцов которого параллельны друг другу и перпендикулярны оси неподвижной части, внутренний диаметр кольцеобразного корпуса превосходит внешний диаметр кольцеобразного выступа на сердечнике, детали неподвижной части соединены между собой с помощью немагнитных деталей, расположенных в зазоре между кольцеобразным выступом сердечника и корпусом, причем эти детали по азимуту лишь частично заполняют зазор, катушки расположены между сердечником и корпусом с обеих сторон кольцеобразного выступа на сердечнике, постоянные магниты расположены вне занятой немагнитными деталями части зазора между кольцеобразным выступом сердечника и корпусом, а подвижная часть состоит из немагнитного штока, расположенного в отверстии сердечника, причем осевой размер части штока с диаметром, который равняется диаметру отверстия в сердечнике, превышает осевой размер неподвижной части магнитопровода на величину хода подвижной части, и двух коаксиальных со штоком дискообразных якорей, закрепленных на торцах части штока с диаметром, который равняется диаметру отверстия в сердечнике.
В результате использования заявляемого изобретения обеспечивается получение технического результата, заключающегося в увеличении силы удержания подвижной части магнитопровода при обесточенных катушках.
Предложенные конструктивные особенности заявляемого двухпозиционного электромагнита позволяют иметь два зазора: между якорем и сердечником, а также между якорем и корпусом, в которых создается сила удержания в каждом установившемся положении (т.е. сила, которая прижимает якорь к неподвижной части магнитопровода), за счет чего достигается увеличение суммарной силы удержания подвижной части магнитопровода при обесточенных катушках.
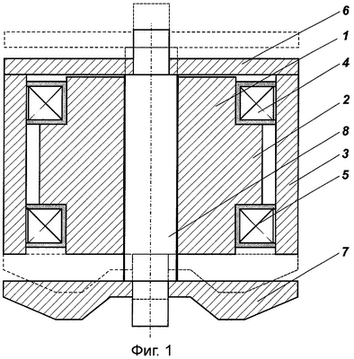
Сущность изобретения поясняется чертежами, где на фиг.1 схематически изображена профильная проекция (осевое сечение) предложенного двухпозиционного электромагнита, а на фиг.2 – его горизонтальная проекция (центральное сечение).
На представленных чертежах предложенного двухпозиционного электромагнита обозначено: 1 – сердечник; 2 – кольцеобразный выступ на сердцевине; 3 – корпус; 4, 5 – катушки; 6, 7 – дискообразные якоря; 8 – немагнитный шток; 9 – постоянный магнит; 10 – немагнитная деталь, соединяющая сердечник с корпусом.
Устройство работает следующим образом. Когда один из якорей, например, 6 прижат к неподвижной части магнитопровода, которая состоит из сердечника 1 с кольцеобразным выступом 2 и кольцеобразного корпуса 3, причем корпус с сердечником соединен с помощью немагнитных деталей 10, которые лишь частично заполняют зазор между выступом сердечника и корпусом, соответствующий якорь надежно удерживается в этом положении при обесточенных катушках 4 и 5, благодаря магнитному потоку, который создается постоянными магнитами 9, которые расположены вне занятой немагнитными деталями части зазора между кольцеобразным выступом сердечника и корпусом. Этот магнитный поток значительно превышает поток через противоположный якорь 7, потому что между этим якорем и неподвижной частью магнитопровода имеется относительно большой немагнитный зазор, который приблизительно вдвое больше рабочего хода якоря. Если пропустить ток соответствующей величины и направления через расположенную со стороны этого зазора катушку 5, магнитный поток, созданный током катушки 5, через якорь 6, прижатый к неподвижной части магнитопровода, будет вычитаться из потока, созданного постоянными магнитами 9, поэтому суммарный магнитный поток через этот якорь уменьшится. Магнитный поток, созданный током катушки 5, через противоположный якорь 7 будет суммироваться с потоком, созданным постоянным магнитом. Поэтому суммарный магнитный поток через этот якорь, напротив, увеличится и якоря 6 и 7 благодаря штоку 8, который их соединяет, начнут передвигаться таким образом, что немагнитный зазор со стороны катушки, через которую течет ток, начнет уменьшаться, а зазор со стороны обесточенной катушки, начнет увеличиваться. Когда якорь 7 упрется в неподвижную часть магнитопровода, он останется в этом положении и после отключения соответствующей катушки благодаря магнитному потоку, созданному постоянными магнитами, который перетекает в сторону меньшего зазора. Переключение электромагнита в исходное положение обеспечивается пропусканием тока соответствующей величины и направления через катушку 4. Данный электромагнит является двухпозиционным, потому что имеет два устойчивых положения при обесточенных катушках.
Благодаря тому что сила, которая прижимает якорь к неподвижной части магнитопровода, в предложенной конструкции электромагнита создается в двух зазорах – между якорем и сердечником, а также между якорем и корпусом, суммарная сила удержания подвижной части магнитопровода при обесточенных катушках увеличивается приблизительно вдвое в сравнении с силой удержания в известном электромагните, где сила удержания создается лишь в одном зазоре, при той же величине магнитного потока, то есть при той же массе постоянных магнитов, и при том же поперечном сечении магнитопровода.
Эффективность предлагаемого устройства подтверждается сравнительными испытаниями двухпозиционного электромагнита выключателя VM1 по прототипу и предложенного двухпозиционного электромагнита, который при меньших габаритных размерах, меньшей общей массе и меньшей массе постоянных магнитов обеспечивал силу удержания приблизительно 10 кН, в то время как электромагнит выключателя VM1 обеспечивал силу удержания приблизительно 4 кН.
ИСТОЧНИКИ ИНФОРМАЦИИ
1. Выключатели вакуумные серии BB/TEL. Руководство по эксплуатации ИТЕА674152.003РЭ. 2002 г.
2. AMD Magnetantrieb. AMD – Hochentwuckelte magnetische ANTRIEBE far Vakuum-Leistungsschalter / Каталог фирмы ALSTOM.
3. VM1. Vakuum-Leistungsschalter mit Magnetantrieb / Каталог ABB Calor Emag Mittelspannung GmbH – ABB Sace T.M.S. S.p.A (прототип).
Формула изобретения
Двухпозиционный электромагнит, состоящий из неподвижной части магнитопровода, подвижной части, двух катушек и постоянных магнитов, отличающийся тем, что неподвижная часть магнитопровода состоит из коаксиально расположенных деталей – цилиндрического сердечника с цилиндрическим отверстием и кольцеобразным выступом в средней части и кольцеобразного корпуса, плоскости торцов которого параллельны друг другу и перпендикулярны оси неподвижной части, внутренний диаметр кольцеобразного корпуса превосходит внешний диаметр кольцеобразного выступа на сердечнике, детали неподвижной части соединены между собой с помощью немагнитных деталей, расположенных в зазоре между кольцеобразным выступом сердечника и корпусом, причем эти детали по азимуту лишь частично заполняют зазор, катушки расположены между сердечником и корпусом с обеих сторон кольцеобразного выступа на сердечнике, постоянные магниты расположены вне занятой немагнитными деталями части зазора между кольцеобразным выступом сердечника и корпусом, а подвижная часть состоит из немагнитного штока, расположенного в отверстии сердечника, причем осевой размер части штока диаметром, который равняется диаметру отверстия в сердечнике, превышает осевой размер неподвижной части магнитопровода на величину хода подвижной части, и двух коаксиальных со штоком дискообразных якорей, закрепленных на торцах части штока диаметром, который равняется диаметру отверстия в сердечнике.
РИСУНКИ
MM4A – Досрочное прекращение действия патента СССР или патента Российской Федерации на изобретение из-за неуплаты в установленный срок пошлины за поддержание патента в силе
Дата прекращения действия патента: 07.12.2006
Извещение опубликовано: 10.04.2008 БИ: 10/2008
NF4A Восстановление действия патента СССР или патента Российской Федерации на изобретение
Дата, с которой действие патента восстановлено: 27.04.2008
Извещение опубликовано: 27.04.2008 БИ: 12/2008
|
|