|
(21), (22) Заявка: 2004120737/09, 08.07.2004
(24) Дата начала отсчета срока действия патента:
08.07.2004
(43) Дата публикации заявки: 10.01.2006
(45) Опубликовано: 10.05.2006
(56) Список документов, цитированных в отчете о поиске:
RU 2077072 C1, 10.04.1997. RU 2074420 C1, 27.02.1997. RU 2114743 C, 10.07.1998. DE 19507654, 12.09.1996. EP 155982 A, 02.10.1985. GB 2079506, 20.01.1982. DE 3628353, 25.02.1988.
Адрес для переписки:
115162, Москва, ул. Мытная, 19, Научно-исследовательский институт Гознака, Директору г-ну М.И. Гончарову
|
(72) Автор(ы):
Вязалов Сергей Юрьевич (RU), Трачук Аркадий Владимирович (RU), Чеглаков Андрей Валерьевич (RU), Курочкин Александр Васильевич (RU), Павлов Владимир Васильевич (RU), Писарев Александр Георгиевич (RU), Гончаров Михаил Иванович (RU), Солдатченков Виктор Сергеевич (RU), Круликовский Анатолий Владимирович (RU), Курятников Андрей Борисович (RU), Стешенко Владимир Борисович (RU), Павлов Григорий Львович (RU), Лихоеденко Константин Павлович (RU)
(73) Патентообладатель(и):
Объединение государственных предприятий и организаций по производству государственных знаков Минфина РФ (Объединение “ГОЗНАК”) (RU), Научно-исследовательский институт Гознака (RU)
|
(54) СПОСОБ ЗАЩИТЫ ОТ ПОДДЕЛКИ И КОНТРОЛЯ ПОДЛИННОСТИ ЦЕННЫХ ИЗДЕЛИЙ
(57) Реферат:
Изобретение относится к способам защиты ценных изделий от подделки. Техническим результатом является получение минимальных затрат при промышленной реализации. На изделии формируют пассивное защитное средство заданной структуры, которая обеспечивает возможность контроля наличия и подлинности упомянутого средства физическим методом анализа по резонансным эффектам в процессе внешнего воздействия на него зондирующим электромагнитным излучением заданной радиочастоты и детектирования параметров определенных информативных признаков в резонансном отклике защитного средства на упомянутое внешнее воздействие с последующим автоматическим сопоставлением зарегистрированных параметров этих информативных признаков с эталонными значениями. В качестве пассивного защитного средства используют металлизированную, по меньшей мере, трехслойную резонансную фильтровую структуру. В качестве зондирующего излучения используют радиочастоту СВЧ-диапазона, в качестве информативных признаков используют характерные пиковые значения частотной характеристики коэффициентов прямой передачи и обратного отражения. 5 з.п. ф-лы, 5 ил.
Изобретение относится к способам защиты ценных изделий от подделки и может быть, преимущественно, использовано в массовом производстве для защиты от подделки, например, банкнот, кредитных документов, иных ценных бумаг и обеспечения возможности последующего определения их подлинности с высокой достоверностью.
В настоящее время прямые финансовые потери развитых государств, вследствие подделки (несанкционированного выпуска и введения в оборот в больших масштабах) банкнот, кредитных документов и иных ценных бумаг, составляют значительные суммы. Это связано с тем, что современный уровень развития вычислительной, аналитической и множительной техники позволяет воспроизвести с высокой степенью идентичности практически любую ценную бумагу в неограниченном количестве при сравнительно небольших материальных затратах.
Особенно остро эта проблема стоит в случаях массового выпуска изделий, например, банковских билетов (банкнот), когда затраты на их изготовление и защиту от подделки должны быть минимальны. Кроме того, в этом случае защитные элементы (метки) должны оперативно детектироваться посредством недорогих и доступных для широкого круга пользователей средств контроля.
В настоящее время существуют различные методы и средства защиты от подделки ценных изделий, в частности, банкнот, кредитных документов и иных ценных бумаг.
Для выбранной группы защищаемых изделий, например, банкнот, ценных бумаг и т.п., применяемые защитные элементы (метки), как правило, делятся на три группы: допечатные, печатные и послепечатные.
Допечатными защитными элементами являются композиционный состав бумаги, водяные знаки, металлизированная нить, цветные и светящиеся в ультрафиолетовых лучах волокна, конфетти и др.
К печатным защитным элементам относятся:
– элементы, обеспечивающие реализацию способов графического воспроизведения изображения, в том числе, микропечать, совмещенные и кодовые рисунки и др.;
– элементы, реализованные непосредственно способами печати, в том числе, посредством глубокой, высокой, плоской металлографической и др. способами печати;
– элементы, обеспечивающие способы реализации (создания) оптических эффектов;
– применяемые печатные краски.
Совокупность послепечатных защитных элементов может включать тиснение, нанесение пленочных покрытий, меченых элементов и т.д.
Значительную часть известных методов и средств защиты от подделки составляют способы защиты посредством металлических защитных меток. Причем метка может формироваться как непосредственным нанесением материала метки (например, в виде краски) на защищаемое изделие, так и нанесением на упомянутое изделие отдельно изготовленного средства защиты, например, в виде полоски.
В частности, известен способ и средство защиты банкнот от подделки, согласно которому на банкноту в качестве защитного элемента наносят специальное изображение посредством магнитной печатной краски. Регистрация этой метки осуществляется посредством магнитного детектора (GB, №2079506, кл. G 07 D 7/00, 1982).
К недостаткам этого известного из уровня техники средства защиты банкнот от подделки и метода его реализации можно отнести то, что они могут быть достаточно легко воспроизведены и иммитированы с высокой степенью идентичности оригиналу с помощью современных широко известных из уровня техники средств, доступных широкому кругу заинтересованных лиц. Кроме того, печатная краска подвержена стиранию в процессе длительной эксплуатации банкнот, в связи с чем не исключена вероятность признания подлинной (оригинальной) банкноты в качестве фальшивой при детектировании защитной метки.
Известны индивидуальные средства защиты документов в виде перфорации, рисунок которой имеет узнаваемые нерегулярности. Перфорацию осуществляют с помощью лазерного луча, исходя из обычного рисунка, при этом управление лазером осуществляют посредством ЭВМ таким образом, что каждая перфорация имеет индивидуальную нерегулярность, зависящую от исходной величины (DE, заявка N03628353, кл. В 44 F 1/12, 1988).
К недостаткам данного известного из уровня техники средства защиты от подделки и способа его реализации следует отнести:
– ограниченные функциональные возможности, вследствие того, что посредством такого защитного элемента целесообразно осуществлять защиту только малотиражного объема изделий, вследствие его низкой производительности (т.к. скорость поточечного лазерного выжигания значительно ниже методов формирования меток одновременно по всей площади носителя);
– необходимость использования дорогостоящего технологического оборудования для промышленной реализации защитного элемента на защищаемом изделии.
Известен способ создания документа, защищенного от подделки, согласно которому средство защиты выполняют в виде нанесенного, по меньшей мере, на одну сторону листового носителя отражающего слоя, на котором размещены группы крупинок, в результате чего поверхность отражающего слоя имеет изменяющуюся отражающую способность. Метки, образованные группами крупинок, могут считываться машинным способом (ЕП, патент ЕПВ N0155982, кл. G 06 К 19/05, 1985).
Данный известный из уровня техники вид защиты документов от подделки имеет ряд существенных ограничений в части его применения. В частности, значительные технические проблемы возникают при детектировании защитной метки с обеспечением необходимой разрешающей способности вследствие агрегатирования крупинок в процессе их измельчения и нанесения. А при увеличении их дисперсности возрастает ширина спектра изображения в области низких пространственных частот.
Известен способ изготовления двухстороннего носителя информации для защиты ценных изделий, согласно которому на лицевой и обратной сторонах носителя информации посредством нанесения магнитного состава формируют защитную метку в виде двух изображений, которые расположены на противоположных сторонах основы носителя и определенным образом ориентированы друг относительно друга. Детектирование сформированной таким способом защитной метки осуществляют посредством полупроводникового магнитного датчика, одновременно считывающего информацию с лицевой и обратной стороны носителя информации. При детектировании выходной сигнал полупроводникового датчика пропускают через сложную схему для формирования импульса на границах изображений магнитной метки. По этим импульсам осуществляют распознавание магнитной информации на носителе путем сравнения с заданной (эталонной) информацией (JP, заявка N057-177372, кл. G 07 D 7/00, 1984 г.).
К недостаткам данного способа защиты следует отнести то, что для регистрации наличия такой защитной метки необходимо использовать специальные сложные и дорогостоящие средства ее контроля (детектирования), которыми не располагает массовый пользователь.
Известен способ защиты ценных бумаг от подделки и устройство для его реализации, согласно которому в бумажную основу ценной бумаги запресовывают полосу из магнитного материала. Определение подлинности ценной бумаги осуществляется посредством магнитного детектора, регистрирующего изменение (градиент) напряженности магнитного поля (ЕР, №005720, кл. G 07 D 7/00, 1982).
К недостаткам данных известных из уровня техники способа и средства защиты ценных бумаг от подделки следует отнести его недостаточную надежность, поскольку изготовление (подделка) полосы из доступного широкому кругу лиц магнитного материала не представляет для специалиста какой-либо технической сложности и не требует значительных материальных затрат. Следовательно, степень вероятности подделки ценных бумаг, защищенных в соответствии с рассматриваемым способом защиты, достаточно высока.
Наиболее близким (по решаемой задаче и достигаемому результату) к заявленному объекту изобретения является известный из уровня техники способ защиты от подделки ценных изделий, в частности, банкнот, ценных бумаг и документов, а также средство для его реализации, согласно которым в качестве средства защиты используют изотопный индикатор на основе стабильного изотопа осмий-187 (187 Os) или его (стабильного изотопа осмий-187) химического соединения, в котором (химическом соединении) обеспечивается постоянная стабилизация (во времени и пространстве) магнитной ориентации спинов (собственных моментов импульсов) системы элементарных частиц, входящих в состав атомов осмия-187.
Защитную метку формируют с возможностью контроля наличия этой метки (при детектировании) на защищаемом изделии физическим методом анализа по изотопным эффектам, в частности, по магнитным свойствам ядер осмия-187 методом ядерного магнитного резонанса /ЯМР/ (RU, патенты №2074420 и №2077072, кл. G 07 D 7/00, 1997).
Применение (в рассматриваемом способе защиты изделий от подделки) стабильного изотопа осмия-187 в виде химического соединения осмия-187 с ферромагнитным веществом позволяет использовать (в процессе детектирования) внутренние магнитные поля атомов, достигающие 500 Тл и более, т.к. при взаимодействии с магнитными полями атомов ферромагнетика магнитные поля атомов осмия-187 упорядоченно ориентируются в пространстве. Это позволяет получить сигнал ЯМР, т.е. эффект избирательного поглощения излучения определенной радиочастоты, без воздействия внешних магнитных полей большой мощности. Благоприятной (для рассматриваемого случая) характеристикой осмия-187 является также то, что его ядро имеет спин, равный 1/2, следовательно, отсутствует электрический квадрупольный момент, что позволяет исключить электрические возмущения в процессе детектирования защитной метки.
Для детектирования известной и воспроизведенной согласно упомянутому уровню техники (см. RU, патенты №2074420 и №2077072) на защищаемом изделии защитной метки используется (также известный из уровня техники) ЯМР-спектрометр, в котором для ориентации магнитных полей атомных ядер исследуемого материала используются сверхпроводящие магниты, создающие магнитное поле до 20 Тл.
Следует отметить, что вышеупомянутые сверхпроводящие магниты составляют доминирующую (основную) часть стоимости вышеупомянутого ЯМР-спектрометра.
Детектирование в случае использования в качестве защитной метки соединения осмия-187 с ферромагнитным веществом (материалом) производится также известными методами с помощью известных из уровня техники средств.
В частности, при наложении генерируемого детекторным средством радиочастотного импульса /2 (в противофазе с магнитными моментами атомных ядер осмия-187) спины атомных ядер осмия-187 “рассыпаются”. При следующем импульсе (этого же источника электромагнитного излучения в фазе с магнитными моментами атомных ядер осмия-187) спины атомных ядер осмия-187 одновременно возвращаются в свое основное ориентированное (стабилизированное посредством магнитного влияния спинов атомов веществ, являющихся ингредиентами рассматриваемого соединения) состояние. Это позволяет зарегистрировать посредством детекторного средства (включающего ЯМР-спектрометр) так называемое “спиновое эхо”, создаваемое (генерируемое) системой элементарных частиц, образующих атомное ядро осмия-187. Детектирование осуществляется по срабатыванию прибора только на ядра осмия-187 с резонансной частотой 107,5 МГц.
К недостаткам вышеупомянутых, наиболее близких (по отношению к патентуемым объектам изобретения) технических решений целесообразно отнести нижеследующее. Надежная защита охраняемого от подделки изделия (в частности, банкноты, ценной бумаги или иного документа), согласно вышеописанным, известным из уровня техники способу и средству для его реализации, обеспечивается посредством использования в качестве защитной метки уникального материала, освоение производства которого требует такого уровня технических средств, материальных и трудовых затрат, который способно обеспечить только государство, обладающее современными ядерными технологиями (включающими методы сепарации изотопа осмий-187 из ренийсодержащих и ультрабедных руд или из бедных и ультрабедных сбросных технологических растворов).
Действительно, уникальность материала и технология его производства обеспечивает достаточно высокую степень защиты ценных изделий (включая банкноты, кредитные и иные документы, а также иные объекты, требующие, ввиду своей определенной ценности, индивидуальной или широкомасштабной защиты) от подделки. Однако именно уникальность и технологическая сложность производства осмия-187 ограничивает область его использования в части широкомасштабной защиты изделий (например, банкнот) от подделки, поскольку затраты на изготовление одной банкноты могут быть соизмеримы с номинальной стоимостью этой банкноты, а в ряде случаев могут быть и значительно выше ее номинальной стоимости, например, для мелких банкнот.
Если же принять во внимание то, что в современных условиях рыночных отношений данный уникальный материал (осмий-187) может быть приобретен заинтересованными лицами в чистом виде в нужном количестве путем его покупки (в том числе и нелегальным путем), а также то, что сам по себе технологический процесс формирования защитной метки на основе осмия-187 (согласно рассматриваемому изобретению) не представляет каких-либо трудностей и не имеет технологических НОУ-ХАУ, и то, что минимальное количество осмия-187, необходимое для обеспечения гарантированного детектирования защитной метки, составляет 5 мкг, можно прийти к выводу, что заинтересованное лицо может воспроизвести эту защитную метку, например, на банкнотах, неограниченное число раз, причем каждая нелегально воспроизведенная метка будет абсолютно идентична эталонной, поскольку физико-химические свойства осмия-187, даже полученного различными технологическими способами и из разных источников, будут абсолютно идентичными.
В основу заявленного изобретения была положена задача создания такого способа защиты от подделки и контроля подлинности ценных изделий, который позволил бы при минимальных затратах на его промышленную реализацию (т.е., затратах на изготовление устройств для его реализации) осуществить высококачественную защиту за счет использования для производства реализующих способ устройств известных из уровня техники технологий, а также высокую скорость детектирования (контроля подлинности маркированных изделий, в частности, банкнот) за счет обеспечения возможности работы устройств, реализующих способ, в СВЧ-диапазоне радиочастот, обеспечивающем высокую скорость радиообмена.
Поставленная задача достигается посредством того, что в способе защиты от подделки и контроля подлинности ценных изделий, заключающемся в том, что на изделии формируют пассивное защитное средство заданной структуры, которая обеспечивает возможность контроля наличия и подлинности упомянутого средства физическим методом анализа по резонансным эффектам в процессе внешнего воздействия на него зондирующим электромагнитным излучением заданной радиочастоты и детектирования параметров определенных информативных признаков в резонансном отклике защитного средства на упомянутое внешнее воздействие с последующим автоматическим сопоставлением зарегистрированных параметров этих информативных признаков с эталонными значениями, заложенными в памяти средства детектирования, согласно изобретению, в качестве пассивного защитного средства используют металлизированную, по меньшей мере, трехслойную резонансную фильтровую структуру, которая включает плоскостную полосковую линию, состоящую, по меньшей мере, из двух металлических микрополосок длиной, равной половине длины волны распространяющегося в полосковой линии излучения, индуцированного зондирующим излучением, которые расположены со взаимным перекрытием и разделены между собой диэлектриком в зоне упомянутого перекрытия, при этом величина диэлектрического зазора между микрополосками в зоне перекрытия не превышает 20 мкм; сплошной металлический экран; а также разделяющий их диэлектрический слой; в качестве зондирующего излучения используют радиочастоту СВЧ-диапазона, преимущественно, от 8 до 12 ГГц; в качестве детектируемых информативных признаков в резонансном отклике фильтровой структуры используют характерные пиковые значения частотной характеристики коэффициентов прямой передачи и обратного отражения этой структурой внешнего зондирующего излучения, причем в процессе детектирования зарегистрированные конкретные пиковые значения частотной характеристики упомянутых коэффициентов сравнивают с заданным диапазоном эталонных значений соответствующих параметров, заложенным в памяти средства детектирования.
В ряде случаев в качестве материала упомянутого разделяющего диэлектрического слоя целесообразно использовать лавсан.
Оптимально трехслойную резонансную фильтровую структуру беззазорно размещать между двумя дополнительными слоями диэлектрика.
Для повышения надежности детектирования на упомянутом дополнительном слое диэлектрика, расположенном со стороны полосковой линии, допустимо формировать дополнительный металлический экранирующий слой.
Целесообразно дополнительный металлический экранирующий слой закрывать слоем диэлектрика.
Оптимально в качестве зондирующего излучения радиочастотой СВЧ-диапазона использовать излучение с частотой от 8 до 12 ГГц.
Изобретение иллюстрируется графическими материалами.
Фиг.1 – схема расположения металлических микрополосок в плоскостной полосковой линии.
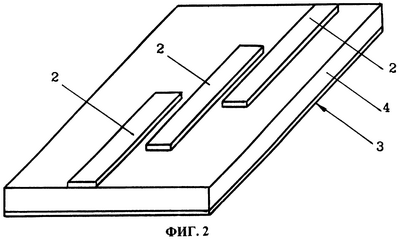
Фиг.2 – вариант выполнения устройства согласно п.1 формулы изобретения.
Фиг.3 – вариант выполнения устройства согласно п.3 формулы изобретения.
Фиг.4 – вариант выполнения устройства согласно п.4 формулы изобретения.
Фиг.5 – вариант выполнения устройства согласно п.5 формулы изобретения.
Физическая сущность заявленного способа защиты и контроля подлинности ценных изделий заключается в следующем.
Согласно заявленного способа защиты от подделки и контроля подлинности ценных изделий на маркируемом изделии формируют пассивное защитное средство заданной структуры, которая обеспечивает возможность контроля наличия и подлинности упомянутого средства физическим методом анализа по резонансным эффектам в процессе внешнего воздействия на него зондирующим электромагнитным излучением заданной радиочастоты и детектирования параметров определенных информативных признаков в резонансном отклике защитного средства на упомянутое внешнее воздействие с последующим автоматическим сопоставлением зарегистрированных параметров этих информативных признаков с эталонными значениями, заложенными в памяти средства детектирования. В качестве пассивного защитного средства используют металлизированную, по меньшей мере, трехслойную резонансную фильтровую структуру, которая включает плоскостную полосковую линию 1, состоящую, по меньшей мере, из двух металлических микрополосок 2 длиной, равной половине длины волны ( /2) распространяющегося в полосковой линии излучения, индуцированного зондирующим излучением, которые расположены со взаимным перекрытием и разделены между собой диэлектриком в зоне упомянутого перекрытия. При этом величина диэлектрического зазора S между микрополосками 2 в зоне перекрытия не превышает 20 мкм. Кроме того, упомянутая фильтровая структура включает сплошной металлический экран 3, а также разделяющий экран 3 и полосковую линию 1 диэлектрический слой 4. В качестве зондирующего излучения используют радиочастоту СВЧ-диапазона, преимущественно, от 8 до 12 ГГц. В качестве детектируемых информативных признаков в резонансном отклике фильтровой структуры используют характерные пиковые значения частотной характеристики коэффициентов прямой передачи (пропускания) и обратного отражения этой структурой внешнего зондирующего излучения. Причем в процессе детектирования зарегистрированные конкретные пиковые значения частотной характеристики упомянутых коэффициентов сравнивают с заданным диапазоном (а не конкретным абсолютным значением) эталонных значений соответствующих параметров, заложенным в памяти средства детектирования.
В ряде случаев, например, при маркировке банкнот, в качестве материала упомянутого разделяющего диэлектрического слоя целесообразно использовать лавсан.
Оптимально трехслойную резонансную фильтровую структуру беззазорно размещать между двумя дополнительными слоями 5 и 6 диэлектрика, что обеспечивает более длительную сохранность резонансной фильтровой структуры (СВЧ-метки) при эксплуатации маркируемых изделий, преимущественно, банкнот.
Для повышения надежности детектирования на упомянутом дополнительном слое 5 диэлектрика, расположенном со стороны полосковой линии 1, допустимо формировать дополнительный металлический экранирующий слой 8.
Целесообразно дополнительный металлический экранирующий слой 8 закрывать слоем 9 диэлектрика.
Более подробно физическая сущность заявленного способа защиты от подделки и контроля подлинности раскрывается на примерах работы устройств для его промышленной реализации.
Устройство для защиты от подделки и контроля подлинности ценных изделий, согласно первого варианта выполнения, включает пассивное защитное средство заданной структуры. Эта структура выполнена с возможностью обеспечения контроля наличия и подлинности упомянутого средства физическим методом анализа по резонансным эффектам в процессе внешнего воздействия на него зондирующим электромагнитным излучением заданной радиочастоты. А также с возможностью детектирования параметров определенных информативных признаков в резонансном отклике защитного средства на упомянутое внешнее воздействие с последующим автоматическим сопоставлением зарегистрированных параметров этих информативных признаков с эталонными значениями, заложенными в памяти средства детектирования.
Пассивное защитное средство выполнено в виде металлизированной, по меньшей мере, трехслойной резонансной фильтровой структуры, которая включает плоскостную полосковую линию 1, состоящую, по меньшей мере, из двух металлических микрополосок 2 длиной, равной половине длины волны распространяющегося в полосковой линии излучения, индуцированного зондирующим излучением, которые расположены со взаимным перекрытием и разделены длиной, равной половине длины волны ( /2) распространяющегося в полосковой линии излучения, индуцированного зондирующим излучением, которые расположены со взаимным перекрытием и разделены между собой диэлектриком в зоне упомянутого перекрытия. При этом величина диэлектрического зазора (S) между микрополосками 2 в зоне перекрытия не превышает 20 мкм. Кроме того, упомянутая резонансная фильтровая структура включает сплошной металлический экран 3; а также разделяющий микрополосковую линию 1 и упомянутый экран 3 диэлектрический слой 4. Радиоэлектрические и геометрические параметры плоскостной полосковой линии 1 выбраны таким образом, что при ее зондировании излучением радиочастотой СВЧ-диалазона, преимущественно, от 8 до 12 ГГц, обеспечивается возможность использовать в качестве детектируемых информативных признаков в резонансном отклике фильтровой структуры характерные пиковые значения частотной характеристики коэффициентов прямой передачи и обратного отражения этой структурой внешнего зондирующего излучения. Эти информативные признаки (т.е. пиковые значения частотной характеристики коэффициентов пропускания и поглощения) используются в процессе детектирования для сравнения с заданным диапазоном (а не конкретным абсолютным значением) эталонных значений соответствующих параметров, заложенным в памяти средства детектирования.
Целесообразно упомянутый разделяющий диэлектрический слой выполнять из лавсана.
Оптимально трехслойную резонансную фильтровую структуру беззазорно размещать между двумя дополнительными слоями 5 и 6 диэлектрика, выполненными, например, из лавсана. Это исключает повреждение резонансной полосковой линии 1 и металлического экрана 3 в процессе эксплуатации защищаемых изделий, например, банкнот.
Второй вариант исполнения устройства для защиты от подделки и контроля подлинности ценных изделий во многом аналогичен первому. Его отличия заключаются лишь в том, что пассивное защитное средство выполнено в виде металлизированной, по меньшей мере, пятислойной резонансной фильтровой структуры, которая, помимо ранее перечисленных элементов трехслойной резонансной фильтровой структуры (согласно первого варианта исполнения устройства), содержит дополнительный диэлектрический слой 7 и покрывающий его дополнительный сплошной металлический экран 8, которые последовательно расположены со стороны полосковой линии 1. Как и в первом варианте исполнения, пятислойная резонансная фильтровая структура по второму варианту может быть беззазорно размещена между двумя дополнительными слоями 9 и 10 диэлектрика, выполненными, например, из лавсана.
Физическая сущность принципа работы устройства для защиты от подделки и контроля подлинности ценных изделий по любому из вариантов исполнения практически идентична и заключается в следующем.
Целесообразно отметить, что при разработке радиочастотных защитных меток (защитных средств) большое значение имеет выбор частотного диапазона и возможных видов модуляции зондирующего сигнала. С точки зрения радиотехники построение метки, обеспечивающей идентификацию какого-либо объекта, может быть реализовано практически во всем спектре радиочастот, освоенном на сегодняшний день – от единиц килогерц до сотен гигагерц. Однако, специфические требования к меткам в защитной металлической полосе предъявляют особые требования к выбору диапазона частот и вида модуляции.
Для лучшего понимания физической сущности заявленного изобретения целесообразно проанализировать существующие на данный момент принципы построения и подходы к использованию систем радиочастотной идентификации.
Системы радиочастотной идентификации и регистрации объектов (RFID-системы) получили широкое распространение с начала 90 годов. По сравнению с уже существующими общеизвестными методами идентификации (по штрих-коду или по магнитной полосе) RFID-системы обладают рядом существенных преимуществ. А именно: идентификация объекта производится по уникальному цифровому коду, излучаемому закрепленной на объекте электронной меткой-транспондером; опрос транспондеров производится автоматически с помощью приемо-передающего устройства (ридера).
Такие системы позволяют существенно ускорить процесс идентификации, не требуют специального расположения объекта относительно ридера (как, например, в системах со штрих-кодом), являются более надежными, долговечными и защищенными, по отношению к системам с магнитной полосой.
В настоящее время, в зависимости от требований к системе, применяются как активные (с питанием от встроенной батареи), так и пассивные транспондеры. Энергию, необходимую для формирования ответного сигнала, пассивный транспондер получает по радиолинии от ридера.
Первой системой радиочастотной идентификации и регистрации объектов является система TIRIS (Texas Instruments Registration and Identification System). Разработанная первоначально для автоматизации складского хозяйства TIRIS нашла применение в системах охраны доступа, автомобильных иммобилайзерах, системах автоматизированной торговли, на платных автомобильных парковках, бензоколонках и пр.
Существующие в настоящее время системы RFID различных производителей, как правило, различаются несущей частотой используемых сигналов, типом модуляции, протоколом радиообмена, объемом возвращаемой транспондером информации. В последнее время были предприняты попытки стандартизовать указанную продукцию. Это в первую очередь относится к несущей частоте сигналов.
В настоящее время можно выделить три основных частотных диапазона, в которых работают системы RFID:
– низкочастотный диапазон (до 150 кГц);
– среднечастотный диапазон (13,56 МГц);
– высокочастотный диапазон (850…950 МГц и 2,4…5 ГГц).
Среди широко распространенных на российском рынке систем RFID низкочастотного диапазона следует отметить транспондеры, работающие на частоте 125 кГц (протокол швейцарской фирмы ЕМ Microelectronic Marin). Эти транспондеры используют амплитудно-модулированные сигналы и манчестер код. Аналогичным протоколом обмена обладают транспондеры фирм Temic, Atmel, Microchip. Указанный стандарт существенно уступает системе Texas Instruments RFID по дальности действия (около 20 см) и помехозащищенности, однако низкая стоимость транспондеров ($1,2…$1,5) и ридеров ($20…$30) позволяет реализовать недорогие системы охраны доступа, системы учета и др.
К главным недостаткам низкочастотных систем RFID следует отнести в первую очередь низкую скорость радиообмена и технологическую сложность изготовления высокоиндуктивных антенн транспондеров. Низкая скорость радиобмена не позволяет ридеру различать несколько транспондеров, одновременно находящихся в поле его антенны. Это до определенной степени ограничивает применение низкочастотных RFID систем. Спиральные или магнитные антенны низкочастотных транспондеров, как правило, требуют сложного намоточного оборудования и плохо транспортируются. Это приводит к высоким затратам на корпусирование транспондеров и, в конечном итоге, к их высокой стоимости.
Переход в мегагерцевый диапазон частот позволил избавиться от указанных недостатков. Стандартным среднечастотным диапазоном для производства систем RFID является диапазон 13,56 МГц. Разработки транспондерных микросхем в этом диапазоне имеются у целого ряда известных производителей – это Philips – технология MIFARE, Microchip и многие другие.
Транспондеры, производимые Texas Instruments по технологии Tag-ItТМ, представляют собой законченную конструкцию, состоящую из тонкой (0,03 мм) пластиковой подложки, микросхемы и нанесенной методом напыления рамочной антенны. Толщина транспондера в месте расположения чипа 0,3 мм. Транспондер содержит уникальный, записанный на заводе изготовителе 32-разрядный код и пользовательскую память 256 бит (8 страниц по 32 разряда). Сигнал транспондера амплитудно-модулированный, для кодирования используется манчестер-код.
Ориентировочная стоимость транспондера в России составляет менее одного доллара США. Главным достоинством транспондеров Tag-ItТМ является простота их корпусирования. В простейшем случае применения транспондер может быть просто вклеен между двумя листами бумаги или картона.
Высокочастотные транспондерные устройства на современном рынке RFID представлены в первую очередь продукцией Amtech и Micro Design ASA. Высокочастотные активные транспондеры Texas Instruments разработаны в соответствии со стандартами США и Канады и не поставляются на Европейский рынок. Транспондер содержит внутри себя высокочастотный приемопередатчик. Все это приводит к достаточно высоким ценам на компоненты таких систем, в частности, стоимость ридерного оборудования составляет $2000…5000, стоимость высокочастотного транспондера колеблется от $30 до 100$.
Следует заметить, что длинноволновые диапазоны предполагают значительные габариты приемных и передающих структур, микроволновые диапазоны достаточно дороги в плане элементной базы и изготовления направляющих структур с предельно жесткими допусками.
Таким образом, необходим разумный компромисс при выборе рабочего диапазона частот. Кроме того, необходимо учитывать, что резонансные эффекты, которые используются в качестве основных информативных признаков в заявленном техническом решении, наблюдаются при характерных размерах, кратных половине длины волны. Поэтому, в теоретических исследованиях (предшествующих практической разработке заявленного технического решения) выбран достаточно широкий диапазон частот – от 2 до 15 ГГц (с различными видами модуляции). Руководствовались при этом следующими требованиями:
– метка должна быть пассивной, не содержать активных элементов и нелинейностей в виде полупроводящих структур;
– технология изготовления метки должна быть достаточно простой и на сегодняшний день хорошо отработанной;
– используемые приборы для генерации и приема радиосигналов на сегодняшний день должны выпускаться серийно;
– на сегодняшний день должна иметься серийная измерительная аппаратура контроля и идентификации.
В качестве законов модуляции зондирующих сигналов, на данном этапе работы, были выбраны следующие. Короткий радиоимпульс, частотная модуляция непрерывного сигнала по линейному закону, непрерывный сигнал. Возможно, на последующих этапах работы перечень модулирующих законов будет расширен. Вместе с этим взятый за основу перечень практически исчерпывает возможные варианты, поскольку в частных случаях речь может идти лишь об уточнении тех или иных параметров модуляции, например, девиации частоты, периода повторения и т.д.
При построении системы обнаружения и идентификации СВЧ-меток, т.е., защитных средств (в частности, на таких объектах, как денежные знаки и иные ценные бумаги) большое значение имеет выбор и обоснование информативных признаков. В ходе разработки заявленного изобретения было принято решение разделить задачи обнаружения и идентификации СВЧ-метки (защитного средства) на две самостоятельные задачи. Это обусловлено следующим:
– во-первых, необходимо четко фиксировать наличие металлизированной структуры (и это само по себе информативный параметр);
– во-вторых, для различных по номиналу объектов (в частности, денежных знаков) сигнал метки (защитного средства или резонансной фильтровой структуры) должен различаться.
Поэтому предлагаются две методики построения меток. Одна основана на спектральных различиях прошедшего и отраженного сигналов. Другая предполагает бинарное квантование меток по их геометрическому расположению.
В процессе разработки заявленного технического решения было проведено моделирование процесса прохождения радиоимпульса через линейные фильтры разного порядка, разработаны математические модели резонансных фильтровых структур СВЧ-меток на связанных плоскостных полосковых линиях, исследовано влияние геометрических размеров и поляризации поля на развязку приемного и передающего трактов и на обнаружение метки.
Параметры зондирующего сигнала, принятые при моделировании, следующие: несущая частота – 10 ГГц (длина волны 3 см), длительность импульса 50 нс. Соответственно выбраны параметры моделирования и частоты дискретизации. Представляется разумным выполнять фильтр метки невысокого порядка, поскольку он имеет малое число звеньев и может быть компактным, что является очень важным при использовании СВЧ-меток для защиты банкнот от подделки. Кроме того, реализация фильтров высокого порядка может оказаться нереализуемой в микрополосковом варианте исполнения.
Проведенные исследования показывают, что имеется принципиальная возможность выявления информативного признака (по импульсной характеристике) при реализации метки в виде резонансного микрополоскового фильтра. Основной сложностью при таком построении являются практические ограничения по достижению высокой добротности структуры метки.
В ходе моделирования оценивался коэффициент отражения от исследуемой структуры (т.е., метки в виде резонансного микрополоскового фильтра) и коэффициент передачи. Такой набор обусловлен тем, что реально и с высокой степенью достоверности в регистрирующей аппаратуре могут измеряться (оцениваться) и сравниваться с эталонными значениями соответствующих параметров именно эти параметры.
Исследования показывают, что изменение параметров цепей структур существенно влияет и на коэффициент отражения и на коэффициент передачи. Однако следует заметить, что такой эффект наблюдается при существенных значениях девиации частоты (ширине спектра зондирующего сигнала). Это обусловлено, во-первых, малым порядком фильтра, а во-вторых, низкой добротностью (большим затуханием) микрополосковой линии из-за очень малой толщины диэлектрика (лавсана). В пределах одной октавы возможна идентификация не более 6 различных структур СВЧ-метки. При увеличении частотного диапазона до величин, превышающих октаву, появляются резонансы на кратных гармониках, что существенно затрудняет идентификацию.
Наращивание порядка фильтра приведет к увеличению габаритов и невыполнению требования размещения 3 меток на ленте. Кроме того, вследствие габаритных ограничений (в частности, при использовании рассматриваемых СВЧ-меток на денежных знаках) нет возможности и существенного увеличения толщины диэлектрического основания.
Целесообразно рассмотреть развязку между излучателем и приемником зондирующего электромагнитного излучения при их расположении на одной стенке. В качестве излучателя и приемника в данном случае представляется наиболее рациональным использовать щель в проводящем экране.
Развязка между щелевыми излучателями, как и все последующие расчеты, выполнялась в среде электромагнитного моделирования Microwave Office. Достигаемый уровень развязки при выбранных размерах составил – минус 55 дБ.
При прохождении мимо щелей защитной полосы (защитного средства) между щелями возникает электромагнитная связь и величина развязки уменьшается до минус 19 дБ. То есть перепад сигналов в отсутствие защитной полосы и при ее наличии составляет 36 дБ, что является уверенным признаком наличия простейшей метки (бинарное обнаружение).
Структура из двух полос с электромагнитной связью моделирует возбуждающую структуру фильтра. В этом случае достигается развязка между излучающей и приемной щелью минус 14 – минус 15 дБ. Выигрыш в этом случае составляет 40 дБ.
Перейдем к рассмотрению структур, расположенных в двух параллельных плоскостях напротив друг друга. Воздушный зазор между плоскостями моделирует конструктивный зазор, в котором перемещается защищаемый метализированной полосой объект.
При расположении щелей напротив друг друга сонаправленно возникает сильная электромагнитная связь между передатчиком и приемником. Информативным признаком в этом случае может служить ее нарушение при прохождении метки в зазоре и возрастание отраженного сигнала в передатчике.
Ортогональное расположение щелей позволяет ослабить связь между щелями до величины минус 60 дБ. При прохождении металлизированной полосы, ориентированной так же, как и одна из щелей электромагнитная связь не возникает и развязка по прежнему не превышает минус 60 дБ.
При расположении защитной полосы под углом 45° относительно излучающей и принимающей щелей возникает сильная связь приемного и передающего канала и развязка снижается до минус 7 – минус 8 дБ. При соответствующем подборе геометрических параметров (размеров) металлизации полосы связь достигает величины минус 4 дБ.
Далее анализировался характер электромагнитной связи при прохождении металлизированной полосы относительно приемной и излучающей щелей.
Результаты моделирования показывают, что максимальная электромагнитная связь возникает только при прохождении металлизированной полосы симметрично через центр пересечения излучающей и приемной щелей. Это обстоятельство позволяет сделать вывод, что при соответствующем позиционном расположении простой по структуре метки и соответствующем расположении приемника и передатчика в системе считывания достигается уверенное обнаружение метки (полосы). При использовании нескольких меток (наклонных полос) возможно решение задачи распознавания.
Проведение экспериментов по выявлению информативных параметров меток и выбору схем их считывания выполнялось с использованием стандартных измерительных приборов, в частности измерителя КСВн и ослабления Р2-59.
Прибор использовался по схеме измерения ослабления. То есть производилась экспериментальная проверка модуля коэффициента пропускания, как наиболее информативного параметра для фильтровой структуры.
В отличие от штатного комплекта принадлежностей в схему измерений были включены два коаксиально-волноводных перехода и две микрополосковые щелевые антенны. Коаксиально-волноводные переходы обеспечивают соединение с узлом питания микрополосковой линии, возбуждающей щель. В качестве узлов питания использовались переходы Э2-116/1, непосредственно соединенные с антенной, и разъемы СР-50-270С с отрезками коаксиального кабеля РК50-4-21. Микрополосковые щелевые антенны были рассчитаны на максимум полосы пропускания в диапазоне работы прибора и изготовлены на материале FR4.
Калибровка прибора выполнялась в несколько этапов. Вначале калибровался только волноводный тракт. То есть из схемы исключались все нештатные устройства. Устанавливался уровень мощности генератора СВЧ, при котором детектор падающей волны работает на квадратичном участке вольтамперной характеристики. Этот режим обеспечивает получение характеристик, пропорциональных мощностям и, следовательно, параметрам коэффициентов пропускания-отражения. При калибровке детектора отраженной волны (в данной схеме измерений он фактически детектор прошедшей волны) добивались равенства мощностей и максимально плоской частотной характеристики на экране прибора.
На следующем этапе подключались коаксиально-волноводные переходы и соединялись специальным широкополосным кабелем. Этот этап обеспечивает учет частотных характеристик коаксиально-волноводных переходов с кабелем. Уровень падающей волны не менялся, а уровень прошедшей корректировался. Калибровка проводилась в диапазоне частот 8,3…12,0 ГГц.
Неравномерность частотной характеристики обусловлена совокупностью частотных характеристик коаксиально-волноводных переходов и кабеля. Ее неравномерность не превышает 2,5 дБ. Это вполне удовлетворительно не только для качественных оценок параметров цепей, но и для количественных оценок.
Далее рассматривается методика проведения экспериментов по выявлению информативных признаков метки. В качестве основы информативного признака служит модуль коэффициента пропускания и используется одна и та же измерительная аппаратура.
Для резонансной фильтровой структуры (защитной метки) методика калибровки прибора аналогична изложенной выше. В данной конструкции метки невозможно контактное возбуждение, возможно только электромагнитное. При проведении эксперимента не предполагалось получение количественных значений частотной характеристики. Более важно определить наличие характерных отличий резонансной фильтровой метки от ее подделки.
После калибровки прибора и подключения щелевых излучателей необходимо убедиться в отсутствии электромагнитной связи между щелями. По крайней мере величина развязки должна составлять не менее минус 40 дБ.
Убедившись в наличии развязки, необходимо создать гарантированный зазор (толщина листа бумаги) между щелями и исследуемым объектом.
Далее поместить исследуемый объект таким образом, чтобы края исследуемого объекта находились над излучающей и принимающей щелью соответственно.
Не меняя положения ручки “калибровка”, используя только переключатель “ослабление”, добиться устойчивой картины и нужного масштаба изображения частотной характеристики исследуемого объекта на экране прибора.
Зафиксировать полученную частотную характеристику.
Удалить один исследуемый объект и наблюдать отсутствие отклика.
Не изменяя положения регулировок прибора, поместить второй исследуемый объект аналогично первому объекту.
Наблюдать частотную характеристику исследуемого объекта. При необходимости переключателем “ослабление” добиться нужного масштаба изображения частотной характеристики исследуемого объекта на экране прибора.
Зафиксировать полученную частотную характеристику.
Удалить исследуемый объект и вновь убедиться в наличии развязки.
Еще раз подчеркнем, что целью эксперементов не являлось получение количественных характеристик, речь идет о характерных физических явлениях, способных стать информативными признаками.
В качестве ложного объекта использовалась размещенная на стенде полосковая линия (проводник шириной 1 мм на материале FR4 толщиной 0,7 мм) с заданной частотной характеристикой.
Следует отметить, что здесь характеристика резко отличается. Во-первых, отклики совершенно на других частотах. Во-вторых, в силу большей добротности структуры пик частотной характеристики существенно уже.
Перейдем к рассмотрению другого способа возбуждения резонансной фильтровой структуры.
Так же, как и в первом случае частотная характеристика имеет характерные резонансные пики в области частот 8,3…9,6 ГГц. Однако амплитуда отклика несколько ниже. В качестве тестового (ложного) образца использовался аналогичный первому, но с другим типом питания. И в этом случае ложный образец аналогично первому не дает резонансных откликов, а формирует выброс на частоте 9,2 ГГц большей амплитуды, чем фильтровая метка.
Таким образом и при втором типе питания наблюдается устойчивое различие между резонансной фильтровой структурой (меткой) и ложным образцом.
Фильтровая метка имеет достаточно сложную технологию изготовления, требует двухслойного алюминиевого покрытия лавсана и сложную аппаратуру идентификации. Однако выполненные эксперименты подтвердили эффективность этого типа СВЧ-меток и их устойчивость к подделке. Таким образом, наиболее перспективной для промышленного применения можно считать метку фильтрового типа.
Рассмотрим варианты построения аппаратуры считывания меток подобного вида. Основным информативным признаком, как показали эксперименты, является формируемая меткой частотная характеристика модуля коэффициента прямой передачи (пропускания). Необходимо отметить, что эта информация не является исчерпывающей. Целесообразно получать частотную зависимость коэффициента отражения в дополнение к коэффициенту прямой передачи (пропускания).
Для получения частотных характеристик в качестве тестовых сигналов использовался “белый” шум и частотная модуляция по линейному или близкому к линейному закону.
Рассмотрим структурные схемы считывающего или идентифицирующего устройства на обоих принципах действия.
Схема с использованием “белого” шума, по своей сути, это рефлектометр с каналом прошедшей и отраженной волны. Рассмотрим работу этой схемы. Генератор полосового шума (ГШ) работает в полосе частот метки, т.е. от 8 до 11 ГГц. Он может быть выполнен на лавинно-пролетном диоде (ЛПД) и иметь достаточно малую спектральную плотность мощности шума (СПМШ), порядка 33 дБ.
Формируемый шум модулируется по амплитуде синусоидальным сигналом с частотой порядка 100 кГц. С выхода амплитудного модулятора сигнал поступает на направленный ответвитель отраженной волны. Этот ответвитель формирует сигнал, пропорциональный модулю коэффициента отражения от первой антенны. Эта антенна излучает промодулированный шумовой сигнал в рабочий зазор, через который перемещается метка. При отсутствии метки сигнал принимается второй антенной, проходит набор полосовых фильтров, детектируется детектором. С выхода детектора сигнал усиливается в узкополосном усилителе промежуточной частоты (УПЧ), который настроен на частоту модуляции 100 кГц. Детектор огибающей выделяет медленно меняющуюся амплитуду сигнала промежуточной частоты (ПЧ), пропорциональную прошедшей через рабочий зазор и полосовые фильтры мощности. Этот канал служит для калибровки и формирования опорных уровней сигнала.
При наличии в рабочем зазоре метки сигнал, распространяясь в ней как в фильтре, поступает на вход третьей антенны и далее, как и в канале калибровки детектируется и усиливается. Сигнал с выхода детектора огибающей и фильтра нижних частот (ФНЧ) пропорционален модулю коэффициента прямой передачи (пропускания).
С выхода направленного ответвителя сигнал также поступает на схему детектирования и усиления. На выходе этого канала формируется напряжение, пропорциональное модулю коэффициента отражения.
С выходов ФНЧ сигнал поступает на АЦП и обрабатывается ЭВМ. В ЭВМ производится сравнение сигналов трех измерительных каналов и принимается решение о подлинности метки.
Наибольшую сложность в рассматриваемом устройстве представляет набор полосовых фильтров, который собственно и является чувствительным устройством. Количество фильтров и полосы их пропускания определяют качество измерений. Выбор того или иного фильтра осуществляет ЭВМ.
По результатам экспериментов достаточно пяти полос в наборе, которые будут переключаться с помощью p-i-n диодных ключей.
Схема с использованием частотной модуляции следующая. Исходный сигнал формируется генератором качающейся частоты (ГКЧ). Генератор может быть выполнен на СВЧ-диодах или транзисторах. Диапазон перестройки частоты от 8 до 12 ГГц. Такой широкий диапазон перестройки (практически половина октавы) существенно усложняет конструкцию генератора.
При выполнения НИОКР в процессе создания заявленных технических решений были получены следующие результаты и сделаны следующие выводы.
Имеется принципиальная возможность выявления информативного признака (по импульсной характеристике или частотной) при реализации метки в виде резонансного микрополоскового фильтра (основной сложностью при таком построении являются практические ограничения по достижению высокой добротности структуры защитной метки из-за малой толщины лавсанового диэлектрика).
Параметры цепей фильтровых структур существенно влияют на коэффициенты отражения и передачи при большой ширине спектра зондирующего сигнала. Это обусловлено малым порядком фильтра и низкой добротностью (большим затуханием) микрополосковой линии. В пределах одной октавы возможна идентификация не более 6 различных структур защитной метки.
Максимальная электромагнитная связь в системе с перекрестной поляризацией антенн приемного и передающего трактов возникает при прохождении металлизированной полосы симметрично через центр пересечения излучающей и приемной щелей. При соответствующем позиционном расположении защитной полосы относительно приемника и передатчика в системе считывания достигается уверенное обнаружение метки. При использовании нескольких меток возможно решение задачи распознавания.
Проведенное математическое и имитационное моделирование позволило разработать топологию элементов приемного и передающего трактов идентификатора и структуру СВЧ-метки.
Фильтровая метка имеет достаточно сложную технологию изготовления, требует двухслойного алюминиевого покрытия лавсана и сложную аппаратуру идентификации. Однако, выполненные эксперименты подтвердили эффективность этого типа меток и их устойчивость к подделке.
В настоящее время разработаны математические модели различных структур защитных фильтровых СВЧ-меток. Проведено математическое моделирование процесса обнаружения и идентификации. Разработана схема проведения экспериментальных исследований с идентификационной меткой. Разработаны топологические чертежи приемо-передающих трактов макета изделия. Разработан и изготовлен лабораторный макет устройства идентификации. Разработана топология и изготовлены образцы защитных фильтровых СВЧ-меток. Проведены лабораторные исследования.
Таким образом, заявленное изобретение может быть широко использовано для производства и одновременной защиты от несанкционированого воспроизводства (подделки) ценных изделий и его применение наиболее целесообразно для промышленного использования, преимущественно, при крупномасштабном производстве и санкционированном воспроизводстве защищаемых изделий (например, таких, как банкноты и иные ценные бумаги, а также различного вида кредитные документы) ввиду обеспечения возможности оперативного контроля подлинности защищаемых изделий широким кругом пользователей доступными средствами контроля и идентификации.
Формула изобретения
1. Способ защиты от подделки и контроля подлинности ценных изделий, заключающийся в том, что на изделии формируют пассивное защитное средство заданной структуры, которая обеспечивает возможность контроля наличия и подлинности упомянутого средства физическим методом анализа по резонансным эффектам в процессе внешнего воздействия на него зондирующим электромагнитным излучением заданной радиочастоты и детектирования параметров определенных информативных признаков в резонансном отклике защитного средства на упомянутое внешнее воздействие с последующим автоматическим сопоставлением зарегистрированных параметров этих информативных признаков с эталонными значениями, заложенными в памяти средства детектирования, отличающийся тем, что в качестве пассивного защитного средства используют металлизированную, по меньшей мере, трехслойную резонансную фильтровую структуру, которая включает плоскостную полосковую линию, состоящую, по меньшей мере, из двух металлических микрополосок длиной, равной половине длины волны распространяющегося в полосковой линии излучения, индуцированного зондирующим излучением, которые расположены со взаимным перекрытием и разделены между собой диэлектриком в зоне упомянутого перекрытия, при этом величина диэлектрического зазора между микрополосками в зоне перекрытия не превышает 20 мкм; сплошной металлический экран; а также разделяющий их диэлектрический слой; в качестве зондирующего излучения используют радиочастоту СВЧ-диапазона; в качестве детектируемых информативных признаков в резонансном отклике фильтровой структуры используют характерные пиковые значения частотной характеристики коэффициентов прямой передачи и обратного отражения этой структурой внешнего зондирующего излучения, причем в процессе детектирования зарегистрированные конкретные пиковые значения частотной характеристики упомянутых коэффициентов сравнивают с заданным диапазоном эталонных значений соответствующих параметров, заложенным в памяти средства детектирования.
2. Способ по п.1, отличающийся тем, что в качестве материала упомянутого разделяющего диэлектрического слоя используют лавсан.
3. Способ по п.1, отличающийся тем, что трехслойную резонансную фильтровую структуру беззазорно размещают между двумя дополнительными слоями диэлектрика.
4. Способ по п.3, отличающийся тем, что на упомянутом дополнительном слое диэлектрика, расположенном со стороны полосковой линии, формируют дополнительный металлический экранирующий слой.
5. Способ по п.4, отличающийся тем, что дополнительный металлический экранирующий слой закрывают слоем диэлектрика.
6. Способ по п.1, отличающийся тем, что в качестве зондирующего излучения радиочастотой СВЧ-диапазона используют излучение с частотой от 8 до 12 ГГц.
РИСУНКИ
PD4A – Изменение наименования обладателя патента Российской Федерации на изобретение
(73) Новое наименование патентообладателя:
Федеральное государственное унитарное предприятие «Гознак» (RU)
Адрес для переписки:
115162, Москва, ул. Мытная, д. 19, начальнику отдела интеллектуальной собственности НИИ-филиала ФГУП «Гознак» В.А.Пашинину
Извещение опубликовано: 20.01.2007 БИ: 02/2007
MM4A – Досрочное прекращение действия патента СССР или патента Российской Федерации на изобретение из-за неуплаты в установленный срок пошлины за поддержание патента в силе
Дата прекращения действия патента: 09.07.2007
Извещение опубликовано: 27.02.2009 БИ: 06/2009
|