|
|
(21), (22) Заявка: 2004133754/02, 19.11.2004
(24) Дата начала отсчета срока действия патента:
19.11.2004
(45) Опубликовано: 10.05.2006
(56) Список документов, цитированных в отчете о поиске:
US 3955468 А, 11.05.1976. RU 2170906 C1, 20.07.2001. JP 2004044826 А, 12.02.2004. US 3020828 А, 13.02.1962.
Адрес для переписки:
141371, Московская обл., г. Хотьково, ул. Заводская, 1, ОАО ЦНИИСМ, Патентное бюро
|
(72) Автор(ы):
Барынин Вячеслав Александрович (RU), Кульков Александр Алексеевич (RU), Макаровец Николай Александрович (RU), Семилет Виктор Васильевич (RU), Яиков Вячеслав Петрович (RU), Плотников Владимир Иванович (RU), Лукьяненко Владимир Семенович (RU), Пухов Андрей Аркадьевич (RU), Тимаков Александр Михайлович (RU)
(73) Патентообладатель(и):
Открытое акционерное общество Центральный научно-исследовательский институт специального машиностроения (RU)
|
(54) ТРАНСПОРТНО-ПУСКОВОЕ УСТРОЙСТВО
(57) Реферат:
Изобретение относится к устройствам для запуска ракет. Сущность изобретения заключается в том, что транспортно-пусковое устройство содержит направляющую, опорные диафрагмы с базовой плоскостью и кронштейн, закрепленный на одной из диафрагм, на котором с помощью регулировочных винтов и фиксаторов параллельно базовой плоскости установлена контрольная площадка. Каждый из трех регулировочных винтов установлен в глухом отверстии кронштейна, соосно которому в контрольной площадке выполнено ступенчатое отверстие с верхней резьбовой частью и нижней без резьбы и меньшего диаметра. Головка винта прижата к уступу ступенчатого отверстия фиксатором, ввинченным в резьбовую часть ступенчатого отверстия. В винте и фиксаторе выполнены сквозные осевые отверстия, а на резьбовой части винта с заглублением в глухое отверстие кронштейна выполнена наружная проточка с одним радиальным отверстием. В фиксаторе проточка выполнена как продолжение головки винта. На нижнем торце фиксатора выполнена радиальная канавка. Полость, образованная отверстиями, канавками и проточками, заполнена самоотверждаемой литьевой композицией. Уровень верхнего торца фиксатора и уровень композиции не превышают уровня контрольной плоскости контрольной площадки. Реализация изобретения позволяет упростить регулировку контрольной площадки и повысить точность наведения и надежность стопорения соединительно-регулировочных деталей. 1 з.п. ф-лы, 4 ил.
Изобретение относится к области машиностроения, к устройствам для запуска ракет и может быть использовано для изготовления транспортно-пусковых контейнеров с приспособлениями для контроля точности наведения.
Известно устройство для контроля параллельности по патенту США №3020828 от 13.02.1962 г., НКИ 100-46, содержащее базовую плоскость, контрольную площадку и ввинченные друг в друга крепежно-регулировочные элементы, однако ввиду сложности конструкции и ненадежной фиксации данное устройство не может быть без изменения использовано при изготовлении транспортно-пусковых контейнеров.
Также известно транспортно-пусковое устройство по патенту США №3955468 от 11.05.1976 г. НКИ 89-1.8, содержащее, как минимум, одну направляющую, опорные диафрагмы с базовой плоскостью и кронштейн, закрепленный на одной из диафрагм, на котором с помощью регулировочных винтов и фиксаторов параллельно базовой плоскости установлена контрольная площадка. Недостатком известного устройства является сложность установки и регулировки контрольной площадки. Кроме того, при обеспечении высоких требований параллельности базовой плоскости и контрольной плоскости контрольной площадки, в пределах нескольких угловых секунд, настройка установки и регулировки сбивается при механическом стопорении, даже от деформации пары «винт-фиксатор» при их затяжке, и следовательно, к недостаткам известного устройства следует отнести низкую точность установки контрольной площадки и низкую надежность ее стопорения.
Технической задачей, на решение которой направлено заявляемое изобретение, является разработка транспортно-пускового устройства повышенной точности наведения.
Технический результат, который может быть получен при решении технической задачи, заключается в упрощении установки и регулировки контрольной площадки, предназначенной для контроля точности наведения пусковых направляющих, в повышении точности наведения за счет снижения погрешностей установки самой площадки, а также в повышении надежности стопорения ее соединительно-регулировочных деталей и сохранении этих параметров на весь срок эксплуатации.
Поставленная задача с достижением технического результата решается тем, что транспортно-пусковое устройство содержит, как минимум, одну направляющую, опорные диафрагмы с базовой плоскостью и кронштейн, закрепленный на одной из диафрагм, на котором с помощью регулировочных винтов и фиксаторов параллельно базовой плоскости установлена контрольная площадка, а каждый из, как минимум, трех регулировочных винтов ввинчен в глухое отверстие кронштейна, соосно которому в контрольной площадке выполнено ступенчатое отверстие с верхней резьбовой частью, а нижней – без резьбы и меньшего диаметра, головка винта прижата к уступу ступенчатого отверстия фиксатором, ввинченным, в свою очередь, в резьбовую часть ступенчатого отверстия, при этом в винте и фиксаторе выполнены сквозные осевые отверстия, а на резьбовой части винта с заглублением в глухое отверстие кронштейна выполнена наружная проточка с, как минимум, одним радиальным отверстием, в фиксаторе же проточка выполнена как продолжение головки винта, а на нижнем торце фиксатора выполнена, как минимум, одна радиальная канавка, и при всем при этом полость, образованная отверстиями, канавками и проточками, заполнена самоотверждаемой литьевой композицией, например эпоксидным компаундом, причем уровень верхнего торца фиксатора и уровень композиции не превышает уровня контрольной плоскости контрольной площадки, диаметр же осевого отверстия фиксатора превышает диаметр отверстия регулировочного винта для доступа, например, к шлицу «под отвертку» винта.
Отличительными признаками являются следующие признаки:
– каждый из, как минимум, трех регулировочных винтов ввинчен в глухое отверстие кронштейна – признак направлен на решение поставленной задачи с достижением технического результата, позволяет упростить установку и регулировку контрольной площадки, т.е. является существенным;
– соосно глухому отверстию кронштейна в контрольной площадке выполнено ступенчатое отверстие с верхней резьбовой частью, а нижней – без резьбы и меньшего диаметра – признак направлен на решение поставленной задачи с достижением технического результата, отличается новым расположением элементов и их формой, конструктивно формирует нижний упор для головки винта при перемещении контрольной площадки относительно кронштейна, позволяет упростить установку и регулировку контрольной площадки, конструктивно связан с предыдущим признаком, т.е. является существенным;
– головка винта прижата к уступу ступенчатого отверстия контрольной площадки фиксатором – признак направлен на решение поставленной задачи с достижением технического результата, отличается новым расположением элементов и их формой, конструктивно формирует полость для размещения головки винта с упорными уступами для перемещении контрольной площадки относительно кронштейна, позволяет упростить установку и регулировку контрольной площадки, конструктивно связан с предыдущими признаками, т.е. является существенным;
– фиксатор ввинчен в резьбовую часть ступенчатого отверстия контрольной площадки – признак отличается новым расположением элементов, направлен на решение поставленной задачи с достижением технического результата, на снижение погрешностей установки контрольной площадки за счет возможности беззазорного прижатия головки регулировочного винта без взаимной их деформации, т.е. точности наведения и, следовательно, является существенным;
– в винте и фиксаторе выполнены сквозные осевые отверстия – признак отличается новой формой элементов, формирует полость для доступа ко всем элементам, направлен на решение поставленной задачи с достижением технического результата, на повышение надежности стопорения деталей после регулировки, является существенным;
– на резьбовой части винта с заглублением в глухое отверстие кронштейна выполнена наружная проточка с, как минимум, одним радиальным отверстием – признак направлен на решение поставленной задачи с достижением технического результата, конструктивно связан с предыдущим и аналогичен ему, является существенным;
– в фиксаторе проточка выполнена как продолжение головки винта, а на нижнем торце фиксатора выполнена, как минимум, одна радиальная канавка – признак аналогичен двум предыдущим, является существенным;
– полость, образованная отверстиями, канавками и проточками, заполнена самоотверждаемой литьевой композицией – признак отличается наличием нового элемента, направлен на решение поставленной задачи с достижением технического результата, на снижение погрешностей установки контрольной площадки за счет возможности стопорения ее соединительно-регулировочных деталей без взаимной их деформации, т.е. точности наведения, сохранения этих параметров на весь срок эксплуатации, и, следовательно, является существенным;
– например эпоксидным компаундом – признак является существенным, уточняет предыдущий признак;
– уровень верхнего торца фиксатора и уровень композиции не превышает уровня контрольной плоскости контрольной площадки – признак отличается новым расположением элементов, направлен на решение поставленной задачи с достижением технического результата, на повышение точности наведения, т.к. позволяет установить на контрольную плоскость контрольной площадки любые контрольно-измерительные приборы, например квадрант, признак является существенным;
– диаметр осевого отверстия фиксатора превышает диаметр отверстия регулировочного винта для доступа, например, к шлицу «под отвертку» винта – признак отличается новым сочетанием размеров элементов, направлен на решение поставленной задачи с достижением технического результата, на упрощение регулировки контрольной площадки, т.е. является существенным.
Указанные отличительные признаки являются существенными, поскольку каждый в отдельности и все совместно направлены на решение поставленной задачи с достижением технического результата. Использование единой совокупности существенных отличительных признаков в известных решениях не обнаружено, что характеризует соответствие технического решения критерию «новизна».
Единая совокупность новых существенных признаков с общими известными обеспечивает решение поставленной задачи с достижением технического результата и характеризует предложенное техническое решение существенными отличиями по сравнению с известным уровнем техники и аналогами. Данное техническое решение является результатом научно-исследовательской и экспериментальной работы по повышению точности наведения ракет без использования известных проектировочных решений, рекомендаций, материалов и обладает неочевидностью, что свидетельствует о его соответствию критерию «изобретательский уровень».
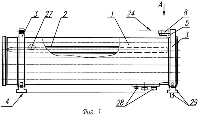
Сущность изобретения поясняется чертежами, где на фиг.1 представлен общий вид транспортно-пускового устройства, на фиг.2 – вид А на контрольную площадку, на фиг.3 – разрез Б – Б по соединительно-регулировочным деталям, на фиг.4 – выноска В по соединительно-регулировочным деталям.
Транспортно-пусковое устройство 1 содержит, как минимум, одну направляющую 2, опорные диафрагмы 3 с базовой плоскостью 4 и кронштейн 5, закрепленный на одной из диафрагм 3, на котором с помощью регулировочных винтов 6 и фиксаторов 7 параллельно базовой плоскости 4 установлена контрольная площадка 8, а каждый из, как минимум, трех регулировочных винтов 6 ввинчен в глухое отверстие кронштейна 9, соосно которому в контрольной площадке 8 выполнено ступенчатое отверстие с верхней резьбовой частью 10, а нижней 11 – без резьбы и меньшего диаметра, головка 12 винта 6 прижата к уступу 13 ступенчатого отверстия фиксатором 7, ввинченным, в свою очередь, в резьбовую часть 10 ступенчатого отверстия, при этом в винте 6 и фиксаторе 7 выполнены сквозные осевые отверстия 14 и 15, а на резьбовой части винта с заглублением 16 в глухое отверстие 9 кронштейна 5 выполнена наружная проточка 17 с, как минимум, одним радиальным отверстием 18, в фиксаторе же проточка 19 выполнена как продолжение головки 12 винта 6, а на нижнем торце фиксатора выполнена, как минимум, одна радиальная канавка 20, и при всем при этом полость, образованная отверстиями 14, 15 и 18, канавками 20 и проточками 17 и 19, заполнена самоотверждаемой литьевой композицией 21, например эпоксидным компаундом, причем уровень 22 верхнего торца фиксатора 7 и уровень 23 композиции 21 не превышает уровня контрольной плоскости 24 контрольной площадки 8, диаметр же осевого отверстия 15 фиксатора 7 превышает диаметр отверстия 14 регулировочного винта 6 для доступа, например, к шлицу 25 «под отвертку 26» винта 6.
Как пример конкретного исполнения представлено транспортно-пусковое устройство 1, содержащее пакет параллельных трубчатых направляющих 2, предназначенных для пуска ракет 27, закрепленных в двух опорных диафрагмах 3, нижние грани которых образуют базовую плоскость 4, для установки на прилегающую базовую плоскость стационарной пусковой установки. Контроль параллельности направляющих 2 и базовой плоскости стационарной пусковой установки осуществляется контролем параллельности контрольной плоскости 24 контрольной площадки 8 и прилегающей базовой плоскости пусковой установки. Транспортно-пусковое устройство содержит элементы электрической 28 и механической 29 стыковки с пусковой установкой.
Работает транспортно-пусковое устройство следующим образом. При заряжании транспортно-пусковое устройство 1 устанавливается своей базовой плоскостью 4 на базовую плоскость пусковой установки. При этом допустимые отклонения от параллельности пусковых направляющих труб 2 относительно базовой плоскости пусковой установки измеряют отклонениями от параллельности контрольной плоскости 24 контрольной площадки 8 относительно базовой плоскости пусковой установки. Это возможно благодаря тому, что при изготовлении (сборке) устройства 1 пусковые трубы 2 закрепляют в опорных диафрагмах 3 с допускаемыми отклонениями от параллельности относительно базовой плоскости 4, и контрольная площадка 8 также установлена относительно базовой же плоскости 4 с допускаемыми отклонениями от параллельности, достигнутыми регулировкой и последующим стопорением. Регулировку осуществляют ввинчиванием или вывинчиванием каждого из трех винтов 6 относительно отверстий 9, поднимая или опуская контрольную площадку 8 в каждой из трех точек. Далее выбирают зазоры в соединении, прижимая головку 12 винта 6 к уступу 13 завинчиванием фиксатора 7, не допуская взаимных деформаций элементов. Для стопорения соединений в полость отверстий 14 и 15 заливают компаунд, который через канавки 20 и отверстия 18 проникает в проточки 19 и 17, заполняя зазоры в резьбовых соединениях. После самоотверждения компаунда неразъемность и надежность соединений сохраняется на весь срок эксплуатации транспортно-пускового устройства.
Использование предлагаемого технического решения позволит создать транспортно-пусковое устройство повышенной точности наведения. В связи с этим новое техническое решение затребовано промышленностью, что соответствует и критерию «промышленная применимость», т.е. уровню изобретения.
Формула изобретения
1. Транспортно-пусковое устройство, содержащее, как минимум, одну направляющую, опорные диафрагмы с базовой плоскостью и кронштейн, закрепленный на одной из диафрагм, на котором с помощью регулировочных винтов и фиксаторов параллельно базовой плоскости установлена контрольная площадка, отличающееся тем, что каждый из, как минимум, трех регулировочных винтов ввинчен в глухое отверстие кронштейна, соосно которому в контрольной площадке выполнено ступенчатое отверстие с верхней резьбовой частью, а нижней – без резьбы и меньшего диаметра, головка винта прижата к уступу ступенчатого отверстия фиксатором, ввинченным, в свою очередь, в резьбовую часть ступенчатого отверстия, при этом в винте и фиксаторе выполнены сквозные осевые отверстия, а на резьбовой части винта с заглублением в глухое отверстие кронштейна выполнена наружная проточка с, как минимум, одним радиальным отверстием, в фиксаторе же проточка выполнена как продолжение головки винта, а на нижнем торце фиксатора выполнена, как минимум, одна радиальная канавка, при этом полость, образованная отверстиями, канавками и проточками, заполнена самоотверждаемой литьевой композицией, например эпоксидным компаундом, причем уровень верхнего торца фиксатора и уровень композиции не превышают уровня контрольной плоскости контрольной площадки.
2. Транспортно-пусковое устройство по п.1, отличающееся тем, что диаметр осевого отверстия фиксатора превышает диаметр отверстия регулировочного винта для доступа, например, к шлицу «под отвертку» винта.
РИСУНКИ
|
|