|
|
(21), (22) Заявка: 2004136365/06, 14.12.2004
(24) Дата начала отсчета срока действия патента:
14.12.2004
(45) Опубликовано: 10.05.2006
(56) Список документов, цитированных в отчете о поиске:
RU 2106889 C1, 20.03.1998. RU 2077006 C1, 10.04.1997. RU 2008584 C1, 28.02.1994. EP 0240793 A2, 14.10.1987.
Адрес для переписки:
302020, г.Орел, Наугорское ш., 29, ОрелГТУ
|
(72) Автор(ы):
Емельянов Александр Александрович (RU), Емельянов Константин Александрович (RU), Морозов Яков Анатольевич (RU)
(73) Патентообладатель(и):
Государственное образовательное учреждение высшего профессионального образования “Орловский государственный технический университет” (ОрелГТУ) (RU)
|
(54) УСТРОЙСТВО ДЛЯ УДАЛЕНИЯ ВЛАГИ В ВАКУУМЕ
(57) Реферат:
Изобретение относится к аппаратам пищевой промышленности, а именно к оборудованию дня концентрирования жидких и получения сухих пищевых продуктов путем их выпаривания и сушки в вакууме, и может быть применено в условиях малых предприятий, фермерских хозяйств, лишенных пароснабжения. Устройство для удаления влаги в вакууме включает камеру испарителя с водяной рубашкой, электронагревателем и терморегулятором, конденсатор, сборник конденсата и насос, причем камера испарителя установлена в ячейку, выполненную с возможностью поворота вокруг горизонтальной оси и вращения вокруг оси симметрии и оснащенную приводом колебательного движения под углом 180° вокруг оси симметрии, и снабжена рабочими телами из инертного металла в форме шаров диаметром 20-30 мм. Изобретение должно обеспечить повышение эффективности устройства за счет расширения сферы его применения. 1 ил.
Изобретение относится к аппаратам пищевой промышленности, а именно к оборудованию для концентрирования жидких и получения сухих пищевых продуктов путем их выпаривания и сушки в вакууме, и может быть применено в условиях малых предприятий, фермерских хозяйств, лишенных пароснабжения.
Известно устройство для удаления влаги, содержащее камеру испарения, конденсатор и вакуумный насос с вентилем, герметично соединенные между собой трубопроводом [1]. Однако данное устройство не позволяет достигать требуемого качества высушенного продукта при получении порошкообразных сухих веществ, что обусловлено пригоранием высушиваемого сырья к стенкам камеры испарителя.
Наиболее близким техническим решением, выбранным в качестве прототипа, является устройство для концентрирования жидких пищевых продуктов путем их выпаривания в вакууме [2]. Оно включает камеру испарителя с водяной рубашкой, электронагревателем и терморегулятором, конденсатор, сборник конденсата и насос,
Однако это устройство предназначено для концентрирования жидких пищевых продуктов путем их выпаривания в вакууме и неприменимо для получения сухих продуктов.
Задача, на решение которой направлено изобретение, состоит в увеличении эффективности устройства за счет расширения сферы его применения на сушку пищевых продуктов в вакууме.
Это достигается тем, что в известном устройстве для удаления влаги в вакууме, включающем камеру испарителя с водяной рубашкой, электронагревателем и терморегулятором, конденсатор, сборник конденсата и насос, камера испарителя установлена в ячейку, выполненную с возможностью поворота вокруг горизонтальной оси и вращения вокруг оси симметрии и оснащенную приводом колебательного движения под углом 180° вокруг оси симметрии, и снабжена рабочими телами из инертного металла в форме шаров диаметром 20-30 мм.
Установка камеры испарителя в ячейку, выполненную с возможностью поворота вокруг горизонтальной оси и вращения вокруг оси симметрии, обеспечивает наклон оси симметрии камеры по мере удаления влаги до горизонтального положения и последующее колебательное движение камеры вокруг оси симметрии, необходимое для перемешивания высушиваемого продукта и устранения пригорания сырья к стенкам камеры.
Привод колебательного движения под углом 180° вокруг оси симметрии обеспечивает механизацию процесса перемешивания высушиваемого продукта. Необходимость колебательного движения под углом 180° вокруг оси симметрии обусловлена тем, что подвижная камера испарителя соединена паропроводом с неподвижным конденсатором.
Введение в камеру испарителя рабочих тел из инертного металла в форме шаров диаметром 20-30 мм обеспечивает устранение прилипания и пригорания высушиваемого продукта на стенках камеры и получение в результате колебательного движения камеры и перекатывания в ней рабочих тел сухого порошкообразного продукта по окончании процесса сушки.
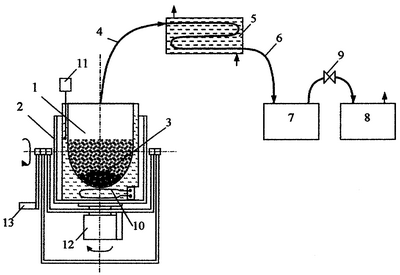
На чертеже изображена схема устройства для удаления влаги в вакууме, подготовленного к работе, где 1 – камера испарителя; 2 – ячейка, имеющая две оси вращения; 3 – рабочие тела; 4 – паропровод; 5 – конденсатор; 6 – трубопровод; 7 – сборник конденсата; 8 – насос; 9 – вентиль; 10 – электронагреватель; 11 – терморегулятор; 12 – привод колебательного движения; 13 – рукоятка.
Устройство работает следующим образом.
Камеру испарителя 1 помещают в ячейку 2, загружают в нее рабочие тела 3 и высушиваемый материал и соединяют ее паропроводом 4 с конденсатором 5. Конденсатор соединяют трубопроводом 6 со сборником конденсата 7. Вакуумный насос 8 подсоединяют через вентиль 9 к сборнику конденсата и создают разрежение в системе 0,1-10 Па.
Электронагревателем 10 повышают температуру в камере испарителя, которую поддерживают на уровне 30-50°С с помощью терморегулятора 11. Через конденсатор пропускают охлаждающую жидкость. По мере удаления влаги ось испарителя наклоняют с помощью рукоятки 13 до горизонтального положения, затем испаритель приводят в колебательное движение вокруг оси симметрии с помощью привода 12, вращающего ячейку на пол-оборота в разные стороны. В установившемся режиме вакуумный насос отключают, предварительно перекрыв вентиль.
Испытания проведены на животной желчи. Камера испарителя объемом 40 л, конденсатор и рабочие тела, загружаемые в испаритель, были изготовлены из пищевой нержавеющей стали. Вакуум в системе поддерживали в диапазоне 0,1-10 Па с помощью форвакуумного масляного механического насоса. Температуру охлаждающей воды в конденсаторе поддерживали равной 10°С. Исполнительный механизм осуществлял вращение камеры испарителя на 180°С с частотой 6 колебаний в минуту. Скорость удаления выпариваемой влаги составила 3 кг/час, выход сушеного продукта 16%.
Данное устройство позволяет повысить эффективность известного устройства за счет расширения сферы его применения на сушку пищевых продуктов в вакууме.
Источники информации
1. Патент RU 2008584, кл. F 26 B 5/04, 1994.
2. Патент RU 2106889, кл. B 01 D 3/10, 1/00, 1995 (прототип).
Формула изобретения
Устройство для удаления влаги в вакууме, включающее камеру испарителя с водяной рубашкой, электронагревателем и терморегулятором, конденсатор, сборник конденсата и насос, отличающееся тем, что камера испарителя установлена в ячейку, выполненную с возможностью поворота вокруг горизонтальной оси и вращения вокруг оси симметрии и оснащенную приводом колебательного движения под углом 180° вокруг оси симметрии, и снабжена рабочими телами из инертного металла в форме шаров диаметром 20-30 мм.
РИСУНКИ
MM4A – Досрочное прекращение действия патента СССР или патента Российской Федерации на изобретение из-за неуплаты в установленный срок пошлины за поддержание патента в силе
Дата прекращения действия патента: 15.12.2006
Извещение опубликовано: 10.09.2008 БИ: 25/2008
|
|