|
|
(21), (22) Заявка: 2004114830/06, 14.05.2004
(24) Дата начала отсчета срока действия патента:
14.05.2004
(43) Дата публикации заявки: 10.12.2005
(45) Опубликовано: 10.05.2006
(56) Список документов, цитированных в отчете о поиске:
SU 1333983 A1, 30.08.1987. SU 1558311 A3, 15.04.1990. RU 2167370 C2, 20.05.2005. US 6308526 A, 30.10.2001. US 5709100 A, 20.01.1998.
Адрес для переписки:
129010, Москва, ул. Б.Спасская, 25, стр.3, ООО “Юридическая фирма Городисский и Партнеры”, пат.пов. С.А. Дорофееву
|
(72) Автор(ы):
ПФАННЕНБЕРГ Андреас (DE)
(73) Патентообладатель(и):
ПФАННЕНБЕРГ ГМБХ (DE)
|
(54) СИСТЕМА КОНДИЦИОНИРОВАНИЯ ВОЗДУХА, В ЧАСТНОСТИ ДЛЯ ШКАФОВ РАСПРЕДЕЛИТЕЛЬНЫХ УСТРОЙСТВ
(57) Реферат:
Система предназначена для кондиционирования воздуха, в частности для шкафов распределительных устройств. Система содержит шкаф для распределительных устройств с охлаждающим устройством, причем посредством воздуходувки имеется возможность всасывания теплого воздуха из внутреннего пространства шкафа для распределительных устройств и подачи на испаритель, из которого холодный воздух может направляться во внутреннее пространство шкафа для распределительных устройств, причем под испарителем расположен конденсатор, на который может подаваться приточный воздух из окружающей среды, и при этом протяженность линий подачи холодного воздуха во внутреннее пространство шкафа для распределительных устройств может быть неизменной или варьироваться, при этом охлаждающее устройство состоит из верхней несущей пластины, нижней несущей пластины и закрывающего обе несущие пластины коробчатого защитного корпуса капотного типа, причем система кондиционирования воздуха содержит несколько расположенных в плоскости воздуходувки испарителей, причем конденсатор расположен под испарителями таким образом, что расположенные на расстоянии друг от друга испарители одним участком или своими передними областями расположены над конденсатором, так что поступающий из испарителей в расположенных над конденсатором областях конденсат капает на конденсатор и испаряется, причем в образованной верхней несущей пластиной камере и в образованной нижней несущей пластиной камере в соединении с защитным корпусом капотного типа поддерживаются примерно одинаковые соотношения давлений. Технический результат – повышение надежности. 12 з.п. ф-лы, 8 ил.
Изобретение относится к системе кондиционирования воздуха для шкафов, в которых размещаются системы управления и автоматизации, а также для схемотехники, в частности шкафов распределительных устройств (РУ) с охлаждающим устройством.
Для расположенных в корпусе и вырабатывающих соответствующее тепло монтажных элементов необходимо отводить из корпуса отходящее тепло и контролировать в корпусе температуру за счет более или менее сильного вдувания или вытяжки обходного воздуха во внутреннее пространство корпуса при помощи вентилятора. Известно, что подобного рода корпуса снабжены вентилятором с фильтром, который либо работает постоянно, либо включается и выключается управляющим элементом в зависимости от температуры в корпусе. Вентилятор с фильтром расположен в выемке стены корпуса шкафа РУ и закреплен, например, при помощи винтового соединения. Одновременно в другом месте корпуса предусмотрена для отвода воздуха соответствующая воздухоотводная щель.
Кроме того, известно, что шкафы РУ снабжены охлаждающими устройствами, которые расположены с наружной или внутренней стороны шкафа РУ. При помощи этого охлаждающего устройства отсасываемый из внутреннего пространства шкафа РУ теплый воздух проходит через холодильный агрегат и полученный таким образом холодный воздух вновь направляется во внутреннее пространство шкафа РУ.
Задачей настоящего изобретения является создание системы кондиционирования воздуха с охлаждающим устройством вышеназванного типа, который может использоваться, в частности в шкафах РУ, в виде кондиционера, размещенного снаружи, установленного внутри или цокольного кондиционера, при этом образующийся конденсат направляется на испарение. В дополнение к этому охлаждающее устройство должно иметь минимальные габариты и, кроме того, должно иметь возможность приспособления к любой ширине шкафа РУ.
Эта задача решается за счет системы кондиционирования воздуха по пункту 1 и по пункту 2 формулы изобретения.
Система кондиционирования воздуха согласно изобретению, в частности для шкафов РУ, заключается в том, что теплый воздух при помощи воздуходувки всасывается из внутреннего пространства шкафа РУ и подается на один или несколько, предпочтительно два, расположенных предпочтительно в плоскости воздуходувки, испарителя, из которых холодный воздух направляется во внутреннее пространство шкафа РУ, при этом под испарителями расположен конденсатор таким образом, что испарители одним участком находятся над конденсатором, так что поступающий из испарителей конденсат капает на конденсатор и испаряется, причем на конденсатор подается приточный воздух из окружающей среды, и при этом протяженность линий подачи холодного воздуха во внутреннее пространство шкафа РУ можно изменять.
Охлаждающее устройство согласно изобретению для этой системы кондиционирования воздуха состоит из верхней несущей пластины, нижней несущей пластины и закрывающего обе несущие пластины коробчатого защитного корпуса типа капота. На верхней несущей пластине, имеющей по центру или сдвинутый относительно центра проем, в области этого проема установлена воздуходувка, например центробежный вентилятор, а по обеим сторонам воздуходувки на расстоянии друг от друга установлено соответственно по одному испарителю. Нижняя несущая пластина снабжена расположенным по центру или сдвинутым относительно центра, вводимым в проем в верхней несущей пластине и сообщающимся с внутренним пространством шкафа РУ подводящим патрубком для подачи теплого воздуха из внутреннего пространства шкафа РУ на оба испарителя. Кроме того, нижняя несущая пластина несет на себе конденсатор, взаимодействующий с вентилятором, например осевым вентилятором, который установлен на предусмотренной на нижней несущей пластине задней стенке, при этом конденсатор расположен поперечно обоим испарителям. Кроме того, на конденсатор подается и отводится от него при помощи вентилятора приточный воздух из окружающей среды. Верхняя несущая пластина установлена над нижней несущей пластиной таким образом, что оба испарителя для испарения конденсата своими обеими передними областями расположены поверх конденсатора, при этом верхняя несущая пластина рассчитана относительно нижней несущей пластины таким образом, что передние области обоих испарителей расположены над конденсатором. Обе расположенные одна над другой несущие пластины закрыты защитным корпусом капотного типа, который своими краями со стороны основания опирается на нижнюю несущую пластину. Для подачи холодного воздуха во внутреннее пространство шкафа РУ предусмотрены щели для прохода воздуха в обращенных к обоим испарителям стенках защитного корпуса капотного типа или щели для прохода воздуха предусмотрены в нижней несущей пластине рядом с торцами конденсатора. Подача холодного воздуха во внутреннее пространство шкафа РУ может осуществляться в зависимости от расположения охлаждающего устройства непосредственно или через подводящие трубопроводы.
За счет установки и взаимного расположения обоих испарителей для конденсации в двух различных горизонтальных плоскостях достигается не только компактная конструкция, но и одновременно испарение образующегося конденсата достигается за счет того, что произведенный испарителями конденсат подается непосредственно на нагретый конденсатор, там испаряется или при высоком образовании конденсата дополнительно может осуществляться отвод неиспарившегося конденсата через перепускное устройство или в сборник. За счет того, что протяженность линий подачи холодного воздуха от испарителей во внутреннее пространство шкафа РУ может изменяться, при использовании охлаждающего устройства в виде расположенного сверху аппарата возможна его подгонка на любую ширину шкафа РУ. Техническое решение состоит в том, что линии подачи холодного воздуха выполнены в виде воздухозаборных кожухов, которые вводятся в проемы в верхней несущей пластине шкафа РУ, при этом выполненные в виде воздухозаборника или кожуха трубопроводы подачи холодного воздуха имеют возможность изменения своей длины. Стекание конденсата происходит из вышележащих испарителей на конденсатор, при этом последний орошается конденсатом. Благодаря регулированию соотношения давлений обеспечивается контролируемое отсечение конденсата от внутреннего контура и достигается минимизация притока из окружающей среды в шкаф РУ. Наряду с использованием охлаждающего устройства в виде аппарата, установленного сверху на шкафу РУ, охлаждающее устройство может монтироваться во внутреннем пространстве шкафа РУ. В таком случае охлаждающее устройство выполнено предпочтительно в виде вдвижного модуля, так что имеется возможность во внутреннем пространстве шкафа РУ, а именно в зависимости от соответствующего объема внутреннего пространства установить одно или несколько охлаждающих устройств, а именно в желательных местах между расположенными в шкафу РУ отдельными модулями.
Предпочтительные варианты осуществления изобретения составляют предмет зависимых пунктов формулы изобретения.
Соответствующая изобретению система кондиционирования воздуха поясняется в виде примера на основании охлаждающего устройства, представленного на чертежах, где показано:
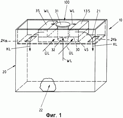
Фиг.1 – схематический вид расположенного на шкафу РУ охлаждающего устройства,
Фиг.2 – схематический вид охлаждающего устройства с различными потоками воздуха,
Фиг.3 – вид сверху на охлаждающее устройство,
Фиг.4 – схематическое подетальное изображение охлаждающего устройства с несущими пластинами, на которых установлены испарители и конденсатор,
Фиг.5 – схематическое подетальное изображение охлаждающего устройства на виде снизу,
Фиг.6 – схематическое подетальное изображение охлаждающего устройства, со снятым защитным корпусом капотного типа на виде сбоку,
Фиг.7 – схематическое подетальное изображение охлаждающего устройства, со снятым защитным корпусом капотного типа на виде сзади,
Фиг.8А и 8В – схематическое изображение установленного сверху на шкафу РУ охлаждающего устройства с трубопроводами для подачи холодного воздуха в виде воздухозаборников различной величины.
Соответствующая изобретению система кондиционирования воздуха 10 включает в себя охлаждающее устройство 100 в соответствии с представленным на фиг.1-3, а также на фиг.4 вариантом осуществления. Как показано на фиг.1, охлаждающее устройство 100 расположено на верхней закрывающей пластине 21 шкафа РУ. Внутреннее пространство шкафа РУ обозначено позицией 22.
Охлаждающее устройство 100 состоит из двух расположенных одна над другой и на расстоянии друг от друга несущих пластин 30, 40, которые закрыты или заключены в защитный корпус 50 капотного типа. Защитный корпус 50 капотного типа выполнен примерно коробчатым и имеет, согласно предпочтительному варианту осуществления по фиг.4 и 5, две расположенные одна напротив другой боковые стенки 51, 52 и переднюю стенку 53 с проемом 53а. С верхней стороны защитный корпус 50 закрыт верхней закрывающей пластиной 54. Нижними кромками/краями 55 боковых стенок защитный корпус 50 опирается на нижнюю несущую пластину 40. В противолежащих боковых стенках 51, 52 защитного корпуса 50 выполнены щели 56, 56а для прохода воздуха. Задняя стенка защитного корпуса 50 образована предусмотренной на нижней несущей пластине 40 задней стенкой 40а, так что получается закрытый коробчатый корпус, в котором размещается охлаждающее устройство 100.
Верхняя несущая пластина 30 (фиг.1, 4 и 5) снабжена находящимся по центру проемом 32, который может быть также смещен относительно центра. На верхней несущей пластине 30 в области этого проема 32 установлена воздуходувка 31, например в виде центробежного вентилятора. По обеим сторонам воздуходувки 31 на верхней несущей пластине 30 расположены на расстоянии друг от друга соответственно по одному испарителю 35, 135, на которые из внутреннего пространства 22 шкафа 20 РУ посредством воздуходувки 31 подается теплый воздух WL. Количество расположенных на верхней несущей пластине 30 испарителей 35, 135 не ограничено лишь двумя испарителями. Имеется также возможность использовать только один единственный испаритель или расположить группами с обеих сторон воздуходувки 31 несколько испарителей (фиг.1). Щели 56, 56а для прохода воздуха в боковых стенках 51, 52 защитного корпуса 50 предусмотрены в области обоих испарителей 35, 135, так что холодный воздух KL может протекать от испарителей 35, 135 непосредственно через щели 56, 56а для прохода воздуха, чтобы подавать его во внутреннее пространство 22 шкафа 20 РУ (фиг.8А, 8В). Подача холодного воздуха KL от обоих испарителей 35, 135 во внутреннее пространство 22 шкафа 20 РУ осуществляется через предусмотренные в верхней закрывающей пластине 21 шкафа 20 РУ щелевые отверстия или проемы 21а, 21b (фиг.1).
Ниже изобретение описано в качестве варианта осуществления с охлаждающим устройством 100 и двумя испарителями 35, 135.
Нижняя несущая пластина 40 снабжена находящимся по центру или смещенным относительно центра проемом 42а, в который вводится направляемый вертикально подводящий патрубок 42 (фиг.4 и 5). Этот подводящий патрубок 42 вводится своим свободным концом в проем 32 в верхней несущей пластине 30 так, что через подводящий патрубок 42 внутреннее пространство 22 шкафа 20 РУ сообщается с внутренним пространством, ограниченным или образованным верхней несущей пластиной 30 с ее двумя испарителями 35, 135, так что теплый воздух WL подается в область всасывания вентилятора 31 испарителя и через него на оба испарителя 35, 135. Из внутреннего пространства 22 шкафа 20 РУ теплый воздух WL посредством воздуходувки 31 засасывается и подается на оба испарителя 35, 135.
Далее нижняя несущая пластина 40 несет на себе конденсатор 45, связанный с приданным ему вентилятором 41 конденсатора, выполненным, например, в виде осевого вентилятора, так что посредством этого вентилятора 41 конденсатора приточный воздух UL из окружающей среды подается на конденсатор 45 и вновь отводится от него. Направление течения подаваемого на конденсатор 45 приточного воздуха UL из окружающей среды обозначено на фиг.1 и 2 стрелками. Вентилятор 41 конденсатора расположен в задней стенке 40а нижней несущей пластины 40 (фиг.4). Таким образом имеется возможность всасывать сзади или выбрасывать назад (контур конденсатора) приточный воздух UL из окружающей среды.
Конденсатор 45 на нижней несущей пластине 40 расположен поперек относительно обоих испарителей 35, 135 на верхней несущей пластине 30.
Как, в частности, показано на фиг.4 и 5, верхняя несущая пластина 30 расположена над нижней несущей пластиной 40 таким образом, что оба испарителя 35, 135 для испарения конденсата помещаются своими обеими передними областями 35а, 135а над конденсатором 45. Предпочтительно размеры верхней несущей пластины 30 рассчитаны относительно нижней несущей пластины 40 таким образом, что передние области 35а, 135а обоих испарителей 35, 135 расположены над конденсатором 45 (фиг.2 и 3).
Подвод холодного воздуха KL с обоих испарителей 35, 135 во внутреннее пространство 22 шкафа 20 РУ осуществляется, в представленном на фиг.1 варианте осуществления, через щели 56, 56а для прохода воздуха в обращенных к обоим испарителям 35, 135 стенках 51, 52 защитного корпуса 50.
Другой вариант осуществления по фиг.4 предусматривает, что холодный воздух KL подается во внутреннее пространство 22 шкафа 20 РУ через предусмотренные в нижней несущей пластине 40 рядом с торцами 45а, 45b конденсатора 45 щели 46, 46а для прохода воздуха. Щели 46, 46а для прохода воздуха в нижней несущей пластине 40 выполнены таким образом, что конденсатор 45 имеет меньшую длину относительно длины нижней несущей пластины 40, так что образуются участки пластины, в которых могут быть предусмотрены щели 46, 46а для прохода воздуха. Как показано на фиг.4, в области щелей 46, 46а для прохода воздуха на нижней несущей пластине 40 предусмотрены боковые стенки 47, 47а, образующие вместе с передней областью конденсатора 45 внутреннее пространство, которое закрывается верхней несущей пластиной 30, установленной на нижнюю несущую пластину. В таком случае охлаждающее устройство 100 расположено на верхней закрывающей пластине 21 шкафа 20 РУ таким образом, что щели 56, 56а для прохода воздуха в нижней несущей пластине 40 соотносятся с соответствующими отверстиями или проемами 21а, 21b в верхней закрывающей пластине 21 шкафа 20 РУ.
Защитный корпус 50 охватывает обе расположенные одна над другой несущие пластины 30, 40 таким образом, что проем 53а в передней стенке 53 защитного корпуса 50 капотного типа расположен в области конденсатора 45, так что приточный воздух UL из окружающей среды может подаваться на конденсатор 45 (фиг.6).
Предпочтительно в образованной верхней несущей пластиной 30 камере 130 и в образованной нижней несущей пластиной 40 камере 140 поддерживаются примерно одинаковые соотношения давлений. Это осуществляется за счет соответствующей регулировки воздуходувки 31 и вентилятора 41 конденсатора. На дне конденсатора 45, согласно другому варианту осуществления, предусмотрен не представленный на чертеже сборник конденсата со спускным желобом. Конденсат с обоих испарителей 35, 135 собирается и направляется вперед на конденсатор 45, где конденсат может испаряться. Происходит согласование соотношения давлений в пространстве испарителей и в пространстве конденсатора.
Камера 130 на верхней несущей пластине 30 образована обоими испарителями 35, 135, верхним участком 53b, передней стенкой 53 защитного корпуса 50 и расположенной с задней стороны несущей пластины 30 задней стенкой 30b. Камера 140 на нижней несущей пластине 40 образована передним конденсатором 45, соединенными с несущей пластиной 40 боковыми стенками 47, 47а и задней стенкой 40а несущей пластины или перегородкой 40b (фиг.4 и 6), вследствие чего задняя стенка 40а несущей пластины проходит через обе камеры 130, 140, то есть высота задней стенки 40а несущей пластины соответствует высоте обеих расположенных одна над другой камер 130, 140.
Охлаждающее устройство 100, как показано на фиг.1, 8A и 8B, выполнено в виде аппарата 100а, расположенного сверху на шкафу РУ, при этом верхняя закрывающая пластина 21 корпуса 20 шкафа РУ снабжена соответствующим количеством отверстий для присоединения подводящего патрубка 42 для теплого воздуха и для подачи холодного воздуха во внутреннее пространство 22 шкафа 20 РУ.
Как показано на фиг.8A и 8B, проемы или щели 56, 56а для прохода холодного воздуха KL, предусмотренные в противолежащих боковых стенках 51, 52 для обеих несущих пластин 30, 40, снабжены расположенными на защитном корпусе 50 боковыми подводящими каналами 60, 60а холодного воздуха в виде воздухозаборников, имеющими на своих концах наклонные участки 60а, 61а каналов, которые вводятся в отверстия в верхней закрывающей пластине 21 корпуса шкафа РУ. Эти подводящие каналы 60, 61 холодного воздуха выполнены с возможностью изменения их длины, так что могут быть использованы для любой ширины шкафа РУ.
Согласно изобретению, как показано на фиг.4, система кондиционирования воздуха в соединении с охлаждающим устройством 100 выполнена таким образом, что теплый воздух WL всасывается из внутреннего пространства 22 шкафа 20 РУ посредством воздуходувки 31 и подается по меньшей мере на два, расположенных предпочтительно в плоскости воздуходувки 31, испарителя 35, 135. С этих испарителей 35, 135 холодный воздух KL направляется во внутреннее пространство 22 шкафа 20 РУ. Ниже под испарителями 35, 135 расположен конденсатор 45 таким образом, что испарители 35, 135 одним своим участком или своими передними областями 35а, 135а расположены над конденсатором, так что поступающий с испарителей 35, 135 конденсат К капает на конденсатор 45 и испаряется. На конденсатор 45 подается приточный воздух UL из окружающей среды, при этом протяженность линий подачи холодного воздуха во внутреннее пространство 22 шкафа 20 РУ может изменяться. Подача теплого воздуха WL, холодного воздуха KL, приточного воздуха UL из окружающей среды и конденсата К на фиг.4 обозначена стрелками.
Соответствующая изобретению система кондиционирования воздуха с ее охлаждающим устройством 100 применяется повсеместно там, где из внутреннего пространства, в котором монтажные элементы вырабатывают тепло, тепло необходимо отводить и подавать холодный воздух.
Охлаждающее устройство 100 может помещаться во внутреннем пространстве шкафа 20 РУ, использоваться в виде аппарата, расположенного снаружи на шкафу РУ 20, применяться в виде вдвижного аппарата во внутрь шкафа 20 РУ и в виде цокольного аппарата, установленного в донной области шкафа (20) для распределительных устройств; предпочтительно охлаждающее устройство 100 представляет собой плоскую конструкцию.
Формула изобретения
1. Система кондиционирования воздуха для шкафов, в которых размещаются системы управления и автоматизации, а также для схемотехники, в частности шкафов для распределительных устройств с охлаждающим устройством, причем посредством воздуходувки (31) имеется возможность всасывания теплого воздуха (WL) из внутреннего пространства (22) шкафа (20) для распределительных устройств и подачи на испаритель (35, 135), из которого холодный воздух (KL) может направляться во внутреннее пространство (22) шкафа (20) для распределительных устройств, причем под испарителем (35, 135) расположен конденсатор (45), на который может подаваться приточный воздух (UL) из окружающей среды, и при этом протяженность линий подачи холодного воздуха во внутреннее пространство (22) шкафа (20) для распределительных устройств может быть неизменной или варьироваться, отличающаяся тем, что охлаждающее устройство (100) состоит из верхней несущей пластины (30), нижней несущей пластины (40) и закрывающего обе несущие пластины (30, 40) коробчатого защитного корпуса (50) капотного типа, причем система кондиционирования воздуха содержит несколько расположенных в плоскости воздуходувки (31) испарителей (35, 135), причем конденсатор (45) расположен под испарителями (35, 135) таким образом, что расположенные на расстоянии друг от друга испарители (35, 135) одним участком или своими передними областями (35а, 135а) расположены над конденсатором (45), так что поступающий из испарителей в расположенных над конденсатором (45) областях (35а, 135а) конденсат (К) капает на конденсатор (45) и испаряется, причем в образованной верхней несущей пластиной (30) камере (130) и в образованной нижней несущей пластиной (40) камере (140) в соединении с защитным корпусом (50) капотного типа поддерживаются примерно одинаковые соотношения давлений.
2. Система кондиционирования воздуха по п.1, отличающаяся тем, что на верхней несущей пластине (30), имеющей по центру или сдвинутый относительно центра проем (32), установлена в области этого проема (32) воздуходувка (31), например, в виде центробежного вентилятора, а по обеим сторонам воздуходувки (31) на расстоянии друг от друга установлено соответственно по одному испарителю (35, 135), нижняя несущая пластина (40) снабжена расположенным по центру или сдвинутым относительно центра, вводимым в проем (32) в верхней несущей пластине (30) и сообщающимся с внутренним пространством (22) шкафа (20) для распределительных устройств подводящим патрубком (42) для подачи теплого воздуха (WL) из внутреннего пространства (22) шкафа (20) для распределительных устройств на оба испарителя (35, 135) и несет на себе конденсатор (45), согласованный с вентилятором (41) конденсатора, например осевым вентилятором, установленным на задней стенке (40а), которая предусмотрена на нижней несущей пластине (40), и расположенный поперек обоих испарителей (35, 135) с возможностью подачи на него и отвода от него при помощи вентилятора (41) конденсатора приточного воздуха (UL) из окружающей среды, верхняя несущая пластина (30) установлена над нижней несущей пластиной (40) таким образом, что оба испарителя (35, 135) для испарения конденсата своими обеими передними областями (35а, 135а) расположены над конденсатором (45), при этом размеры верхней несущей пластины (30) выбраны относительно нижней несущей пластины (40) таким образом, что передние области (35а, 135а) обоих испарителей (35, 135) расположены над конденсатором (45), обе расположенные одна над другой несущие пластины (30, 40) закрыты защитным корпусом (50) капотного типа, который нижними краями (55) своих боковых сторон опирается на нижнюю несущую пластину (40), для подачи холодного воздуха (KL) во внутреннее пространство (22) шкафа (20) для распределительных устройств предусмотрены щели (56, 56а) для прохода воздуха в обращенных к обоим испарителям (35, 135) стенках (51, 52) защитного корпуса (50) капотного типа или щели (46, 46а) для прохода воздуха в нижней несущей пластине (40) рядом с торцами (45а, 45b) конденсатора (45), причем щели (56, 56а) для прохода воздуха в боковых стенках (51, 52) защитного корпуса (50) капотного типа предусмотрены в области обоих испарителей (35, 135) таким образом, что холодный воздух (KL) имеет возможность протекания от испарителей (35, 135) непосредственно через щели (56, 56а) для прохода воздуха, чтобы попадать во внутреннее пространство (22) шкафа (20) для распределительных устройств.
3. Система кондиционирования воздуха по п.1, отличающаяся тем, что камера (130) на верхней несущей пластине (30) образована обоими испарителями (35, 135), верхним участком (53b), передней стенкой (53) защитного корпуса (50) капотного типа и расположенной с задней стороны несущей пластины (30) задней стенкой (30b), а камера (140) на нижней несущей пластине (40) образована передним конденсатором (45), боковыми соединенными с нижней несущей пластиной (40) стенками (47, 47а) и задней стенкой (40а) несущей пластины или перегородкой (40b), причем задняя стенка (40а) несущей пластины проходит через обе камеры (130, 140), так что высота задней стенки (40а) несущей пластины соответствует высоте обеих расположенных одна над другой камер (130, 140).
4. Система кондиционирования воздуха по п.1, отличающаяся тем, что подача холодного воздуха (KL) с обоих испарителей (35, 135) во внутреннее пространство (22) шкафа (20) для распределительных устройств осуществляется через предусмотренные в верхней закрывающей пластине (21) шкафа (20) для распределительных устройств щелевые отверстия или проемы (21a, 21b).
5. Система кондиционирования воздуха по п.1, отличающаяся тем, что охлаждающее устройство (100) на дне конденсатора (45) имеет сборник конденсата со спускным желобом.
6. Система кондиционирования воздуха по п.1, отличающаяся тем, что конденсат с обоих испарителей (35, 135) собирается и направляется вперед на конденсатор (45).
7. Система кондиционирования воздуха по п.1, отличающаяся тем, что охлаждающее устройство (100) выполнено в виде аппарата (100а), расположенного сверху на шкафу для распределительных устройств, при этом верхняя закрывающая пластина (21) корпуса (20) шкафа для распределительных устройств снабжена отверстиями для присоединения подводящего патрубка (42) для подачи теплого воздуха и для подачи холодного воздуха во внутреннее пространство (22) шкафа (20) для распределительных устройств.
8. Система кондиционирования воздуха по п.7, отличающаяся тем, что проемы (56, 56а) для прохода холодного воздуха (KL), предусмотренные в противолежащих боковых стенках (51, 52) защитного корпуса (50) капотного типа для обеих несущих пластин (30, 40), снабжены боковыми подводящими каналами (60, 60а) холодного воздуха в виде воздухозаборников, имеющими на своих концах наклонные участки каналов (60а, 61а), которые вводятся в отверстия в верхней закрывающей пластине (21) корпуса (20) шкафа для распределительных устройств.
9. Система кондиционирования воздуха по п.8, отличающаяся тем, что подающие каналы (60, 61) холодного воздуха выполнены с возможностью изменения их длины.
10. Система кондиционирования воздуха по п.1, отличающаяся тем, что охлаждающее устройство (100) выполнено в виде вдвижного аппарата и установлено во внутреннем пространстве (22) шкафа (20) для распределительных устройств.
11. Система кондиционирования воздуха по п.1, отличающаяся тем, что охлаждающее устройство (100) выполнено в виде аппарата, который установлен на верхней закрывающей пластине (21) шкафа (20) для распределительных устройств.
12. Система кондиционирования воздуха по п.1, отличающаяся тем, что охлаждающее устройство (100) выполнено в виде цокольного аппарата и установлено в донной области шкафа (20) для распределительных устройств.
13. Система кондиционирования воздуха по п.1, отличающаяся тем, что охлаждающее устройство (100) представляет собой плоскую конструкцию.
РИСУНКИ
|
|