|
| На основании пункта 3 статьи 13 Патентного закона Российской Федерации от 23 сентября 1992 г. № 3517-I патентообладатель обязуется передать исключительное право на изобретение (уступить патент) на условиях, соответствующих установившейся практике, лицу, первому изъявившему такое желание и уведомившему об этом патентообладателя и федеральный орган исполнительной власти по интеллектуальной собственности, – гражданину РФ или российскому юридическому лицу. |
|
(21), (22) Заявка: 2004137154/06, 21.12.2004
(24) Дата начала отсчета срока действия патента:
21.12.2004
(45) Опубликовано: 10.05.2006
(56) Список документов, цитированных в отчете о поиске:
RU 2151892 C1, 27.06.2000. RU 2008453 C1, 28.02.1994. RU 2188328 C2, 27.08.2002. US 6332434 A, 25.12.2001. US 6257175 B1, 10.07.2001. US 6119651 A, 19.09.2000.
Адрес для переписки:
129515, Москва, ул. Акад. Королева, 5, кв.234, М.И. Весенгириеву
|
(72) Автор(ы):
Весенгириев Михаил Иванович (RU)
(73) Патентообладатель(и):
Весенгириев Михаил Иванович (RU)
|
(54) ДВУХТАКТНЫЙ ДВИГАТЕЛЬ ВНУТРЕННЕГО СГОРАНИЯ
(57) Реферат:
Изобретение относится к двигателестроению, в частности к двухтактным двигателям внутреннего сгорания. Изобретение позволяет создать экономичный и экологически чистый двухтактный двигатель внутреннего сгорания. Двухтактный двигатель внутреннего сгорания содержит, по меньшей мере, один цилиндр с рубашкой охлаждения, выпускной клапан, свечу зажигания, поршень и головку цилиндра, образующие камеру сгорания, источник водорода и кислорода и форсунку с источником давления подачи водного раствора электролита. Источник водорода и кислорода выполнен в виде электролизера, установленного в камере сгорания. Электролизер установлен с возможностью подводки питания к его электродам от источника постоянного тока, свободного прохода через него в прямом и обратном направлении водного раствора электролита и продуктов рабочего процесса. При протекании постоянного электрического тока через водный раствор электролита происходит разложение воды на водород и кислород. Электролизер выполнен либо из металла с отверстиями, либо из металлической сетки в виде двух цилиндрических электродов-полублоков, своими элементами концентрично и с зазором вписывающимися друг в друга. Источник давления подачи водного раствора электролита выполнен в виде насоса высокого давления. Форсунка выполнена с кавитатором в виде местного сужения ее канала. 3 з.п. ф-лы, 1 ил.
Изобретение относится к области машиностроения, а именно к двигателям внутреннего сгорания, и может быть широко использовано в двигателестроении.
Известен двухтактный двигатель внутреннего сгорания, содержащий устройство клапанно-щелевой продувки, кривошипно-шатунный, газораспределительный механизмы и системы – охлаждения, смазки, питания и зажигания, где в цилиндре двигателя от начала сгорания предыдущей порции заряда до подготовки следующей достаточно одного оборота коленчатого вала или двух ходов поршня. Воздух при этом поступает от источника давления, например от нагнетателя. Для питания используется углеводородное топливо. /Рытвинский Г.Н. Знакомтесь – двигатель. – М.: Машиностроение, 1993/. [1].
Недостатком известного двигателя являются значительные эксплуатационные расходы на углеводородное топливо и высокая токсичность выхлопных газов.
Наиболее близким к предлагаемому изобретению является двигатель внутреннего сгорания, содержащий, по меньшей мере, один цилиндр с рубашкой охлаждения, поршень, впускной, выпускной клапаны, свечу зажигания и головку цилиндра, образующие камеру сгорания, систему подачи нефтяного топлива с воздухом и источник водорода с форсункой его подачи. Форсунка установлена рядом с свечей зажигания и через боковой канал производит подачу порции водорода, чем и зажигает обедненную смесь. /Патент РФ №2151892, F 02 В 43/10, 27.06.2000 г./. [2].
Недостатком ближайшего аналога является сложность конструкции из-за наличия двух видов питания, в том числе и баллонного водорода, высокие эксплуатационные расходы на углеводородное топливо и высокая токсичность выхлопных газов.
Техническая задача, решаемая предлагаемым изобретением, заключается в создании высокоэкономичного и экологически чистого двухтактного двигателя внутреннего сгорания.
Поставленная задача решается тем, что в двухтактном двигателе внутреннего сгорания, содержащем, по меньшей мере, один цилиндр с рубашкой охлаждения, выпускной клапан, свечу зажигания, поршень и головку цилиндра, образующие камеру сгорания, источник водорода и кислорода и форсунку с источником давления подачи водного раствора электролита, согласно изобретению, источник водорода и кислорода выполнен в виде электролизера, с возможностью подводки питания к его электродам от источника постоянного тока, свободного прохода через него в прямом и обратном направлении водного раствора электролита и продуктов рабочего процесса и разложения воды на водород и кислород, при протекании постоянного электрического тока через водный раствор электролита, установленного в камере сгорания. При этом электролизер может быть выполнен либо из металла с отверстиями, либо из металлической сетки в виде двух цилиндрических электродов-полублоков, своими элементами концентрично и с зазором вписывающимися друг в друга. Источник давления подачи водного раствора электролита может быть выполнен в виде насоса высокого давления, например плунжерного. Форсунка может быть выполнена с кавитатором, например, в виде местного сужения ее канала.
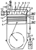
На чертеже, поясняющем изобретение, представлен схематичный разрез предлагаемого двигателя.
Пример выполнения предлагаемого решения.
Двухтактный двигатель внутреннего сгорания содержит, по меньшей мере, один цилиндр 1 с рубашкой охлаждения /не показано/, например жидкостной, выпускной клапан 2, свечу зажигания 3, поршень 4 и головку цилиндра 5, образующие камеру сгорания 6, насос высокого давления 7 и форсунку 8 с кавитатором /не показано/ в виде местного сужения канала, предназначенные для подачи водного раствора электролита в цилиндр. Двигатель содержит источник водорода и кислорода, выполненный в виде электролизера 9, с возможностью подводки питания к его электродам от источника постоянного тока, например, от аккумулятора 10, свободного прохода через него в прямом и обратном направлении водного раствора электролита и продуктов рабочего процесса и разложения воды на водород и кислород, при протекании постоянного электрического тока через водный раствор электролита, установленный в камере сгорания. Причем электролизер выполнен либо из металла с отверстиями, например из никелевого листа, либо из металлической сетки, например из никелевой, в виде двух цилиндрических электродов-полублокав 11 и 12, своими элементами 13 концентрично и с зазором 14 вписывающимися друг в друга. В электролитном баке 15 хранится водный раствор электролита, например водный раствор едкого калия.
Двухтактный двигатель внутреннего сгорания работает следующим образом.
Перед началом работы электролитный бак 15 заправляют водным раствором электролита, например водным раствором едкого калия, и на электролизер 9 подают постоянный ток, например, от аккумулятора 10. Первый такт – образование водородно-кислородной смеси и сжатие. Поршень 4 от НМТ перемещается к ВМТ. Выпускной клапан 2 закрывается. Насос высокого давления 7, например плунжерный, забирает из электролитного бака 15 цикловую дозу водного раствора электролита и через форсунку 8 с кавитатором в виде местного сужения канала впрыскивает ее в цилиндр 1, где в камере сгорания 6 установлен электролизер 9. В кавитаторе форсунки 8 повышается скорость впрыскиваемого водного раствора электролита и падет давление, что приводит к диссоциации воды и тончайшему распыливанию водного раствора электролита. Затем в электролизере 9, через распыленный водный раствор электролита, протекает постоянный электрический ток, подведенный, например, от аккумулятора 10 к электродам-полублокам 11 и 12. Это приводит к электролизу – разложению воды на водород и кислород, и в цилиндре 1 происходит такт сжатия. Второй такт – рабочий ход и выпуск отработавших продуктов. Свеча зажигания 3 электрической искрой поджигает рабочую смесь в камере сгорания 6. Расширяющиеся продукты горения рабочей смеси в прямом и обратном направлении проходят через электроды-полублоки 11 и 12 электролизера 9, выполненные, например, из никелевой сетки. Поршень 4 от ВМТ перемещается к НМТ – происходит рабочий ход. При подходе поршня 4 к НМТ выпускной клапан 2 открывается, и происходит выпуск отработавших продуктов в атмосферу, и циклы повторяются. При этом электролизер 9 охлаждается, например, жидкостной рубашкой охлаждения цилиндра 1 и впрыскиваемой цикловой дозой водного раствора электролита.
Предлагаемый двухтактный двигатель внутреннего сгорания в эксплуатации экономичен и экологически чист. Найдет широкое применение в качестве силовой установки для различных транспортных средств.
Формула изобретения
1. Двухтактный двигатель внутреннего сгорания, содержащий, по меньшей мере, один цилиндр с рубашкой охлаждения, выпускной клапан, свечу зажигания, поршень и головку цилиндра, образующие камеру сгорания, источник водорода и кислорода и форсунку с источником давления подачи водного раствора электролита, отличающийся тем, что источник водорода и кислорода выполнен в виде электролизера с возможностью подводки питания к его электродам от источника постоянного тока, свободного прохода через него в прямом и обратном направлениях водного раствора электролита и продуктов рабочего процесса и разложения воды на водород и кислород при протекании постоянного электрического тока через водный раствор электролита, установленного в камере сгорания.
2. Двигатель по п.1, отличающийся тем, что электролизер выполнен либо из металла с отверстиями, либо из металлической сетки в виде двух цилиндрических электродов-полублоков, своими элементами концентрично и с зазором вписывающихся друг в друга.
3. Двигатель по п.1, отличающийся тем, что источник давления подачи водного раствора электролита выполнен в виде насоса высокого давления.
4. Двигатель по п.1, отличающийся тем, что форсунка выполнена с кавитатором в виде местного сужения ее канала.
РИСУНКИ
|
|