|
|
(21), (22) Заявка: 2004113358/03, 29.04.2004
(24) Дата начала отсчета срока действия патента:
29.04.2004
(43) Дата публикации заявки: 27.10.2005
(45) Опубликовано: 10.05.2006
(56) Список документов, цитированных в отчете о поиске:
SU 1698430 А1, 15.12.1991. SU 1472657 А1, 15.04.1989. SU 1355701 А1, 30.11.1987. SU 1190014 А1, 30.11.1987. RU 2223400 C1, 10.02.2004. RU 2034146 C1, 30.04.1995.
Адрес для переписки:
625023, г.Тюмень, ул. Котовского, 62, кв.18, пат.пов. Л.Д.Рычковой, рег. № 438
|
(72) Автор(ы):
Киреев Анатолий Михайлович (RU), Кравченко Борис Иванович (BY), Светашов Николай Николаевич (RU)
(73) Патентообладатель(и):
Общество с ограниченной ответственностью “Югсон-сервис” (RU)
|
(54) СПОСОБ ОПРЕДЕЛЕНИЯ ФИЛЬТРАЦИИ ПЛАСТОВЫХ ФЛЮИДОВ И УСТРОЙСТВО ДЛЯ ЕГО ОСУЩЕСТВЛЕНИЯ
(57) Реферат:
Изобретение относится к горной промышленности и может быть использовано для изучения анизотропного коллектора сложнопостроенных залежей, кольматации трещинных коллекторов. Техническим результатом является повышение информативности анизотропного коллектора сложнопостроенных залежей. Способ заключается в том, что пропускают рабочую жидкость одновременно через нагруженные образцы горной породы с фильтрационными каналами различной ориентации, представляющими модель вскрытого разреза, и одновременно осуществляют контроль за фильтрацией рабочей жидкости во всех образцах, при прекращении фильтрации в одном или нескольких образцах изменяют направление потока рабочей жидкости в последних. Дополнительно проводят термометрию снизу вверх по образцам горной породы с фильтрационными каналами различной ориентации, регистрируют показания изменения температуры выходящей рабочей жидкости из них до момента стабилизации показаний температуры, затем по этим изменениям определяют фильтрационную способность каналов и одновременно с термометрией осуществляют декольматацию рабочей жидкости, выходящей из каждого образца горной породы с фильтрационными каналами различной ориентации. Устройство содержит магистраль для подачи рабочей жидкости, камеры для размещения образца горной породы с фильтрационными каналами различной ориентации, выполненные в виде перфорированных стаканов с внутренней, эластичной оболочкой, в диагональных карманах которой размещены перфорированные сегменты, а в торцах оболочки установлены перфорированные диски, регулирующие вентили, линии для подачи рабочей жидкости и декольмататоры, камеры соединены последовательно, а перед входом каждой камеры установлен регулирующий вентиль, соединенный двумя линиями подачи рабочей жидкости с соответствующим регулирующим вентилем, расположенным на магистрали для подачи рабочей жидкости, при этом в одной из двух линий подачи рабочей жидкости установлен декольмататор. Устройство дополнительно снабжено основным и дополнительными термостатами, магистралью, представляющей собой систему трубопроводов с запорно-регулирующими устройствами, нагревательными камерами с входом для подачи жидкости и выходом для отвода жидкости, где в каждой установлена камера с образцом горной породы с фильтрационными каналами различной ориентации, и датчиками температур, которые соединены с дополнительными термостатами и установлены на выходе из камер. 2 н. и 3 з.п. ф-лы, 1 ил., 1 табл.
Изобретение относится к горной промышленности и может быть использовано для изучения анизотропного коллектора сложнопостроенных залежей, кольматации трещинных коллекторов.
Известно “Устройство для определения кольматации образцов горных пород”, включающее перфорированный стакан, перфорированные диски и эластичную камеру, размещенную в стакане между дисками, перфорированные сегменты, при этом эластичная камера выполнена с двумя диагонально расположенными карманами, в которых размещены сегменты (а.с. №1355701, Е 21 В 49/00, от 01.04.85 г., опубл.30.11.87 г.).
Недостатком указанного выше устройства является то, что в условиях деформации фильтрационных каналов процесс релаксации в них не учитывается, не определяется температура в образце, ее изменения и фильтрационная способность.
Известен “Способ выявления нефтегазоносных пропластков”, включающий проведение термометрии и регистрацию изменения температуры выходящего пластового флюида, термометрию проводят снизу вверх по разрезу скважины, а изменение температуры выходящего пластового флюида регистрируют до ее стабилизации, по которой выявляют нефтегазоносные пропластки (а.с. №1472657, Е 21 В 47/10, от 19.05.87 г., опубл. 15.04.89 г.).
Недостатком указанного выше способа является то, что не учитывается фильтрационная способность фльюидопроводящих, фильтрационных каналов и процесс релаксации в них.
Наиболее близким к предлагаемому техническому решению является “Способ определения фильтрации пластовых флюидов”, заключающийся в том, что флюид пропускают одновременно через ряд нагруженных образцов горной породы с трещинами различной ориентации, представляющими модель вскрытого разреза, и одновременно осуществляет контроль фильтрации флюида во всех образцах, при прекращении фильтрации в одном или нескольких образцах изменяют направление потока флюида в последних и осуществляют декольматацию каждого из них, по которой определяют фильтрационную способность трещин (а.с. №1698430, Е 21 В 49/00, от 02.03.89 г., опубл.15.12.91 г., прототип).
Недостатком “Способа определения фильтрации пластовых флюидов” является то, что не учитывается в условиях деформации фильтрационных каналов процесс релаксации, температура по образцам, ее изменение, т.е. при проведении исследований и испытаний не учитывают анизотропность коллектора продуктивного пласта, особенно их фильтрационную способность.
Наиболее близким к предлагаемому техническому решению является “Устройство для определения фильтрации пластовых флюидов”, содержащее магистраль для подачи флюида и камеры для размещения образца горной породы, выполненные в виде перфорированного стакана с внутренней эластичной оболочкой, в диагональных карманах которой размещены перфорированные сегменты, а в торцах оболочки установлены перфорированные диски, регулирующие вентили, линию для подачи флюида и декольмататоры, при этом камеры соединены последовательно и перед входом каждой камеры установлен регулирующий вентиль, соединенный двумя линиями подачи флюида с соответствующим регулирующим вентилем, расположенным на магистрали, и в одной из двух линий установлен декольмататор (а.с. №1698430, Е 21 В 49/00, от 02.03.89 г., опубл.15.12.91 г., прототип).
Недостатком “Устройства для определения фильтрации пластовых флюидов” является то, что не учитывается в условиях деформации фильтрационных каналов процесс релаксации, температура по образцам, ее изменение, т.е. при проведении исследований и испытаний не учитывают анизотропность коллектора продуктивного пласта, особенно их фильтрационную способность.
Предлагаемый способ определения фильтрации пластовых флюидов и устройство для его осуществления лишены приведенных выше недостатков и позволяют повысить информативность анизотропного коллектора сложнопостроенных залежей путем установления и регистрации изменений температуры в процессе одновременного исследования испытываемых образцов с различной ориентацией фильтрационных каналов, что влечет за собой:
– определение стойких форм блокады проницаемости в образцах с различной ориентацией фильтрационных каналов, оптимальной раскрытости фильтрационных каналов;
– выявление пропластков с углеводородным сырьем в образцах с различной ориентацией фильтрационных каналов и определение их количества;
– установление релаксационных свойств фильтрационных каналов, их ориентации.
Способ определения фильтрации пластовых флюидов, заключающийся в том, что пропускают рабочую жидкость одновременно через нагруженные образцы горной породы с фильтрационными каналами различной ориентации, представляющими модель вскрытого разреза, и одновременно осуществляет контроль за фильтрацией рабочей жидкости во всех образцах, при прекращении фильтрации в одном или нескольких образцах изменяют направление потока рабочей жидкости в последних, дополнительно проводят термометрию снизу вверх по образцам горной породы, регистрируют показания изменения температуры выходящей рабочей жидкости из них до момента стабилизации показаний температуры, затем по этим изменениям определяют фильтрационную способность фльюидопроводящих каналов. Одновременно с термометрией осуществляют декольматацию рабочей жидкости, выходящей из каждого образца горной породы с фильтрационными каналами различной ориентации.
Устройство для определения фильтрации пластовых флюидов, содержащее магистраль для подачи рабочей жидкости, камеры для размещения образца горной породы, выполненные в виде перфорированного стакана с внутренней, эластичной оболочкой, в диагональных карманах которой размещены перфорированные сегменты, а в торцах оболочки установлены перфорированные диски, регулирующие вентили, линии для подачи рабочей жидкости и декольмататоры, при этом камеры для размещения образца горной породы соединены последовательно, а перед входом каждой установлен регулирующий вентиль, соединенный двумя линиями подачи рабочей жидкости с соответствующим регулирующим вентилем, расположенным на магистрали для подачи рабочей жидкости, кроме того, в одной из двух линий подачи рабочей жидкости установлен декольмататор, и дополнительно снабжено основным и дополнительными термостатами, магистралью, представляющей собой систему трубопроводов с запорно-регулирующими устройствами, нагревательными камерами и датчиками температур, которые соединены с дополнительными термостатами и установлены на выходе из камер. Нагревательная камера представляет собой термос с входом для подачи жидкости и выходом для отвода жидкости, в котором расположена камера с образцом горной породы, основной термостат установлен на соединении входа и выхода в магистраль, а дополнительные – на соединении входа для подачи жидкости и выхода для отвода жидкости. Вход для подачи жидкости и выход для отвода жидкости выполнены в виде штуцеров.
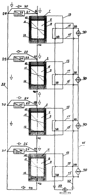
На чертеже представлена схема устройства для осуществления способа определения фильтрации пластовых флюидов.
Устройство для определения фильтрации пластовых флюидов содержит гирлянду последовательно соединенных камер 1-4 для размещения в них образцов 5-8 горной породы с фильтрационными каналами (трещинами) различной (от 0° до 90°) ориентации (далее по тексту – образцы), представляющих собой модель вскрытого разреза продуктивного пласта.
Каждая из камер 1-4 выполнена в виде перфорированного стакана 9 с внутренней, эластичной оболочкой 10, в диагональных карманах которой размещены перфорированные сегменты 11, а в торцах – перфорированные диски 12 для размещения между последними образцов 5-8 и снабжена нагревательной камерой 13, представляющей собой термос с входом для подачи жидкости 14 и выходом для отвода жидкости 15, например в виде штуцеров.
Перед входами камер 1-4 установлены регулирующие вентили 16-19, каждый из которых соединен двумя линиями подачи рабочей жидкости 20-21, 22-23, 24-25, 26-27 соответственно с вентилями 28- 31, расположенными на магистрали для подачи рабочей жидкости 32.
В линиях 21, 23, 25 и 27 установлены декольмататоры 33 -36 известной конструкции, предназначенные для определения декольматирующей способности образцов 5-8. Каждый из декольмататоров 33-36 снабжен датчиком давления (на фиг.не показано), который соединен с регистрирующим прибором (на фиг.не показано).
Каждая нагревательная камера 13 посредством входа для подачи жидкости 14 и выхода для отвода жидкости 15 соединяется с магистралью 37, которая представляет собой систему трубопроводов с запорно-регулирующими устройствами 38, например в виде регулирующих вентилей.
По магистрали 37 циркулирует жидкость с заданной температурой от основного термостата 39, расположенного на соединении входа и выхода в нее, и через дополнительные термостаты 40, установленные на соединении 41 входа для подачи жидкости 14 и выхода для отвода жидкости 15, каждой нагревательной камеры 13, возвращаясь к основному термостату 39. Циркуляция жидкости по определенным участкам магистрали 37 регулируется посредством запорно-регулирующих устройств 38.
Такое соединение нагревательных камер 13, камер 1-4 и термостатов 39, 40 позволяет регулировать показания температуры и фиксировать изменение температурных аномалий в каждом образце 5-8 независимо от других по выходу из него рабочей жидкости посредством датчика температур 42, соединенного с дополнительным термостатом 40 посредством гибкой связи и с известным регистрирующим прибором (на фиг. не показано), установленного между выходами из камер 1-4 и регулирующими вентилями 17, 18, 19 и линией 43.
Сохранение заданной температуры в образцах 5-8 обеспечивают нагревательные камеры 13, термостаты 39, 40 с помощью запорно-регулирующих устройств 38 магистрали 37 через вход для подачи жидкости 14 и выход для отвода жидкости 15.
Количество камер 1-4 в гирлянде и соответственно образцов 5-8 определяется в зависимости от пластовых условий вскрытого разреза.
Способ определения фильтрации пластовых флюидов осуществляют следующим образом.
Перед началом работ на основании анализа геолого-геофизических и гидродинамических исследований по пласту и вскрытому разрезу задаются ориентацией фильтрационных/фльюидопроводящих каналов в образцах 5-8 и температурой пропускаемой через образцы 5-8 рабочей жидкости (флюид, кольматант, их смесь и т.д.).
При этом, когда внизу вскрытого разреза присутствуют фильтрационные каналы наименьшей ориентации, например, от 0° до 30°, вначале (первые) горные нагрузки существенно сказываются на этих каналах и они деформируются (сужение или полное смыкание), для этого термометрию осуществляют с низу вверх.
Для создания необходимых условий в образцах 5-8 горной породы с фильтрационными каналами (трещинами) различной ориентации от 0° до 90° (далее по тексту – образцы), представляющими собой модель вскрытого разреза пласта, прокачивают рабочую жидкость (флюид, кольматант, их смесь и т.д.) из магистрали для подачи рабочей жидкости 32 и через линию 20 подают в гирлянду последовательно соединенных камер 1-4 с образцами 5-8, затем ее пропускают одновременно через ряд нагруженных образцов 5-8 по фильтрационным каналам, в процессе которого часть температуры рабочей жидкости поглощается образцами 5-8, и одновременно с этим осуществляют гидравлический обжим образцов 5-8 с помощью известного устройства, а затем через линию 43 рабочая жидкость поступает в магистраль для подачи рабочей жидкости 32.
Одновременно с этим осуществляют контроль за фильтрацией рабочей жидкости во всех образцах 5-8 посредством датчика давлений (на фиг. не показано), при прекращении фильтрации в одном или нескольких образцах 5-8 изменяют направление потока рабочей жидкости в последних посредством запорно-регулирующих устройств 17-19, так например, при закупорке образца 6 давление на входе камеры 2 увеличится, а на ее выходе уменьшится, исходя из этой ситуации датчик давлений (на фиг. не показано) выдает сигнал на регулирующие вентили 29, 17, 18, 30 и регулирующие вентили 29, 17 по линии 22 обеспечивают продолжение рабочей жидкости из камеры 1 в магистраль 32, а регулирующий вентиль 17 одновременно обеспечивает и выход рабочей жидкости из камеры 2 по линии 23 в декольмататор 34, где осуществляется декольматация рабочей жидкости.
Другими словами при прекращении фильтрации в одном или нескольких образцах 5-8 поток рабочей жидкости направляется посредством датчика давления (на фиг. не показано) и запорно-регулирующих устройств 17-19 в декольмататор 33-36, где и осуществляют декольматацию направленного потока путем пропускания выходящей из каждого образца 5-8 рабочей жидкости через декольмататор 33-36.
Одновременно с декольматацией рабочей жидкости, выходящей из каждого образца 5-8, осуществляют термометрию снизу вверх по образцам 5-8.
Так как температуру в каждом из образцов 5-8 поддерживают и сохраняют заданной, т.е. температуре соответствующего пропластка вскрытого разреза, то термометрию осуществляют снизу вверх по образцам 5-8, начиная с нижнего, согласно структуре пропластков вскрытого разреза пласта.
Для этого определяют показания температуры рабочей жидкости на выходе из каждого образца 5-8 посредством датчика температур 42, регистрируют изменения температурных аномалий выходящей рабочей жидкости с помощью датчика температур 42 на выходе из каждого образца 5-8 и регистрирующего прибора (на чертеже не показано), пока она не стабилизируется, изучают эти изменения и анализируют их, т.е. сопоставляют с показаниями температур, полученных на конкретных скважинах и соответствующих пропластков.
По данным изменений температур, полученным в процессе исследований:
судят о работающем интервале, интервале в котором происходит движение, проникновение рабочей жидкости в каждом образце 5-8 и стабилизация выхода ее,
выявляют нефтегазоносные пропластки,
определяют фильтрационную способность фльюидопроводящих каналов каждого образца 5-8,
делают вывод о начале деформационных условиях образцов 5-8 с фильтрационными каналами наименьшей ориентации, количестве и гранулометрическом составе механических примесей рабочей жидкости и о релаксационных свойствах фильтрационных каналов.
Так, например, при кольматации, закупорке образца 6 горной породы с горизонтальной ориентацией (0°) фильтрационных каналов (см. таблицу первая строка 168-34) заданная температура пласта вскрытого разреза составляла 73,2°С, а закольматированного образца 6, зарегистрированного датчиком температур 42 на выходе из камеры 2 и регистрирующим устройством (на фиг.не показано) составляла 58, 3°С. Создаем циклические депрессионные воздействия на образец 6, и в условиях деформации фильтрационных каналов увеличивается выход рабочей жидкости из образца 6 до 62,5%, что влечет за собой возрастание температуры с 58, 76°С до 72,81°С (стабилизация пластовой температуры 73,2°С), с возрастанием депрессионных воздействий происходит уменьшение выхода рабочей жидкости в 15,7% и температуры 58,52°С до полного смыкания фильтрационного канала – “-“.
Одновременно при кольматации, закупорке образца 6, датчиком температур 42 подается сигнал на запорно-регулирующие устройства 38 и включаются определенные участки магистрали 37, при этом температура образца 6 регулируется и поддерживается до заданной с помощью дополнительного термостата 40, а посредством основного термостата 39 продолжает поддерживаться заданная температура для остальных образцов.
В поровых коллекторах образца (см. таблицу предпоследняя и последняя строки 19 и 33) деформационные условия на фильтрацию особенно не влияли, а температурные аномалии при первых депрессиях проявлялись сразу (гр. 6, 7), т.е. в гр. 8, 9 они были практически постоянны и не менялись.
Данные исследований приведены в таблице.
Исследования показали, что данные изменений температур прямо связаны с оптимальной раскрытостью (в образце) фильтрационных каналов, другими словами изменения температуры в каждом образце 5-8 в сторону приближающейся к температуре вскрытого разреза говорит о наличии стойких форм блокады проницаемости, а изменения температуры в сторону стабилизации в каждом образце 5-8 говорит о ее ликвидации, и в момент циклических изменений депрессионных воздействий на уровнях, соответствующих ориентации фильтрационных каналов, изменяются температурные аномалии в образцах 5-8 в зависимости от гидродинамических условий, создаваемых за счет установления оптимальной раскрытости фильтрационных каналов с помощью оптимальных депрессий, которые регулируются продолжительностью цикловоздействий, периодом релаксации.
Использование прелагаемого нами способа определения фильтрации пластовых флюидов и устройства для его осуществления для изучения анизотропного коллектора сложнопостроенных залежей позволяет дать заключение:
о наличии стойких форм блокады проницаемости в образцах с различной ориентацией фильтрационных каналов, об оптимальной раскрытости фильтрационных каналов;
о наличии пропластков с углеводородным сырьем в образцах с различной ориентацией фильтрационных каналов и их количестве;
о релаксационных свойствах фильтрационных каналов, их ориентации.
При изготовлении устройства для определения фильтрации пластовых флюидов использовались детали, комплектующие, выпускающиеся как на территории СНГ, так и в РФ.
 
Формула изобретения
1. Способ определения фильтрации пластовых флюидов, заключающийся в том, что пропускают рабочую жидкость одновременно через нагруженные образцы горной породы с фильтрационными каналами различной ориентации, представляющими модель вскрытого разреза, и одновременно осуществляют контроль за фильтрацией рабочей жидкости во всех образцах, при прекращении фильтрации в одном или нескольких образцах изменяют направление потока рабочей жидкости в последних, отличающийся тем, что дополнительно проводят термометрию снизу вверх по образцам горной породы с фильтрационными каналами различной ориентации, регистрируют показания изменения температуры выходящей рабочей жидкости из них до момента стабилизации показаний температуры, затем по этим изменениям определяют фильтрационную способность каналов и одновременно с термометрией осуществляют декольматацию рабочей жидкости, выходящей из каждого образца горной породы с фильтрационными каналами различной ориентации.
2. Устройство для определения фильтрации пластовых флюидов, содержащее магистраль для подачи рабочей жидкости, камеры для размещения образца горной породы с фильтрационными каналами различной ориентации, выполненные в виде перфорированных стаканов с внутренней эластичной оболочкой, в диагональных карманах которой размещены перфорированные сегменты, а в торцах оболочки установлены перфорированные диски, регулирующие вентили, линии для подачи рабочей жидкости и декольмататоры, камеры соединены последовательно, а перед входом каждой камеры установлен регулирующий вентиль, соединенный двумя линиями подачи рабочей жидкости с соответствующим регулирующим вентилем, расположенным на магистрали для подачи рабочей жидкости, при этом в одной из двух линий подачи рабочей жидкости установлен декольмататор, отличающееся тем, что оно дополнительно снабжено основным и дополнительными термостатами, магистралью, представляющей собой систему трубопроводов с запорно-регулирующими устройствами, нагревательными камерами с входом для подачи жидкости и выходом для отвода жидкости, где в каждой установлена камера с образцом горной породы с фильтрационными каналами различной ориентации, и датчиками температур, которые соединены с дополнительными термостатами и установлены на выходе из камер.
3. Устройство для определения фильтрации пластовых флюидов по п.2, отличающееся тем, что нагревательная камера представляет собой термос, а вход для подачи жидкости и выход для отвода жидкости выполнены в виде штуцеров.
4. Устройство для определения фильтрации пластовых флюидов по п.2, отличающееся тем, что основной термостат установлен на соединении входа и выхода в магистраль.
5. Устройство для определения фильтрации пластовых флюидов по п.2, отличающееся тем, что дополнительные термостаты установлены на соединении входа для подачи жидкости и выхода для отвода жидкости.
РИСУНКИ
|
|