|
|
(21), (22) Заявка: 2004116213/03, 28.05.2004
(24) Дата начала отсчета срока действия патента:
28.05.2004
(43) Дата публикации заявки: 01.01.2000
(45) Опубликовано: 10.05.2006
(56) Список документов, цитированных в отчете о поиске:
РЕБРИК Б.М., Справочник по бурению инженерно-геологических скважин, Москва, Недра, 1983, с.117-121. SU 140768 A, 26.12.1961. SU 195408 A, 03.11.1967. SU 412405 A, 14.05.1974. SU 622963 A, 28.08.1978. SU 628282 A, 25.08.1978. SU 631642 A, 17.11.1978. SU 934915 C, 07.06.1982. SU 1468055 A1, 20.04.1987. SU 1620595 A1, 15.01.1991. US 4126193 A, 21.11.1978.
Адрес для переписки:
346351, Ростовская обл., г.Красный Сулин, ул.Донская, 4, Н.В.Лымарю
|
(72) Автор(ы):
Лымарь Николай Васильевич (RU), Лымарь Василий Васильевич (RU)
(73) Патентообладатель(и):
Лымарь Николай Васильевич (RU), Лымарь Василий Васильевич (RU)
|
(54) СПОСОБ БУРЕНИЯ СКВАЖИН И САМОХОДНАЯ БУРОВАЯ УСТАНОВКА ДЛЯ ЕГО РЕАЛИЗАЦИИ
(57) Реферат:
Изобретение относится к горному делу, а именно к способам бурения скважин и самоходным буровым установкам, предназначенным для бурения скважин различного назначения. Способ включает проходку ствола скважины буровым инструментом с очисткой скважины от бурового шлама сжатым воздухом, нагнетаемым компрессором в скважину через буровой инструмент. При снижении скорости проходки скважины ниже заданного значения внутри бурового инструмента формируют “жидкий” поршень, перемещаемый давлением сжатого воздуха, и с помощью указанного “жидкого” поршня вытесняют буровой шлам из скважины. Способ реализуется с помощью самоходной буровой установки, содержащей базовое транспортное средство, на шасси которого смонтированы рама, силовая установка, компрессор с ресивером и гидросистема, мачту, установленный на ней подвижный вращатель с вертлюгом и емкость с промывочной жидкостью, подключенную к ресиверу. Ресивер и емкость с промывочной жидкостью подключены к вертлюгу через распределительное устройство, выполненное с возможностью поочередного подвода к вертлюгу сжатого воздуха от ресивера и промывочной жидкости от указанной емкости. На задней части рамы шарнирно прикреплена навеска с двумя гидроцилиндрами для ее установки в рабочее положение и с гидроцилиндром для установки в рабочее положение мачты, основание которой шарнирно закреплено на навеске. Изобретение позволяет более чем в 2 раза увеличить глубину бурения скважин при использовании пневмоударного бурового инструмента. 2 н. и 10 з.п. ф-лы, 2 ил.
Изобретение относится к горному делу, а именно к способам бурения скважин и к самоходным буровым установкам, предназначенным для бурения скважин в грунтах и твердых породах, и может быть использовано при сооружении водозаборных скважин, при проведении геологоразведочных работ и инженерно-геологических изысканий, а также при бурении скважин для различных технических целей.
Наиболее близким к предлагаемому способу по технической сущности является принятый за прототип способ бурения скважин, включающий проходку ствола скважины буровым инструментом с очисткой скважины от бурового шлама сжатым воздухом, нагнетаемым компрессором в скважину через буровой инструмент, при этом указанный способ реализуется при помощи известной самоходной буровой установки, которая содержит базовое транспортное средство в виде грузового автомобиля, на шасси которого смонтированы рама, силовая установка, компрессор и гидросистема, мачту, шарнирно закрепленную на задней части рамы и снабженную гидроцилиндром для ее установки в рабочее положение, и каретку с вращателем, установленную на мачте с возможностью возвратно-поступательного перемещения вдоль последней, при этом вращатель снабжен вертлюгом, выполненным с возможностью соединения, с буровым инструментом, мачта снабжена гидроцилиндром перемещения каретки, закрепленным на мачте и связанным своим штоком с кареткой, компрессор и гидросистема связаны через трансмиссию с силовой установкой транспортного средства, гидроцилиндры подключены к гидросистеме, а выход компрессора сообщается через вертлюг с буровым инструментом (см. книгу: Ребрик Б.М. Справочник по бурению инженерно-геологических скважин. М., Недра, 1983, стр.117-121).
Недостатком известного способа является небольшая глубина бурения (порядка 30-50 м) при использовании в качестве очистного агента сжатого воздуха. Данный недостаток обусловлен тем, что сжатый воздух не способен выносить из скважины образующийся в процессе бурения шлам с глубины, превышающей 30-50 метров, из-за недостаточно высокого давления и объемной подачи воздуха на выходе компрессора, нагнетающего сжатый воздух в скважину, что связано с ограниченной мощностью двигателей самоходных буровых установок, приводящих компрессор.
Технической задачей, для решения которой служит предлагаемое изобретение, является обеспечение возможности выноса бурового шлама из скважины при ее глубине не менее 100 метров за счет периодической замены очистного агента в виде сжатого воздуха на промывочную жидкость, подаваемую под давлением к забою скважины.
Техническим результатом, получаемым при практическом использовании предлагаемого изобретения, является увеличение глубины бурения скважин не менее чем до 100 метров.
Для решения поставленной технической задачи в предлагаемом способе бурения скважин, включающем проходку ствола скважины буровым инструментом с очисткой скважины от бурового шлама сжатым воздухом, нагнетаемым компрессором в скважину через буровой инструмент, в отличие от прототипа, при снижении скорости проходки скважины ниже заданного значения внутри бурового инструмента формируют “жидкий” поршень, для чего последовательно прекращают нагнетание сжатого воздуха, производят кратковременную подачу под давлением промывочной жидкости в буровой инструмент и возобновляют нагнетание сжатого воздуха, после чего с помощью давления нагнетаемого сжатого воздуха “жидкий” поршень перемещают через буровой инструмент к забою скважины и от забоя по стволу скважины к ее устью и при этом с помощью указанного “жидкого” поршня вытесняют буровой шлам из скважины через устье последней. При этом перед подачей промывочной жидкости буровой инструмент отрывают от забоя скважины, а подачу промывочной жидкости под давлением производят из емкости, в которой создают указанное давление с помощью компрессора, нагнетающего сжатый воздух в скважину.
Кроме того, для решения поставленной технической задачи предлагаемая самоходная буровая установка, содержащая базовое транспортное средство, на шасси которого смонтированы рама, силовая установка, компрессор и гидросистема, мачту, шарнирно закрепленную на задней части рамы и снабженную гидроцилиндром для ее установки в рабочее положение, и каретку с вращателем, установленную на мачте с возможностью возвратно-поступательного перемещения вдоль последней, при этом вращатель снабжен вертлюгом, выполненным с возможностью соединения с буровым инструментом, мачта снабжена гидроцилиндром перемещения каретки, закрепленным на мачте и связанным своим штоком с кареткой, компрессор и гидросистема связаны через трансмиссию с силовой установкой транспортного средства, гидроцилиндры подключены к гидросистеме, а выход компрессора сообщается через вертлюг с буровым инструментом, в отличие от прототипа, снабжена ресивером, установленным на раме транспортного средства, емкостью с промывочной жидкостью, линией подвода сжатого воздуха от ресивера к вертлюгу и линией подвода к последнему промывочной жидкости от указанной емкости, при этом емкость с промывочной жидкостью сообщается с выходом компрессора, вертлюг сообщается с выходом компрессора через ресивер, а емкость с промывочной жидкостью и ресивер снабжены сообщающимся с ними и с вертлюгом распределительным устройством, выполненным с возможностью поочередного сообщения вертлюга с ресивером и с указанной емкостью. При этом емкость с промывочной жидкостью сообщается с выходом компрессора через ресивер и снабжена линией подвода сжатого воздуха, сообщающей указанную емкость с ресивером. В указанной линии подвода сжатого воздуха может быть установлен обратный клапан с возможностью прохода через него сжатого воздуха из ресивера в емкость с промывочной жидкостью. Распределительное устройство может быть выполнено в виде двух перекрывных кранов, один из которых установлен в линии подвода сжатого воздуха к вертлюгу, а второй – в линии подвода к последнему промывочной жидкости. Емкость с промывочной жидкостью может быть выполнена в виде цилиндрического баллона и может быть установлена на раме транспортного средства.
Установка может быть снабжена навеской, выполненной в виде двух продольных параллельных балок, соединенных в средней части поперечной балкой, а на каждой боковой стороне рамы может быть установлен продольный кронштейн для крепления навески, прикрепленный к задней нижней части рамы и направленный вниз от последней, при этом каждая из продольных балок навески шарнирно закреплена одним концом на одном из указанных кронштейнов рамы транспортного средства, а другим – на основании мачты, навеска снабжена двумя параллельными гидроцилиндрами для ее перемещения в рабочее положение, каждый из которых подключен к гидросистеме и шарнирно закреплен своим корпусом на задней части рамы транспортного средства, а штоком – на одной из продольных балок навески, а гидроцилиндр для установки мачты в рабочее положение шарнирно закреплен своим корпусом на поперечной балке навески, а штоком – на мачте. При этом навеска может быть снабжена двумя гидродомкратами, установленными по бокам ее задней части, а каждая продольная балка навески может быть снабжена закрепленным в ее средней части и направленным к мачте продольным кронштейном, при этом каждый гидродомкрат подключен к гидросистеме и шарнирно закреплен на верхнем конце кронштейна одной из продольных балок навески. Компрессор может быть снабжен радиатором охлаждения, размещенным впереди компрессора по ходу движения транспортного средства.
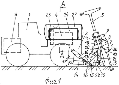
Сущность изобретения поясняется чертежами, на которых изображены:
на фиг.1 – самоходная буровая установка, общий вид;
на фиг.2 – сечение А-А на фиг.1.
Самоходная буровая установка содержит базовое транспортное средство 1 (фиг.1), например трактор или грузовой автомобиль, на шасси которого смонтированы рама 2, силовая установка 3, компрессор 4 и гидросистема (не показана), мачту 5, шарнирно закрепленную на задней части рамы 2 и снабженную гидроцилиндром 6 для ее установки в рабочее положение, каретку 7 с вращателем 8 и его приводом 9, установленную на мачте 5 с возможностью возвратно-поступательного перемещения вдоль последней, гидроцилиндр 10 для перемещения каретки 7 по направляющим мачты 5, закрепленный на последней и шарнирно связанный своим штоком 11 с кареткой 7. При этом вращатель 8 снабжен вертлюгом 12, выполненным с возможностью соединения с буровым инструментом 13, привод 9 вращателя выполнен в виде гидромотора, компрессор 4 и гидросистема связаны через трансмиссию (не показана) с силовой установкой 3 транспортного средства. Установка снабжена навеской 14, выполненной в виде двух продольных параллельных балок 15, соединенных в средней части поперечной балкой 16, а рама 2 снабжена двумя боковыми параллельными продольными кронштейнами 17 для крепления навески, прикрепленными к задней нижней части рамы 2, направленными вниз от последней и равноудаленными от продольной оси установки. При этом каждая из продольных балок 15 навески 14 шарнирно закреплена одним концом на одном из кронштейнов 17, а другим – на основании мачты 5, навеска снабжена двумя параллельными и равноудаленными от продольной оси установки гидроцилиндрами 18 для ее перемещения в рабочее положение, каждый из которых шарнирно закреплен своим корпусом на задней части рамы 2, а штоком 19 – на одной из продольных балок 15 навески 14, а гидроцилиндр 6 для установки мачты в рабочее положение шарнирно закреплен своим корпусом на поперечной балке 16 навески, а штоком 20 – на мачте 5. Для удержания мачты 5 в заданном рабочем положениии навеска 14 снабжена двумя опорными гидродомкратами 21, равноудаленными от продольной оси установки и установленными по бокам задней части навески 14. При этом каждая продольная балка 15 навески 14 снабжена закрепленным в ее средней части и направленным к мачте 5 продольным кронштейном 22, на верхнем конце которого шарнирно закреплен один из гидродомкратов 21. Гидроцилиндры 6, 10 и 18, гидромотор 9 и гидродомкраты 21 подключены к гидросистеме, снабженной элементами управления указанными гидроагрегатами (не показаны). Компрессор 4 может быть снабжен радиатором охлаждения 23, размещенным впереди компрессора по ходу движения транспортного средства, что исключает засорение радиатора буровым шламом, выходящим из скважины в процессе бурения.
На раме 2 транспортного средства установлены ресивер 24 (фиг.2) с предохранительным клапаном 25, подключенный линией 26 к выходу компрессора 4, и емкость 27 с промывочной жидкостью 28, подключенная линией 29 к линии 26 или к ресиверу 24. При этом вертлюг 12 снабжен подводящей линией 30, ресивер 24 снабжен линией 31 подвода сжатого воздуха к вертлюгу 12, а емкость 27 снабжена линией 32 подвода промывочной жидкости к вертлюгу 12. Ресивер 24 и емкость 27 подключены к вертлюгу 12 с возможностью поочередного подвода к нему сжатого воздуха от ресивера 24 и промывочной жидкости из емкости 27, для чего линии 31 и 32 соединены с линией 30 через распределительное устройство 33, которое может быть выполнено в виде перекрывного крана 34, установленного в линии 31, и перекрывного крана 35, установленного в линии 32, при этом выходы кранов 34 и 35 соединены через тройник 36 с подводящей линией 30 вертлюга 12. Для обеспечения необходимой прочности емкость 27 может быть выполнена в виде цилиндрического баллона со сферическими торцевыми стенками. При большом рабочем объеме емкость 27 может быть установлена на прицепе (не показан) транспортного средства 1. В линии 29 может быть установлен обратный клапан 37, исключающий попадание жидкости из емкости 27 в ресивер 24 при заправке емкости 27 промывочной жидкостью и при движении установки.
Установка работает следующим образом.
Перед началом бурения установка приводится в рабочее положение, для чего с помощью гидроцилиндров 18 задняя часть навески 14 вместе с основанием мачты 5 опускается к земле и фиксируется в опущенном положении с помощью опорных гидродомкратов 21, после чего с помощью гидроцилиндра 6 и его штока 20 мачта 5 устанавливается в рабочее положение с обеспечением заданного угла бурения скважины. Затем на вертлюг 12 наворачивается буровой инструмент 13 и включается гидромотор 9, приводящий во вращение буровой инструмент. После перебурки грунта и рыхлых пород скважину обсаживают обсадными трубами и дальнейшее бурение по твердым породам производят с помощью пневмоударника с продувкой забоя и скважины сжатым воздухом, поступающим к пневмоударнику из ресивера 24 по линиям 31 и 30 и далее через вертлюг 12 и буровой став при открытом кране 34 и закрытом кране 35.
При этом каждый раз при снижении скорости проходки скважины в результате зашламования пневмоударника и призабойной зоны скважины буровым шламом пневмоударник с помощью гидроцилиндра 10 и его штока 11 отрывают от забоя и производят кратковременную замену очистного агента, для чего в непрерывном режиме вначале перекрывают кран 34 и на короткое время открывают кран 35, а затем кран 35 снова закрывают, а кран 34 – открывают. При этом за короткий промежуток времени, соответствующий открытому крану 35, небольшая порция промывочной жидкости 28 (порядка 8-12 литров) под действием давления сжатого воздуха, поступающего в емкость 27 из ресивера 24 по линии 29 через обратный клапан 37, подается из емкости 27 под высоким давлением по линиям 32 и 30 в вертлюг 12 и далее в буровой инструмент 13.
В результате кратковременного сообщения емкости 27 через распределительное устройство 33 с буровым инструментом 13 в последнем из промывочной жидкости 28 формируется своего рода “жидкий” поршень, который под действием давления сжатого воздуха, создаваемого над указанным поршнем после закрытия крана 35 и открытия крана 34, доходит по буровому ставу до забоя, захватывает буровой шлам и выталкивается вместе с ним из скважины, обеспечивая промывку пневмоударника и скважины от бурового шлама. После этого продолжают бурение в обычном порядке с продувкой скважины сжатым воздухом, поступающим к вертлюгу 12 из ресивера 24. В процессе бурения спуск и подъем бурового става, а также создание осевой нагрузки на породоразрушающий инструмент осуществляется при помощи гидроцилиндра 10 и его штока 11, а обсадные трубы в необходимом случае приводят во вращение при помощи вращателя 8. Возникновение опасных забросов давления в системе сжатого воздуха при работе установки исключается при помощи предохранительного клапана 25, отрегулированного на заданное давление. По окончании проходки скважины производят ее очистку от бурового шлама с помощью “жидкого” поршня в описанном выше порядке, после чего поднимают буровой инструмент 13 из скважины, поднимают опоры гидродомкратов 21 и с помощью гидроцилиндров 6 и 18 возвращают навеску 14 и мачту 5 в исходное транспортное положение.
Оснащение установки ресивером и емкостью с промывочной жидкостью, подключенными через распределительное устройство к вертлюгу, позволяет формировать в буровом ставе “жидкий” поршень, перемещаемый давлением сжатого воздуха, и использовать с большой эффективностью указанный поршень для периодической промывки породоразрушающего инструмента и скважины, что позволяет в короткие сроки восстанавливать скорость проходки скважины. При этом за счет периодической промывки скважины “жидким” поршнем глубина проходки скважин увеличивается до 100 и более метров без увеличения давления и объемной подачи сжатого воздуха на выходе компрессора и, соответственно, без форсирования мощности силовой установки базового транспортного средства, а наддув емкости с промывочной жидкостью сжатым воздухом от компрессора позволяет осуществлять промывку скважины малым объемом промывочной жидкости без применения дорогостоящего бурового насоса, имеющего большой вес и габариты, осложняющие его монтаж на раме транспортного средства.
Авторами изготовлен промышленный образец предлагаемой буровой установки, смонтированной на базе трактора К-700А (“Кировец”) и обеспечивающей глубину бурения скважин до 100 м с применением пневмоударного бурового инструмента.
Формула изобретения
1. Способ бурения скважин, включающий проходку ствола скважины буровым инструментом с очисткой скважины от бурового шлама сжатым воздухом, нагнетаемым компрессором в скважину через буровой инструмент, отличающийся тем, что при снижении скорости проходки скважины ниже заданного значения внутри бурового инструмента формируют “жидкий” поршень, для чего последовательно прекращают нагнетание сжатого воздуха, производят кратковременную подачу под давлением промывочной жидкости в буровой инструмент и возобновляют нагнетание сжатого воздуха, после чего с помощью давления нагнетаемого сжатого воздуха “жидкий” поршень перемещают через буровой инструмент к забою скважины и от забоя по стволу скважины к ее устью и при этом с помощью указанного “жидкого” поршня вытесняют буровой шлам из скважины через устье последней.
2. Способ по п.1, отличающийся тем, что перед подачей промывочной жидкости буровой инструмент отрывают от забоя скважины.
3. Способ по п.1, отличающийся тем, что подачу промывочной жидкости под давлением производят из емкости, в которой создают указанное давление с помощью компрессора, нагнетающего сжатый воздух в скважину.
4. Самоходная буровая установка, содержащая базовое транспортное средство, на шасси которого смонтированы рама, силовая установка, компрессор и гидросистема, мачту, шарнирно закрепленную на задней части рамы и снабженную гидроцилиндром для ее установки в рабочее положение, и каретку с вращателем, установленную на мачте с возможностью возвратно-поступательного перемещения вдоль последней, при этом вращатель снабжен вертлюгом, выполненным с возможностью соединения с буровым инструментом, мачта снабжена гидроцилиндром перемещения каретки, закрепленным на мачте и связанным своим штоком с кареткой, компрессор и гидросистема связаны через трансмиссию с силовой установкой транспортного средства, гидроцилиндры подключены к гидросистеме, а выход компрессора сообщается через вертлюг с буровым инструментом, отличающаяся тем, что она снабжена ресивером, установленным на раме транспортного средства, емкостью с промывочной жидкостью, линией подвода сжатого воздуха от ресивера к вертлюгу и линией подвода к последнему промывочной жидкости от указанной емкости, при этом емкость с промывочной жидкостью сообщается с выходом компрессора, вертлюг сообщается с выходом компрессора через ресивер, а емкость с промывочной жидкостью и ресивер снабжены сообщающимся с ними и с вертлюгом распределительным устройством, выполненным с возможностью поочередного сообщения вертлюга с ресивером и с указанной емкостью.
5. Установка по п.4, отличающаяся тем, что емкость с промывочной жидкостью сообщается с выходом компрессора через ресивер и снабжена линией подвода сжатого воздуха, сообщающей указанную емкость с ресивером.
6. Установка по п.5, отличающаяся тем, что в линии подвода сжатого воздуха, сообщающей емкость с промывочной жидкостью с ресивером, установлен обратный клапан с возможностью прохода через него сжатого воздуха из ресивера в указанную емкость.
7. Установка по п.4, отличающаяся тем, что распределительное устройство выполнено в виде двух перекрывных кранов, один из которых установлен в линии подвода сжатого воздуха к вертлюгу, а второй – в линии подвода к последнему промывочной жидкости.
8. Установка по п.4, отличающаяся тем, что емкость с промывочной жидкостью выполнена в виде цилиндрического баллона.
9. Установка по п.4, отличающаяся тем, что емкость с промывочной жидкостью установлена на раме транспортного средства.
10. Установка по п.4, отличающаяся тем, что она снабжена навеской, выполненной в виде двух продольных параллельных балок, соединенных в средней части поперечной балкой, а на каждой боковой стороне рамы установлен продольный кронштейн для крепления навески, прикрепленный к задней нижней части рамы и направленный вниз от последней, при этом каждая из продольных балок навески шарнирно закреплена одним концом на одном из указанных кронштейнов рамы транспортного средства, а другим – на основании мачты, навеска снабжена двумя параллельными гидроцилиндрами для ее перемещения в рабочее положение, каждый из которых подключен к гидросистеме и шарнирно закреплен своим корпусом на задней части рамы транспортного средства, а штоком – на одной из продольных балок навески, а гидроцилиндр для установки мачты в рабочее положение шарнирно закреплен своим корпусом на поперечной балке навески, а штоком – на мачте.
11. Установка по п.10, отличающаяся тем, что навеска снабжена двумя гидродомкратами, установленными по бокам ее задней части, а каждая продольная балка навески снабжена закрепленным в ее средней части и направленным к мачте продольным кронштейном, при этом каждый гидродомкрат подключен к гидросистеме и шарнирно закреплен на верхнем конце кронштейна одной из продольных балок навески.
12. Установка по п.4, отличающаяся тем, что компрессор снабжен радиатором охлаждения, размещенным впереди компрессора по ходу движения транспортного средства.
РИСУНКИ
|
|