|
(21), (22) Заявка: 2004134851/02, 29.11.2004
(24) Дата начала отсчета срока действия патента:
29.11.2004
(45) Опубликовано: 10.05.2006
(56) Список документов, цитированных в отчете о поиске:
RU 2064364 C1, 27.07.1996. DE 19814990 A, 29.04.1999. SU 403497 A, 26.03.1974. ГЕРМАН Э.Г. Непрерывное литье. Справочное издание. – М.: Госуда, научно-техническое издание литературы по черной и цветной металлургии, 1961, с.324, рис.916.
Адрес для переписки:
423810, Татарстан, г. Набережные Челны, пр. Мира, 68/19, КамПИ
|
(72) Автор(ы):
Шибаков Владимир Георгиевич (RU), Волков Денис Александрович (RU)
(73) Патентообладатель(и):
Камский государственный политехнический институт (RU)
|
(54) СПОСОБ НЕПРЕРЫВНОГО МЕТАЛЛОПОКРЫТИЯ НА ЛИСТОВОЙ МЕТАЛЛ
(57) Реферат:
Изобретение относится к области машиностроения, в частности к способу непрерывного нанесения металлопокрытия на листовой металл, и может быть использовано при изготовлении биметаллической полосы, с последующим изготовлением из нее, в частности, подшипников скольжения. В кристаллизатор подают полосу основного металла в твердом состоянии и осуществляют ее протягивание. На вход кристаллизатора осуществляют подачу жидкого металла плакирующего слоя, которую производят принудительно путем воздействия на расплав поршнем, который перемещают со скоростью, рассчитываемой в зависимости от толщины корочки плакирующего слоя. Соединяют кристаллизующуюся корку плакирующего слоя с полосой основного металла в кристаллизаторе. Обжатие биметаллической полосы осуществляют в прокатных валках с одновременным соединением корки плакирующего слоя, образованной на полосе основного металла, с коркой, образованной на стенках кристаллизатора, путем деформации в прокатных валках. Технический результат заключается в снижении энергосиловых параметров процесса, увеличении стойкости инструмента, увеличении производительности и одновременном повышении качества и однородности получаемого материала за счет исключения пористости и других явлений усадочного характера в наносимом слое и усиления адгезионных связей металла покрытия с листовым металлом. 1 з.п. ф-лы, 4 ил.
Изобретение относится к области машиностроения и может быть использовано при изготовлении биметаллической полосы, с последующим изготовлением из нее, в частности, подшипников скольжения.
Известен способ нанесения покрытия на листовой металл [1], в котором используют направленное вверх вертикально расположенное сопло. Покрываемый листовой металл пропускают в вертикальном направлении снизу вверх таким образом, что он проходит в непосредственной близости с одной стороны сопла. Поступающий через сопло с помощью подающего устройства металл покрытия расплавляется на выходе из сопла или перед самым выходом из него с помощью нагреваемого устройства. В результате на конце сопла образуется ванна расплавленного металла, смачивающая поверхность листа с образованием на ней пленки покрытия.
Недостатком данного способа является сложность переноса расплавленного металла из образовывающейся ванны на покрываемый листовой материал и низкая производительность, обусловленная тем, что требуется определенное время для доведения материала покрытия до жидкотекучего состояния.
Известен способ получения биметаллической полосы [2], включающий подачу в кристаллизатор полосы основного металла в твердом состоянии, подачу в кристаллизатор жидкого металла плакирующего слоя и его соединение с полосой основного металла, вытягивание биметаллической полосы и ее обжатие.
Недостатком данного способа является высокий силовой режим процесса, механизм которого имеет прерывистый характер ударного воздействия, отрицательно влияющий на стойкость формообразующего инструмента и возникновение адгезионного сцепления; невозможность реализовать схему для нанесения одностороннего покрытия полосы, так как из-за ссужающегося конического канала схема напряженно-деформированного состояния получится асимметричной, что отрицательно скажется на качестве получаемой биметаллической полосы – вплоть до отслоения наносимого плакирующего слоя.
Изобретение направлено на снижение энергосиловых параметров процесса, увеличение стойкости инструмента, увеличение производительности и одновременное повышение качества и однородности получаемого материала исключением пористости и других явлений усадочного характера в наносимом слое, усиление адгезионных связей металла покрытия с листовым металлом.
Поставленная цель достигается тем, что в способе непрерывного нанесения металлопокрытия на листовой металл, включающем протягивание полосы основного металла в твердом состоянии через кристаллизатор, подачу в кристаллизатор жидкого металла плакирующего слоя, его соединение с полосой основного металла и обжатие биметаллической полосы, соединение плакирующего слоя и основного металла осуществляют в кристаллизаторе при кристаллизации жидкого металла на протягиваемой полосе основного металла, одновременном протягивании и соединении между собой двух корок, образующихся на поверхности контакта с материалом основной полосы и на свободной поверхности, путем деформации в прокатных валках, причем подачу жидкого металла на вход кристаллизатора производят принудительно под воздействием на расплав поршня, перемещаемого со скоростью

где К – коэффициент кристаллизации;
Н – высота расплава металла в кристаллизаторе;
bпокр – ширина получаемого покрытия;
s – толщина корочки плакирующего слоя на выходе из кристаллизатора;
FИ – площадь воздействия поршня на расплав.
Применение прокатных валков для образования соединения позволит избежать режима формообразования, механизм которого имеет прерывистый характер ударного воздействия, отрицательно влияющий на стойкость формообразующего инструмента и возникновение адгезионного сцепления, а также снизить энергосиловые параметры процесса.
Жидкую фазу кристаллизующегося расплава вытесняют под давлением валков, заполняя междендритные пустоты и предотвращают тем самым появление пористости, радиальные усилия улучшают условия образования и развития адгезионных связей.
Найдем соотношение между скоростью перемещения поршня VИ и толщиной корочки s металла плакирующего слоя:

где FИ – площадь воздействия поршня на расплав, м;
V0 – скорость протягивания полосы, м/мин;
Fпокр – площадь получаемого покрытия, м2.

где bпокр – ширина получаемого покрытия, м
s – толщина корочки, м;

где К – коэффициент кристаллизации, м/мин1/2;
t – время кристаллизации, мин;

где Н – высота расплава металла в кристаллизаторе, м.
В результате из (4) с учетом (5) получим:

Отсюда

В результате, подставив (3) и (7) в (2), получим:

Данное соотношение позволяет в зависимости от заданной толщины корочки плакирующего слоя определять скорость перемещения поршня для надежной подачи жидкого металла на вход кристаллизатора.
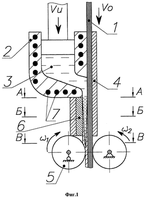
Изобретение поясняется графическим материалом, где
на фиг.1 – изображено устройство для непрерывного нанесения металлопокрытия на листовой металл: 1 – полоса листового материала, 2 – раздаточное устройство, 3 – расплав материала, 4 – кристаллизатор, 5 – прокатные валки, 6 – графитовая вставка, 7 – нагревательные элементы;
на фиг.2 – разрез А-А на фиг.1: 1 – полоса листового материала, 3 – расплав материала, 4 – кристаллизатор, 6 – графитовая вставка;
на фиг.3 – разрез Б-Б на фиг.1: 1 – полоса листового материала, 3 – расплав материала, 4 – кристаллизатор, 8 – закристаллизовавшаяся оболочка;
на фиг.4 – разрез В-В на фиг.1: 1 – полоса листового материала, 3 – расплав материала, 8 – закристаллизовавшаяся оболочка.
Способ непрерывного нанесения металлопокрытия на листовой металл осуществляют следующим образом.
Предварительно подготовленную полосу листового материала 1 (фиг.1) подают в вертикальном направлении сверху вниз и протягивают вдоль раздаточного устройства 2. Производят заливку жидкого металла 3 в раздаточное устройство 2. За счет отвода тепла стенками кристаллизатора 4 и поверхностью полосы 1 основного слоя образуется замкнутая оболочка 8 (фиг.3) с жидким металлом 3, корочки которой растут по мере продвижения к выходу из кристаллизатора (фиг.4). По мере прохождения оболочки 8 (фиг.4) с жидким металлом 3 через поверхность прокатных валков 5 (фиг.1) происходит соединение корочек между собой, при этом происходит вытеснение жидкого металла. Имеющаяся в кристаллизаторе графитовая вставка 6 (фиг.1) препятствует образованию задиров на поверхности плакирующего слоя.
В течение всего процесса изготовления биметаллической ленты осуществляют поддержание состояния жидкотекучести расплава. Для этого встроенными нагревательными элементами 7 (фиг.1) задается соответствующее температурное поле в раздаточном устройстве.
Источники информации
1. DE 19814990 А, 29.04.1999.
2. RU 2064364 C1, 27.07.1996.
Формула изобретения
1. Способ непрерывного нанесения металлопокрытия на листовой металл, включающий подачу в кристаллизатор полосы основного металла в твердом состоянии и ее протягивание, подачу в кристаллизатор жидкого металла плакирующего слоя, соединение кристаллизующейся корки плакирующего слоя с полосой основного металла в кристаллизаторе и обжатие биметаллической полосы, отличающийся тем, что обжатие биметаллической полосы осуществляют в прокатных валках с одновременным соединением корки плакирующего слоя, образованной на полосе основного металла, с коркой, образованной на стенках кристаллизатора, путем деформации в прокатных валках, а подачу жидкого металла на вход кристаллизатора производят принудительно путем воздействия на расплав поршнем, который перемещают со скоростью, которую рассчитывают в зависимости от толщины корочки плакирующего слоя.
2. Способ по п.1, отличающийся тем, что для повышения качества наносимого покрытия и увеличения прочности адгезионного сцепления слоев, производят проскальзывание прокатного валка относительно затвердевающей корки с возникновением зоны наибольших сдвиговых деформаций.
РИСУНКИ
|