|
| На основании пункта 3 статьи 13 Патентного закона Российской Федерации от 23 сентября 1992 г. № 3517-I патентообладатель обязуется передать исключительное право на изобретение (уступить патент) на условиях, соответствующих установившейся практике, лицу, первому изъявившему такое желание и уведомившему об этом патентообладателя и федеральный орган исполнительной власти по интеллектуальной собственности, – гражданину РФ или российскому юридическому лицу. |
|
(21), (22) Заявка: 2004100189/11, 06.01.2004
(24) Дата начала отсчета срока действия патента:
06.01.2004
(43) Дата публикации заявки: 20.06.2005
(45) Опубликовано: 10.05.2006
(56) Список документов, цитированных в отчете о поиске:
RU 2203209 C1, 27.04.2003. SU 750769 A1, 23.07.1980. SU 1192179 A1, 15.11.1985. JP 62-079922 A, 13.04.1987. JP 2000-068687 A, 03.03.2000.
Адрес для переписки:
54040, Украина, г. Николаев, ул. Крылова, 54, кв.229, Л.П.Петренко
|
(72) Автор(ы):
Петренко Лев Петрович (UA)
(73) Патентообладатель(и):
Петренко Лев Петрович (UA)
|
(54) СПОСОБ ОРИЕНТИРОВАНИЯ ИЗДЕЛИЙ РАЗЛИЧНОЙ ФОРМЫ ПРИ ИХ ТРАНСПОРТИРОВАНИИ И УСТРОЙСТВО ДЛЯ ЕГО РЕАЛИЗАЦИИ ИМ. Л.П. ПЕТРЕНКО – ВЕРСИЯ LXXII
(57) Реферат:
Изобретение относится к области радиоэлектроники и может быть использовано при монтаже радиоэлектронных компонентов. Изделия переносят из узла формирования строчных последовательностей на общий носитель смоченной поверхностью совокупностью элементов переноса. Возвратно-поступательное смещение элемента переноса, расположенного в пазу общего корпуса совокупности элементов переноса, который находится на ее диаметре, осуществляют внешним электромагнитным приводом. Технический результат – повышение надежности. 2 н.п. ф-лы, 2 ил.
Изобретение относится к области радиоэлектронных технологий, а именно к способу и устройству ориентирования изделий различной формы, например радиоэлектронных компонентов, при их транспортировании и может быть использовано в малогабаритных автоматах поверхностного монтажа.
Известен способ ориентирования изделий различной формы при их транспортировании (см. заявку №2001121959 от 07.08.2001 г.), согласно которому формируют строчные последовательности изделий в плоскости вращения с последующим переносом их на общий носитель элементом переноса, при этом вводят дополнительные элементы переноса изделий, образуя совокупность элементов переноса изделий, которые располагают либо в радиальных направлениях, либо в смещенных радиальных направлениях, причем ось вращения совокупности элементов переноса изделий располагают либо компланарно оси вращения одной или двум плоскостям формирования строчной последовательности изделий, либо соосно, над которой или которыми располагают совокупность элементов переноса изделий, при этом общий носитель располагают с возможностью непрерывного или дискретного смещения под сформированной совокупностью элементов переноса изделий и на него осуществляют перенос и фиксацию строчных последовательностей изделий с соответствующих элементов переноса изделий. При этом элемент переноса строчной последовательности изделий со стороны приема строчной последовательности выполняют со смачиваемой поверхностью (прототип).
Известный прототип имеет технологические возможности, которые заключаются в возможности использовать простейший элемент (смачиваемую поверхность) для приема и последующего переноса изделия строчной последовательности на поверхность общего носителя, что позволяет использовать его в технологии поверхностного монтажа, при этом надежность приема изделия различной формы существенно зависит от идентичности перемещения каждого элемента переноса в своей совокупности.
Технологическим и техническим результатом предложенного изобретения является повышение надежности известного способа, в частности возвратно-поступательное смещение элемента переноса совокупности элементов переноса, которую располагают с возможностью смещения в линейном интервале, выполняют внешним электромагнитным приводом, вдоль которого выполняют управляемое смещение совокупности элементов переноса.
Указанный технологический и технический результат достигается следующим способом и устройством.
Способ ориентирования изделий различной формы при их транспортировании, согласно которому в узле формирования строчных последовательностей располагают изделия строчных последовательностей для последующего переноса их на общий носитель смоченной поверхностью последовательной совокупностью элементов переноса, которую выполняют с возможностью вращения, при этом каждый из элементов переноса выполняют с возможностью возвратно-поступательного смещения для приема изделий и установки или фиксации их в соответствующих позиционных положениях на общем носителе, при этом возвратно-поступательное смещение элемента переноса совокупности элементов переноса, которую располагают с возможностью линейного смещения, выполняют внешним электромагнитным приводом, вдоль которого выполняют управляемое смещение совокупности элементов переноса.
Устройство ориентирования изделий различной формы при их транспортировании, содержащее узел формирования строчной последовательности в виде совокупности элементов переноса со смачиваемой жидкостью поверхностью с возможностью вращения, которая расположена в общем корпусе, узел смачивания элементов переноса, общий носитель, при этом в пазу общего корпуса совокупности элементов переноса с возможностью линейного смещения, который находится в нижней части совокупности элементов переноса, расположен элемент смещения элемента переноса, который функционально связан с внешним электромагнитным приводом.
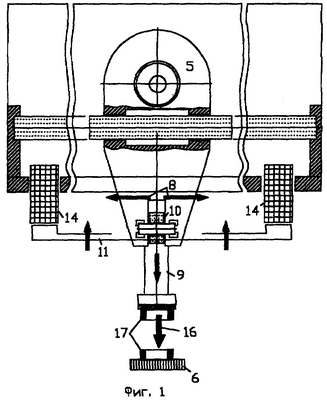
На фиг.1 и 2 изображено устройство, которое реализует предложенный способ. Устройство содержит узел формирования строчных последовательностей 1 и узел приема и переноса изделий строчной последовательности 2 в виде совокупности элементов переноса 3 со смачиваемой жидкостью поверхностью 4 с возможностью вращения, которые расположены в общем корпусе 5, узел смачивания элементов переноса, общий носитель 6, при этом в пазу 7 общего корпуса 5 с возможностью линейного смещения 8 совокупности элементов переноса 3, который расположен напротив элемента переноса 9 и находится в нижней части диаметра совокупности элементов переноса 3, шарнирно расположен элемент смещения 10 элемента переноса, который функционально связан с внешним линейным электромагнитным приводом 11 разворота элемента смещения 10.
Работа устройства заключается в следующем.
В зоне приема или узле формирования строчных последовательностей 1 располагают кассеты с изделиями с возможностью вращения их для последующего приема 12 и переноса или смещения 8 их на общий носитель 6 смоченной поверхностью 4 последовательной совокупностью элементов переноса 3, которую выполняют с возможностью вращения, при этом каждый из элементов переноса 3 выполняют с возможностью возвратно-поступательного смещения 13 посредством электромагнита 14 для приема 12 изделий 15 и установки или фиксации 16 их в соответствующих позиционных положениях на общем носителе 6, при этом возвратно-поступательное смещение 13 элемента переноса 3 совокупности элементов переноса, которую располагают с возможностью смещения 8 в линейном интервале, выполняют внешним электромагнитным приводом 11, 14, а возврат элемента переноса 3 в исходное положение осуществляется посредством индивидуальной пружины.
Другими словами, поскольку совокупность элементов переноса 2 при установки или фиксации 16 элементом переноса 3 изделий 17 на общий носитель 6 смещают 8 с достаточно большой скоростью, то необходимо, с одной стороны, максимально облегчить совокупность элементов переноса, с другой стороны, исключить электрические связи с ней, что и обеспечивается внешним электрическим приводом 11, 14. В данном случае элемент смещения 10 элемента переноса 9 при смещении 8 всей совокупности элементов переноса постоянно находится в контакте с электромагнитным приводом 11, 14 и готов к управлению элементом переноса 9.
Использование изобретения позволяет повысить надежность работы малогабаритных автоматов поверхностного монтажа с одновременным увеличением их скоростных параметров.
Формула изобретения
1. Способ ориентирования изделий различной формы при их транспортировании, согласно которому в узле формирования строчных последовательностей располагают изделия строчных последовательностей для последующего переноса их на общий носитель смоченной поверхностью последовательной совокупности элементов переноса, которую выполняют с возможностью вращения, при этом каждый из элементов переноса выполняют с возможностью возвратно-поступательного смещения для приема изделий и установки или фиксации их в соответствующих позиционных положениях на общем носителе, отличающийся тем, что возвратно-поступательное смещение элемента переноса совокупности элементов переноса, которую располагают с возможностью линейного смещения, выполняют внешним электромагнитным приводом, вдоль которого выполняют управляемое смещение совокупности элементов переноса.
2. Устройство ориентирования изделий различной формы при их транспортировании, содержащее узел формирования строчных последовательностей и узел приема и переноса изделий строчной последовательности в виде совокупности элементов переноса со смачиваемой жидкостью поверхностью с возможностью вращения, которая расположена в общем корпусе, узел смачивания элементов переноса, общий носитель, отличающееся тем, что в пазу общего корпуса совокупности элементов переноса, который находится на диаметре совокупности элементов переноса с возможностью линейного смещения, расположен элемент смещения элемента переноса, который функционально связан с внешним электромагнитным приводом.
РИСУНКИ
|
|