|
| На основании пункта 3 статьи 13 Патентного закона Российской Федерации от 23 сентября 1992 г. № 3517-I патентообладатель обязуется передать исключительное право на изобретение (уступить патент) на условиях, соответствующих установившейся практике, лицу, первому изъявившему такое желание и уведомившему об этом патентообладателя и федеральный орган исполнительной власти по интеллектуальной собственности, – гражданину РФ или российскому юридическому лицу. |
|
(21), (22) Заявка: 2004100135/11, 06.01.2004
(24) Дата начала отсчета срока действия патента:
06.01.2004
(43) Дата публикации заявки: 20.06.2005
(45) Опубликовано: 10.05.2006
(56) Список документов, цитированных в отчете о поиске:
RU 2203209 C1, 27.04.2003. RU 2154011 C2, 10.08.2000. SU 330086 А, 24.02.1972. FR 2391132 A1, 15.12.1978.
Адрес для переписки:
54040, Украина, г. Николаев, ул. Крылова, 54, кв.229, Л.П. Петренко
|
(72) Автор(ы):
Петренко Лев Петрович (UA)
(73) Патентообладатель(и):
Петренко Лев Петрович (UA)
|
(54) СПОСОБ ОРИЕНТИРОВАНИЯ ИЗДЕЛИЙ РАЗЛИЧНОЙ ФОРМЫ ПРИ ИХ ТРАНСПОРТИРОВАНИИ И УСТРОЙСТВО ДЛЯ ЕГО РЕАЛИЗАЦИИ ИМ. Л.П. ПЕТРЕНКО – ВЕРСИЯ XXXIV
(57) Реферат:
Изобретение относится к области радиоэлектронных технологий. Согласно способу ориентирования изделий различной формы при их транспортировании последовательную совокупность элементов переноса располагают в едином конструктиве, с возможностью как радиальных, так и угловых смещений элементов переноса с регулярным расположением элементов переноса по замкнутому кругу. Его вращение выполняют контролируемым. Предварительно смачиваемую поверхность элементов переноса смачивают, затем смоченный элемент переноса смещают в зону приема, где формируют строчные последовательности изделий. После их формирования срабатывает электромагнит и элемент переноса опускается на изделия, которые прилипают к смоченной водой поверхности. После этого изделия строчной последовательности разворачивают для установки изделий на общий носитель путем опускания на него. В устройстве ориентирования изделий различной формы при их транспортировании элементы переноса имеют плоские упругие пластины и плоскую часть. Узел приема и переноса изделий строчной последовательности выполнен в виде диска с ребрами жесткости, которые расположены над поверхностью диска на краю и в центральной его части, на верхней части которых расположены плоские упругие пластины элементов переноса. Плоская часть элемента переноса со смачиваемой поверхностью расположена с нижней стороны диска на его поверхности. Упругая плоская пластина и плоская часть элемента переноса соединены между собой через отверстия или паз, который выполнен в плоскости диска между двумя ребрами жесткости. Технический результат – повышение надежности. 2 н.п. и 5 з.п. ф-лы, 4 ил.
Изобретение относится к области радиоэлектронных технологий, а именно к способу и устройству ориентирования изделий различной формы, например радиоэлектронных компонентов, при их транспортировании, и может быть использовано в малогабаритных автоматах поверхностного монтажа.
Известен способ ориентирования изделий различной формы при их транспортировании (см. заявку №2001121959 от 07.08.2001 г.), согласно которому формируют строчные последовательности изделий в плоскости вращения с последующим переносом их на общий носитель элементом переноса, при этом вводят дополнительные элементы переноса изделий, образуя совокупность элементов переноса изделий, которые располагают либо в радиальных направлениях, либо в смещенных радиальных направлениях, причем ось вращения совокупности элементов переноса изделий располагают либо компланарно оси вращения одной или двум плоскостям формирования строчной последовательности изделий, либо соосно, над которой или которыми располагают совокупность элементов переноса изделий, при этом общий носитель располагают с возможностью непрерывного или дискретного смещения под сформированной совокупностью элементов переноса изделий и на него осуществляют перенос и фиксацию строчных последовательностей изделий с соответствующих элементов переноса изделий. При этом элемент переноса строчной последовательности изделий со стороны приема строчной последовательности выполняют со смачиваемой поверхностью (прототип).
Известный прототип имеет технологические возможности, которые заключаются в возможности использовать простейший элемент (смачиваемую поверхность) для приема и последующего переноса изделия строчной последовательности на поверхность общего носителя, что позволяет использовать его в технологии поверхностного монтажа, при этом надежность приема изделия различной формы существенно зависит от идентичности перемещения каждого элемента переноса в своей совокупности.
Технологическим и техническим результатом предложенного изобретения является повышение надежности известного способа, в частности, последовательную совокупность элементов переноса располагают в едином конструктиве, посредством которого обеспечивают как минимальные радиальные, так и угловые смещения элементов переноса с регулярным расположением элементов переноса по замкнутому кругу, а вращение его выполняют контролируемым.
Указанный технологический и технический результат достигается следующим способом и устройством.
Способ ориентирования изделий различной формы при их транспортировании, согласно которому на поверхность транспортирования подают изделия и в зоне приема формируют строчные последовательности изделий для последующего переноса их на общий носитель смоченной поверхностью последовательной совокупностью элементов переноса, которую выполняют с возможностью вращения, при этом каждый из элементов переноса выполняют с возможностью параллельного и вертикального смещения для приема изделий и установки или фиксации их в соответствующих позиционных положениях на общем носителе, который располагают под элементами переноса, при этом последовательную совокупность элементов переноса располагают в едином конструктиве, посредством которого обеспечивают как минимальные радиальные, так и угловые смещения элементов переноса с регулярным расположением элементов переноса по замкнутому кругу, а вращение его выполняют контролируемым.
Устройство ориентирования изделий различной формы при их транспортировании, содержащее поверхность транспортирования изделий, над которой расположен узел подачи изделий, узел формирования строчных последовательностей и узел приема и переноса изделий строчной последовательности на общий носитель с узлом смачивания элементов переноса, при этом узел приема и переноса изделий строчной последовательности выполнен в виде диска с ребрами жесткости, которые расположены над поверхностью диска на краю и в центральной его части, на верхней части которых расположены плоские упругие пластины элементов переноса, при этом плоская часть элемента переноса со смачиваемой поверхностью расположена с нижней стороны диска на его поверхности, а упругая плоская пластина и плоская часть элемента переноса соединены между собой через отверстия или паз, который выполнен в плоскости диска между двумя ребрами жесткости.
При этом каждый из элементов переноса выполнен литьем либо в виде единого конструктива, который выполнен в виде прямоугольной пластины, с одной стороны которой зафиксирована смачиваемая поверхность из обработанной под замш кожи, с другой стороны, за одно целое, выполнено ребро жесткости, которое расположено вдоль прямоугольной пластины, при этом в центральной части ребра жесткости за одно целое расположены одна или две упругие пластины, которые располагают по краям ребра жесткости с фиксацией в центральной ее части, при этом плоскость упругих пластин расположена компланарно прямоугольной пластине.
При этом каждый из элементов выполнен в виде сборного узла, который содержит плоскую пластину, с нижней стороны которой зафиксирована смачиваемая поверхность из обработанной под замш кожи, а с верхней стороны по ее краям выполнены два стержня, которые при сборки фиксируют с пластиной, в средней части которой зафиксирована плоская упругая пластина. При этом на краю диска выполнена зубчатая поверхность.
При этом на краю диска, с его нижней стороны, выполнено ребро жесткости с зубчатой поверхностью.
При этом в центральной части диска с его нижней стороны выполнено ребро жесткости с зубчатой поверхностью.
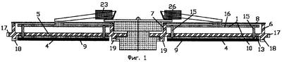
На фиг.1-4 изображены устройства, которые реализуют предложенный способ.
Устройство содержит поверхность транспортирования изделий, над которой расположен узел подачи изделий, узел формирования строчных последовательностей и узел приема и переноса 1 изделий строчной последовательности на общий носитель 2 с узлом смачивания 3 элементов переноса 4, при этом узел приема и переноса 1 изделий строчной последовательности выполнен в виде диска 5 с ребрами жесткости 6 и 7, которые расположены над поверхностью диска 5 на краю и в центральной его части, на верхней части которых расположены плоские упругие пластины 8 элементов переноса, при этом плоская часть элемента переноса 4 со смачиваемой поверхностью 9 расположена с нижней стороны диска 5 на его поверхности, а упругая плоская пластина 8 и плоская часть 10 (13) элемента переноса 4 соединены между собой через отверстия 11 фиг.2 или паз 12 фиг.4, который выполнен в плоскости диска 5 между двумя ребрами жесткости 6 и 7.
При этом каждый из элементов переноса 4 выполнен литьем либо в виде единого конструктива 3 и 4, который выполнен в виде прямоугольной пластины 13, с одной стороны которой зафиксирована смачиваемая поверхность 9 из обработанной под замш кожи, с другой стороны, за одно целое, выполнено ребро жесткости 14, которое расположено вдоль прямоугольной пластины 13, при этом в центральной части ребра жесткости 14 за одно целое расположены одна или две упругие пластины 8, которые располагают по краям ребра жесткости 14 с фиксацией в центральной ее части, при этом плоскость упругих пластин 8 расположена компланарно прямоугольной пластине 13.
При этом каждый из элементов выполнен в виде сборного узла (фиг.1), который содержит плоскую пластину 13 с нижней стороны которой зафиксирована смачиваемая поверхность 9 из обработанной под замш кожи, а с верхней стороны по ее краям выполнены два стержня 15, которые при сборки фиксируют с пластиной 16, в средней части которой зафиксирована плоская упругая пластина 8. При этом на краю диска выполнена зубчатая поверхность 17.
При этом на краю диска, с его нижней стороны, выполнено ребро жесткости с зубчатой поверхностью 18.
При этом в центральной части диска с его нижней стороны выполнено ребро жесткости с зубчатой поверхностью 19.
Работа устройства заключается в следующем.
На поверхность транспортирования 19,1 подают изделия и в зоне приема 20 формируют строчные последовательности изделий для последующего переноса их на общий носитель 2 смоченной поверхностью 9 последовательной совокупностью элементов переноса 1, которую выполняют с возможностью вращения, при этом каждый из элементов переноса 4 выполняют с возможностью параллельного и вертикального смещения для приема изделий и установки или фиксации их в соответствующих позиционных положениях на общем носителе 2, который располагают под элементами переноса 4, при этом последовательную совокупность элементов переноса 4 располагают в едином конструктиве в виде диска 5, посредством которого обеспечивают как минимальные радиальные, так и угловые смещения элементов переноса 4 с регулярным расположением элементов переноса 4 по замкнутому кругу, а вращение его выполняют контролируемым.
Другими словами, предварительно элемент переноса 4 смачивают (смачиваемую поверхность 9 в узле смачивания 21) (фиг.2), затем смоченный элемент переноса 4 смещают 22 в зоне приема 20, где формируют строчные последовательности изделий, после формирования их срабатывает электромагнит 23 и элемент переноса 4 опускается на изделия, которые прилипают к предварительно смоченной поверхности 9 водой. После чего изделия строчной последовательности разворачивают 24 в зону 25 для установки изделий на общий носитель 2 путем опускания на него. После того, как изделия опускают посредством электромагнита 26 на общий носитель 2, изделия переклеиваются на него, поскольку в местах расположения изделий на общем носителе 2 предварительно была нанесена паяльная паста или клеящее вещество.
Зубчатая поверхность 17 предназначена (фиг.4) для контролированного вращательного смещения узла переноса 1 посредством шагового двигателя 27.
Ребра жесткости с зубчатой поверхностью 18 и 19 предназначены для функциональной связи узла переноса 1 с узлом смачивания 21.
Использование изобретения позволяет повысить надежность работы малогабаритных автоматов поверхностного монтажа.
Формула изобретения
1. Способ ориентирования изделий различной формы при их транспортировании, согласно которому на поверхность транспортирования подают изделия и в зоне приема формируют строчные последовательности изделий для последующего переноса их на общий носитель смоченной поверхностью последовательной совокупностью элементов переноса, которую выполняют с возможностью вращения, при этом каждый из элементов переноса выполняют с возможностью параллельного и вертикального смещений для приема изделий и установки или фиксации их в соответствующих позиционных положениях на общем носителе, который располагают под элементами переноса, отличающийся тем, что последовательную совокупность элементов переноса располагают в едином конструктиве с возможностью как радиальных, так и угловых смещений элементов переноса с регулярным расположением элементов переноса по замкнутому кругу, а вращение его выполняют контролируемым, при этом предварительно смачиваемую поверхность элементов переноса смачивают, затем смоченный элемент переноса смещают в зону приема, где формируют строчные последовательности изделий, после их формирования срабатывает электромагнит и элемент переноса опускается на изделия, которые прилипают к смоченной водой поверхности, после этого изделия строчной последовательности разворачивают для установки изделий на общий носитель путем опускания на него.
2. Устройство ориентирования изделий различной формы при их транспортировании, содержащее поверхность транспортирования изделий, над которой расположен узел подачи изделий, узел формирования строчных последовательностей и узел приема и переноса изделий строчной последовательности на общий носитель с узлом смачивания элементов переноса, отличающееся тем, что элементы переноса имеют плоские упругие пластины и плоскую часть, узел приема и переноса изделий строчной последовательности выполнен в виде диска с ребрами жесткости, которые расположены над поверхностью диска на краю и в центральной его части, на верхней части которых расположены плоские упругие пластины элементов переноса, при этом плоская часть элемента переноса со смачиваемой поверхностью расположена с нижней стороны диска на его поверхности, при этом упругая плоская пластина и плоская часть элемента переноса соединены между собой через отверстия или паз, который выполнен в плоскости диска между двумя ребрами жесткости.
3. Устройство п.2, отличающееся тем, что каждый из элементов переноса выполнен в виде прямоугольной пластины, с одной стороны которой зафиксирована смачиваемая поверхность из обработанной под замшу кожи, с другой стороны, за одно целое выполнено ребро жесткости, которое расположено вдоль прямоугольной пластины, при этом в центральной части ребра жесткости за одно целое расположены одна или две упругие пластины, которые располагают по краям ребра жесткости с фиксацией в центральной ее части, при этом плоскость упругих пластин расположена компланарно прямоугольной пластине.
4. Устройство п.2, отличающееся тем, что каждый из элементов переноса выполнен в виде сборного узла, который содержит плоскую пластину, с нижней стороны которой зафиксирована смачиваемая поверхность из обработанной под замшу кожи, а с верхней стороны по ее краям выполнены два стержня, которые при сборке фиксируют с пластиной, в средней части которой зафиксирована плоская упругая пластина.
5. Устройство п.2, отличающееся тем, что на краю диска выполнена зубчатая поверхность.
6. Устройство п.2, отличающееся тем, что на краю диска с его нижней стороны выполнено ребро жесткости с зубчатой поверхностью.
7. Устройство п.2, отличающееся тем, что в центральной части диска с его нижней стороны выполнено ребро жесткости с зубчатой поверхностью.
РИСУНКИ
|
|