|
| На основании пункта 3 статьи 13 Патентного закона Российской Федерации от 23 сентября 1992 г. № 3517-I патентообладатель обязуется передать исключительное право на изобретение (уступить патент) на условиях, соответствующих установившейся практике, лицу, первому изъявившему такое желание и уведомившему об этом патентообладателя и федеральный орган исполнительной власти по интеллектуальной собственности, – гражданину РФ или российскому юридическому лицу. |
|
(21), (22) Заявка: 2004100133/11, 06.01.2004
(24) Дата начала отсчета срока действия патента:
06.01.2004
(43) Дата публикации заявки: 20.06.2005
(45) Опубликовано: 10.05.2006
(56) Список документов, цитированных в отчете о поиске:
RU 2203211 C1, 27.04.2003. RU 2170206 C1, 10.07.2001. DE 19900651 A1, 13.07.2000. EP 01662777 A, 02.01.1986. WO 82/03843 A1, 11.11.1982.
Адрес для переписки:
54040, г. Николаев, ул. Крылова, 54, кв.229, Л.П.Петренко
|
(72) Автор(ы):
Петренко Лев Петрович (UA)
(73) Патентообладатель(и):
Петренко Лев Петрович (UA)
|
(54) СПОСОБ ОРИЕНТИРОВАНИЯ ИЗДЕЛИЙ РАЗЛИЧНОЙ ФОРМЫ ПРИ ИХ ТРАНСПОРТИРОВАНИИ И УСТРОЙСТВО ДЛЯ ЕГО РЕАЛИЗАЦИИ ИМ. Л.П. ПЕТРЕНКО – ВЕРСИЯ XXXVI
(57) Реферат:
Изобретение относится к области радиоэлектронных технологий и может быть использовано при построении принципиально новых малогабаритных автоматов поверхностного монтажа. Способ ориентирования изделий различной формы при их транспортировании заключается в том, что на поверхность транспортирования подают изделия с выходов кассеты с изделиями, после чего изделия смещают в зону формирования строчной последовательности, где изделия удерживаются с момента приема строчной последовательности на элементы переноса, посредством каждого из которых осуществляется перенос изделия строчной последовательности для соответствующей фиксации их на общем носителе. Изделия подают путем сброса их на поверхность транспортирования в зону формирования строчной последовательности. Указанную зону формирования строчной последовательности располагают с возможностью ее смещения вдоль формируемой строчной последовательности изделий до крайнего позиционного положения указанной строчной последовательности изделий. Осуществляют корректировку ориентации поданного изделия посредством неподвижной направляющей, которую ориентируют вдоль формируемой строчной последовательности и линейно смещаемой поверхности транспортирования, после чего изделие либо переориентируют путем отклонения или разворота его, либо сразу смещают в позиционное положение архитектурной композиции формируемой строчной последовательности, где и удерживают до приема и переноса изделия на общий носитель для фиксации. Технический результат – повышается надежность работы малогабаритных автоматов поверхностного монтажа. 2 н.п. ф-лы, 3 ил.
Изобретение относится к области радиоэлектронных технологий, а именно к способу и устройству ориентирования изделий различной формы, например радиоэлектронных компонентов, при их транспортировании и может быть использовано в малогабаритных автоматах поверхностного монтажа.
Известен способ ориентирования изделий различной формы при их транспортировании (см. заявку №2001121961 от 07.08.2001 г.), согласно которому изделию, находящемуся своей поверхностью на поверхности вращения, сообщают смещенное радиальное усилие посредством смещенных радиальных направляющих, при этом формирование строчной последовательности осуществляют путем смещения каждого изделия строчной последовательности на соответствующий радиус свинченной или развинченной части спирали посредством соответствующих смещенных радиальных направляющих, которые располагают с дискретным шагом с последующим общим или последовательным смещением или разворотом сформированной строчной последовательности изделий до зоны приема строчной последовательности, где и удерживают ее до момента одновременного переноса ее на общий носитель для соответствующей фиксации (прототип).
Известный прототип имеет технологические возможности, которые заключаются в возможности посредством поверхности транспортирования и смещенных радиальных направляющих подавать однозначно ориентированные изделия, которые произвольным образом сброшены на поверхность транспортирования, в наперед выбранную точку поверхности транспортирования, где и удерживать ее также с наперед выбранной ориентацией, при этом для приема и последующего переноса изделия используется простейший элемент – смоченная водой поверхность, что позволяет использовать его в высокоскоростной технологии поверхностного монтажа, при этом надежность приема изделия различной формы существенно зависит от устойчивости выбранной ориентации изделия в зоне формирования строчной последовательности или в зоне приема, а для этого необходимо ввести ограничения на степень его свободы. С другой стороны, для формирования строчной последовательности, например, из одного изделия, которое находится в одном из крайних позиционных положений строчной последовательности, требуется почти полный оборот поверхности транспортирования, что в конечном счете снижает быстродействие автомата поверхностного монтажа, что не желательно.
Технологическим и техническим результатом предложенного изобретения является повышение надежности известного способа и увеличение скоростных параметров путем введения дополнительных операций, в частности, изделия подают путем сброса их в средней части поверхности транспортирования, где и располагают зону приема с возможностью смещения вдоль формируемой строчной последовательности до крайнего позиционного положения как вправо, так и влево, при этом в зону приема изделие строчной последовательности подают с продольной ориентацией, после чего осуществляют корректировку поданных изделий по ориентации посредством неподвижной направляющей, которую ориентируют вдоль формируемой строчной последовательности и линейно смещаемой поверхности транспортирования, а после приема изделия и его корректировки ориентации его либо переориентируют путем отклонения или разворота от продольной ориентации с последующим доворотом поверхностью транспортирования до ортогонально ориентированного положения и смещают, либо сразу смещают в позиционное положение архитектурной композиции формируемой строчной последовательности, где и удерживают до приема и переноса изделия на общий носитель для фиксации.
Указанный технологический и технический результат достигается следующими способом и устройством.
Способ ориентирования изделий различной формы при их транспортировании, согласно которому на поверхность транспортирования подают изделия с выходов кассеты с изделиями, после чего изделия смещают в зону формирования строчной последовательности, где изделия удерживаются до момента приема строчной последовательности на элементы переноса, посредством каждого из которых осуществляется перенос изделия строчной последовательности для соответствующей фиксации их на общем носителе, при этом изделия подают путем сброса их на поверхность транспортирования в зону формирования строчной последовательности, указанную зону формирования строчной последовательности располагают с возможностью ее смещения вдоль формируемой строчной последовательности изделий до крайнего позиционного положения указанной строчной последовательности изделий, осуществляют корректировку ориентации поданного изделия посредством неподвижной направляющей, которую ориентируют вдоль формируемой строчной последовательности и линейно смещаемой поверхности транспортирования, после чего изделие либо переориентируют путем отклонения или разворота его, либо сразу смещают в позиционное положение архитектурной композиции формируемой строчной последовательности, где и удерживают до приема и переноса изделия на общий носитель для фиксации.
Устройство ориентирования изделий различной формы при их транспортировании, содержащее поверхность транспортирования, над которой расположены кассеты с изделиями для последовательной подачи изделий на поверхность транспортирования, узел формирования строчной последовательности, совокупность элементов переноса с возможностью смещения, под которой расположен общий носитель для приема изделий строчной последовательности, при этом поверхность транспортирования выполнена в виде транспортной ленты, над которой расположена плоская неподвижная направляющая, толщина которой меньше толщины изделия и грань которой ориентирована вдоль формируемой строчной последовательности, при этом перед средней частью указанной грани плоской неподвижной направляющей расположен указанный узел формирования строчной последовательности в виде двух пластин, которые смещены друг относительно друга с образованием паза, причем противоположные грани двух указанных пластин выполнены ортогонально указанной грани неподвижной направляющей и функционально связаны с шаговым приводом, при этом напротив паза в его исходном положении, за пределами неподвижной направляющей, расположен угловой электромагнитный толкатель с возможностью его смещения внутрь паза для переориентации изделия.
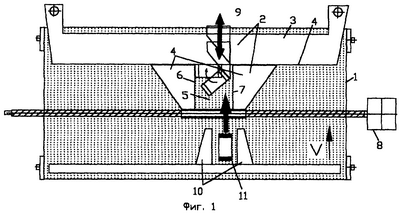
На фиг.1-3 изображено устройство, которое реализует предложенный способ.
Устройство содержит поверхность транспортирования 1, над которой расположены кассеты с изделиями для последовательной подачи их на поверхность транспортирования, узел приема и формирования 2 строчной последовательности, совокупность элементов переноса с возможностью смещения, под которой расположен общий носитель для приема изделий строчной последовательности, при этом поверхность транспортирования 1 выполнена в виде транспортной ленты, над выходе которой расположена плоская неподвижная направляющая 3, толщина которой меньше толщины изделия, передняя грань которой ориентирована вдоль формируемой строчной последовательности и перед которой в ее средней части расположен узел приема 4 в виде двух плоских пластин, которые смещены друг относительно друга на расстояние не меньше диагонали изделия, образуя паз 5, при этом противоположные грани 6 и 7 двух пластин выполнены ортогонально передней грани неподвижной направляющей 3 и функционально связаны с шаговым приводом 8, при этом напротив паза 5 в его исходном положении, за пределами грани 4 неподвижной направляющей 3 расположен угловой электромагнитный толкатель 9 с возможностью смещения вовнутрь паза 5.
Работа предложенного устройства заключается в следующем. На поверхность транспортирования 1 подают изделия с выходов кассеты с изделиями, после чего смещают их в зону приема и формирования 2 строчной последовательности, где и удерживаются они до момента приема ее на элемент переноса, посредством которого осуществляется перенос изделия строчной последовательности для соответствующей фиксации ее на общем носителе, при этом изделия подают путем сброса их в средней части поверхности транспортирования, где и располагают зону приема 2 с возможностью смещения вдоль формируемой строчной последовательности до крайнего позиционного положения как вправо, так и влево фиг.3, при этом в зону приема изделие строчной последовательности подают с продольной ориентацией, после чего осуществляют корректировку поданных изделий по ориентации посредством неподвижной направляющей 10, например в виде паза 11, которую ориентируют вдоль формируемой строчной последовательности и линейно смещаемой поверхности транспортирования 1, а после приема изделия и его корректировки ориентации его либо переориентируют фиг.1 путем отклонения или разворота от продольной ориентации посредством электромагнитного углового толкателя 9 с последующим доворотом поверхностью транспортирования 1 до ортогонально ориентированного положения и смещают аналогично фиг.3, либо сразу смещают в позиционное положение архитектурной композиции формируемой строчной последовательности, где и удерживают до приема и переноса изделия на общий носитель для фиксации. Прием и перенос изделий строчной последовательности осуществляется посредством элемента переноса со смоченной водой поверхностью. При опускании элемента переноса изделие прилипает к смоченной поверхности, а при опускании изделия на общий носитель он переклеивается с элемента переноса на общий носитель, на поверхности которого предварительно была нанесена паяльная паста.
Использование изобретения позволяет повысить надежность работы малогабаритных автоматов поверхностного монтажа с одновременным увеличением его скоростных параметров.
Формула изобретения
1. Способ ориентирования изделий различной формы при их транспортировании, согласно которому на поверхность транспортирования подают изделия с выходов кассеты с изделиями, после чего изделия смещают в зону формирования строчной последовательности, где изделия удерживаются с момента приема строчной последовательности на элементы переноса, посредством каждого из которых осуществляется перенос изделия строчной последовательности для соответствующей фиксации их на общем носителе, отличающийся тем, что изделия подают путем сброса их на поверхность транспортирования в зону формирования строчной последовательности, указанную зону формирования строчной последовательности располагают с возможностью ее смещения вдоль формируемой строчной последовательности изделий до крайнего позиционного положения указанной строчной последовательности изделий, осуществляют корректировку ориентации поданного изделия посредством неподвижной направляющей, которую ориентируют вдоль формируемой строчной последовательности и линейно смещаемой поверхности транспортирования, после чего изделие либо переориентируют путем отклонения или разворота его, либо сразу смещают в позиционное положение архитектурной композиции формируемой строчной последовательности, где и удерживают до приема и переноса изделия на общий носитель для фиксации.
2. Устройство ориентирования изделий различной формы при их транспортировании, содержащее поверхность транспортирования, над которой расположены кассеты с изделиями для последовательной подачи изделий на поверхность транспортирования, узел формирования строчной последовательности, совокупность элементов переноса с возможностью смещения, под которой расположен общий носитель для приема изделий строчной последовательности, отличающееся тем, что поверхность транспортирования выполнена в виде транспортной ленты, над которой расположена плоская неподвижная направляющая, толщина которой меньше толщины изделия и грань которой ориентирована вдоль формируемой строчной последовательности, при этом перед средней частью указанной грани плоской неподвижной направляющей расположен указанный узел формирования строчной последовательности в виде двух пластин, которые смещены относительно друг друга с образованием паза, причем противоположные грани двух указанных пластин выполнены ортогонально указанной грани неподвижной направляющей и функционально связаны с шаговым приводом, при этом напротив паза в его исходном положении за пределами неподвижной направляющей расположен угловой электромагнитный толкатель с возможностью его смещения внутрь паза для переориентации изделия.
РИСУНКИ
|
|