|
| На основании пункта 3 статьи 13 Патентного закона Российской Федерации от 23 сентября 1992 г. № 3517-I патентообладатель обязуется передать исключительное право на изобретение (уступить патент) на условиях, соответствующих установившейся практике, лицу, первому изъявившему такое желание и уведомившему об этом патентообладателя и федеральный орган исполнительной власти по интеллектуальной собственности, – гражданину РФ или российскому юридическому лицу. |
|
(21), (22) Заявка: 2004100082/11, 06.01.2004
(24) Дата начала отсчета срока действия патента:
06.01.2004
(43) Дата публикации заявки: 20.06.2005
(45) Опубликовано: 10.05.2006
(56) Список документов, цитированных в отчете о поиске:
RU 2203209 C1, 27.04.2003. RU 2203210 C1, 27.04.2003. RU 2203212 C1, 27.04.2003. RU 2217365 C1, 27.11.2003. US 6581751 B1, 24.01.2003. US 6527101 B1, 04.03.2003. GB 2201933 A, 14.09.1988. ЕР 0256991 А1, 10.04.1987. ЕР 0857671 А2, 12.01.1998.
Адрес для переписки:
54040, г. Николаев, ул. Крылова, 54, кв.229
|
(72) Автор(ы):
Петренко Лев Петрович (UA)
(73) Патентообладатель(и):
Петренко Лев Петрович (UA)
|
(54) СПОСОБ ОРИЕНТИРОВАНИЯ ИЗДЕЛИЙ РАЗЛИЧНОЙ ФОРМЫ ПРИ ИХ ТРАНСПОРТИРОВАНИИ И УСТРОЙСТВО ДЛЯ ЕГО РЕАЛИЗАЦИИ ИМ. Л.П. ПЕТРЕНКО – ВЕРСИЯ LLVII
(57) Реферат:
Изобретение относится к области радиоэлектронных технологий и может быть использовано при построении принципиально новых малогабаритных автоматов поверхностного монтажа. Способ ориентирования изделий различной формы при их транспортировании заключается в том, что в зоне приема располагают изделия строчных последовательностей для последующего приема и переноса их на общий носитель смоченной поверхностью последовательной совокупностью элементов переноса, которую выполняют с возможностью возвратно-поступательного смещения для приема изделий и установки или фиксации их в соответствующих позиционных положениях на общем носителе. Вращение с последующим возвратом в исходное положение совокупности элементов переноса вокруг общей оси вращения или индивидуальных осей вращения элементов переноса осуществляют путем линейного изменения длины подпружиненных гибких лент, которые функционально связаны с соответствующей осью вращения. 2 н.п. ф-лы, 2 ил.
Изобретение относится к области радиоэлектронных технологий, а именно к способу и устройству ориентирования изделий различной формы, например радиоэлектронных компонентов, при их транспортировании и может быть использовано в малогабаритных автоматах поверхностного монтажа.
Известен способ ориентирования изделий различной формы при их транспортировании (см. заявку № 2001121959 от 07.08.2001 г.), согласно которому формируют строчные последовательности изделий в плоскости вращения с последующим переносом их на общий носитель элементом переноса, при этом вводят дополнительные элементы переноса изделий, образуя совокупность элементов переноса изделий, которые располагают либо в радиальных направлениях, либо в смещенных радиальных направлениях, причем ось вращения совокупности элементов переноса изделий располагают либо компланарно оси вращения одной или двум плоскостям формирования строчной последовательности изделий, либо соосно, над которой или которыми располагают совокупность элементов переноса изделий, при этом общий носитель располагают с возможностью непрерывного или дискретного смещения под сформированной совокупностью элементов переноса изделий и на него осуществляют перенос и фиксацию строчных последовательностей изделий с соответствующих элементов переноса изделий. При этом элемент переноса строчной последовательности изделий со стороны приема строчной последовательности выполняют со смачиваемой поверхностью (прототип).
Известный прототип имеет технологические возможности, которые заключаются в возможности использовать простейший элемент (смачиваемую поверхность) для приема и последующего переноса изделия строчной последовательности на поверхность общего носителя, что позволяет использовать его в технологии поверхностного монтажа, при этом надежность приема изделия различной формы существенно зависит от идентичности перемещения каждого элемента переноса в своей совокупности.
Технологическим и техническим результатом предложенного изобретения является повышение надежности известного способа, в частности, вращение с последующим возвратом в исходное положение зон приема или совокупности элементов переноса вокруг общей оси или индивидуальных осей вращения элементов переноса осуществляют путем линейного изменения в двоичной системе длины подпружиненной гибкой ленты, которая функционально связана с соответствующей осью вращения.
Указанный технологический и технический результат достигается следующими способом и устройством.
Способ ориентирования изделий различной формы при их транспортировании, согласно которому в зоне приема располагают изделия строчных последовательностей для последующего приема и переноса их на общий носитель смоченной поверхностью последовательной совокупностью элементов переноса, которую выполняют с возможностью вращения, при этом каждый из элементов переноса выполняют с возможностью возвратно-поступательного смещения для приема изделий и установки или фиксации их в соответствующих позиционных положениях на общем носителе, при этом вращение с последующим возвратом в исходное положение совокупности элементов переноса вокруг общей оси вращения или индивидуальных осей вращения элементов переноса осуществляют путем линейного изменения длины подпружиненных гибких лент, которые функционально связаны с соответствующей осью вращения.
Устройство ориентирования изделий различной формы при их транспортировании, содержащее узел формирования строчных последовательностей и узел приема и переноса изделий строчной последовательности в виде совокупности элементов переноса со смачиваемой жидкостью поверхностью с возможностью совместного вращения и индивидуального возвратно-поступательного смещения, которые расположены в общем корпусе, узел смачивания элементов переноса, общий носитель, при этом введены гибкие ленты, одна из которых функционально связана с осью вращения узла формирования строчной последовательности, а другая – с осью совокупности элементов переноса, при этом один конец каждой гибкой ленты соединен с упругим элементом с возможностью изменения своей длины, а другой конец закреплен неподвижно, а между ними расположена линейная последовательность, каждый из элементов которой состоит из двух роликов, между которыми расположена гибкая лента, причем один из роликов выполнен с возможностью электромагнитного смещения или разворота относительно другого ролика.
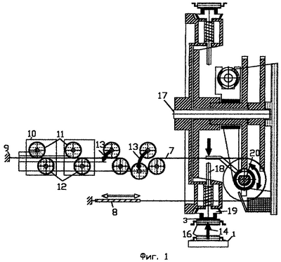
На фиг.1 изображено устройство, которое реализует предложенный способ в зоне узла формирования строчных последовательностей.
На фиг.2 изображено устройство, которое реализует предложенный способ в зоне установки изделий на общий носитель.
Устройство содержит узел формирования строчных последовательностей 1 и узел приема и переноса изделий строчной последовательности в виде совокупности элементов переноса 2 со смачиваемой жидкостью поверхностью 3 с возможностью вращения 4, которые расположены в общем корпусе 5, узел смачивания элементов переноса, общий носитель 6, при этом введена гибкая лента 7, которая функционально связана с осью вращения узла формирования строчной последовательности или осью вращения совокупности элементов переноса 2, один конец которой соединен с упругим элементом 8 с возможностью изменять свою длину, а другой конец 9 закреплен неподвижно, при этом между ними расположена линейная последовательность, каждый из элементов 10 последовательности состоит из двух роликов 11 и 12, между которыми расположена гибкая лента 7, один из роликов 11 выполнен с возможностью электромагнитного смещения или разворота 13 относительно другого ролика 12.
Работа устройства заключается в следующем.
В зоне приема или узле формирования строчных последовательностей 1 располагают кассеты с изделиями с возможностью вращения их для последующего приема 14 и переноса 15 их на общий носитель 6 смоченной поверхностью 3 последовательной совокупностью элементов переноса 2, которую выполняют с возможностью вращения 4, при этом каждый из элементов переноса 2 выполняют с возможностью возвратно-поступательного смещения посредством электромагнита для приема 14 изделий 16 и установки 15 или фиксации их в соответствующих позиционных положениях на общем носителе 6, при этом вращение с последующим возвратом в исходное положение зон приема или совокупности элементов переноса 2 вокруг общей оси 17 или индивидуальных осей вращения 18 элементов переноса 19 осуществляют путем линейного изменения в двоичной системе длины подпружиненной гибкой ленты 7, которая функционально связана с соответствующей осью вращения 20 фиг.1 или 17 фиг.2 путем смещения или разворота посредством электромагнитов роликов 11. Следует отметить, что каждый элемент переноса 19 выполнен с конической зубчатой поверхностью, которая функционально связана с общей зубчатой конической поверхностью (общей конической шестеренкой) 21 для совместного управляемого вращения на угол, под которым необходимо принять (фиг.1) в зоне узла формирования строчных последовательностей 1 или установить (фиг.2) изделие на общий носитель 6. При этом разворот общей конической шестеренки 21 обеспечивает гибкая лента 7 посредством роликов 11, которые по существу уменьшают или увеличивают длину гибкой ленты между неподвижными роликами, и это изменение выполняют в двоичной системе, т.е. каждый последующий ролик 11 уменьшает или увеличивает длину ленты 7 в два раза, что позволяет увеличить динамический диапазон изменения ленты меньшим количеством подвижных роликов 11.
Использование изобретения позволяет повысить надежность работы малогабаритных автоматов поверхностного монтажа с одновременным увеличением скоростных параметров.
Формула изобретения
1. Способ ориентирования изделий различной формы при их транспортировании, согласно которому в зоне приема располагают изделия строчных последовательностей для последующего приема и переноса их на общий носитель смоченной поверхностью последовательной совокупностью элементов переноса, которую выполняют с возможностью возвратно-поступательного смещения для приема изделий и установки или фиксации их в соответствующих позиционных положениях на общем носителе, отличающийся тем, что вращение с последующим возвратом в исходное положение совокупности элементов переноса вокруг общей оси вращения или индивидуальных осей вращения элементов переноса осуществляют путем линейного изменения длины подпружиненных гибких лент, которые функционально связаны с соответствующей осью вращения.
2. Устройство ориентирования изделий различной формы при их транспортировании, содержащее узел формирования строчных последовательностей и узел приема и переноса изделий строчной последовательности в виде совокупности элементов переноса со смачиваемой жидкостью поверхностью с возможностью совместного вращения и индивидуального возвратно-поступательного смещения, которые расположены в общем корпусе, узел смачивания элементов переноса, общий носитель, отличающееся тем, что введены гибкие ленты, одна из которых функционально связана с осью вращения узла формирования строчной последовательности, а другая – с осью совокупности элементов переноса, при этом один конец каждой гибкой ленты соединен с упругим элементом с возможностью изменения своей длины, а другой конец закреплен неподвижно, а между ними расположена линейная последовательность, каждый из элементов которой состоит из двух роликов, между которыми расположена гибкая лента, причем один из роликов выполнен с возможностью электромагнитного смещения или разворота относительно другого ролика.
РИСУНКИ
|
|