|
|
(21), (22) Заявка: 2004127161/12, 23.08.2004
(24) Дата начала отсчета срока действия патента:
23.08.2004
(45) Опубликовано: 27.04.2006
(56) Список документов, цитированных в отчете о поиске:
БАЛАЕВ Л.Г. Мелиорация и сельское хозяйство. Справочник. – М.: Агропромиздат, 1984, с.89, рис.2.17. SU 1658836 A1, 30.06.1991. RU 2131649 C1, 20.06.1990. RU 2050080 C1, 20.12.1995. SU 1173939 А, 23.08.1985.
Адрес для переписки:
655019, Хакасия, г. Абакан, а/я 709, НИИ АПХ
|
(72) Автор(ы):
Тютюкин Виктор Федорович (RU), Агибалов Борис Иванович (RU), Иванов Олег Анатольевич (RU), Сырников Владимир Иванович (RU)
(73) Патентообладатель(и):
Научно-исследовательский институт аграрных проблем Хакасии (RU)
|
(54) ПЛУЖНЫЙ ЛОЖБИНОДЕЛАТЕЛЬ
(57) Реферат:
Изобретение предназначено для строительства безуклонных ложбин при поливе сельскохозяйственных культур по широким длинным полосам и может быть использовано в сельскохозяйственном машиностроении. Устройство содержит раму, выполненную с вертикальной стойкой. В нижней части стойки имеется пятка, расположенная под углом 15…25° относительно горизонтали. К пятке прикреплена плоская лапа с углом раствора 125…135°. Лапа оборудована левым и правым лемехами и рыхлящим устройством в виде зуба. К стойке и плоскости лапы прикреплены левый и правый отвалы, выполненные с цилиндрическими поверхностями, оборудованные лыжами. На концах отвалов выполнены полувинтовые открылки. Стойка может быть оборудована регулировочным винтом для поворота ее в вертикальной плоскости вокруг оси. Рама снабжена автосцепкой для агрегатирования с трактором. После настройки устройства нарезку ложбины производят в “плавающем положении” гидросистемы трактора. При этом срезаемый слой почвы лемехами перемещается вверх по внутренним поверхностям левого и правого отвалов и с помощью отвалообразователей и полувинтовых открылков окончательно формирует профиль ложбины за один проход. Такое конструктивное выполнение позволит повысить производительность и качество строительства безуклонных ложбин для поверхностного полива сельскохозяйственных культур по широким и длинным полосам. 6 ил.
Изобретение относится к устройствам для строительства безуклонных ложбин при поливе сельскохозяйственных культур по широким длинным полосам, проходимых сельскохозяйственными машинами поперечного профиля на почвах тяжелосуглинистого и супесчаного механического состава.
Известно устройство, содержащее раму, снабженную автосцепкой, вертикальную стойку, левый и правый лемеха, образующие плоскую лапу, имеющую левый и правый отвалы, левые и правые разравнивающие открылки, опорную лыжу (кн. Л.Г.Балаев Справочник. Мелиорация и сельское хозяйство. М.: “Лесная промышленность”, 1984. С.89, рис.2.17).
Однако это устройство в целом малопригодно для нарезки безуклонных ложбин. Оно предназначено для формирования выемки глубиной 0,5 м с коэффициентом заложения откосов 1:1 (временных оросителей для подачи воды к поливному участку). Основные элементы этой конструкции выполняют следующие функции: подъемные рабочие поверхности перемещают изымаемый грунт вверх; отвалообразователи сваливают грунт, образуя насыпь; заглаживающие открылки выравнивают и заглаживают кусковатую форму грунта насыпи, окончательно формируя профиль канала.
Предлагаемое устройство предназначено для формирования выемки глубиной 0,10…0,15 м с коэффициентом заложения откосов 1:5 (ложбин для реализации технологии поверхностного полива по полосам, фиг.6). Так как глубина выемки составляет (0,10…0,15 м) лемеха выполняют одновременно функции резания и подъемных рабочих поверхностей. В связи с тем, что устройство работает в скоростном режиме (5…10 км/ч) отвалы и открылки выполняют функцию разбрасывания (распределения) вынутого грунта (насыпи) для получения ожидаемого эффекта (фиг.6). При этом установленные на отвалах опорные лыжи обеспечивают глубину врезания и устойчивость устройства, что позволяет качественно выполнить форму ложбины.
Предлагаемый плужный ложбиноделатель содержит раму, снабженную автосцепкой, вертикальную стойку, левый и правый лемеха, образующие плоскую лапу, имеющую левый и правый отвалы, опорную лыжу и разравнивающие открылки. На нижнем конце стойки установлена пятка, расположенная под углом 15°…25° к горизонтальной плоскости, а плоская лапа закреплена на пятке и выполнена с углом раствора 125°…135°.
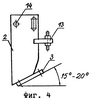
На фиг.1 показано предлагаемое устройство, вид спереди; на фиг.2 – то же, вид сверху; на фиг.3 – то же, вид сбоку; на фиг.4 изображена конструктивная схема вертикальной стойки; на фиг.5 показана конструкция плоской лапы; на фиг.6 – поперечный разрез безуклонной ложбины для полива сельскохозяйственных культур по широким длинным полосам.
Устройство состоит из рамы 1, вертикальной стойки 2, на нижней части которой установлена пятка 3, расположенная под углом =15°…25° к горизонтальной плоскости. На пятке закреплена плоская лапа 16, выполненная с углом раствора =125°…135°, оборудованная левым и правым лемехами 4, 5 и рыхлящим устройством в виде зуба 6. К стойке и плоскости лапы прикреплены левый и правый отвалы, выполненные с цилиндрическими поверхностями 7 и 8, оборудованные лыжами 9, 10. На концах отвалов выполнены полувинтовые открылки 11 и 12. Стойка может быть оборудована регулировочным винтом 13 для поворота ее в вертикальной плоскости вокруг оси 14, рама снабжена автосцепкой 15.
Работает устройство следующим образом. Автосцепку 15 соединяют с механизмом навески трактора (не показан), которая позволяет устанавливать устройство в рабочее и транспортное положение. Далее, включают гидросистему трактора на установку устройства в рабочее положение и с помощью регулировочного винта 13 поворачивают стойку 2 вокруг оси 14, устанавливая оптимальный угол подрезания почвы для лемехов 4 и 5. После настройки устройства гидросистему переводят в “плавающее положение” и начинают движение трактора. Нарезку ложбины производят в “плавающем положении” гидросистемы трактора. С помощью зуба 6 и лемехов 4, 5 устройство заглубляется на требуемую глубину ложбины, например по фиг.6. Глубина врезания устройства ограничивается опорными лыжами 9, 10. При этом срезаемый слой почвы лемехами 4, 5 перемещается вверх по внутренним поверхностям левого и правого отвалов и с помощью отвалообразователей 7, 8 и полувинтовых открылков 11, 12 окончательно формирует профиль ложбины за один проход.
Предлагаемое навесное устройство позволяет повысить производительность и качество строительства безуклонных ложбин для поверхностного полива сельскохозяйственных культур по широким и длинным полосам.
Формула изобретения
Плужный ложбиноделатель, содержащий раму, снабженную автосцепкой, вертикальную стойку, левый и правый лемеха, образующие плоскую лапу, имеющую левый и правый отвалы, опорную лыжу и разравнивающие открылки, отличающийся тем, что на нижнем конце стойки установлена пятка, расположенная под углом 15÷25° к горизонтальной плоскости, а плоская лапа закреплена на пятке и выполнена с углом раствора 125÷135°.
РИСУНКИ
MM4A – Досрочное прекращение действия патента СССР или патента Российской Федерации на изобретение из-за неуплаты в установленный срок пошлины за поддержание патента в силе
Дата прекращения действия патента: 24.08.2009
Извещение опубликовано: 27.05.2010 БИ: 15/2010
NF4A Восстановление действия патента СССР или патента Российской Федерации на изобретение
Дата, с которой действие патента восстановлено: 27.05.2010
Извещение опубликовано: 27.05.2010 БИ: 15/2010
|
|