|
|
(21), (22) Заявка: 2004104345/09, 08.02.2002
(24) Дата начала отсчета срока действия патента:
08.02.2002
(30) Конвенционный приоритет:
31.10.2001 US 60/335,785
(43) Дата публикации заявки: 27.06.2005
(45) Опубликовано: 20.04.2006
(56) Список документов, цитированных в отчете о поиске:
SU 970566 A, 30.10.1992. US 5621299 A, 15.04.1997. EP 1122873 A2, 08.08.2001.
(85) Дата перевода заявки PCT на национальную фазу:
12.02.2004
(86) Заявка PCT:
US 02/03542 (08.02.2002)
(87) Публикация PCT:
WO 03/038981 (08.05.2003)
Адрес для переписки:
129010, Москва, ул. Б. Спасская, 25, стр.3, ООО “Юридическая фирма Городисский и Партнеры”, пат.пов. Ю.Д.Кузнецову, рег.№ 595
|
(72) Автор(ы):
МАКДОНАЛЬД Гилберт (US), СМИТ Скотт (US)
(73) Патентообладатель(и):
МОБИЛИТИ ЭЛЕКТРОНИКС ИНК. (US)
|
(54) ИСТОЧНИК ПИТАНИЯ С ДВУМЯ ВХОДАМИ ПО ПЕРЕМЕННОМУ И ПОСТОЯННОМУ ТОКУ С ПРОГРАММИРУЕМЫМ ВЫХОДОМ ПО ПОСТОЯННОМУ ТОКУ, ИСПОЛЬЗУЮЩИЙ ВТОРИЧНЫЙ ПОНИЖАЮЩИЙ ПРЕОБРАЗОВАТЕЛЬ
(57) Реферат:
Предлагается силовой преобразователь (10) с двумя входами по постоянному/переменному току, имеющий сдвоенный вход (12, 14), служащий для приема входного напряжения как переменного, так и постоянного тока и с выбираемым выходом (16) для напряжения постоянного тока и вторым выходом (18) постоянного тока. Силовой преобразователь (10) содержит схему (20) силового преобразователя, включающую в себя преобразователь (22) переменного тока в постоянный, повышающий преобразователь (24) постоянного тока, схему (26) обратной связи, схему (25) фильтра и понижающий преобразователь (28) постоянного тока. Силовой преобразователь (10) позволяет решить многие проблемы организации работы системы, связанные с необходимостью использования полного набора различных интерфейсных компонент, необходимых для питания мобильных устройств различного типа от источника питания либо переменного тока, либо постоянного тока. Кроме того, силовой преобразователь (10) также содержит два вывода (16/18) выходного напряжения, что позволяет одновременно обеспечить питание множества мобильных устройств с разными требованиями по питанию от единого преобразователя, что является техническим результатом. 24 з.п. ф-лы, 3 ил. 
Перекрестная ссылка на родственные заявки
Настоящая заявка соответствует и имеет приоритет переуступленной патентной заявки США №10/005961, поданной 3 декабря 2001 года, содержание которой включено в данное описание в виде ссылки.
Область техники, к которой относится изобретение
Настоящее изобретение относится к области силовых преобразователей и, в частности, касается силового преобразователя с двумя входами по переменному и постоянному току и программируемым выходом по постоянному току.
Предшествующий уровень техники
Широкое использование мобильных электронных изделий, таких как персональные ноутбуки, персональные цифровые информационные устройства (PDA), сотовые телефоны и т.п., сопровождается повышенным спросом на недорогие и компактные источники питания, предназначенные для питания и подзарядки вышеуказанных изделий. Большинство производителей мобильных изделий, как правило, снабжают мобильные изделия вставными адаптерами питания.
Современные адаптеры питания обычно представляют собой силовые преобразователи переменного тока в постоянный или постоянного тока в постоянный, причем их конфигурация обеспечивает либо повышение, либо понижение входного напряжения постоянного тока, подаваемого на мобильное устройство. При использовании, например, адаптеров, преобразующих переменный ток в постоянный, пользователи могут обеспечить питание большинства мобильных устройств, вставив адаптер в стандартную настенную розетку переменного тока, которая имеется, как правило, в большинстве домов или офисов. Аналогично, при наличии входного питания только по постоянному току, как это имеет место в автомобиле или самолете, пользователи могут обеспечить питание своих мобильных устройств, используя стандартный серийный адаптер постоянного тока. Как правило, адаптеры обоих типов разрабатываются и адаптируются с возможностью получения регулируемого выходного напряжения постоянного тока, в диапазоне от 5 В постоянного тока до 30 В постоянного тока в зависимости от вида мобильного устройства.
Хотя упомянутые адаптеры питания и обеспечивают возможность непосредственного питания и подзарядки, пользователям зачастую приходится иметь при себе автономные адаптеры для питания каждого отдельно взятого мобильного устройства. Зачастую это означает, что пользователи вынуждены иметь при себе несколько адаптеров: одного типа – в качестве источника питания с входом по переменному току и другого типа – в качестве источника питания с входом по постоянному току; кроме того, пользователи обычно используют несколько адаптеров для обеспечения питания нескольких устройств. Таким образом, используя одновременно более одного устройства, пользователи мобильных устройств вынуждены использовать несколько громоздких адаптеров питания.
Соответственно, существует потребность в силовом преобразователе, который позволяет решить проблемы, связанные с необходимостью использования всего набора различных элементов источников питания, необходимых для обеспечения питания множества мобильных или портативных устройств различных типов. Преимущество такого силового преобразователя состоит в том, что он может обслужить несколько разнотипных мобильных устройств, обеспечивая подачу отфильтрованного и стабилизированного выходного напряжения постоянного тока, имея на входе напряжение переменного либо постоянного тока. Кроме того, преобразование входного питания или наличие множества выходных выводов дает пользователям возможность обеспечить одновременное питание нескольких мобильных устройств с различными требованиями по питанию независимо от того, является ли входное напряжение переменным или постоянным.
Сущность изобретения
Настоящее изобретение обеспечивает технические преимущества, действуя в качестве силового преобразователя с возможностью предоставления двух выходных напряжений постоянного тока, получаемых либо из входного напряжения переменного тока, либо из входного напряжения постоянного тока. Силовой преобразователь может быть запрограммирован извне для работы в широком диапазоне комбинаций напряжения и тока, адаптированных для широкого круга различных мобильных устройств, предлагаемых рынком. Кроме того, силовой преобразователь позволяет решить проблемы организации работы устройств, связанные с необходимостью иметь несколько различных интерфейсных компонентов, требующихся для питания широкого спектра разнородных мобильных устройств. Имея возможность подсоединения к двум выходным напряжениям, пользователи мобильных устройств могут одновременно обеспечивать питание множества мобильных устройств с разными техническими требованиями по питанию.
Согласно предпочтительному варианту осуществления изобретение представляет собой силовой преобразователь, имеющий первую схему, выполненную с возможностью приема входного напряжения переменного тока и выработки первого программируемого выходного напряжения постоянного тока. Силовой преобразователь включает в себя вторую схему, приспособленную для получения второго программируемого выходного напряжения постоянного тока, при подаче на ее вход напряжения постоянного тока. Силовой преобразователь также включает в себя третью схему, которая при подаче на ее входы первого и второго напряжений постоянного тока формирует на первом выходе выходное напряжение постоянного тока с требуемым значением. Кроме того, третья схема обычно содержит схему обратной связи и приспособлена для взаимодействия со съемным программным модулем. Наличие такого программного модуля позволяет пользователям силового преобразователя избирательно устанавливать уровень выходного напряжения постоянного тока. Силовой преобразователь также включает в себя четвертую схему, которая соединена с первым выходом. Четвертая схема обеспечивает второе выходное напряжение постоянного тока в виде второго выхода, который не зависит и существенно ниже выбираемого выходного напряжения постоянного тока.
В другом варианте изобретение представляет собой способ формирования по меньшей мере двух выходных напряжений постоянного тока, выбираемых независимо, при подаче на вход устройства напряжения переменного тока или напряжения постоянного тока. Указанный способ реализуется посредством действия, состоящего в преобразовании выбранного входного напряжения переменного тока или постоянного тока в первое программируемое выходное напряжение постоянного тока на первом выходе. Вслед за упомянутым действием по преобразованию выполняется действие по приему, при котором схема преобразования принимает первое выходное напряжение постоянного тока. Схема преобразования инициирует действие, состоящее в создании второго выходного напряжения постоянного тока, которое не зависит от программируемого выходного напряжения постоянного тока и существенно меньше него.
Краткое описание чертежей
Преимущества изобретения и конкретные варианты его осуществления станут понятными из последующего подробного описания предпочтительных вариантов его осуществления со ссылками на фигуры чертежей, в числе которых:
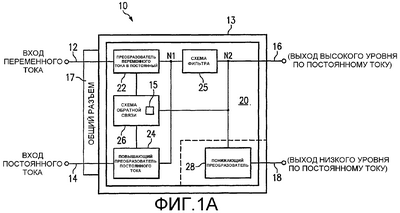
Фиг.1А изображает блок-схему силового преобразователя с двумя входами по переменному и постоянному току с напряжением постоянного тока на выходе согласно настоящему изобретению;
Фиг.1В – поэлементное изображение преобразователя со съемной понижающей схемой;
Фиг.2 – схему силового преобразователя, показанного на фиг.1, согласно настоящему изобретению; и
Фиг.3 – подробную схему понижающего преобразователя постоянного тока согласно настоящему изобретению.
Подробное описание предпочтительного варианта осуществления изобретения
Целый ряд новых решений, предложенных в настоящем изобретении, будет описан со ссылками на предпочтительные варианты его осуществления. Однако следует иметь в виду, что указанные варианты представляют лишь часть из множества возможных применений изобретения. Сформулированные в данном описании положения в общем случае не требуют установления какого-либо разграничения с другими заявленными изобретениями. Кроме того, ряд положений можно применить к одним признакам изобретения, но нельзя применить к другим.
На фиг.1А показана блок-схема силового преобразователя 10 с двумя входами (по переменному/постоянному току), имеющего два программируемых выходных напряжения постоянного тока, согласно настоящему изобретению. Силовой преобразователь 10 в предпочтительном варианте содержит схему 20 силового преобразователя, включающую в себя преобразователь 22 переменного тока в постоянный, повышающий преобразователь 24 постоянного тока, схему 26 обратной связи, схему 25 фильтра и понижающий преобразователь 28 постоянного тока.
Как видно из указанного чертежа, схема 20 силового преобразователя размещена в корпусе 13 и обеспечивает получение первого программируемого выходного напряжения постоянного тока на выходном выводе 16 и второго программируемого выходного напряжения постоянного тока на выводе 18. Оба указанных выходных напряжения постоянного тока могут формироваться в функции напряжений как переменного, так и постоянного тока.
В процессе работы преобразователь 22 переменного тока в постоянный принимает сигнал переменного тока со входного вывода 12 и обеспечивает регулируемое выходное напряжение постоянного тока в узловой точке N1.
Входные выводы 12 и 14 интегрированы в одном общем разъеме 17, так что к общему разъему 17 подводятся различные силовые кабели, приспособленные для приема входного питания от различных источников. Например, питание по постоянному току от источника питания самолета или автомобиля подводится по проводам к входу 12, а источник переменного тока подсоединяется проводами к входу 14. В выбранном варианте преобразователь 22 переменного тока в постоянный приспособлен для формирования выходного напряжения постоянного тока в диапазоне от 15 В постоянного тока до 24 В постоянного тока при подаче на вход напряжения переменного тока на вывод 12, значение которого лежит в диапазоне от 90 В переменного тока до 265 В переменного тока. Аналогично, повышающий преобразователь 24 постоянного тока приспособлен для формирования выходного напряжения постоянного тока, которое по существу подобно напряжению преобразователя 22, но формируется при подаче на вход напряжения постоянного тока, подаваемого на входной вывод 14. Повышающий преобразователь 24 постоянного тока выполнен с возможностью приема напряжения в диапазоне от 11 до 16 В постоянного тока. Преимущество его использования состоит в том, что преобразование переменного тока в постоянный посредством преобразователя 22 переменного тока в постоянный позволяет пользователям силового преобразователя 10 обеспечить питание мощных мобильных устройств, таких как компьютер “лэптоп”, при наличии входного питания по переменному току, как это имеет место, например, в доме или офисе. Напротив, повышающий преобразователь 24 постоянного тока силового преобразователя 10 способен обеспечить питание аналогичных мощных устройств путем существенного повышения напряжения входных сигналов постоянного тока низкого уровня, например, сигналов, которые имеют место в автомобильном и/или самолетном оборудовании.
Как показано на фиг.1А, вход схемы 25 фильтра связан с соответствующими выходами преобразователей 22 и 24. В предпочтительном варианте осуществления схема фильтра приспособлена для получения отфильтрованного выходного напряжения постоянного тока во второй узловой точке N2, которое подается затем на выходной вывод 16, например, с выходной мощностью 75 Вт.
На чертеже показано, что к выходу схемы 25 фильтра в узловой точке N2 подсоединена схема 26 обратной связи. В предпочтительном варианте осуществления схема 26 обратной связи через единый контур обратной связи обеспечивает регулирование уровня отфильтрованного выходного напряжения постоянного тока, сформированного обоими преобразователями 22 и 24. Кроме того, схема 26 обратной связи приспособлена для размещения в ней съемного программирующего модуля, который позволяет пользователям мобильных устройств обеспечить выбираемое выходное напряжение постоянного тока на выходе 16 через узловую точку N2. Программирующий модуль содержит переключатель 15, содержащий резистор, причем значения сопротивления резистора определяют соответствующие выходные напряжения постоянного тока на выходе 16. Пользователям предоставляется возможность избирательного изменения уровня отфильтрованного выходного напряжения постоянного тока, что позволяет настроить силовой преобразователь 10 для питания множества разнотипных мобильных электронных устройств, предъявляющих разные требования к питанию. Кроме того, программирующий модуль силового преобразователя 10 можно также настроить таким образом, чтобы он выполнял дополнительную функцию ограничения выходного тока.
Вход понижающего преобразователя 28 постоянного тока соединен с узловой точкой N2, обеспечивая второе выходное напряжение постоянного тока, которое затем подается на выходной вывод 18 с выходной мощностью, например, 10 Вт. Предпочтительно, чтобы понижающий преобразователь 28 мог дискретно понижать отфильтрованное напряжение постоянного тока и формировать второе выходное напряжение постоянного тока на отдельном выходном выводе 18. В выбранном варианте понижающий преобразователь 28 понижает отфильтрованное выходное напряжение постоянного тока до значений в диапазоне примерно от 3 до 15 В постоянного тока. Преимуществом является то, что указанное второе выходное напряжение постоянного тока, сформированное преобразователем 28, не зависит от выходного напряжения постоянного тока на выводе 16 и существенно ниже него. Это позволяет пользователям настоящего изобретения обеспечить питание не только мощного периферийного устройства, такого как компьютер типа лэптоп, но также и второго, маломощного периферийного устройства, такого как сотовый телефон, PDA и т.п. Кроме того, настоящее изобретение позволяет обеспечить одновременное питание этих периферийных устройств от единого преобразователя независимо от того, является ли входное напряжение переменным или постоянным. Понижающий преобразователь 28 является съемным, что обеспечивает его физическое отделение от основного корпуса 13, как показано на фиг.1В, и позволяет избирательно подсоединять к корпусу 13 различные схемы понижения напряжения, обеспечивающие различные выходные напряжения, и обеспечить отвод выходного напряжения постоянного тока с выходного вывода 18.
На фиг.2 показана схема 20 силового преобразователя, входящая в состав силового преобразователя 10 с двумя входами по постоянному/переменному току, показанного на фиг.1, согласно примерному варианту настоящего изобретения. Как будет показано ниже, схема 20 силового преобразователя согласно предпочтительному варианту содержит три отдельных преобразователя: силовой преобразователь 22 переменного тока в постоянный, повышающий преобразователь 24 постоянного тока и понижающий преобразователь 28 постоянного тока.
Преобразователь переменного тока в постоянный
Силовой преобразователь 22 переменного тока в постоянный включает в себя автономный переключатель, который сконфигурирован согласно “обратноходовой” топологии (fly-back topology). Двухполупериодное выпрямление входного сигнала переменного тока, подаваемого на входной вывод 12, реализуется с использованием двухполупериодного мостового выпрямителя BD1 и фильтрующего конденсатора С1, формирующего шину постоянного тока, от которой приводится в действие переключатель. Катушка индуктивности L1 обеспечивает дополнительную фильтрацию радиопомех (EMI) сигнала переменного тока после его выпрямления посредством двухполупериодного моста. Преобразователь 22 переменного тока в постоянный также включает в себя главный контроллер IC1, сконфигурированный в виде широтно-импульсного модулятора (PWM), работающего в токовом режиме. Конфигурация главного контроллера IC1 также обеспечивает несимметричный выход с подсоединенным к нему бестрансформаторным двухтактным транзисторным каскадом. Силовой преобразователь 22 переменного тока в постоянный имеет главный силовой ключ Q1, который приводит в действие главный трансформатор Т1. В предпочтительном варианте трансформатор Т1, диод Шотки D11 и фильтрующие конденсаторы С24 и С25 объединены, обеспечивая в узловой точке N1 выходное напряжение постоянного тока.
Как было отмечено ранее, схема 25 фильтра позволяет обеспечить дополнительную фильтрацию выходного напряжения постоянного тока, получаемого от узловой точки N1. Схема 25 фильтра содержит катушку индуктивности L3, конденсатор С26 и трансформатор NF1. Преимуществом является то, что схема 25 фильтра формирует отфильтрованное выходное напряжение постоянного тока на выходе 16 с полным размахом напряжения шума и пульсаций менее 100 мВ.
Схема 26 обратной связи через единый контур обратной связи выполнена с возможностью регулировать отфильтрованные выходные напряжения постоянного тока, формируемые преобразователями 22 и 24. Схема 26 обратной связи также приспособлена для соединения со съемным программирующим модулем с переключателем 15, содержащим резистор R53. Настоящее изобретение позволяет пользователям избирательно программировать выходное напряжение постоянного тока, поступающее затем на выходной вывод 16. Схема 26 обратной связи включает в себя оптронную схему, содержащую пару оптронов PH1 и PH3, соединенных последовательно (то есть в виде сборки), причем каждый оптрон соединен с выходами операционных усилителей IC4-A и IC4-B. Преимущество данной схемы состоит в том, что оптроны скомпонованы в контуре обратной связи схемы 26 обратной связи. Вдобавок, схема 26 обратной связи эффективно регулирует отфильтрованные выходные напряжения постоянного тока, сформированные обоими преобразователями 22 и 24, через единый контур обратной связи. При использовании оптронной сборки настоящее изобретение также позволяет силовому преобразователю 10 поддерживать необходимую развязку между соответствующими входными выводами 12 и 14 и выходным выводом 16.
Предпочтительно, чтобы функция ограничения выходного тока преобразователя 22 выполнялась посредством интегральной схемы IC4A, резисторов R33, R37, R38 и R39 и программирующего резистора R54.
Защита от перенапряжения преобразователя 22 переменного тока в постоянный достигается путем использования оптрона PH2 и стабилитрона ZD2. В предпочтительном варианте осуществления стабилитрон Z2 имеет напряжение стабилизации 25 В, так что в режиме лавинного пробоя транзисторная часть оптрона PH2 вызывает переход транзистора Q1 в открытое состояние. В открытом состоянии транзистор Q3 понижает уровень напряжения на штырьковом выводе 1 интегрального контроллера IC1 и сводит рабочий цикл интегрального контроллера к 0%. Это приводит к тому, что выходное напряжение постоянного тока оказывается равным 0. Когда транзистор Q1 открыт, транзистор Q2 тоже открывается, в результате чего эти два транзистора Q1 и Q2 переходят в стационарный режим. Если режим транзисторов Q1 и Q2 фиксирован, то для повторного включения силового преобразователя 10 необходимо вновь подать питание на его вход.
Преобразователь постоянного тока
Преобразователь 24 постоянного тока сконфигурирован в соответствии с топологией вольтодобавки, используемой для повышения напряжения, причем в нем применяется интегральный контроллер IC2 того же типа, что и в преобразователе 22. В преобразователе 24 постоянного тока транзистор Q8 действует как основной силовой ключ, а диод D6 как основной выпрямитель. Катушка индуктивности L2 предпочтительно приспособлена для функционирования в качестве индуктора вольтодобавки, содержащего катушку индуктивности с тороидальным сердечником. Катодные выводы диодов D11 и D8 соединены таким образом, что они образуют логическую конфигурацию ИЛИ, для которой требуется только один выходной фильтр. Преимуществом является то, что такое решение устраняет необходимость иметь на плате дополнительное место для второго набора фильтрующих конденсаторов.
Как и в случае с преобразователем 22 переменного тока в постоянный, преобразователь 24 постоянного тока также предназначен для работы на частоте порядка 80 кГц. Для преобразователя 22 переменного тока в постоянный рабочая частота устанавливается с помощью резистора R13 и конденсатора С7. Аналогично рабочая частота преобразователя 24 постоянного тока устанавливается резистором R28 и конденсатором С28.
Схема 25 фильтра включает в себя схему защиты от перенапряжения, содержащую стабилитрон ZD2, резисторы R23, R24, R48, транзистор Q4 и триодный тиристор SC1. Стабилитрон ZD2 определяет точку защиты от перенапряжения (OVP), которая предпочтительно устанавливается равной 25 B постоянного тока. Обычно через резистор R48 ток не протекает. Однако если стабилитрон ZD2 начинает проводить ток, падение напряжения на резисторе R48 оказывается достаточным для открывания транзистора Q6, что вызывает повышение напряжения на выводе его коллектора и открывание тем самым триодного тиристора SC1. Открывание триодного тиристора SC1 вызывает снижение напряжения на штырьковом выводе 1 интегрального контроллера IC2. Таким образом, если сигнал на выводе 1 интегрального контроллера IC2 имеет низкий уровень, его выходные усилители переводятся в режим работы с рабочим циклом 0%, в результате чего на выводе 6 формируется выходное напряжение постоянного тока, равное 0. Преимуществом является то, что триодный тиристор SC1 функционирует как схема-защелка; при этом для включения силового преобразователя 10 потребуется повторное подключение питания на входе, если в узловой точке N1 обнаружено напряжение, превышающее 25 В постоянного тока.
Температура корпуса 13 силового преобразователя 10 контролируется с использованием термистора NTC3. При увеличении температуры корпуса 13 уменьшается значение сопротивления термистора NTC3, что вызывает открывание транзистора Q9 и снижение уровня сигнала на выводе 1 интегральной схемы IC2 преобразователя 24. Кроме того, это приведет к смещению оптрона PH2, достаточному для срабатывания схемы-защелки, содержащей транзисторы Q1 и Q2, которая отключит силовой преобразователь 22. Вдобавок, функция тепловой защиты силового конвертора 10 реализуется независимо от того, какое входное напряжение (переменного тока или постоянного тока) подается на соответствующие входные выводы.
На фиг.3 подробно показана схема понижающего преобразователя 28 постоянного тока согласно настоящему изобретению. Понижающий преобразователь 28, как и преобразователи 22 и 24, имеет контроллер IC1 в интегральном исполнении, который приспособлен для формирования рабочего цикла включенного состояния для силового транзисторного ключа Q1. Рабочая частота контроллера IC1 определяется конденсатором С6, который подключен между выводом 4 интегральной схемы IC1 и землей, и резистором R1, который подсоединен между выводами 4 и 8. В выбранном варианте диод D1 содержит диод Шотки и действует как ограничительный диод. Катушка индуктивности L1 является индуктором выходной мощности, через который затвор силового транзистора Q1 связан с выводом Vout. На фиг.3 показано, что между выводом Vin и выводом стока силового транзистора Q1 подсоединен плавкий предохранитель F1, обеспечивающий токовую защиту понижающего преобразователя 28.
Кроме того, вход Vin понижающего преобразователя 28 подсоединен в узловой точке N2 к выходу схемы 25 фильтра, причем на вывод Vin поступает с нее отфильтрованное выходное напряжение постоянного тока. В предпочтительном варианте осуществления понижающий преобразователь 28 формирует второе выходное напряжение постоянного тока на выходе Vout, которое подводится к выходному выводу 18. Преимуществом является то, что понижающий преобразователь 28 понижает отфильтрованное выходное напряжение постоянного тока и вырабатывает второе выходное напряжение постоянного тока на выходном выводе 18, которое не зависит и существенно ниже выходного напряжения постоянного тока на выходном выводе 16. Аналогично выходное напряжение постоянного тока понижающего преобразователя 28 позволяет пользователям обеспечить питание маломощных периферийных устройств, таких как сотовые телефоны, устройства PDA и/или аналогичные мобильные устройства. В выбранном варианте понижающий преобразователь 28 также можно приспособить для получения на выходном выводе 18 выходного напряжения постоянного тока в диапазоне от 3 до и 15 В постоянного тока, которое избирательно определяется в зависимости от выбранного значения резистора R1, используемого в конкретном понижающем преобразователе 28, при этом общий отбор мощности может составить, например, 10 Вт. Как было упомянуто ранее, понижающий преобразователь 28 может быть размещен в отдельном съемном программном модуле, который позволяет пользователям избирательно программировать выходное напряжение постоянного тока на выводе 18 в зависимости от различных модулей, связанных с понижающим преобразователем.
Хотя данное изобретение было описано применительно к определенным предпочтительным вариантам его осуществления, специалистам в данной области техники после прочтения настоящей заявки станут очевидными его многочисленные варианты и модификации. Таким образом, предполагается, что прилагаемая формула изобретения должна интерпретироваться с учетом известного уровня техники как можно шире, включая все указанные варианты и модификации.
Формула изобретения
1. Силовой преобразователь (10), содержащий первую схему (22), преобразующую входное напряжение (12) переменного тока в первое выходное напряжение постоянного тока; вторую схему (24), преобразующую входное напряжение (14) постоянного тока во второе выходное напряжение постоянного тока; третью схему (25), на которую подают первое и второе выходные напряжения постоянного тока, выполненную с возможностью получения на ее первом выходе (16) выбираемого выходного напряжения постоянного тока, причем выбираемое выходное напряжение постоянного тока устанавливают в зависимости от съемного программного модуля (15).
2. Силовой преобразователь по п.1, в котором первая схема и вторая схема выполнены с возможностью приема, соответственно, входного напряжения переменного тока и входного напряжения постоянного тока с единого общего разъема (17).
3. Силовой преобразователь по п.1, в котором съемный программный модуль содержит пассивную компоненту (R53), причем выбираемое выходное напряжение постоянного тока зависит от значения пассивной компоненты.
4. Силовой преобразователь по п.3, в котором пассивной компонентой является резистор (R53).
5. Силовой преобразователь по п.1, в котором третья схема включает в себя схему (26) обратной связи, соединенную с первой схемой и второй схемой, причем схема обратной связи регулирует первое и второе выходные напряжения постоянного тока, сформированные соответственно первой и второй схемами.
6. Силовой преобразователь по п.5, в котором схема обратной связи содержит единый контур обратной связи.
7. Силовой преобразователь по п.1, в котором первое и второе выходные напряжения по существу равны и поступают на общую узловую точку (N1).
8. Силовой преобразователь по п.1, дополнительно содержащий четвертую схему (28), соединенную с третьей схемой и выполненную с возможностью подачи второго выходного напряжения постоянного тока преобразователя на второй выход (18), при этом второе выходное напряжение постоянного тока преобразователя оказывается ниже выбираемого выходного напряжения постоянного тока.
9. Силовой преобразователь по п.8, в котором предусмотрена возможность избирательного отсоединения четвертой схемы (28) от остального преобразователя (10), что позволяет подсоединять к преобразователю разные четвертые схемы для получения разных значений второго выходного напряжения постоянного тока преобразователя.
10. Силовой преобразователь по п.8, в котором четвертая схема содержит понижающий преобразователь постоянного тока, формирующий второе выходное напряжение постоянного тока преобразователя.
11. Силовой преобразователь по п.10, в котором понижающий преобразователь постоянного тока выполнен с возможностью формирования второго выходного напряжения постоянного тока преобразователя в диапазоне от 3 до 15 В постоянного тока.
12. Силовой преобразователь по п.8, в котором второе выходное напряжение постоянного тока преобразователя не зависит от выбираемого выходного напряжения постоянного тока.
13. Силовой преобразователь по п.8, в котором выбираемое выходное напряжение постоянного тока и второе выходное напряжение постоянного тока преобразователя формируются преобразователем одновременно.
14. Силовой преобразователь по п.1, дополнительно содержащий схему (25) фильтра для фильтрации первого и второго выходных напряжений постоянного тока и формирования соответствующего первого и второго отфильтрованного выходного напряжения постоянного тока в общей узловой точке (N2).
15. Силовой преобразователь по п.1, в котором третья схема содержит понижающий преобразователь постоянного тока.
16. Силовой преобразователь по п.15, в котором вторая схема содержит повышающий преобразователь постоянного тока.
17. Силовой преобразователь по п.16, в котором повышающий преобразователь и понижающий преобразователь являются переключаемыми преобразователями, работающими на одинаковой частоте (80 кГц).
18. Силовой преобразователь по п.1, в котором первая схема содержит обратноходовой преобразователь переменного тока в постоянный, служащий для формирования первого выходного напряжения постоянного тока в диапазоне от 15 до 24 В постоянного тока.
19. Силовой преобразователь по п.18, в котором вторая схема содержит повышающий преобразователь постоянного тока, служащий для формирования второго выходного напряжения постоянного тока в диапазоне от 15 до 24 В постоянного тока.
20. Силовой преобразователь по п.1, в котором вторая схема выполнена с возможностью преобразования входного напряжения постоянного тока во второе выходное напряжение постоянного тока даже в случае изменения входного напряжения постоянного тока.
21. Силовой преобразователь по п.1, в котором съемный программный модуль ограничивает выходной ток на первом выходе.
22. Силовой преобразователь по п.1, дополнительно содержащий схему (22, 24) защиты, обеспечивающую функцию защиты от перенапряжения.
23. Силовой преобразователь по п.1, в котором первая схема выполнена с возможностью приема входного напряжения переменного тока в диапазоне от 90 до 265 В переменного тока.
24. Силовой преобразователь по п.1, в котором вторая схема выполнена с возможностью приема входного напряжения постоянного тока в диапазоне от 11 до 16 В постоянного тока.
25. Силовой преобразователь по п.1, дополнительно содержащий устройство (NTC3) ограничения нагрева, ограничивающее рабочую температуру преобразователя (10).
РИСУНКИ
PD4A – Изменение наименования обладателя патента Российской Федерации на изобретение
(73) Новое наименование патентообладателя:
иГо, Инк. (US)
Адрес для переписки:
129090, Москва, ул. Б. Спасская, 25, стр. 3, ООО «Юридическая фирма Городисский и Партнеры»
Извещение опубликовано: 20.08.2009 БИ: 23/2009
|
|