|
(21), (22) Заявка: 2004120539/09, 06.12.2001
(24) Дата начала отсчета срока действия патента:
06.12.2001
(43) Дата публикации заявки: 27.03.2005
(45) Опубликовано: 20.04.2006
(56) Список документов, цитированных в отчете о поиске:
EP 924657 A1, 23.06.1999. RU 2121162 C1, 27.10.1998. RU 2093890 C1, 20.10.1997. RU 2158444 C1, 27.10.2000. US5131038 A, 14.07.1992. WO 98/12670 A1, 26.03.1998. GB 2181582 A1, 23.04.1987. EP 869460 A1, 07.10.1998.
(85) Дата перевода заявки PCT на национальную фазу:
06.07.2004
(86) Заявка PCT:
CA 01/01736 (06.12.2001)
(87) Публикация PCT:
WO 03/049042 (12.06.2003)
Адрес для переписки:
129010, Москва, ул. Б.Спасская, 25, стр.3, ООО “Юридическая фирма Городисский и Партнеры”, пат.пов. Г.Б. Егоровой
|
(72) Автор(ы):
ХОЛЛИНГШЕД Деннис В. (CA)
(73) Патентообладатель(и):
БАЙОСКРИПТ ИНК. (CA)
|
(54) ПОРТАТИВНОЕ УСТРОЙСТВО И СПОСОБ ДОСТУПА К АКТИВИРУЕМОМУ КЛЮЧЕВЫМИ ДАННЫМИ УСТРОЙСТВУ
(57) Реферат:
Изобретение относится к средствам доступа к объектам. Техническим результатом является обеспечение высокой степени защиты от несанкционированного доступа. Устройство имеет сохраненный эталон, содержащий отпечаток пальца авторизованного пользователя, объединенного с кодом верификации. При совпадении отпечатка пальца авторизованного пользователя с сохраненным в памяти формируется код верификации. Активируемое ключом устройство периодически передает идентификатор, при приеме устройством доступа идентификатора, совпадающего с одним из сохраненных идентификаторов в его памяти, связанный ключ доступа извлекают и передают на активируемое ключом устройство, чтобы разрешить пользователю доступ. 3 н. и 23 з.п. ф-лы, 2 ил. 
Область техники
Изобретение относится к способу доступа к устройствам, активируемым ключевыми данными, портативному устройству для доступа к таким активируемым ключом устройствам и безопасной системе доступа.
Предшествующий уровень техники
Доступ к увеличивающемуся количеству устройств управляется ключами доступа к данным. Например, доступ к автоматизированной кассовой машине (банкомату, ATM) управляется вводом соответствующего персонального идентификационного номера (PIN-кода) с клавиатуры. Точно так же доступ к дверям с высокой степенью защиты для прохода может управляться вводом кода с клавиатуры. Доступ к системам защиты, компьютерным сетям и почтовым системам передачи речи также обычно являются управляемым кодом для прохода. Поскольку увеличивается число устройств, которые требуют ключ доступа для осуществления доступа, для пользователя становится более трудным выбрать все необходимые ключи доступа. Кроме того, защита такого активируемого ключом устройства может быть поставлена под угрозу, если ключ доступа не поддерживается в строгой тайне авторизованным пользователем.
Настоящее изобретение предназначено для преодоления недостатков известных систем защиты.
Сущность изобретения
Согласно настоящему изобретению обеспечивается способ доступа к активируемым ключевыми данными устройствам, содержащий этапы: прием идентификатора активируемого ключом устройства; прием биометрических данных; определение, являются ли принятые биометрические данные авторизованными биометрическими данными, сравнение упомянутого идентификатора активируемого ключом устройства с сохраненными идентификаторами активируемых ключом устройств и при обнаружении совпадения сохраненного идентификатора активируемого ключом устройства, а также если упомянутые принятые биометрические данные являются авторизованными биометрическими данными – извлечение сохраненного ключа доступа, связанного с упомянутым совпадающим сохраненным идентификатором активируемого ключом устройства; и передача упомянутого извлеченного ключа доступа.
Согласно другому аспекту изобретения обеспечивается портативное электронное устройство доступа, содержащее: средство ввода биометрических данных; верификатор, реагирующий на упомянутое средство ввода биометрических данных для выполнения верификации, что биометрические данные, которые введены в упомянутое средство ввода биометрических данных, соответствуют авторизованным биометрическим данным и обеспечение индикации верификации; память, сохраняющую множество ключей доступа, причем каждый предназначен для использования при доступе к активируемому ключом устройству, и множество идентификаторов активируемых ключом устройств, причем каждый связан с одним из упомянутого множества ключей доступа; приемник для приема идентификатора активируемого ключом устройства; компаратор, реагирующий на индикацию верификации от упомянутого верификатора, для сравнения принятого идентификатора активируемого ключом устройства с упомянутыми сохраненными идентификаторами активируемых ключом устройств и при обнаружении совпадения с сохраненным идентификатором активируемого ключом устройства – извлечение сохраненного ключа доступа, связанного с упомянутым совпадающим сохраненным идентификатором активируемого ключом устройства; и передатчик для передачи извлеченного ключа доступа.
Краткое описание чертежей
На чертежах, которые иллюстрируют вариант осуществления примерного изобретения:
Фиг.1 – является схемой системы безопасного доступа, осуществленной в соответствии с настоящим изобретением, и
Фиг.2 – диаграмма последовательности операций, иллюстрируемой на фиг.1.
Подробное описание предпочтительных вариантов осуществления
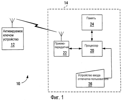
Как показано на фиг.1, система 10 безопасного доступа содержит активируемое ключом данных устройство 12 и портативное устройство 14 доступа по ключу. Активируемое ключом устройство 12 может быть дверью с высокой степенью защиты (транспортное средство или установка), банкоматом, системой защиты, компьютерной сетью, системой голосовой почты или любым другим устройством, требующим ключа данных для доступа. Устройство 14 доступа по ключу содержит процессор 20, соединенный для обеспечения двухсторонней связи с приемопередатчиком 22 и для обеспечения двухсторонней связи – с памятью 24. Процессор также принимает сигналы от средства 26 ввода отпечатка пальца. Память 24 является энергонезависимой и сохраняет множество ключей доступа, причем каждый предназначен для использования при доступе к активируемому ключом устройству. Память также хранит множество идентификаторов активируемых ключом устройств, причем каждый идентификатор связан с одним из множества сохраненных ключей доступа. Приемопередатчик 22 является беспроводным и может обмениваться (информацией) с активируемым ключом устройством посредством радиопередачи или передачи инфракрасных сигналов. Устройство 14 доступа по ключу является портативным и предпочтительно получает электропитание от батареи. Коммутатор (не показан) может отсоединять батарею, когда устройство не используется, чтобы сохранить энергию батареи питания.
Чтобы использовать портативное устройство доступа, пользователь должен быть сначала зарегистрирован. Чтобы выполнить регистрацию, пользователь должен передать оцифрованную копию своего отпечатка пальца на компьютер регистрации. Это может быть выполнено пользователем посредством приложения своего пальца к средству 26 ввода отпечатка пальца устройства 14 доступа, когда устройство связано через порт (не показан) с компьютером регистрации так, чтобы процессор 20 устройства доступа был запрошен для передачи оцифрованного изображения отпечатка пальца на компьютер регистрации. Альтернативно, пользователь может приложить свой палец непосредственно к средству ввода отпечатка пальца, связанному с компьютером регистрации. Этот компьютер затем вычисляет эталон (шаблон), исходя из отпечатка пальца пользователя, который является зашифрованной кодом верификации комбинацией отпечатка пальца. Подходящие способы получения таких эталонов на основе отпечатка пальца и кода, и для восстановления кода из такого эталона, описаны в патенте США №5680460 “BIOMETRIC CONTROLLED KEY GENERATION”, содержание которого включено в настоящее описание по ссылке. Этот эталон затем загружают в портативное устройство доступа и сохраняют в памяти 24. Далее компьютер регистрации сохраняет индикацию верификации по адресу в памяти 24, указанному кодом верификации. Регистрация затем завершается.
Работа системы 10 на фиг.1 описана вместе с фиг.1 совместно с фиг.2, которая иллюстрирует программное управление для процессора 20. Активируемое ключом устройство 12 периодически передает идентификатор устройства. Обычно является предпочтительным, чтобы время между такими передачами было не больше, чем приблизительно пять секунд; радиус этих передач – предпочтительно составляет приблизительно два метра. Когда портативное устройство 14 доступа внесено в пределы радиуса передач активируемого ключом устройства и включено, приемопередатчик 22 получит эти передачи и передаст идентификатор активируемого ключом устройства на процессор 20 (этап 50). Если пользователь портативного устройства доступа затем прикладывает свой палец к средству 26 ввода отпечатков пальцев, изображение отпечатка пальца также принимается процессором 20 (этап 52).
Процессор может затем определять, является ли отпечаток пальца, который был введен, отпечатком пальца уполномоченного (авторизованного) пользователя. Это выполняется посредством извлечения процессором эталона, сохраненного в памяти 24 при регистрации, и объединения его с недавно введенным отпечатком пальца от средства 26 ввода. Результирующий код верификации используется в качестве адреса памяти 24. Если процессор находит индикацию верификации по этому адресу памяти в памяти 24, то биометрические введенные данные рассматриваются как авторизованные (этап 54). В этом случае процессор сравнивает принятый идентификатор активируемого ключом устройства с идентификаторами активируемых ключом устройств из памяти. При найденном совпадении (этап 56) процессор передает индикацию достоверного пользователя на приемопередатчик 22 для передачи на активируемое ключом устройство 12 (этап 58). Эта индикация достоверного пользователя может содержать код верификации или его зашифрованную версию. Дополнительно, процессор извлекает ключ доступа из памяти 24, который связан с совпадающим идентификатором активируемого ключом устройства (этап 60).
Когда активируемое ключом устройство 12 принимает индикацию достоверного пользователя от устройства доступа 14, оно передает один раз временный ключ шифрования. Он принимается приемопередатчиком 22 и передается к процессору 20. Процессор 20 использует этот временный ключ, чтобы зашифровать извлеченный ключ доступа (этап 62). Зашифрованный ключ доступа затем передают к приемопередатчику 22 и передают на активируемое ключом устройство (этап 64). Активируемое ключом устройство использует ключ дешифрования, чтобы восстановить дешифрованный ключ доступа и, если результирующий дешифрованный ключ является достоверным ключом, разрешает пользователю доступ. Когда активируемое ключом устройство является дверью с высокой степенью защиты, это приводит к отпиранию двери. Когда активируемое ключом устройство является банкоматом, это позволяет пользователю осуществить доступ к устройству через клавиатуру, которую можно обеспечивать на портативном устройстве 14 доступа.
Очевидно, что так как устройство 14 доступа сохраняет несколько идентификаторов активируемых ключом устройств и связанных ключей доступа, устройство 14 может быть выполнено носимым разрешенным пользователем и использоваться для получения доступа к нескольким различным активируемым ключом устройствам без необходимости для пользователя запоминать множество кодов с целью прохода.
Портативное устройство доступа может использоваться вместе с существующим активируемым ключом устройством, модифицируя это устройство так, чтобы встроить в него приемопередатчик, и запрограммировать процессор активируемого ключом устройства так, чтобы устройство функционировало описанным выше способом.
Возможен ряд модификаций описанной системы. Например, идентификатор достоверного пользователя может быть передан, как только разрешенный отпечаток пальца принят устройством доступа 14 перед определением, соответствует ли принятый идентификатор активируемого ключом устройства одному из сохраненных идентификаторов.
В качестве варианта, для применений с более низкой степенью защиты портативное устройство доступа не передает индикацию достоверного пользователя, и при этом активируемое ключом устройство не передает какие-либо временные ключи. Вместо этого для таких применений на устройстве 14 доступа определяют, что разрешенный пользователь приложил свой отпечаток пальца к средству ввода, и при обнаружении ключа доступа для активируемого ключом устройства этот ключ доступа передают в незашифрованной форме на активируемое ключом устройство.
Другой опцией для активируемого ключом устройства 12 является посылка индикатора “средняя степень защиты”, когда требуется, чтобы устройство 14 доступа послало код верификации и приняло временный ключ для шифрования ключей доступа до передачи, и посылка индикатора “низкая степень защиты”, или никакого индикатора защиты, когда требуется, чтобы устройство 14 доступа следовало описанной опции с низкой степенью защиты.
Опция высокой степени защиты предназначена для ключей доступа, которые должны быть зашифрованы в устройстве 14 доступа. Чтобы выполнить эту опцию, при регистрации, а также при формировании эталона из отпечатка пальца пользователя и кода верификации, эталон формируют из отпечатка пальца пользователя и специального ключа. Специальный ключ затем используется, чтобы зашифровать каждый ключ доступа. Во время работы, когда устройство 14 доступа принимает идентификатор активируемого ключом устройства и отпечаток пальца пользователя, оно извлекает любой связанный зашифрованный ключ доступа и оба эталона. Если отпечаток пальца является таковым разрешенного пользователя, отпечаток пальца успешно возвращает код верификации от одного эталона. Это приводит к тому, что устройство 14 доступа посылает индикацию верификации на активируемое ключом устройство 12. Активируемое ключом устройство отвечает, посылая временный ключ шифрования. Устройство доступа затем использует отпечаток пальца, чтобы возвратить специальный ключ от другого эталона отпечатка пальца, и специальный ключ затем используют для дешифрования ключа доступа. Устройство 14 доступа затем использует временный ключ, чтобы зашифровать ключ доступа, и посылает зашифрованный ключ доступа активируемому ключом устройству 12.
Специалистам очевидно, что передача извлеченного ключа доступа может быть защищена другими криптографическими средствами. Например, может быть использована инфраструктура открытого ключа (PKI, ИОК), так что этот извлеченный ключ доступа сначала подписывают цифровой подписью, используя личный ключ пользователя (синоним специального ключа, упомянутого выше), а затем шифруют, используя открытый ключ активируемого ключом устройства (синоним временного ключа, упомянутого выше). Этот зашифрованный пакет данных затем посылают на активируемое ключом устройство. Пользователю таким образом может быть гарантировано, что только пользователь с соответствующей авторизацией может правильно использовать переданные данные (когда только они будут иметь личный ключ активируемого ключом устройства для дешифрования данных), и это активируемое ключом устройство может соответственно гарантировать, что был представлен авторизованный пользователь (посредством верификации цифровой подписи извлеченного ключа доступа, используя открытый ключ пользователя). Это обеспечивает прочную взаимную аутентификацию между реальным пользователем системы и активируемым ключом устройством (вместо только между портативным устройством доступа и активируемым ключом устройством), когда цифровая подпись может быть инициирована только после того, как пользователь представит положительную биометрическую аутентификационную информацию. Этот вариант осуществления обеспечивает не только безопасную линию передачи между электронным устройством и активируемым ключом устройством, но и обеспечивает высокую степень идентифицируемости передачи, когда пользователь должен быть представлен для инициирования цифровой подписи.
Другие способы безопасной передачи извлеченного ключа доступа очевидны для специалистов.
Хотя в описанном варианте осуществления пользователь авторизуется исключительно в портативном устройстве доступа, возможно участие активируемого ключом устройства в этом разрешении. Более конкретно, при регистрации компьютер регистрации может просто передавать эталон на портативное устройство доступа, а не индикацию верификации. В таком случае, когда биометрические данные вводятся в устройство доступа, возвращается код верификации, и этот код передают непосредственно (в зашифрованной или незашифрованной форме) на активируемое ключом устройство. Активируемое ключом устройство может затем передавать код к центральной базе данных, которая будет использовать его для поиска, указывает ли код достоверного пользователя. Если это так, активируемое ключом устройство запросит устройство доступа продолжать. Далее активируемое ключом устройство будет только отвечать на любой ключ, переданный устройством доступа, если активируемое ключом устройство определило, что пользователь является разрешенным.
В обстоятельствах, когда устройство доступа должно передать индикацию достоверного пользователя, и активируемое ключом устройство должно ответить временным ключом, индикация достоверного пользователя является походящим образом (зашифрованной или незашифрованной) восстановленным кодом верификации и запрос от активируемого ключом устройства является походящим временным ключом.
Хотя устройство 14 показано для использования со средством ввода отпечатка пальца, одинаковым образом могут использоваться любые другие биометрические данные пользователя. Например, устройство 14 доступа может сканировать радужную оболочку глаза пользователя.
Так как любое биометрическое устройство верификации будет иметь частоту неверного принятия, отличную от нуля, предпочтительно, устройства 14 с доступом по ключу запрограммированы так, чтобы прекращать или передавать код предупреждения после заранее определенного количества последовательных неудавшихся попыток верификации пользователем.
Другие модификации будут очевидны специалистам в области техники и поэтому изобретение определяется формулой изобретения.
Формула изобретения
1. Способ доступа к активируемым ключом устройствам, содержащий этапы:
принимают идентификатор активируемого ключом устройства от активируемого ключом устройства,
принимают биометрические данные,
определяют, являются ли упомянутые принятые биометрические данные авторизованными биометрическими данными,
сравнивают упомянутый принятый идентификатор активируемого ключом устройства с сохраненными идентификаторами активируемых ключом устройств и при обнаружении совпадения с сохраненным идентификатором активируемого ключом устройства и, если упомянутые принятые биометрические данные являются авторизованными биометрическими данными, извлекают сохраненный ключ доступа, связанный с упомянутым совпадающим сохраненным идентификатором активируемого ключом устройства, и передают упомянутый извлеченный ключ доступа.
2. Способ по п. 1, дополнительно содержащий этапы:
принимают временный ключ и шифруют упомянутый извлеченный ключ доступа упомянутым временным ключом до передачи упомянутого извлеченного ключа доступа.
3. Способ по п. 2, дополнительно содержащий этап: в ответ на определение того, что упомянутые принятые биометрические данные являются авторизованными биометрическими данными, сначала передают индикацию достоверного пользователя.
4. Способ по п. 3, в котором упомянутый временный ключ принимают после передачи упомянутой индикации достоверного пользователя.
5. Способ по п. 3, в котором упомянутая передача сначала индикации достоверного пользователя зависит от того, найден ли сохраненный идентификатор активируемого ключом устройства, совпадающий с упомянутым принятым идентификатором активируемого ключом устройства.
6. Способ по любому из пп. 2-5, в котором каждый из упомянутых сохраненных ключей доступа является зашифрованным и включает в себя выполнение операции дешифрования извлеченного ключа доступа до шифрования упомянутого извлеченного ключа доступа упомянутым временным ключом.
7. Способ по п. 6, в котором каждый из упомянутых сохраненных ключей доступа является зашифрованным специальным ключом и в котором упомянутое выполнение операции дешифрования содержит извлечение эталона и попытку восстановить упомянутый специальный ключ из упомянутого эталона, используя упомянутые принятые биометрические данные.
8. Способ по любому из пп. 1-5, дополнительно содержащий этап извлечения эталона и попытку восстановления специального ключа из упомянутого эталона, используя упомянутые биометрические данные, упомянутый специальный ключ для использования при выполнении криптографической операции.
9. Способ по п. 8, в котором упомянутая криптографическая операция использует по меньшей мере один упомянутый ключ доступа.
10. Способ по любому из пп. 3-5, в котором упомянутая передача сначала индикации достоверного пользователя зависит от того, найден ли сохраненный идентификатор активируемого ключом устройства, совпадающий с упомянутым принятым идентификатором активируемого ключом устройства.
11. Способ по любому из пп. 1-5, 7 или 9, в котором упомянутый этап определения, являются ли упомянутые принятые биометрические данные авторизованными биометрическими данными, содержит этап использования эталона, содержащего упомянутые авторизованные биометрические данные и код верификации, так что присутствие упомянутых биометрических данных разрешает восстановление упомянутого кода верификации.
12. Портативное электронное устройства доступа, содержащее
средство ввода биометрических данных,
средство верификации, реагирующее на упомянутое средство ввода биометрических данных, для верификации того, что биометрические данные, которые вводят в упомянутое средство ввода биометрических данных, соответствуют авторизованным биометрическим данным, и обеспечения индикации верификации;
память, сохраняющую множество ключей доступа, каждый предназначен для использования в доступе к активируемому ключом устройству, и множество идентификаторов активируемых ключом устройств, причем каждый связан с одним из упомянутого множества ключей доступа,
приемник для приема идентификатора активируемого ключом устройства,
компаратор для сравнения в ответ на индикацию верификации от упомянутого средства верификации идентификатора активируемого ключом устройства, принятого от активируемого ключом устройства, с упомянутыми сохраненными идентификаторами активируемых ключом устройств и при обнаружении совпадения с сохраненным идентификатором активируемого ключом устройства извлечение сохраненного ключа доступа, связанного с упомянутым совпадающим сохраненным идентификатором активируемого ключом устройства, и
передатчик для передачи извлеченного ключа доступа.
13. Устройство по п. 12, в котором упомянутые сохраненные ключи доступа являются зашифрованными и включают в себя дешифровщик для дешифрования извлеченного ключа доступа до передачи упомянутого ключа доступа упомянутым передатчиком.
14. Устройство по п. 12, в котором упомянутая память также предназначена для сохранения эталона специального ключа, причем упомянутый ключ доступа зашифрован специальной ключом и упомянутый дешифровщик реагирует на упомянутое средство биометрического ввода для выполнения операции восстановления специального ключа из упомянутого эталона специального ключа, используя упомянутые введенные биометрические данные и последующую операцию дешифрования над упомянутым извлеченным ключом доступа, используя восстановленный специальный ключ доступа.
15. Устройство по п.12, в котором упомянутая память также предназначена для сохранения эталона специального ключа, содержащего упомянутые авторизованные биометрические данные и специальный ключ, причем упомянутый специальный ключ предназначен для использования при выполнении криптографической операции.
16. Устройство по любому из пп. 12-15, в котором упомянутый верификатор предназначен для доступа к сохраненному эталону, содержащему упомянутые авторизованные биометрические данные и код верификации, для попытки восстановить упомянутый код верификации из введенных биометрических данных и для использования упомянутого кода верификации, чтобы получить упомянутую индикацию верификации.
17. Устройство по любому из пп. 12-15, в котором упомянутый приемник также предназначен для приема временного ключа и включает в себя шифрователь для шифрования упомянутого извлеченного ключа доступа упомянутым временным ключом до передачи упомянутого извлеченного ключа доступа упомянутым передатчиком.
18. Устройство по любому из пп. 12-15, в котором упомянутый передатчик также предназначен для передачи сначала индикации достоверного пользователя в ответ на упомянутый этап верификации, обеспечивающий упомянутую индикацию верификации.
19. Устройство по п. 17, в котором упомянутый передатчик также предназначен для передачи сначала индикации достоверного пользователя в ответ на то, что упомянутый верификатор обеспечивает упомянутую индикацию верификации, и при этом упомянутый временный ключ принимают после того, как упомянутый передатчик передал упомянутую индикацию достоверного пользователя.
20. Устройство по любому из пп. 12-15, или 19, в котором упомянутый приемник является одним из радиоприемника и приемника инфракрасного излучения и упомянутый передатчик является одним из радиопередатчика и передатчика инфракрасного излучения.
21. Система безопасного доступа, содержащая
активируемое ключевыми данными устройство для периодической передачи идентификатора активируемого ключом устройства,
портативное устройство доступа, содержащее средство ввода биометрических данных,
верификатор, реагирующий на упомянутое средство ввода биометрических данных для верификации, что биометрические данные, которые вводят в упомянутое средство ввода биометрических данных, совпадают с авторизованными биометрическими данными, и обеспечения индикации верификации,
память, сохраняющая множество ключей доступа, каждый предназначен для использования при доступе к активируемому ключом устройству, и множество идентификаторов активируемых ключом устройств, причем каждый связан с одним из упомянутого множества ключей доступа,
приемник для приема упомянутого идентификатора активируемого ключом устройства,
компаратор для, в ответ на индикацию верификации от упомянутого верификатора, сравнения идентификатора активируемого ключом устройства, принятого от упомянутого активируемого ключом устройства, с упомянутыми сохраненными идентификаторами активируемых ключом устройств и, при совпадении – извлечения ключа доступа, связанного с упомянутым совпадающим сохраненным идентификатором активируемого ключом устройства, и
передатчик для передачи извлеченного ключа доступа на упомянутое активируемое ключом устройство.
22. Система по п. 21, в которой упомянутый приемник предназначен для приема временного ключа и в которой упомянутое устройство доступа включает в себя шифрователь для шифрования упомянутого извлеченного ключа доступа упомянутым временным ключом до передачи упомянутого извлеченного ключа доступа упомянутым передатчиком.
23. Система по п. 21, в которой упомянутый передатчик предназначен также для передачи сначала индикации достоверного пользователя в ответ на упомянутый верификатор, обеспечивающий упомянутую индикацию верификации на упомянутое устройство доступа, и в которой упомянутое активируемое ключом устройство предназначено также для реагирования на прием упомянутой индикации достоверного пользователя, передавая упомянутый временный ключ.
24. Система по любому из пп. 21-23, в которой упомянутая память также предназначена для сохранения эталона и в которой упомянутый верификатор также предназначен для использования в попытке восстановить специальный ключ из упомянутого эталона, используя упомянутые биометрические данные, при этом упомянутый специальный ключ предназначен для использования при выполнении криптографической операции.
25. Система по любому из пп. 21-23, в которой упомянутый передатчик является радиопередатчиком и упомянутый приемник – радиоприемником.
26. Система по любому из пп. 21-23, в которой упомянутый верификатор предназначен для доступа к сохраненному эталону, содержащему упомянутые авторизованные биометрические данные и код верификации, для попытки восстановить упомянутый код верификации из введенных биометрических данных и для использования упомянутого кода верификации для получения упомянутой индикации верификации.
РИСУНКИ
|