|
|
(21), (22) Заявка: 2004109769/12, 30.03.2004
(24) Дата начала отсчета срока действия патента:
30.03.2004
(43) Дата публикации заявки: 27.09.2005
(45) Опубликовано: 20.04.2006
(56) Список документов, цитированных в отчете о поиске:
МЕДВЕДЕВ Я.И. и др. Технологические испытания формовочных материалов. – М.: Машиностроение, 1973, с.61. ГОСТ 23409.7-78 Пески формовочные, смеси формовочные и стержневые. RU 2097733 C1, 27.11.1997. RU 2159421 C1, 20.01.2000.
Адрес для переписки:
656038, Алтайский край, г.Барнаул, пр-кт Ленина, 46, АлтГТУ, ОПИС
|
(72) Автор(ы):
Левшин Геннадий Егорович (RU), Паршин Александр Владимирович (RU)
(73) Патентообладатель(и):
Государственное образовательное учреждение высшего профессионального образования “Алтайский государственный технический университет им. И.И. Ползунова” (АлтГТУ) (RU)
|
(54) ОБРАЗЕЦ, ИССЛЕДУЕМЫЙ НА ИЗГИБ, ИЗ НАМАГНИЧИВАЮЩЕГОСЯ МАТЕРИАЛА И ПРИСПОСОБЛЕНИЕ ДЛЯ ИЗГОТОВЛЕНИЯ ОБРАЗЦА
(57) Реферат:
Изобретение относится к области исследований свойств материалов на изгиб, преимущественно сыпучих намагничивающихся, применяемых в линейном производстве. Образец, исследуемый на изгиб, из сыпучего намагничивающегося материала содержит последовательно соединенные торцевые и боковые поверхности. У торцевых поверхностей образца выполнены симметричные скосы с протяженностью до 1/3 толщины образца и углами наклона к торцевым поверхностям в пределах 20-45°. Для изготовления такого образца предусмотрено приспособление, которое содержит разъемный ящик с полостью для образца, снабженный внутренними боковыми и торцевыми поверхностями и ребрами. Приспособление оснащено съемным донышком, изготовленным из намагничивающегося материала и установленным у нижней наружной торцевой поверхности ящика, разъем которого выполнен у ребер, расположенных по диагонали, при этом внутренние торцевые поверхности ящика снабжены симметричными скосами с протяженностью до 1/3 толщины образца и углами наклона к торцевым поверхностям в пределах 20-45°. Изобретение позволяет получить и исследовать образец из сыпучего намагничивающегося, преимущественно магнитомягкого материала на изгиб по схеме защемленной двухопорной балки в замкнутой магнитной цепи и незащемленной балки в незамкнутой магнитной цепи. 2 н. и 3 з.п. ф-лы, 4 ил. 
Изобретения относятся к области исследований свойств материалов на изгиб, преимущественно сыпучих намагничивающихся, применяемых в литейном производстве.
Известен образец, исследуемый на изгиб, из сыпучего формовочного материала, содержащего неотвержденное связующее, с последовательно соединенными плоскими торцевыми и боковыми поверхностями. Образец выполнен в виде параллелепипеда с квадратным поперечным сечением. Боковые и торцевые поверхности образца взаимно перпендикулярны. Образец исследуется на изгиб только по схеме консольной защемленной балки [Я.И.Медведев, И.В.Валисовский. Технологические испытания формовочных материалов. – М.: Машиностроение, 1973, с.60].
Этот образец непригоден для определения прочности на изгиб в случае изготовления его из сыпучего намагничивающегося, преимущественно магнитомягкого, материала, так как при намагничивании его постоянным магнитным полем с вектором индукции, направленным вдоль продольной оси образца, происходит следующее:
– искажения формы и размеров образца, связанные с появлением на его плоских торцах разрушений в виде флокул намагниченных частиц, если используется незамкнутая магнитная цепь;
– примагничивание (защемление) образца к плоским полюсным наконечникам, применяемым для исключения образования флокул, что не позволяет производить изгиб по схеме двухопорной незащемленной балки, если используется замкнутая магнитная цепь.
Известно приспособление для изготовления в горизонтальном положении этого образца, исследуемого на изгиб, из сыпучего формовочного материала, содержащего неотвержденное связующее. Приспособление выполнено в виде разъемного ящика для образца, снабженного плоскими боковыми и торцевыми поверхностями, а также ребрами. Торцевые поверхности ящика являются закрытыми, а одна из боковых поверхностей, а именно верхняя, при горизонтальном положении приспособления снабжена отверстием для заполнения рабочей полости ящика сыпучим формовочным материалом. Разъем ящика выполнен вертикальным, при этом рабочая полость ящика открыта с двух продольных противоположных сторон [Я.И.Медведев, И.В.Валисовский. Технологические испытания формовочных материалов. – М.: Машиностроение, 1973, с.60].
Описанное приспособление непригодно для изготовления образца, исследуемого на изгиб, из сыпучего намагничивающегося, преимущественно магнитомягкого, материала, так как рабочая полость открыта с двух продольных противоположных сторон, а поверхности закрытых торцев выполнены плоскими. Выполнение рабочей полости открытой с двух продольных противоположных сторон не позволяет удерживать сыпучий ненамагниченный материал в полости приспособления во время его переноса и установки в прибор и затрудняет получение точных размеров образца по его высоте без рыхлот на верхней поверхности. Выполнение внутренних торцевых поверхностей приспособления и соответственно наружных торцевых поверхностей образца плоскими приводит при намагничивании образца к появлению специфического дефекта – разрушений в виде флокул – на этих поверхностях. Выполнение торцевых поверхностей приспособления закрытыми затрудняет установку образца между полюсами источника магнитного поля, создавая немагнитный воздушный зазор между торцевыми поверхностями образца и полюсами. Это приводит к неконтролируемому перемещению образца при исследовании на изгиб к одному из полюсов источника магнитного поля или к его разрушению у торцевых поверхностей под действием сил притяжения после разборки приспособления для отделения образца.
Наиболее близким к предлагаемому изобретению по технической сущности и достигаемому результату (прототипом) является образец, исследуемый на изгиб, из сыпучего формовочного материала, содержащего отвержденное связующее, с последовательно соединенными торцевыми и боковыми поверхностями. Образец выполнен в виде параллелепипеда с квадратным поперечным сечением. У торцевых поверхностей образца выполнены закругления [Я.И.Медведев, И.В.Валисовский. Технологические испытания формовочных материалов. – М.: Машиностроение, 1973, с.61].
Этот образец непригоден для определения прочности на изгиб в случае изготовления его из сыпучего намагничивающегося, преимущественно магнитомягкого, материала, так как при намагничивании его постоянным магнитным полем с вектором индукции, направленным вдоль продольной оси образца, происходит следующее:
– искажения формы и размеров образца, связанные с появлением на его плоских торцах разрушений в виде флокул намагниченных частиц, если используется незамкнутая магнитная цепь;
– примагничивание (защемление) образца к плоским полюсным наконечникам, применяемым для исключения образования флокул, что не позволяет производить изгиб по схеме двухопорной незащемленной балки, если используется замкнутая магнитная цепь;
– изменения граничных условий намагничивания образца вследствие выполнения закруглений у его торцев по сравнению с условиями намагничивания поверхности без закруглений.
Наиболее близким по технической сущности и достигаемому результату (прототипом) является приспособление для изготовления в горизонтальном положении образца, исследуемого на изгиб, из сыпучего формовочного материала, содержащего отвержденное связующее. Приспособление содержит разъемный ящик из двух половин для образца, снабженный боковыми и торцевыми поверхностями, а также ребрами. Внутренние торцевые поверхности являются закрытыми, а одна из поверхностей, а именно верхняя, при горизонтальном положении приспособления является открытой для заполнения рабочей полости ящика сыпучим формовочным материалом. Внутренние торцевые поверхности ящика снабжены закруглениями. Разъем ящика выполнен вертикальным, при этом рабочая полость ящика открыта с двух продольных противоположных сторон [ГОСТ 23409.7-78. Пески формовочные, смеси формовочные и стержневые].
Вышеописанное приспособление непригодно для изготовления образца, исследуемого на изгиб, из сыпучего намагничивающегося, преимущественно магнитомягкого, материала из-за того, что рабочая полость ящика открыта с двух продольных противоположных сторон, а внутренние торцевые поверхности ящика снабжены закруглениями. Выполнение рабочей полости открытой с двух продольных противоположных сторон не позволяет удерживать сыпучий ненамагниченный материал в полости приспособления во время его переноса и установки в приборе и затрудняет получение точных размеров образца по его высоте без рыхлот на верхней поверхности. Выполнение внутренних торцевых поверхностей приспособления и соответственно наружных торцевых поверхностей образца с закруглениями приводит при его намагничивании к появлению специфического дефекта – флокул – на криволинейных поверхностях. Выполнение торцевых поверхностей закрытыми затрудняет установку образца между полюсами источника магнитного поля, создавая немагнитный воздушный зазор между торцевыми поверхностями образца и полюсами. Это приводит к неконтролируемому перемещению образца к одному из полюсов или его разрушению у торцевых поверхностей под действием сил притяжения после разборки приспособления для отделения образца
Задача, решаемая изобретением, заключается в получении возможности изготовления и исследования образца из сыпучего намагничивающегося, приемущественно магнитомягкого, материала на изгиб по схеме двухопорной защемленной балки (в замкнутой магнитной цепи) и незащемленной балки (в незамкнутой магнитной цепи).
Для достижения указанного технического результата в образце, исследуемом на изгиб, из сыпучего намагничивающегося материала, содержащем последовательно соединенные торцевые и боковые поверхности, согласно изобретению у торцевых поверхностей образца выполнены симметричные скосы с протяженностью до 1/3 толщины образца и углами наклона к торцевым поверхностям в пределах 20-45°.
Для достижения указанного технического результата приспособление для изготовления образца, исследуемого на изгиб, из сыпучего намагничивающегося материала, содержащее разъемный ящик для образца, снабженный боковыми и торцевыми поверхностями и ребрами, согласно изобретению оснащено съемным донышком, изготовленным из намагничивающегося материала и установленным у нижней наружной торцевой поверхности ящика, разъем которого выполнен у ребер, расположенных по диагонали. При этом внутренние торцевые поверхности ящика снабжены симметричными скосами с протяженностью до 1/3 толщины образца и углами наклона к торцевым поверхностям в пределах 20-45°.
Приспособление дополнительно может быть снабжено по меньшей мере двумя параллельными бортовыми направляющими для ящика, размещенными на донышке с возможностью перемещения ящика вдоль них.
Приспособление дополнительно может быть снабжено слоями немагнитного материала, помещенными на внутренних поверхностях донышка и бортовых направляющих.
Приспособление дополнительно может быть снабжено съемной наполнительной рамкой, установленной на верхней торцевой поверхности ящика.
Получение возможности изготовления и исследования образца из сыпучего намагничивающегося материала на изгиб обусловлено, во-первых, отсутствием искажения формы и размеров этого образца без образования флокул на его торцевых поверхностях путем выполнения разъема ящика приспособления у ребер, расположенных по диагонали, позволяющего исключить формовочные уклоны образца и получить поверхности образца гладкими и взаимно перпендикулярными; во-вторых, выполнением симметричных скосов торцевых поверхностей ящика приспособления и у торцевых поверхностей образца для исследований образца на изгиб без защемления торцев образца полюсами или полюсными наконечниками намагничивающего устройства; в-третьих, установлением углов наклона симметричных скосов к торцевым поверхностям ящика приспособления и к торцевым поверхностям образца в пределах 20-45°, исключающих флокулизацию торцевых поверхностей образца.
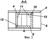
Заявляемое изобретение поясняется чертежом, где на фиг.1 изображен предлагаемый образец, исследуемый на изгиб, из сыпучего намагничивающегося материала; на фиг.2 изображено приспособление для изготовления образца, исследуемого на изгиб, из сыпучего намагничивающегося материала, продольный разрез ; на фиг.3 – разрез по линии А-А фиг.2; на фиг.4 – схема проведения исследований предлагаемого образца на изгиб.
На чертеже дополнительно показано следующее:
– – угол наклона скоса образца к торцевой поверхности образца;
– – угол наклона скоса приспособления к внутренней торцевой поверхности ящика приспособления;
– t – толщина образца;
– Be – направление вектора продольного магнитного поля образца;
– N, S – полюсы намагничивающего устройства;
– F – усилие изгиба.
Образец, исследуемый на изгиб, из сыпучего намагничивающегося, приемущественно магнитомягкого, материала представляет собой параллелепипед квадратного сечения с последовательно соединенными торцевыми 1 и боковыми 2 поверхностями. У торцевых поверхностей 1 образца выполнены симметричные скосы 3 с протяженностью до 1/3 толщины t образца и углами наклона к торцевым поверхностям 1 в пределах 20-45°. Скосы 3 необходимы для обеспечения испытания образца на изгиб без защемления его торцев полюсами или полюсными наконечниками намагничивающего устройства, а также для того, чтобы во время изгиба образца перемещающаяся торцевая поверхность 1 не упиралась в поверхность полюса. Протяженность скосов 3 не должна превышать 1/3 толщины t образца во избежание заметного изменения условий намагничивания образца. Для исключения флокулизации поверхностей скосов 3 их выполняют с углом наклона к торцевым поверхностям 1 в пределах 20-45°. При угле менее 20° практически всегда появляются флокулы, а при угле более 45° скос становится слишком большим, что приводит к неоправданному увеличению длины образца (см. фиг.1).
Предложенное приспособление для изготовления образца, исследуемого на изгиб, в наиболее полном исполнении содержит разъемный ящик для образца, имеющий две половины 4 и 5, выполненные из ненамагничивающегося материала, и донышко 6 с бортовыми направляющими 7 и слоем 8 немагнитного материала толщиной до 1 мм, помещенным на внутренней поверхности донышка 6 и направляющих 7. Возможно исполнение донышка 6 без направляющих 7 или слоя 8. Во время заполнения полости приспособления сыпучим формовочным материалом применяется съемная наполнительная рамка 9.
Для скрепления половин ящика между собой и прикрепления донышка 6 к этим половинам предусмотрены винты 10. Ящик снабжен боковыми 11 и торцевыми 12 поверхностями, а также ребрами 13. Внутренние торцевые поверхности ящика снабжены симметричными скосами 14 с протяженностью до 1/3 толщины образца и углами наклона к торцевым поверхностям в пределах 20-45°. Разъем ящика на две половины 4 и 5 выполнен у ребер 13, расположенных по диагонали. Донышко 6 выполнено съемным для получения возможности его отделения при разборке ящика и изготовлено из намагничивающегося материала для исполнения дополнительной функции полюсного наконечника. Нанесение на донышко 6 слоя 8 немагнитного материала, например пластика, пленки типа “Скотч”, алюминиевого или медного сплавов и т.п., обеспечивает намагничивание образца в незамкнутой магнитной цепи и отсутствие защемления (примагничивания) торцев образца к полюсам или полюсным наконечникам намагничивающего устройства прибора. Кроме того, слой 8 исключает или уменьшает примагничивание частиц сыпучего материала к донышку 6 и их удаление. С этой же целью слой 8 нанесен и на направляющие 7. При отсутствии слоя 8 на донышке 6 образец можно испытать в замкнутой магнитной цепи по схеме двухопорной защемленной балки, что расширяет область применения приспособления. Выполнение разъема ящика у ребер 13, расположенных по диагонали, позволяет исключить формовочные уклоны и обеспечить получение поверхностей образца гладкими и взаимно перпендикулярными с точными размерами. Снабжение внутренних торцевых поверхностей ящика симметричными скосами 14 с углами наклона к торцевым поверхностям 12 в пределах 20-45° и протяженностью до 1/3 толщины образца обеспечивает получение образца заданной формы и размеров. При угле менее 20° происходит появление флокул, а угол более 45° приводит к увеличению скосов и, следовательно, к неоправданному удлинению приспособления и образца.
Направляющие 7, при исполнении приспособления с ними, размещены на донышке 6 с возможностью перемещения ящика вдоль них. Наполнительная рамка 9, позволяющая засыпать в полость ящика сразу всю отмеренную порцию сыпучего намагничивающегося материала, уровень которого сравнивается с торцевой поверхностью 12 образца, установлена на верхней торцевой поверхности 12 (см. фиг.2 ).
Исследования на изгиб предлагаемого образца из сыпучего намагничивающегося материала, изготовленного посредством заявляемого приспособления, производятся с использованием прибора для определения усилий изгиба образца, снабженного динамометрическим механизмом с клиновидным толкателем (на чертеже не показаны), а также намагничивающим устройством (см. фиг.4). Намагничивающее устройство имеет полюсы N и S, на которых соответственно размещены полюсный наконечник 15 и полюсный наконечник, функцию которого выполняет донышко 6. Оба полюсных наконечника снабжены направляющими. Полюсный наконечник 15 позволяет облегчить установку приспособления с образцом в намагничивающее устройство и разборку приспособления. Опоры 16 для установки образца в намагничивающем устройстве, выполненные из неферромагнитного материала, закрепляются между направляющими вышеуказанных полюсных наконечников известным образом, например винтами.
Предложенное приспособление работает следующим образом. Половины 4 и 5 ящика соединяются между собой и с донышком 6 и скрепляются известным способом, например винтами 10. Ящик устанавливается вертикально. На открытый торец приспособления устанавливается наполнительная рамка 9 и засыпается отмеренная порция сыпучего намагничивающегося формовочного материала до верхнего уровня рамки 9. Материал уплотняется известным способом, например вибрацией. При этом уровень материала опускается до верхней торцевой поверхности 12. Затем снимается наполнительная рамка 9, и устанавливается в вертикальном положении приспособление с сыпучим намагничивающимся формовочным материалом между полюсами намагничивающего устройства прибора для определения усилия изгиба образца. Образец намагничивают для его упрочнения продольным магнитным полем, вектор Bе которого направлен вдоль продольной оси образца. Приспособление разбирают путем отделения половин 4 и 5 ящика, например, перемещая их вдоль направляющих 7. Это обеспечивает получение образца с ровными и взаимно перпендикулярными боковыми гранями и точных размеров. При этом донышко 6 остается примагниченным к нижнему полюсу намагничивающего устройства и выполняет функцию полюсного наконечника.
Эта работа приспособления одинакова в случаях исследований образцов на изгиб по схемам незащемленной и защемленной балок. В последнем случае донышко 6, выполняющее функцию полюсного наконечника, являющегося нижним, и полюсный наконечник 15, являющийся верхним, выполняются без слоя 8 немагнитного материала.
Работа предлагаемого образца осуществляется следующим образом.
Между направляющими обоих полюсных наконечников закрепляются известным образом, например винтами, опоры 16. Затем образец, намагниченный полем с определенным значением индукции, переводится в горизонтальное положение путем поворота намагничивающего устройства на 90°, при этом образец оказывается лежащим на этих опорах. Для исследования прочности на изгиб посередине образца прикладывается с помощью динамометрического механизма и его клиновидного толкателя возрастающая нагрузка. При этом ведется визуальное наблюдение за появлением изгиба образца. В этот момент фиксируется усилие изгиба, по которому вычисляется предел прочности при изгибе. При необходимости измеряется величина прогиба.
Предложенный образец из сыпучего намагничивающегося материала по сравнению с прототипом позволяет осуществить исследование его прочности на изгиб в продольном магнитном поле по классическим схемам двухопорной незащемленной и защемленной балки, а предложенное приспособление позволяет изготовить такой образец более точным с ровной поверхностью.
Формула изобретения
1. Образец, исследуемый на изгиб, из сыпучего намагничивающегося материала, содержащий последовательно соединенные торцевые и боковые поверхности, отличающийся тем, что у торцевых поверхностей образца выполнены симметричные скосы с протяженностью до 1/3 толщины образца и углами наклона к торцевым поверхностям в пределах 20-45°.
2. Приспособление для изготовления образца, исследуемого на изгиб, из сыпучего материала, содержащее разъемный ящик с полостью для образца, снабженный внутренними боковыми и торцевыми поверхностями и ребрами, отличающееся тем, что оно оснащено съемным донышком, изготовленным из намагничивающегося материала и установленным у нижней наружной торцевой поверхности ящика, разъем которого выполнен у ребер, расположенных по диагонали, при этом внутренние торцевые поверхности ящика снабжены симметричными скосами с протяженностью до 1/3 толщины образца и углами наклона к торцевым поверхностям в пределах 20-45°.
3. Приспособление по п.2, отличающееся тем, что оно дополнительно снабжено по меньшей мере двумя параллельными бортовыми направляющими, размещенными на донышке с возможностью перемещения ящика вдоль них.
4. Приспособление по п.2, отличающееся тем, что оно дополнительно снабжено слоями немагнитного материала, помещенными на внутренних поверхностях донышка и бортовых направляющих.
5. Приспособление по любому из пп.2-4, отличающееся тем, что оно снабжено съемной наполнительной рамкой, установленной на верхней торцевой поверхности ящика.
РИСУНКИ
MM4A – Досрочное прекращение действия патента СССР или патента Российской Федерации на изобретение из-за неуплаты в установленный срок пошлины за поддержание патента в силе
Дата прекращения действия патента: 31.03.2006
Извещение опубликовано: 27.04.2007 БИ: 12/2007
|
|