|
|
(21), (22) Заявка: 2002135605/28, 05.06.2001
(24) Дата начала отсчета срока действия патента:
05.06.2001
(30) Конвенционный приоритет:
05.06.2000 NO 20002865
(43) Дата публикации заявки: 10.06.2004
(45) Опубликовано: 20.04.2006
(56) Список документов, цитированных в отчете о поиске:
US 5234026, 10.08.1993. GB 2099112 А, 01.12.1982. SU 1444723 A1, 15.12.1988. SU 1225973 А, 23.04.1986.
(85) Дата перевода заявки PCT на национальную фазу:
05.01.2003
(86) Заявка PCT:
NO 01/00229 (05.06.2001)
(87) Публикация PCT:
WO 01/94904 (13.12.2001)
Адрес для переписки:
103735, Москва, ул.Ильинка, 5/2, ООО “Союзпатент”, пат.пов. Л.И.Ятровой
|
(72) Автор(ы):
ОТТЕСТАД Нильс Т. (NO)
(73) Патентообладатель(и):
ФРАМО ЭНДЖИНИРИНГ АС (NO)
|
(54) СПОСОБ И УСТРОЙСТВО ПОДДЕРЖАНИЯ ДАВЛЕНИЯ ЖИДКОСТИ В ОПРЕДЕЛЕННОМ ОБЪЕМЕ
(57) Реферат:
Использование: для поддержания давления жидкости внутри определенного объема (3) и одновременной регистрации вытекания жидкости из этого объема в результате ее утечки или потребления. Сущность: жидкость подают из клапана (20), предназначенного для регулирования давления, снабженного средствами (5-7, 22-26), которые открываются для подачи жидкости в объем (3), когда давление в нем падает ниже первой величины (Р1), и которые прерывают подачу жидкости, когда давление в объеме (3) достигает заранее заданной второй величины (Р2), которая существенно выше, чем первая величина давления (Р1). После каждого открытия регулирующего клапана (20) на его выходе происходит явно выраженное увеличение давления. Это увеличение давления регистрируется как импульс давления, при этом частоту формируемых импульсов давления контролируют и используют как меру имеющихся утечек и/или потребления подводимой жидкости. Технический результат изобретения заключается в осуществлении достаточно простого непрерывного контроля давления и его регулирования. 2 н. и 5 з.п. ф-лы, 4 ил. 
Настоящее изобретение относится к способу поддержания давления жидкости в определенном объеме с одновременной регистрацией вытекания жидкости из объема в результате ее потребления или утечек.
Изобретение относится, кроме того, к регулирующему клапану для поддержания давления жидкости внутри определенного (заданного) объема и для одновременной регистрации вытекания жидкости из указанного объема в результате утечки или потребления, при этом клапан включает корпус, имеющий первую камеру, образующую указанный объем и сообщающуюся с выходным отверстием клапана, и установленный в камере поршень, нагруженный в одном направлении пружиной и опорным давлением, взаимодействующий посредством рабочего штока с запорным элементом для открытия и перекрытия прохода между входным отверстием и расположенной выше по потоку торцовой частью камеры, причем запорный элемент подпружинен в направлении положения закрытия, противоположном направлению, в котором подпружинен поршень, с тем, чтобы при нахождении поршня в камере в равновесии клапан закрывался в том случае, когда давление в камере соответствует первой заданной величине давления, и открывался при уменьшении давления в камере ниже указанной первой величины давления.
Такой способ поддержания давления представляет интерес при использовании роторных машин в подводных (погружных) установках для получения нефти и газа и при необходимости контролировать давление и возможные утечки в механических уплотнениях таких машин. Типичными машинами являются насосы для многофазных сред, компрессоры для влажного газа, водяные инжекционные насосы, роторные сепараторы и т.п. Механические уплотнения используют, например, в качестве уплотнений вращающихся валов между объемами с рабочей жидкостью и барьерной жидкостью, и функционирование этих уплотнений часто зависит от избыточного гидравлического давления чистой барьерной жидкости, которое, например, на 10-20 бар выше давления окружающей среды, которым обычно является давление рабочей жидкости. Механические уплотнения обычно допускают определенные утечки барьерной жидкости в рабочую жидкость. Поэтому необходимо обеспечить непрерывную подачу барьерной жидкости. После определенного времени работы из-за износа механических уплотнений потребление барьерной жидкости в подводных установках может возрасти, и поэтому может быть необходимым проведение ремонта роторных машин. В этой связи важно осуществлять непрерывный контроль потребления барьерной жидкости с тем, чтобы планировать и вовремя производить замену уплотнений.
В роторных машинах, которые в настоящее время устанавливают под водой и которые используют барьерную жидкость для смазки и охлаждения, регулирование давления обычно осуществляется с платформы или с производственного судна. Давление регулируют с помощью гидравлической энергоустановки, установленной на борту платформы или производственного судна. Давление устанавливают равным определенному фиксированному значению, или же его величину изменяют в зависимости от сигналов давления, полученных от находящейся под водой машины и при осуществлении под водой технологического процесса. Такая система регулирования имеет низкую чувствительность и может быть использована только в случае относительно небольшого расстояния между гидравлической энергоустановкой и подводной установкой. Кроме того, такая система на больших океанских глубинах имеет ограничения из-за наличия статического давления жидкости, в силу чего существует минимальное давление, ниже которого система не может осуществлять регулирование.
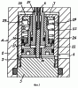
В качестве ближайшего аналога (прототипа) предлагаемого изобретения выбран стандартный клапан для регулирования давления, выполнение которого обеспечивает поддержание заданного давления P1 ниже по потоку (от клапана). Такой клапан 1 известного типа показан на фиг.1. Клапан 1 содержит корпус 2, имеющий первую цилиндрическую камеру 3, сообщающуюся с выходным отверстием 4, и поршень 5, установленный в камере 3 с возможностью перемещения. Поршень 5 посредством рабочего штока 6 взаимодействует с запорным элементом 7 для открытия и закрытия проходного канала 8 между входным отверстием 9 и расположенным выше по потоку торцевым участком камеры 3. Запорный элемент 7 прикреплен к рабочему штоку 6 и размещен в выполненной в корпусе 2 полости 10 с возможностью перемещения скольжением вдоль стенки, образующей указанную полость. В закрытом положении клапана запорный элемент 7 опирается на седло 11, при этом на запорный элемент в направлении положения закрытия проходного канала действует возвратная пружина 12.
Как показано на фиг.1, поршень 5 нагружен предварительно сжатой пружиной 13, размещенной в держателе 14 пружины, образующем поршень, при этом держатель 14 пружины размещен в полости 15, сообщающейся с каналом 16, с возможностью его перемещения параллельно поршню 5, который при функционировании устройства будет подключен к давлению окружающей среды, являющемуся опорным давлением.
Когда клапан расположен так, как показано на фиг.1 (вертикально), на поршень 5 в направлении снизу вверх действует давление окружающей среды, которое передается через канал 16, а также усилие пружины 13. В направлении сверху вниз на поршень 5 действуют силы давления жидкости в камере 3 и сила упругости возвратной пружины 12. Действие этих сил передается поршню 5 посредством рабочего штока 6. Давление в камере 3 будет автоматически регулироваться до такой величины, при которой силы, действующие на поршень 5, направленные вверх и вниз, будут уравновешивать друг друга. Когда давление в камере 3 падает так, что это равновесие нарушается, поршень 5 перемещается вверх до восстановления баланса сил, при этом запорный элемент 7 отжимается от седла 11 и открывает проход для подачи жидкости в камеру 3. Диаметр седла 11 для запорного элемента 7 мал по сравнению с диаметром поршня 5. Если разность между вышеупомянутой необходимой величиной давления ниже по потоку Р1, т.е. давлением в выходном отверстии 4, и давлением жидкости выше по потоку от запорного элемента 7 не очень велика, то в этом случае давление в камере 3, а следовательно, и давление в выходном отверстии клапана можно поддерживать стабильным на уровне P1 указанным образом, что и является задачей этого известного клапана.
Известны также другие подводные системы регулирования, в которых процесс регулирования давления осуществляется на морском дне. Эти известные технические решения относительно сложны и требуют значительного места для их размещения. Такие технические решения представляют собой систему, содержащую большое число клапанов, сильфоны для компенсации рабочего давления и т.д.
Задача настоящего изобретения заключается в обеспечении способа и устройства, предполагающих осуществление достаточно простого непрерывного контроля давления и регулирование давления применительно к механическим уплотнениям подходящего типа и решающих указанные выше проблемы, поскольку регулирование давления производят в определенном месте вблизи роторной машины.
Вышеупомянутая задача достигается с помощью сформулированного выше способа, который в соответствии с настоящим изобретением состоит в том, что жидкость подают из клапана, регулирующего давление, снабженного средствами, обеспечивающими открытие клапана для подачи жидкости в объем, когда давление внутри него падает ниже первой заданной величины, и прерывание подачи жидкости при достижении давления в объеме второй заданной величины, которая существенно превышает первую величину давления, в результате чего регистрируют импульс давления, переданный от регулирующего клапана, в том, что непрерывно контролируют частоту переданных импульсов давления и используют ее в качестве меры имеющихся утечек и/или потребления жидкости.
Указанная задача достигается также с помощью регулирующего клапана, представляющего собой клапан описанного выше типа и снабженного средствами, обеспечивающими перемещение запорного элемента в положение закрытия прохода для жидкости только при давлении в первой камере равном второй заданной величине, которая существенно превышает первую величину давления с тем, чтобы после каждого открытия запорного элемента на выходе клапана (в его выходном отверстии) имело место явно выраженное увеличение давления. Увеличение давления может быть зарегистрировано как отчетливый импульс давления, даже в том случае, если более высокая вторая величина давления не устанавливается тотчас же.
В предлагаемом изобретении указанный непрерывный контроль давления осуществляется просто путем регистрации импульсов давления, генерируемых каждый раз при открытии регулирующего клапана для подачи барьерной жидкости в соответствующий объем. Импульсы давления надлежащим образом регистрируют с помощью стандартного датчика, установленного в контуре циркуляции барьерной жидкости (нефти) на роторной машине. В случае монтажа на той же подводной установке нескольких роторных машин для подачи к ним барьерной нефти от вышеупомянутых платформы или производственного судна может быть использован общий шланг. Этот шланг подсоединяют ко входу клапана, и давление нагнетаемой жидкости в нем постоянно и по величине выше, чем давление на выходе клапана. По регистрируемой частоте импульсов давления можно производить постоянный контроль условий работы уплотнения и компенсацию текущего потребления барьерной жидкости. Клапанное устройство в соответствии с данным изобретением содержит только один корпус клапана и представляет собой намного более простое и более компактное техническое решение по сравнению с решением, которое используется в ближайшем аналоге изобретения.
Настоящее изобретение далее раскрыто путем описания примеров осуществления изобретения со ссылкой на приложенные фигуры чертежей, на которых:
фиг.1 изображает продольное сечение клапана для регулирования давления, выполненного в соответствии с ближайшим аналогом настоящего изобретения;
фиг.2 – продольное сечение клапана для регулирования давления согласно первому примеру осуществления данного изобретения;
фиг.3 – в увеличенном масштабе часть А клапана, изображенного на фиг.2, но в другом рабочем положении;
фиг.4 – продольное сечение клапана для регулирования давления согласно другому примеру осуществления изобретения.
На различных фигурах чертежей одинаковые части и элементы конструкции обозначены одинаковыми позициями.
На фиг.2 показана модификация клапана, изображенного на фиг.1, которая представляет собой первый пример выполнения регулирующего клапана в соответствии с настоящим изобретением.
Как было отмечено во вводной части описания, регулирующий клапан согласно данному изобретению снабжен средствами, обеспечивающими закрытие клапана только при достижении второй заданной величины давления (Р2) в первой камере, которая существенно выше первой величины давления (P1). В модифицированной конструкции клапана 20, показанной на фиг.2, это достигается за счет того, что клапан (который в известном аналоге выполнен так, что он открывается для подачи жидкости, когда давление ниже по потоку становится меньше величины P1) снабжен средствами, использующими давление жидкости выше по потоку для того, чтобы вызвать увеличение силы, действующей на поршень 5 и направленной вверх. В результате давление ниже по потоку должно возрастать до более высокого уровня, прежде чем снова установится равновесие между силами, действующими на поршень 5 снизу и сверху. Соответственно, клапан 20 будет закрываться только в том случае, если давление ниже по потоку достигнет величины большей, чем величина P2.
Как лучше всего показано на фиг.3, где отображена в увеличении выделенная на фиг.2 часть А клапана, указанные средства представляют собой в первую очередь тело 21 вращения, установленное в первой камере 3 корпуса 2 клапана и присоединенное к верхнему торцу камеры 3. Тело вращения 21 содержит нормально закрытую вторую камеру 22, сообщающуюся с входным отверстием 9 клапана посредством запорного элемента 7 (см. фиг.2). Кроме того, клапан снабжен средствами для сообщения по жидкости второй камеры 22 с первой камерой 3 за счет приведения указанных средств в действие в зависимости от величины давления во второй камере и под действием предварительно сжатой пружины 23, а также элементом 24 для передачи усилия пружины 23 поршню 5 с помощью указанных средств сообщения камеры 22 с камерой 3 с тем, чтобы клапан закрывался только в случае повышения давления во второй камере 22 до величины Р2, обуславливающего такое воздействие указанных средств сообщения. При таком воздействии сила упругости сжатой пружины 23 передается поршню 5 так, как это описано ниже.
Средства, обеспечивающие возможность сообщения по жидкости камеры 22 с камерой 3, включают в себя втулку 25, установленную с возможностью перемещения со скольжением на направляющей части тела вращения 21, а также кольцевой уплотняющий диск 26, взаимодействующий с периферийной уплотняющей поверхностью 27 втулки 25 и нагруженный пружиной 23 в направлении позиции закрытия уплотняемого прохода. Элемент 24, передающий силовое воздействие пружины, представляет собой тело в виде стакана, присоединенного в нижней концевой части с помощью резьбы к поршню 5 и имеющего верхнюю торцевую стенку (дно перевернутого стакана) 28, образующую опорную поверхность для втулки 25 и пружины 23 при приведении в действие указанных средств соединения. Как показано на фиг.3, боковая стенка стакана 24 снабжена отверстиями 29 для указанного сообщения камер по жидкости, обеспечиваемого за счет взаимодействия средств 25, 26 и 27.
Рабочий шток 6 проходит через тонкостенный направляющий элемент 30, установленный в теле 21 центрально и ниже второй камеры 22. Утечки по этому направляющему элементу весьма незначительны и не оказывают существенного влияния на выполнение клапаном функции регулирования, производимого так, как это описано ниже.
Отмеченное выше увеличение направленной вверх силы, действующей на поршень 5, происходит из-за того, что жидкость для прохода в камеру 3 при открытии клапана должна сначала пройти через вторую камеру 22, при этом направленное вверх усилие пружины 23 передается поршню 5. Камера 22 в исходном положении закрыта, поскольку пружина 23 оказывает давление на уплотняющий диск 26 по поверхности уплотнения 27 втулки 25.
Для того, чтобы жидкость поступала в первую, или выходную, камеру 3, эта жидкость должна отжать подпружиненный уплотняющий диск 26 от поверхности уплотнения 27. Отжатие диска 26 происходит только после перемещения, за счет давления жидкости, втулки 25 вверх до ее контактирования с внутренней поверхностью днища 28 стакана 24. Поскольку поверхность стакана препятствует дальнейшему перемещению втулки вверх, давление в камере 22 будет повышаться до тех пор, пока не станет достаточным для перемещения вверх нагруженного пружиной уплотняющего диска 26. В результате указанного перемещения втулки жидкость может протекать между диском и втулкой и поступать в выходную камеру 3. Такое рабочее положение элементов клапана иллюстрируется на фиг.3. Когда уплотняющий диск отходит от контактной уплотняющей поверхности 27, усилие сжатой пружины 23 будет передаваться поршню 5 через стакан 24. В этой ситуации, прежде чем клапан снова закроется, давление в камере 3 должно возрасти до величины Р2. Таким образом, разность между величинами давлений P1 и Р2 непосредственно определяется действующей силой пружины 23.
Величины давлений P1 и Р2 предпочтительно выбирают такими, чтобы они были близки к нижней и верхней границам интервала давления, желательного для изготовителя и являющегося рабочей областью давления для механических уплотнений, используемых в роторной машине. Обычно с точки зрения ресурса работы регулирующего клапана лучше, чтобы количество рабочих циклов в единицу времени было как можно меньшим. С этой целью предпочтительно, чтобы механические уплотнения непосредственно сообщались с относительно большим эластичным буферным объемом. В такой буферный объем при каждом открытии клапана поступает определенное количество жидкости так, что потребление жидкости может быть измерено при одновременном снижении частоты рабочих циклов клапана. Величина буферного объема должна быть выбрана исходя из требуемой быстроты регистрации этих изменений частоты и в зависимости от величины утечек.
Еще один пример выполнения регулирующего клапана в соответствии с настоящим изобретением отображен на фиг.4. В этом примере выполнения сформулированная выше задача настоящего изобретения достигается с помощью простой модификации регулирующего клапана, показанного на фиг.1. Если на функционирование подходящих механических уплотнений оказывает влияние давление жидкости, поддерживаемое на стабильном уровне, то при использовании данного решения необходимо проследить за тем, чтобы давление подачи барьерной жидкости также поддерживалось на стабильном уровне.
Необходимая модификация известного регулирующего клапана, показанного на фиг.1, заключается в том, что увеличивают площадь уплотняющей поверхности запорного элемента 7 клапана без увеличения при этом поперечного сечения для тока жидкости выше по потоку от камеры 3. Как результат такой модификации на фиг.4 показан клапан 35, в котором запорный элемент 36 выполнен с поверхностью уплотнения относительно большой площади, или другими словами, в котором поперечное сечение седла 37 увеличено, в то время как поперечное сечение для прохода потока жидкости выше по потоку от камеры 3 относительно мало. За счет осуществления указанной модификации для отжатия запорного элемента 36 от седла 37 (т.е. для открытия клапана, регулирующего давление), требуется воздействие на запорный элемент большей силы, чем ранее. Соответственно, при той же степени сжатия или предварительной нагрузке пружины 13 давление в камере 3 уменьшится до более низкого уровня по сравнению с ранее установленным уровнем, прежде чем регулирующий клапан откроется. Когда регулирующий клапан находится в открытом положении, давление снизу и сверху от запорного элемента 36 будет почти одинаковым. Соответственно, сила, стремящаяся переместить запорный элемент 36 в позицию закрытия клапана, значительно уменьшится. Это предполагает, что регулирующий клапан закрывается только после того, как давление в камере 3 поднимется до заданного уровня, поддерживаемого с помощью клапана до того, как в нем было увеличено поперечное сечение седла.
Если предполагается, что увеличение поперечного сечения седла является единственной модификацией известного клапана и желательно поддержать те же, что и ранее, величины давлений P1 и Р2, то в этом случае необходимо соответственно увеличить предварительную нагрузку пружины 31, и поперечное сечение седла 37 должно быть выбрано в соответствии с разностью между давлением подачи жидкости для регулирующего клапана и желательным уровнем давления P1.
Формула изобретения
1. Способ поддержания давления жидкости в определенном объеме при одновременной регистрации вытекания жидкости из этого объема в результате ее утечки или потребления, отличающийся тем, что жидкость подают из клапана, регулирующего давление, снабженного средствами открытия клапана, обеспечивающими подачу жидкости в объем, когда давление внутри него падает ниже первой величины (P1), и прерывание подачи жидкости, когда давление в объеме достигает предварительно заданной второй величины (P2), которая существенно больше, чем первая величина давления (P1), при этом регистрируют импульс давления, переданный от регулирующего клапана, а также тем, что контролируют частоту переданных импульсов давления и используют их в качестве меры имеющихся утечек и/или потребления жидкости.
2. Регулирующий клапан (20; 35) для поддержания давления жидкости в определенном объеме и для одновременной регистрации вытекания жидкости из указанного объема в результате утечек или потребления жидкости, содержащий корпус (2), имеющий первую камеру (3), образующую указанный объем и сообщающуюся с выходным отверстием (4) клапана, и установленный в камере (3) поршень (5), нагруженный в одном направлении пружиной (13) и опорным давлением, взаимодействующий посредством рабочего штока (6) с запорным элементом (7, 36) для открытия и перекрытия проходного канала (8) между входным отверстием (9) клапана и расположенной выше по потоку торцовой частью камеры (3), причем запорный элемент (7, 36) подпружинен в направлении положения закрытия клапана противоположном направлению, в котором подпружинен поршень (5), так, чтобы при нахождении поршня (5) в равновесии в камере (3) клапан закрывался в том случае, когда давление в камере равно первой заданной величине давления (P1), и открывался при уменьшении давления в камере (3) ниже первой величины давления (P1), отличающийся тем, что клапан (20; 35) снабжен средствами, обеспечивающими возможность перемещения запорного элемента (7, 36) к положению перекрытия проходного канала (8) только при достижении в первой камере (3) давления, равного второй заданной величине давления (Р2), которая существенно выше, чем первая величина давления (P1), так, что после каждого открытия клапана в его выходном отверстии (4) формируется отчетливый импульс давления.
3. Регулирующий клапан по п.2, отличающийся тем, что указанные средства выполнены с обеспечением использования давления жидкости выше по потоку для того, чтобы вызвать увеличение силы, действующей на поршень (5) вверх в указанном одном направлении, так, чтобы давление в первой камере (3), после его уменьшения ниже первой величины давления (P1), увеличивается до второй существенно большей величины давления (Р2), прежде чем поршень (5) снова переместится в положение равновесия, и клапан (20) закроется.
4. Регулирующий клапан по п.3, отличающийся тем, что указанные средства включают в себя тело вращения (21), присоединенное к корпусу (2) клапана в верхнем расположенном выше по потоку торце первой камеры (3) и содержащее нормально закрытую вторую камеру (22), сообщающуюся со входным отверстием (9) клапана посредством запорного элемента (7), а также средства (25, 26, 27) для обеспечения сообщения по жидкости между второй камерой (22) и первой камерой (3) за счет приведения в действие указанных средств, в зависимости от давления во второй камере (22) под действием силы предварительно нагруженной пружины (23), и элемент (24) для передачи усилия от пружины (23) к поршню (5) за счет приведения в действие средств для сообщения (25, 26, 27) так, чтобы клапан (20) закрывался только в том случае, когда давление во второй камере (22) возрастает до второй величины давления (Р2) и обуславливает приведение средств сообщения в действие, определяемое усилием нагруженной пружины (23).
5. Регулирующий клапан по п.4, отличающийся тем, что указанные средства для обеспечения сообщения по жидкости включают в себя втулку (25), смонтированную с возможностью скольжения по поверхности направляющей части указанного тела вращения (21), и кольцевой уплотняющий элемент (26), взаимодействующий с периферийным уплотняющим фланцем (27) втулки (25) и подпружиненный пружиной (23) в направлении положения закрытия прохода для жидкости, и тем, что передающий усилие элемент (24) содержит присоединенный к поршню (5) стакан, имеющий донную внутреннюю поверхность (28), образующую опорную поверхность для втулки (25) и пружины (23) при приведении в действие средств сообщения (25, 26, 27).
6. Регулирующий клапан по п.2, отличающийся тем, что уплотняющая поверхность запорного элемента (36) имеет большую площадь, чем поперечное сечение проходного канала для жидкости ниже по потоку от запорного элемента (36), а также тем, что усилие пружины (13), действующее на поршень (5), выбрано таким, что клапан (36) открывается и закрывается при выбранных первой и второй величинах давлений (P1 и P2).
7. Регулирующий клапан по любому из пп.2-6, отличающийся тем, что выходное отверстие (4) клапана сообщается с относительно большим эластичным буферным объемом, в который при каждом открытии клапана (20; 35) поступает определенное количество жидкости так, что потребление жидкости может быть измерено при снижении в то же время частоты рабочих циклов клапана.
РИСУНКИ
|
|