|
|
(21), (22) Заявка: 2004119371/28, 28.06.2004
(24) Дата начала отсчета срока действия патента:
28.06.2004
(43) Дата публикации заявки: 10.12.2005
(45) Опубликовано: 20.04.2006
(56) Список документов, цитированных в отчете о поиске:
SU 538247 А, 31.01.1977. RU 2006009 С1, 15.01.1994. RU 2149368 С1, 20.05.2000. GB 899643 А, 27.06.1962. DE 19935195 А, 16.11.2000. US 4805466 А, 21.02.1989. US 4899598 А, 13.02.1990.
Адрес для переписки:
394019, г.Воронеж, ул. 9-го Января, 180, ООО ФПК “Космос-Нефть-Газ”, Генеральному директору
|
(72) Автор(ы):
Шевцов Александр Петрович (RU), Ковалева Галина Ильинична (RU), Сушков Владимир Николаевич (RU), Коробов Вячеслав Александрович (RU), Гоптарев Виктор Иванович (RU)
(73) Патентообладатель(и):
Общество с ограниченной ответственностью Финансово-промышленная компания “Космос-Нефть-Газ” (RU)
|
(54) УСТРОЙСТВО ДЛЯ БЕСКОНТАКТНОГО ИЗМЕРЕНИЯ КРУТЯЩЕГО МОМЕНТА
(57) Реферат:
Изобретение относится к контрольно-измерительной технике. Устройство для бесконтактного измерения крутящего момента содержит ротор и статор. Ротор состоит из коаксиально расположенных вращающих валов, имеющих тензомост, преобразователь напряжения в частоту, выпрямитель-стабилизатор, вращающуюся обмотку трансформатора. Статор включает в себя усилитель импульсов, связанный с преобразователем емкостной связью, неподвижную обмотку трансформатора, электронный блок обработки и индикации. Вращающаяся обмотка трансформатора по крайней мере одного вала ротора выполнена из двух частей, одна из которых расположена на внутренней поверхности этого вала, причем обе части обмотки соединены параллельно. Устройство позволяет измерять крутящий момент на соосных вращающихся валах. 2 ил. 
Изобретение относится к контрольно-измерительной технике и может быть использовано при разработке аппаратуры для контроля и измерений крутящего момента.
Известны устройства для измерения крутящего момента (см. АС СССР №538247 от 03.09.75 г. кл. МКИ G 01 L 3/10).
Недостатком данного устройства является невозможность измерения крутящего момента на соосных вращающихся валах.
Известно устройство бесконтактного измерения крутящего момента (см. информационно-аналитический журнал «Газотурбинные технологии» выпуск № 5 (26), 2003 г., стр.34, 35 – прототип), включающее ротор, содержащий тензомост, преобразователь напряжения, вращающуюся обмотку трансформатора, выпрямитель и статор с расположенными на нем усилителем импульсов, неподвижной обмоткой трансформатора, электронным блоком обработки, причем усилитель импульсов и преобразователь связаны емкостной связью, включающей вращающуюся и неподвижную пластины конденсатора.
Это устройство также не позволяет измерять крутящий момент на соосных вращающихся валах в силу невозможности передачи напряжения питания на тензодатчики внутренних валов.
Целью предлагаемого устройства является устранение указанного недостатка, т.е. расширение функциональных возможностей устройства.
Указанная цель достигается тем, что в известном техническом решении, содержащем ротор, состоящий из коаксиально расположенных вращающихся валов, каждый из которых имеет тензомост, преобразователь напряжения в частоту, выпрямитель-стабилизатор, вращающуюся обмотку трансформатора и статор, включающий в себя усилитель импульсов, связанный с преобразователем, неподвижную обмотку трансформатора, электронный блок обработки, вращающаяся обмотка трансформатора по крайней мере одного вала выполнена из двух частей, одна из которых расположена на внутренней поверхности этого вала, причем обе части этой обмотки соединены или параллельно или последовательно, благодаря чему появляется возможность подачи питающего напряжения на тензомосты внутренних валов ротора и тем самым осуществления функции измерения крутящих моментов на этих валах.
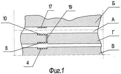
Схема предлагаемого устройства представлена на фиг.1 и 2, где:
А – ротор;
Б – статор;
В – внутренний вал ротора;
Г – внешний вал ротора;
1 – тензомост;
2 – преобразователь напряжения в частоту внутреннего вала;
3 – выпрямитель-стабилизатор внутреннего вала;
4 – вращающаяся обмотка трансформатора (внутреннего вала);
5 – емкостная связь;
6 – тензомост внешнего вала;
7 – выпрямитель-стабилизатор внешнего вала;
8 – внутренняя часть вращающейся обмотки трансформатора (внешнего вала);
9 – преобразователь напряжения в частоту внешнего вала;
10 – внешняя часть обмотки трансформатора (внешнего вала);
11, 12 – емкостная связь;
13, 15 – усилитель импульсов;
14, 16 – индикатор;
17 – неподвижная обмотка;
18 – генератор переменного напряжения;
19 – отверстие в стенке внешнего вала.
Подвижный ротор А размещен в неподвижном статоре Б, при этом сам ротор А состоит из двух расположенных коаксиально, с возможностью вращения, валов В и Г.
На внутреннем валу В закреплены тензомост 1, преобразователь 2, выпрямитель-стабилизатор 3, вращающаяся обмотка 4 трансформатора.
Преобразователь 2 связан емкостной связью 5 и 11 с усилителем импульсов 13, выход которого связан с индикатором 14.
На внешнем валу Г расположены тензомост 6, выпрямитель-стабилизатор 7, преобразователь 9, вращающаяся обмотка трансформатора, состоящая из двух частей 8 и 10, соединенных параллельно, причем часть 10 обмотки расположена на внешней поверхности вала Г и индуктивно связана с неподвижной обмоткой 17 трансформатора, расположенной на статоре Б, а часть 8 расположена на его внутренней поверхности и индуктивно связана с обмоткой 4 внутреннего вала В.
Преобразователь 9 связан емкостной связью 12 с усилителем импульсов 15, выход которого соединен с входом индикатора 16.
Расположенная на статоре неподвижная обмотка 17 трансформатора соединена с выходом генератора переменного напряжения 18.
На генератор переменного напряжения 18 подается напряжение питания Uпит, при этом переменное напряжение, вырабатываемое генератором 18, поступает на неподвижную обмотку 17 трансформатора, индуктивно связанную с частью 10 вращающейся обмотки трансформатора, вследствие чего в ней возникает индукционный ток, который подается на выпрямитель-стабилизатор 7 и вторую часть 8 вращающейся обмотки трансформатора. Стабилизированное напряжение с выпрямителя 7 подается на тензомост 6. Вследствие деформации вала Г под воздействием приложенного к нему крутящего момента тензомост 6 вырабатывает сигнал разбаланса, пропорциональный крутящему моменту, поступающий на преобразователь 9 напряжения в частоту и через емкостную связь 12 на усилитель импульсов 15 и индикатор 16, который непосредственно показывает значение крутящего момента вала Г.
Поскольку вторая часть 8 вращающейся обмотки трансформатора размещена на внутренней поверхности вала Г и соединена с внешней частью обмотки 10 (посредствам отверстия 19), то создаваемое этой частью обмотки электромагнитное поле индуцирует во вращающейся обмотке 4, расположенной на валу В, напряжение, которое поступает на вход выпрямителя-стабилизатора 3, после чего стабилизированное напряжение подается на тензомост 1. Вследствие деформации вала В под воздействием приложенного к нему крутящего момента тензомост 6 вырабатывает сигнал разбаланса в соответствии с крутящим моментом. Этот сигнал поступает на преобразователь внутреннего вала 2 и посредством емкостных связей 5 и 11 подается на усилитель импульсов 13 и индикатор 14, где непосредственно отображается значение крутящего момента вала В.
Таким образом, использование предлагаемого технического решения позволяет измерять крутящие моменты роторов, имеющих два и более вала, расположенных коаксиально (осесимметрично) друг другу и существенно расширить за счет этого функциональные возможности устройства.
Формула изобретения
Устройство для бесконтактного измерения крутящего момента, содержащее ротор, состоящий из коаксиально расположенных вращающихся валов, имеющих тензомост, преобразователь напряжения в частоту, выпрямитель-стабилизатор, соединенный с вращающейся обмоткой трансформатора, и статор, включающий в себя усилитель импульсов, связанный с преобразователем емкостной связью, неподвижную обмотку трансформатора, электронный блок обработки и индикации, отличающееся тем, что вращающаяся обмотка трансформатора по крайней мере одного вала ротора выполнена из двух частей, одна из которых расположена на внутренней поверхности этого вала, причем обе части этой обмотки соединены параллельно.
РИСУНКИ
MM4A – Досрочное прекращение действия патента СССР или патента Российской Федерации на изобретение из-за неуплаты в установленный срок пошлины за поддержание патента в силе
Дата прекращения действия патента: 29.06.2007
Извещение опубликовано: 20.02.2009 БИ: 05/2009
NF4A Восстановление действия патента СССР или патента Российской Федерации на изобретение
Дата, с которой действие патента восстановлено: 20.11.2009
Извещение опубликовано: 20.11.2009 БИ: 32/2009
|
|