|
(21), (22) Заявка: 2004115084/11, 19.05.2004
(24) Дата начала отсчета срока действия патента:
19.05.2004
(45) Опубликовано: 20.04.2006
(56) Список документов, цитированных в отчете о поиске:
RU 2084354 С7, 20.07.1997. SU 1047739 А, 01.12.1981. GB 1288508 А, 13.09.1972.
Адрес для переписки:
124460, Москва, Зеленоград, Южная промзона, 4922 проезд, стр.2, ООО “Нордикс-Метрология”
|
(72) Автор(ы):
Пашков Валерий Петрович (RU), Самойлов Геннадий Григорьевич (RU)
(73) Патентообладатель(и):
Общество с ограниченной ответственностью Научно-технический центр “Нордикс-Метрология” (ООО НТЦ “Нордикс-Метрология”) (RU)
|
(54) ГИДРООБЪЕМНАЯ ПЕРЕДАЧА
(57) Реферат:
Изобретение относится к гидрообъемным передачам для привода движителей транспортных средств, рабочего оборудования различных устройств и механизмов, предпочтительно к приводу генераторов железнодорожных вагонов. Гидрообъемная передача содержит реверсивные насос и гидромотор, соединенные по замкнутой схеме циркуляции рабочей жидкости силовыми магистралями, имеющими параллельно включенные в них предохранительные клапаны и гидролинию со встречно включенными обратными клапанами, сообщающуюся с источником подпитки. Источник подпитки выполнен в виде герметичного гидробака с воздушной полостью над уровнем жидкости. Воздушная полость гидробака сообщается с атмосферой через клапанную систему разности давлений двустороннего действия, в которую входит клапан ограничения избыточного давления и всасывающий клапан с фильтрэлементом. Гидробак также имеет вход для линий дренажа, сообщающих его с гидромашинами. Изобретение позволяет минимизировать потери мощности в системе подпитки независимо от интенсивности режима загрузки гидропередачи и обеспечить эффективную работу гидропередачи в режиме интенсивной загрузки без дополнительных трудозатрат. 3 ил. 
Изобретение относится к общему машиностроению, в частности к гидрообъемным передачам для привода движителей транспортных средств, рабочего оборудования различных устройств и механизмов и, предпочтительно, к приводу генераторов железнодорожных вагонов.
Гидрообъемные передачи традиционно содержат основной регулируемый или нерегулируемый насос, гидромотор, соединенные в замкнутый контур циркуляции рабочей жидкости, и входящую в общую гидравлическую систему устройство или элементы подпитки, обеспечивающие создание подпора во всасывающей линии для устранения кавитации и, следовательно, для повышения частоты вращения гидромашин, предохранительные клапаны защиты гидропривода от перегрузок.
Известна гидрообъемная передача, содержащая гидромотор и насос, соединенные напорной и сливной магистралями по замкнутой схеме. Гидропередача имеет систему подпитки и предохранительный клапан. Насос выполнен нереверсивным, а гидромотор снабжен реверсирующим распределителем, соединяющим напорную и сливную магистрали, система подпитки выполнена в виде дополнительного гидронасоса, соединяющего открытый гидробак со сливной магистралью, при этом напорная и сливная магистраль соединены между собой предохранительным клапаном и дополнительным трубопроводом с установленным в нем обратным клапаном, открывающимся в сторону напорной магистрали (а.с. SU №251320, F 16 H 39/02, публ. 1969 г.).
Изобретение предназначено для стабилизации режима работы реверсивного гидромотора при использовании в гидрообъемной передаче нереверсивного гидронасоса.
Недостатком такого гидропривода является значительная сложность и недостаточное быстродействие из-за нарушения оптимального перепада давления на гидромоторе при открытии обратного клапана, что существенно для условий резких изменений величин нагрузки на исполнительный гидромотор.
Гидрообъемная передача по патенту US №5493860 содержит реверсивные гидромашины, соответственно, насос и гидромотор, соединенные напорной и сливной магистралями по замкнутой схеме, а также систему подпитки в виде дополнительного гидронасоса, подсоединенного к открытому гидробаку, а также системы обратных и предохранительных клапанов.
Однако в данном техническом решении, как и в предыдущем изобретении, описанном выше, выполнение системы подпитки с дополнительным гидронасосом приводит к ухудшению энергетических характеристик привода в связи с потерями мощности на перекачку рабочей жидкости и на дросселирование ее избытка в гидробак.
Кроме того, использование известных гидрообъемных передач с системой подпитки, имеющей дополнительный гидронасос и открытый гидробак для привода вала вагонного генератора конструктивно усложняется из-за необходимости реверсирования подпиточного насоса.
Известна гидрообъемная передача, которая обеспечивает минимизацию потерь мощности в системе подпитки при необходимом давлении подпитки (патент RU №2084354, В 60 К 17/10, 1997 г.). Данная гидрообъемная передача содержит реверсивные гидромашины, соответственно, насос и гидромотор, соединенные по замкнутой схеме силовыми магистралями. В указанные силовые магистрали включены предохранительные клапаны. Гидропередача имеет источник подпитки, сообщающийся через гидролинию подпитки с силовыми магистралями в зоне размещения обратных клапанов. Гидролиния подпитки перед входом ее в источник подпитки имеет последовательно расположенные фильтр и дополнительный обратный клапан. Источник подпитки выполнен в виде гидроаккумулятора с рабочей полостью и полостью подзарядки, последняя соединена с входом линии подпитки и свободным выводом через обратный клапан. Рабочая полость гидроаккумулятора сообщена через дренажные линии с насосом и гидромотором. Гидроаккумуллятор выполнен в виде подпружиненного поршня, связанного с рукояткой управления его зарядки.
Данное техническое решение по совокупности конструктивных признаков и достигаемому техническому результату выбрано в качестве ближайшего аналога заявляемого изобретения.
Однако использование в гидрообъемной передаче источника подпитки в виде гидроаккумулятора целесообразно для условий привода рабочего оборудования, при эксплуатации которых не требуется охлаждения гидрожидкости, что соответствует эксплуатации оборудования с относительно невысокой интенсивностью режимов загрузки, в частности движителей малогабаритных транспортных машин.
Использование гидроаккумулятора требует постоянного контроля со стороны оператора за рабочим режимом его работы, что усложняет процесс обслуживания гидрообъемной передачи.
Следует также отметить, что традиционно при создании гидрообъемных передач используют гидромашины (насосы, гидромоторы) шестеренного или аксиально-поршневого типов, работа которых не возможна без механического трения рабочих деталей, что приводит к стабильному перегреву рабочей жидкости гидропередач и появлению в ней продуктов износа твердых частиц, а следовательно, к оснащению гидропередач дополнительными средствами охлаждения и фильтрации. В результате указанных обстоятельств усложняется конструктивная и принципиальная схема объемной гидропередачи, снижается эффективность работы последней, что особенно существенно для режима интенсивной нагрузки гидромотора.
Техническая задача изобретения состояла в создании гидрообъемной передачи, реализующей технический результат минимизации потерь мощности в системе подпитки независимо от интенсивности режима загрузки гидропередачи.
Техническая задача изобретения состояла также в создании гидрообъемной передачи, реализующей технический результат по эффективной работе гидропередачи в режиме интенсивной загрузки без дополнительных трудозатрат.
Для решения поставленной технической задачи предложена гидрообъемная передача, содержащая реверсивные насос и гидромотор, соединенные по замкнутой схеме циркуляции рабочей жидкости силовыми магистралями, имеющими параллельно включенные в них предохранительные клапаны и гидролинию со встречно включенными обратными клапанами и сообщающуюся с источником подпитки, имеющим вход для линий дренажа, сообщающих гидромашины с источником подпитки, согласно изобретению источник подпитки выполнен в виде расположенного по уровню выше входов и выходов силовых магистралей в насос и гидромотор герметичного гидробака для рабочей жидкости с воздушной полостью над уровнем последней, гидробак имеет выход, сообщающий воздушную полость с атмосферой через клапанную систему разности давлений двустороннего действия в виде клапана ограничения избыточного давления и всасывающего клапана с фильтрэлементом.
При реализации изобретения за счет указанного выполнения источника подпитки, расположения гидробака по уровню выше входов и выходов силовых магистралей в гидромашины, наличия в гидробаке выхода, сообщающего его через клапанную систему с атмосферой, рабочая жидкость в баке имеет постоянно заданное избыточное давление, что обеспечивает бескавитационный режим работы передачи при минимальных энергетических затратах мощности в системе подпитки вне зависимости от числа оборотов вала насоса и интенсивности загрузки гидромотора. Наличие линии дренажа между гидробаком и гидромашинами обеспечивает стабильность работы гидропередачи вне зависимости от наличия и состояния газосодержащих компонентов в рабочей жидкости при любых условиях эксплуатации гидропередачи.
При реализации изобретения используют гидромашины (насос и гидромотор) в виде роликолопастных устройств, работающих без механического трения в режиме минимального нагрева рабочей жидкости, что в целом повышает эффективность работы объемной гидропередачи при конструктивном исполнении последней.
Анализ уровня техники показал, что заявляемое техническое решение существенно отличается от известных устройств аналогичного назначения, что свидетельствует о наличии в заявляемом техническом решении новизны и изобретательского уровня.
Заявляемое устройство может быть промышленно реализовано и эффективно использовано для гидропривода различного рабочего оборудования и предпочтительно для привода вагонного генератора от оси колесной пары.
В известных конструкциях привода вагонных генераторов традиционно используют редукторно-карданный тип силовой передачи между колесной парой и генератором. Возникающие в результате эксплуатации железнодорожных вагонов значительные динамические нагрузки снижают эксплуатационную надежность редукторно-карданного привода генератора (кн. Л.В. Терешкин “Приводы генераторов пассажирских вагонов”, изд.-во “Транспорт”, 1990 г.).
Нижеприведенным описанием подтверждается эффективность заявленного технического решения при использовании его, в частности, для привода генератора железнодорожного вагона.
Изобретение поясняется чертежами, где на:
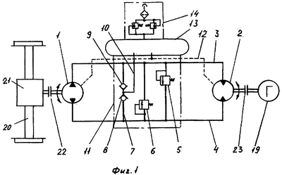
фиг.1 показана общая принципиальная схема гидрообъемной передачи для привода рабочего оборудования;
фиг.2 – принципиальное конструктивное исполнение гидромашин;
фиг.3 – общий вид гидрообъемной передачи, используемой для привода генератора пассажирского вагона.
Гидрообъемная передача содержит реверсивные гидромашины: насос 1 и гидромотор 2, соединенные по замкнутой схеме силовыми магистралями 3 и 4. Названные магистрали имеют параллельно включенные в них предохранительные клапаны 5 и 6, а также параллельно подсоединенную к магистралям 3 и 4 гидролинию 7 со встречно включенными в ней обратными клапанами 8 и 9, которая соединена с источником подпитки гидролинией подпитки 10. Названные клапана конструктивно объединены в едином блоке 11. Источник подпитки имеет вход для линий дренажа 12, сообщающий его с гидромашинами 1 и 2. Источник подпитки выполнен в виде герметичного гидробака 13 для рабочей жидкости, расположенного по уровню выше входов и выходов силовых магистралей 3 и 4 в насос 1 и гидромотор 2. Гидробак имеет над уровнем рабочей жидкости воздушную полость. Для расположения гидробака по уровню выше входов и выходов силовых магистралей в насос и гидромотор используют конструктивные элементы транспортного средства, например, днище каркаса железнодорожного вагона (см. фиг.3). Гидробак 13 имеет выход, сообщающий его воздушную полость с атмосферой через клапанную систему 14 разности давлений двустороннего действия в виде клапана ограничения избыточного давления и всасывающего клапана с фильтрэлементом. Наличие фильтрэлемента во всасывающем клапане обеспечивает защиту внутреннего объема гидробака от попадания в него загрязнений из окружающей среды. Конструктивное исполнение клапанной системы с фильтроэлементом известно и широко используется в гидросистемах различных машин, например экскаваторах.
Расположение гидробака по уровню выше входов и выходов силовых магистралей 3 и 4 в насос 1 и гидромотор 2 рассчитывается и определяется из условий:
заданных параметров рабочих объемов гидромашин, гидролиний и гидробака;
заданных параметров клапанной системы, рассчитываемой на избыточное давление рабочей жидкости (предпочтительно, в пределах 0,04-0,06 МПа), определяемое с учетом расширения жидкости при нагреве, что зависит от эксплуатационных условий, в том числе от фактора разогрева ее при работе гидрообъемной передачи.
Насос и гидромотор для снижения нагрева рабочей жидкости в гидросистеме, уменьшения количества частиц трения в рабочей жидкости выполнены в виде конструктивно известных для этих целей роликолопастных устройств, имеющих выходной конец вала ротора и работающих с различными эксплуатационными жидкостями в реверсивном режиме (см., например, патент RU №2017071, кл. G 01 F 3/10).
Роликолопастные гидромашины традиционно имеют корпус 15 с входным и выходным каналами, лопастной ротор 16, который кинематически связан с роликами-замыкателями 17, 18. Лопастной ротор и ролики-замыкателители образуют через уплотнительные зазоры “ 1“, “ 2” между их рабочими поверхностями и поверхностями внутренней полости корпуса входную и выходную рабочие полости, сообщающиеся каналами корпуса с силовыми магистралями 3 и 4.
Для повышения надежности работы объемной гидропередачи в корпусе роликолопастного устройства предусмотрены полости (на фиг.2 не показаны) и каналы дренажа в лопастном роторе, что обеспечивает выход газосодержащих компонентов через дренажную линию 12 в гидробак 13 и тем самым снижает потери мощности гидропривода.
Режим работы объемной гидропередачи показан на примере ее использования для привода вагонного генератора 19 от средней части оси колесной пары 20.
Перед подсоединением насоса 1 к валу редуктора 21 и гидромотора к вагонному генератору 19 рабочий объем лопастных устройств (насос, гидромотор), силовые магистрали, часть объема герметичного гидробака заполняют рабочей жидкостью. Режим заполнения рабочей жидкостью объемной гидропередачи определяется, в том числе, из заданных параметров гидромашин, гидролиний, емкости и уровня заполнения гидробака.
При движении железнодорожного вагона вращение от оси колесной пары 20 через соответствующие передаточные устройства 21, 22 передается на лопастной ротор 16 насоса 1. При этом от направления движения вагона зависит направление вращения ротора 16, что определяет в конкретном случае функцию напорной магистрали 3 или 4 в объемной гидропередаче. Происходит режим циркуляции рабочей жидкости, создавая оптимальный реализуемый перепад давления на гидромоторе 2, обеспечивающего через соединительную муфту 23 вращение ротора генератора 19.
При начальном движении вагона из-за преодоления инерционности ротора генератора, а также при включении нагрузки на генератор (включение потребителей) перепад давлений в силовых магистралях увеличивается, при выключении нагрузки на генератор происходит уменьшение перепада давления, а при знакопеременном его значении гидромотор работает в насосном режиме, создавая подпор в сливной магистрали и некоторое разрежение в напорной. В этом случае благодаря расположению герметичного гидробака по уровню выше входов и выходов силовых магистралей в насос и гидромотор и избыточного давления гидрожидкости в нем, обусловленного расширением жидкости вследствие ее разогрева при работе передачи, происходит подпитка той или иной магистрали (3 или 4) через обратные клапаны 8 или 9 из гидробака 13. Осуществляется бескавитационный режим работы гидропередачи.
В зонах пониженного давления, а также при стоянках, когда гидрообъемная передача не функционирует, в рабочей жидкости происходит выделение нерастворенного воздуха в виде пузырьков, которые вытесняются по дренажным линиям 12 в гидробак 13 и на линии раздела сред масло – воздух нерастворенный воздух в виде пузырьков разрушается. Уменьшение газосодержания в рабочей жидкости повышает жесткость гидросистемы и снижает потери мощности гидропривода.
Формула изобретения
Гидрообъемная передача, содержащая реверсивные насос и гидромотор, соединенные по замкнутой схеме циркуляции рабочей жидкости силовыми магистралями, имеющими параллельно включенные в них предохранительные клапаны и гидролинию со встречно включенными обратными клапанами, сообщающуюся с источником подпитки, имеющим вход для линий дренажа, сообщающих гидромашины с источником подпитки, отличающаяся тем, что источник подпитки выполнен в виде расположенного по уровню выше входов и выходов силовых магистралей в насос и гидромотор герметичного гидробака для рабочей жидкости с воздушной полостью над уровнем последней, гидробак имеет выход, сообщающий воздушную полость с атмосферой через клапанную систему разности давлений двустороннего действия в виде клапана ограничения избыточного давления и всасывающего клапана с фильтрэлементом.
РИСУНКИ
|