|
|
(21), (22) Заявка: 2004105332/06, 24.02.2004
(24) Дата начала отсчета срока действия патента:
24.02.2004
(43) Дата публикации заявки: 10.08.2005
(45) Опубликовано: 20.04.2006
(56) Список документов, цитированных в отчете о поиске:
АЛЕМАСОВ В.Е и др. Теория ракетных двигателей. – М.: Машиностроение, 1980, с.483, рис.39.4. RU 2175399 С2, 27.10.2001. RU 2208694 C1, 20.07.2003. JP 72-59649 A, 09.10.1995. RU 2174186 C1, 27.09.2001. US 3392524 A, 16.07.1968. US 3529425 A, 22.09.1970. US 4345427 A, 24.08.1982. US 4587805 A, 13.05.1986. US 4630437 A, 23.12.1986. US 3136119 А, 09.06.1964. US 3677011 А, 18.07.1972. JP 3-18657 А, 28.01.1991.
Адрес для переписки:
346428, Ростовская обл., г. Новочеркасск, ул. Просвещения, 132, ГОУ ВПО ЮРГТУ (НПИ), ОИС
|
(72) Автор(ы):
Хоружий Игорь Владимирович (RU), Касаткина Ольга Ивановна (RU)
(73) Патентообладатель(и):
Государственное образовательное учреждение высшего профессионального образования “Южно-Российский государственный технический университет” (Новочеркасский политехнический институт”) (RU)
|
(54) СПОСОБ РЕГУЛИРОВАНИЯ СООТНОШЕНИЯ КОМПОНЕНТОВ ТОПЛИВА В ГИБРИДНОМ РАКЕТНОМ ДВИГАТЕЛЕ
(57) Реферат:
Способ регулирования соотношения компонентов топлива в гибридном ракетном двигателе включает управление топливоподачей жидкого компонента топлива пневмогидравлической системой. Массовый расход твердофазного компонента топлива изменяют с помощью регулирования действующего значения электрического тока, пропускаемого через реакционную зону газификации. Электрический ток пропускают через реакционную зону газификации посредством установленной в твердофазном компоненте топлива системы металлических электродов в виде фольги или сеток. При этом поддерживают в допустимом диапазоне соотношения расходов между горючими и окислительными компонентами топлива на различных режимах работы двигателя. Изобретение позволит сохранить оптимальное соотношение между расходами горючего и окислителя в камере сгорания при регулировании тяги гибридного ракетного двигателя. 1 ил. 
Изобретение относится к гибридным ракетным двигателям (ГРД), в частности к физическим способам регулирования тяги и соотношения компонентов топлива в камере сгорания, и может быть использовано в системах управления тягой ГРД.
Известен способ регулирования тяги ракетного двигателя твердого топлива (РДТТ) [Пат. 2175399 РФ, МПК F 02 К 9/26. Способ регулирования скорости горения высокоэнергетичной конденсированной системы / Г.Ф.Клякин, В.А.Таранушич, И.В. Хоружий (РФ). – Заявлено 29.07.99; Опубл. 27.10.01, Бюл. №30], основанный на электротермическом изменении скорости горения высокоэнергетической конденсированной системы (твердого ракетного топлива). Принципиальными отличиями этого способа, разработанного для регулирования тяги твердотопливных ракетных двигателей (РДТТ) и газогенераторов (ГГ), являются:
– в твердом ракетном топливе (ТРТ или высокоэнергетическая конденсированная система – ВКС) горючие и окислительные компоненты топлива заключены в едином (моноблочном) заряде; соотношение между горючими и окислительными компонентами остается постоянной величиной и изменить его в процессе горения невозможно;
– электрический ток пропускают через реакционную зону самостоятельно горящей высокоэнергетической конденсированной системы, под действием которого нелинейно меняется кинетика начальных многостадийных окислительных реакций в ВКС и физический процесс изменения скорости горения имеет электрохимическую природу.
Наиболее близким к предлагаемому способу по своим физическим признакам является способ регулирования тяги в ГРД [Алемасов В.Е. и др. Теория ракетных двигателей. М.: Машиностроение, 1980, стр.482-483] путем изменения топливоподачи жидкого компонента в зону горения твердого компонента и перепуска его части в зону дожигания генераторного газа в предсопловой объем камеры сгорания. Однако этот способ регулирования тяги, определяемый в частности массовым расходом газификации твердотопливного блока, может сопровождаться изменением соотношения между компонентами топлива в газовой фазе продуктов сгорания, ухудшением полноты сгорания и снижением удельного импульса двигателя.
Задачей изобретения является регулирование тяги ГРД с возможностью сохранения во всем диапазоне оптимального соотношения между расходами горючего и окислителя в камере сгорания.
Поставленная задача решается с помощью нагрева электрическим током поверхности газификации твердофазного компонента топлива, посредством системы металлических электродов в виде фольги или сеток, установленной в твердофазном компоненте топлива, изменяют его массовый расход и поддерживают в допустимом диапазоне соотношения расходов между горючими и окислительными компонентами топлива на различных режимах работы двигателя.
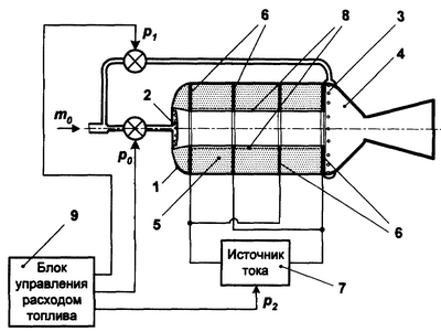
На чертеже показан фрагмент принципиальной схемы ГРД с дожиганием генераторного газа путем перепуска жидкого компонента топлива m0 в предсопловой объем камеры сгорания, позволяющий реализовать независимое (внешнее) от термодинамических условий в камере регулирование массового расхода твердофазного блока и в результате поддерживать оптимальное соотношение расходов между горючим и окислителем с максимальными значениями удельного импульса при различных давлениях в ГРД. Принципиальная схема включает в себя пневмогидравлическую систему (ПГС) с регуляторами расходов р0 и p1, форсуночную головку 2, блок форсунок 3 дожигания генераторного газа в предсопловой части 4 камеры сгорания 1. В твердофазном компоненте топлива 5 установлена система плоских металлических электродов 6, посредством которых электропроводная зона газификации 8 твердофазного компонента подключена к управляемому источнику тока 7. Управление исполнительные устройствами (регуляторы расходов р1 и р2, источник тока 7) выполняется блоком управления расходом топлива 9 (датчики обратных связей и верхний уровень всей системы управления ГРД не приведены).
Реализация способа заключается в том, что в процессе работы ГРД сохраняется в определенных диапазонах регулирование топливоподачи жидкого компонента топлива посредством р0 и р1 через форсуночные системы 2 и 3 в камеру сгорания 1, при этом твердотопливный блок 5, обладающий высокими объемными диэлектрическими свойствами, в условиях газификации (пиролиза) его поверхностный слой 8 имеет повышенную электропроводность. Под действием широтно-импульсной модуляции постоянного тока с помощью задающего воздействия p2 управляют действующим значением электрического тока, пропускаемого посредством электродов 6, через электропроводную зону 8 и омическим нагревом дополнительно изменяют скорость газификации топливного блока ГРД. Взаимосвязанное регулирование системой управления внутридвигательных параметров ГРД: действующего значения тока источника 7 и топливоподачи пневмогидравлической системы, регулируют скорость газификации твердого компонента, сохраняя оптимальное соотношение компонентов в продуктах сгорания и, соответственно, максимальные значения удельного импульса при различных давлениях в камере сгорания двигателя.
Это позволяет, например, при уменьшении (дросселировании) тяги ГРД пропорционально снижать массовый расход обоих компонентов в камере сгорания, сохраняя удельный импульс на максимальных значениях при текущих давлениях в камере двигателя. Таким образом, с точки зрения регулирования внутридвигательных параметров ГРД при фиксированных расходах жидкого компонента массовое соотношение между компонентами топлива на стадии смесеобразования в газовой фазе камеры дополнительно зависит еще от величины нагрева электрическим током поверхности газификации твердофазного блока. Число и компоновка электродов определяются внутренней баллистикой ГРД, проводимостью поверхности термического разложения твердофазного компонента и выходными электрическими параметрами управляемого источника тока, интегрированного в систему регулирования тяги двигателя.
Формула изобретения
Способ регулирования соотношения компонентов топлива в гибридном ракетном двигателе, включающий управление топливоподачей жидкого компонента топлива пневмогидравлической системой, отличающийся тем, что с помощью регулирования действующего значения электрического тока, пропускаемого через реакционную зону газификации твердофазного компонента топлива, посредством системы металлических электродов в виде фольги или сеток, установленной в твердофазном компоненте топлива, изменяют его массовый расход и поддерживают в допустимом диапазоне соотношения расходов между горючими и окислительными компонентами топлива на различных режимах работы двигателя.
РИСУНКИ
MM4A – Досрочное прекращение действия патента СССР или патента Российской Федерации на изобретение из-за неуплаты в установленный срок пошлины за поддержание патента в силе
Дата прекращения действия патента: 25.02.2007
Извещение опубликовано: 20.06.2008 БИ: 17/2008
|
|