|
|
(21), (22) Заявка: 2003124657/03, 08.01.2002
(24) Дата начала отсчета срока действия патента:
08.01.2002
(30) Конвенционный приоритет:
10.01.2001 (пп.1-11) EP 01300180.5
(43) Дата публикации заявки: 10.02.2005
(45) Опубликовано: 20.04.2006
(56) Список документов, цитированных в отчете о поиске:
EP 0110182 А3, 03.06.1984. SU 115555 А, 10.12.1958. SU 521381 A, 15.07.1976. SU 964134 А, 07.10.1982. SU 1809046 А1, 15.04.1993. RU 2039168 С1, 09.07.1995. WO 99/09290, 25.02.1999. FR 1589717, 15.05.1980. US 4314615, 09.02.1982.
(85) Дата перевода заявки PCT на национальную фазу:
11.08.2003
(86) Заявка PCT:
EP 02/00115 (08.01.2002)
(87) Публикация PCT:
WO 02/055834 (18.07.2002)
Адрес для переписки:
129010, Москва, ул. Б.Спасская, 25, стр.3, ООО “Юридическая фирма Городисский и Партнеры”, пат.пов. Г.Б. Егоровой
|
(72) Автор(ы):
БЕСТ Бруно (NL)
(73) Патентообладатель(и):
ШЕЛЛ ИНТЕРНЭШНЛ РИСЕРЧ МААТСХАППИЙ Б.В. (NL)
|
(54) УСТРОЙСТВО ДЛЯ ЗАКРЕПЛЕНИЯ В СКВАЖИНЕ БУРИЛЬНОЙ КОЛОННЫ
(57) Реферат:
Изобретение относится к устройству для закрепления бурильной колонны в скважине, образованной в подземном пласте при бурении глубоких скважин или бурении скважин с большими углами наклона. Целью изобретения является обеспечение достаточной осевой нагрузки на буровое долото за счет закрепления бурильной колонны в скважине. Поставленная цель достигается тем, что устройство содержит закрепляющий элемент, соединенный с бурильной колонной и выполненный с возможностью перемещения между втянутым положением, в котором закрепляющий элемент втянут от стенки скважины, и выдвинутым положением, в котором закрепляющий элемент выдвинут к стенке скважины для закрепления бурильной колонны на стенке скважины, и запускающий элемент, способный перемещать закрепляющий элемент из выдвинутого положения во втянутое положение под действием давления бурового раствора, находящегося в кольцевом зазоре между бурильной колонной и стенкой скважины. 10 з.п. Ф-лы, 3 ил. 
Настоящее изобретение касается устройства для закрепления бурильной колонны в скважине, образованной в подземном пласте. При бурении глубоких скважин или бурении скважин с большими углами наклона обычной проблемой является обеспечение достаточной прямой тяги для бурового долота. Силы трения между бурильной колонной и стенкой скважины значительно снижают эффективный вес бурильной колонны, обеспечивающей прямую тягу для бурового долота.
В публикации международной патентной заявки WO 99/09290 раскрыта система бурильной колонны, снабженная толкателем для того, чтобы толкать бурильное долото в прямом направлении и устройством закрепления, включающим радиально выдвигаемые захватные приспособления с приводными поршнями для закрепления бурильной колонны к стенке скважины во время работы толкателя.
Проблема известного устройства для закрепления заключается в том, что требуется отдельный исполнительный механизм для возвращения поршней (и тем самым также захватных приспособлений) в их втянутое положение после бурения каждого следующего участка скважины.
Цель настоящего изобретения заключается в создании улучшенного устройства для закрепления бурильной колонны в скважине, которое не имеет недостатков известных устройств для закрепления.
Согласно изобретению предложено устройство для закрепления бурильной колонны в скважине, образованной в подземном пласте, содержащее закрепляющий элемент, соединенный с бурильной колонной и выполненный с возможностью перемещения между втянутым положением, в котором закрепляющий элемент втянут от стенки скважины, и выдвинутым положением, в котором закрепляющий элемент выдвинут к стенке скважины для закрепления бурильной колонны на стенке скважины, и запускающий элемент, способный перемещать закрепляющий элемент из выдвинутого положения во втянутое положение под действием давления бурового раствора, находящегося в скважине.
Таким образом, закрепляющий элемент возвращается назад во втянутое положение под действием давления бурильного раствора в скважине, действующего на запускающий элемент, благодаря чему отпадает потребность в отдельном исполнительном средстве.
Подходящий запускающий элемент приспособлен для перемещения закрепляющего элемента из выдвинутого положения во втянутое положение под действием давления бурового раствора, находящегося в кольцевом зазоре между бурильной колонной и стенкой скважины.
Предпочтительно, чтобы запускающий элемент включал узел поршня с цилиндром, приспособленный для перемещения закрепляющего элемента из выдвинутого положения во втянутое положение при относительном соосном перемещении между поршнем и цилиндром под действием давления бурового раствора, действующего на поршень.
Изобретение будет описано далее более подробно и с использованием примера со ссылкой на прилагаемые чертежи, на которых изображено следующее:
фиг.1 схематично показывает бурильный узел, в котором использовано устройство согласно настоящему изобретению;
фиг.2 схематично показывает вариант гидравлической системы управления для использования в устройстве согласно настоящему изобретению;
фиг.3 схематично показывает альтернативный вариант гидравлической системы управления для использования в устройстве согласно настоящему изобретению.
На чертежах одинаковые цифровые позиции относятся к одним и тем же элементам.
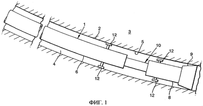
На фиг.1 показана бурильная колонна 1, проходящая в скважине 2, образованной в подземном пласте 3, с кольцевым зазором 4 между бурильной колонной и стенкой 5 скважины. Бурильная колонна имеет верхнюю часть 6 и нижнюю часть 8, снабженную бурильным долотом 9, при этом части 6, 8 взаимосвязаны с помощью телескопического гидравлического толкателя 10, способного толкать нижнюю часть 8 бурильной колонны в направлении устья скважины. Верхняя часть 6 бурильной колонны и нижняя часть 8 бурильной колонны снабжены соответствующими группами закрепляющих элементов 12 (например, три) в виде башмаков, расположенных по окружности бурильной колонны с одинаковым интервалом. Каждый башмак 12 соединен с соответствующей частью 6, 8 бурильной колонны таким образом, что башмак 12 может перемещаться между втянутым положением, в котором башмак 12 втянут от стенки 5 скважины, и выдвинутым положением, в котором башмак 12 выдвинут к стенке 5 скважины так, чтобы закреплять соответствующую часть 6, 8 бурильной колонны на стенке 5 скважины. Бурильная колонна внутри снабжена системой управления (схематически показана на фиг.2) для управления перемещением каждого башмака 12 между его втянутым положением и выдвинутым положением.
На фиг.2 схематично представлена система управления для управления перемещением башмаков 12, которая содержит гидравлическую цепь 20, включающую первый узел 22 поршня с цилиндром, в котором поршень 24 плотно входит в цилиндр 26, и поршень имеет возможность соосно перемещаться относительно цилиндра 26 в наружном направлении А и во внутреннем направлении В. Система управления также содержит второй узел 28 поршня с цилиндром, в котором поршень 30 плотно входит в цилиндр 32, и поршень имеет возможность соосно перемещаться относительно цилиндра 32 в противоположных направлениях С и D. Поршень 30 снабжен дополнительным поршнем 30а, который плотно входит в дополнительный цилиндр 32а, соединенный с цилиндром 32. Жидкостная камера 32b находится в дополнительном цилиндре 32а между дополнительным поршнем 30а и торцевой стенкой 32с дополнительного цилиндра 32а. Дополнительный поршень 30а имеет наружный диаметр меньший, чем у поршня 30, а дополнительный цилиндр 30а имеет внутренний диаметр меньший, чем у цилиндра 32.
Поршень 24 имеет наружную торцевую поверхность 34, которая подвергается воздействию давления Р бурового раствора, находящегося в кольцевом зазоре 4, а внутренняя торцевая поверхность 36 подвергается воздействию давления гидравлической жидкости, находящейся в жидкостной камере 37 цилиндра 26. Поршень 24 соединен с помощью соединительных средств (не показано) с башмаками 12 таким образом, что поршень 24 заставляет башмаки 12 перемещаться в их выдвинутое положение при перемещении поршня 24 в наружном направлении А, и поршень 24 заставляет башмаки 12 перемещаться в их втянутое положение при перемещении поршня 24 во внутреннем направлении В.
Поршень 30 имеет первую торцевую поверхность 40, сообщенную по жидкости с камерой 42 низкого давления второго узла 28, и вторую торцевую поверхность 44, подвергаемую воздействию давления гидравлической жидкости, находящейся в жидкостной камере 45 цилиндра 32. Камера 42 низкого давления содержит газ при низком давлении или, в идеале, камера находится под вакуумом. Камера 37 сообщена по жидкости с жидкостной камерой 45 через трубопроводы 46а, 46d и трехходовой клапан 47.
Кроме того, гидравлическая цепь 20 содержит гидравлический жидкостной насос 50, имеющий вход 52, сообщенный по жидкости с резервуаром 54 гидравлической жидкости через трубопровод 56, и выход 58, сообщенный по жидкости с камерой 37 через трубопровод 60, снабженный клапаном 61. Выход 58 также сообщен по жидкости с первой жидкостной камерой 32b через трубопровод 62, трехходовой клапан 63 и трубопровод 64. Жидкостной резервуар 54 находится в жидкостном сообщении с трубопроводом 46 через трубопровод 66 и трехходовой клапан 47 и с трубопроводом 64 через трубопровод 69 и трехходовой клапан 63. Давление в жидкостном резервуаре 54 компенсируется с помощью поршня 70, которым снабжен резервуар 54, поршень 70 переносит давление Р бурового раствора на гидравлическую жидкость, находящуюся в жидкостном резервуаре 54. Кроме того, камера 42 низкого давления соединена через трубопровод 71 с трубопроводом 69, при этом трубопровод 71 снабжен одноходовым клапаном 72, позволяющим жидкости перетекать только из камеры 42 в трубопровод 69.
Поршень 24 соединен с помощью соединительных средств (не показаны) с башмаками 12 таким образом, что поршень 24 заставляет башмаки 12 перемещаться в их выдвинутое положение при перемещении поршня 24 в наружном направлении А, и поршень 24 заставляет башмаки 12 перемещаться в их втянутое положение при перемещении поршня 24 во внутреннем направлении В.
На фиг.3 схематично показана альтернативная система управления для управления перемещением башмаков 12. Альтернативная система управления содержит гидравлическую цепь 80, которая аналогична цепи 20 управления за исключением того, что в гидравлической цепи 80 второй узел 28 поршня с цилиндром, рассмотренный выше, заменен на третий узел 82 поршня с цилиндром. Третий узел 82 поршня с цилиндром включает поршень 84, который имеет возможность плотно входить в цилиндр 86 и соосно перемещаться относительно цилиндра 86 в противоположных направлениях Е и F. Поршень 84 снабжен дополнительным поршнем 84а, который входит в дополнительный цилиндр 86а, соединенный с цилиндром 86. Поршень 84 имеет торцевую поверхность 90 со стороны дополнительного поршня 84а и торцевую поверхность 92, противоположную торцевой поверхности 90. Дополнительный поршень 84а имеет торцевую поверхность 94. Первая жидкостная камера расположена в цилиндре 86 между торцевой поверхностью 92 и торцевой стенкой 98 цилиндра 86. Вторая жидкостная камера 100 расположена в цилиндре 86 между торцевой поверхностью 90 и другой торцевой стенкой 102 цилиндра 86. Третья жидкостная камера 104 расположена в дополнительном цилиндре 86а между торцевой поверхностью 94 и торцевой стенкой 106 дополнительного цилиндра 86а. Первая жидкостная камера 96 сообщена по жидкости с выходом 58 насоса 50 через трехходовой клапан 63. Вторая жидкостная камера 100 сообщена по жидкости с трубопроводом 62 через трубопроводы 110, 111 и трехходовой клапан 112 и с гидравлическим жидкостным резервуаром 54 через трубопроводы 110, 113 и трехходовой клапан 112.
В последующем описании представлено нормальное использование устройства, соответствующего изобретению, для приведения в движение одного башмака 12 верхней части 6 буровой колонны и прекращения приведения в движение башмака 12, при этом предполагается, что приведение в движение и прекращение приведения в движение других башмаков 12 осуществляется аналогичным образом.
При нормальном использовании устройства с системой управления, показанной на фиг.2, открывают клапан 61, а трехходовой клапан 47 открывают так, чтобы жидкость могла протекать через трубопроводы 46а, 46b в жидкостную камеру 45. Трехходовой клапан 63 открывают так, чтобы жидкость могла протекать из камеры 32b через трубопроводы 64, 69 в резервуар 54. Далее включают насос 50 для перекачки гидравлической жидкости из жидкостного резервуара 54 в жидкостную камеру 37 цилиндра 26 и в камеру 45 цилиндра 32. В результате поршень 24 перемещается в наружном направлении А и тем самым перемещает башмаки 12 к стенке 5 скважины так, чтобы закрепить верхнюю часть 6 буровой колонны в скважине, а поршень 30 и дополнительный поршень 30а перемещаются в направлении С, таким образом выдавливая любую гидравлическую жидкость, которая могла протечь в камеру 42 низкого давления, в жидкостной резервуар 54 через трубопроводы 71, 69 и одноходовой клапан 72. Затем открывают трехходовой клапан 47 так, чтобы жидкость могла протекать через трубопроводы 46b и 66 в резервуар 54, а трехходовой клапан 63 открывают так, чтобы гидравлическая жидкость протекала из выхода 58 насоса 50 через трубопроводы 62, 64 в жидкостную камеру 32b цилиндра 32а, тем самым выталкивая поршень 30 и дополнительный поршень 30а в направлении D. В результате в камере 42 создается очень низкое давление газа (или предпочтительно вакуум). Затем скважина 2 бурится дальше, при этом одновременно вращается буровое долото 9, и запускают толкатель 10 для проталкивания бурового долота 9 к забою скважины. После окончания бурения последующего участка скважины прекращают вращение бурового долота 9 и работу насоса 50, а затем закрывают клапан 61. Далее клапан 47 открывают так, чтобы сообщить по жидкости трубопровод 46а с трубопроводом 46b, а клапан 63 открывают так, чтобы соединить камеру 32b с резервуаром 54 через трубопроводы 64, 69. В результате давление Р бурильного раствора перемещает поршень 24 во внутреннем направлении В, благодаря чему гидравлическая жидкость перетекает из жидкостной камеры 37 через трубопроводы 46а, 46b в жидкостную камеру 45, а из камеры 32b в резервуар 54, при этом поршень 30 и дополнительный поршень 30а перемещаются в направлении С, поскольку давление в жидкостной камере 45 больше, чем давление (или вакуум) в камере 42 низкого давления. Башмаки 12 втягиваются от стенки 5 скважины из-за перемещения поршня 24 во внутреннем направлении.
На следующем этапе верхняя часть 6 бурильной колонны перемещается дальше вниз в скважине. Затем клапан 63 открывают так, чтобы сообщить по жидкости трубопровод 62 с трубопроводом 64, а клапан 47 открывают так, чтобы сообщить по жидкости трубопровод 46b с трубопроводом 66. Затем включают насос 50 на перекачку гидравлической жидкости из резервуара 54 через трубопроводы 62, 64 в жидкостную камеру 32b, благодаря чему дополнительный поршень 30а и поршень 30 проталкиваются в направлении D. Гидравлическая жидкость, находящаяся в жидкостной камере 45, протекает таким образом через трубопроводы 46b и 66 в резервуар 54. После этого башмаки 12 вновь выдвигаются к стенке 5 скважины таким образом, как описано выше, и бурится следующий участок скважины.
Нормальное использование устройства с системой управления, показанной на фиг.3, по существу такое же, как и нормальное использование устройства с системой управления, показанной на фиг.2. Открывают клапан 61 и открывают трехходовой клапан 47 таким образом, чтобы жидкость могла протекать через трубопроводы 46b и 66 в резервуар 54. Трехходовой клапан 112 открывают так, чтобы жидкость из камеры 100 могла вытекать через трубопроводы 110 и 113 в резервуар 54. Трехходовой клапан 63 открывают так, чтобы камера 96 гидравлически соединялась через трубопроводы 64 и 62 с выходом насоса 58. Затем включают насос 50 на откачку гидравлической жидкости из жидкостного резервуара 54 в жидкостную камеру 37 цилиндра 26 и в камеру 96 цилиндра 82. В результате поршень 24 перемещается в наружном направлении А и благодаря этому перемещает башмаки 12 к стенке 5 скважины так, чтобы закрепить верхнюю часть бурильной колонны на стенке 5 скважины, а поршень 84 и дополнительный поршень 84а перемещаются в направлении F, благодаря чему выдавливается гидравлическая жидкость из жидкостных камер 100 и 104 в резервуар 54. Затем скважина 2 бурится дальше путем одновременного вращения бурового долота 9 и приведения в действие толкателя 10, чтобы он толкал буровое долото 9 к дну скважины. После окончания бурения следующего участка скважины вращение бурового долота 9 останавливают. Клапан 61 закрывают, а затем открывают клапан 47 так, чтобы сообщить камеру 37 по жидкости с камерой 104 через трубопровод 46а и трубопровод 46b. Трехходовой клапан 63 открывают так, чтобы жидкость могла быть выведена из камеры 96 через трубопроводы 64 и 69 в резервуар 54. Трехходовой клапан 112 открывают так, чтобы камера 100 сообщалась по жидкости с выходом 58 насоса через трубопроводы 110, 111 и 62. При перекачке гидравлической жидкости в камеру 100 поршень 84 и дополнительный поршень 84а проталкиваются в направлении Е. В результате давление Р бурового раствора перемещает поршень 24 во внутреннем направлении В, благодаря чему гидравлическая жидкость протекает из жидкостной камеры 37 через трубопроводы 46а, 46b в жидкостную камеру 104, а из камеры 96 в резервуар 54. Башмаки втягиваются от стенки 5 скважины за счет перемещения поршня 24 внутрь.
Вместо открытия клапана 61 и закрытия клапана 47 перед включением насоса 50 для перемещения поршня 24 в наружном направлении А также может быть выполнена следующая альтернативная процедура. Клапан 61 закрывают, клапан 63 открывают так, чтобы обеспечить сообщение по жидкости между трубопроводами 62, 64, а клапан 47 открывают так, чтобы обеспечить сообщение по жидкости между трубопроводами 46а, 46b. Клапан 112 открывают так, чтобы обеспечить сообщение по жидкости между камерой 100 и резервуаром 54 через трубопроводы 110, 113. Затем насос 50 включают так, чтобы перекачивать гидравлическую жидкость через трубопроводы 62, 64 в первую жидкостную камеру 96 с таким результатом, чтобы поршень 84 и дополнительный поршень 84а перемещались в направлении F. Благодаря этому гидравлическая жидкость перетекает из третьей жидкостной камеры 104 через трубопроводы 46b, 46а в жидкостную камеру 37 цилиндра 26, приводя к перемещению поршня 26 в наружном направлении А. Альтернативная процедура имеет преимущество, заключающееся в том, что давление жидкости в жидкостной камере 37 по существу увеличивается при нагнетании насосом, поскольку поршень 84 имеет больший диаметр, чем дополнительный поршень 84а.
При проведении соответствующего способа бурения башмаки 12 нижней части 8 бурильной колонны выдвигаются к стенке скважины только в такие временные интервалы, когда башмаки 12 верхнего элемента бурильной колонны втягиваются от стенки скважины, чтобы обеспечить реактивный вращающий момент для нижней части бурильной колонны в случае продолжения вращения бурильного долота, привод которого осуществляется от забойного двигателя.
Вместо перемещения поршня 30, 84 второго или третьего узла 28, 82 поршня с цилиндром в соответствующем направлении С или Е под действием разности давления жидкости на поршень 30, 84, или в дополнение к этому, такое перемещение может быть достигнуто с помощью пружины, выполненной соответствующим образом во втором или третьем узле поршня с цилиндром.
В вышеприведенном описании закрепляющий элемент и соответствующий запускающий элемент описаны как отдельные элементы. В альтернативном варианте закрепляющий элемент и запускающий элемент могут быть выполнены в виде единого конструктивного элемента.
Формула изобретения
1. Устройство для закрепления бурильной колонны в скважине, образованной в подземном пласте, содержащее закрепляющий элемент, соединенный с бурильной колонной и выполненный с возможностью перемещения между втянутым положением, в котором закрепляющий элемент втянут от стенки скважины, и выдвинутым положением, в котором закрепляющий элемент выдвинут к стенке скважины для закрепления бурильной колонны на стенке скважины, и запускающий элемент, способный перемещать закрепляющий элемент от выдвинутого положения во втянутое положение под действием давления бурового раствора, находящегося в скважине.
2. Устройство по п.1, в котором запускающий элемент приспособлен для перемещения закрепляющего элемента из выдвинутого положения во втянутое положение под действием давления бурового раствора, находящегося в кольцевом зазоре между бурильной колонной и стенкой скважины.
3. Устройство по п.1 или 2, в котором запускающий элемент включает узел поршня с цилиндром, приспособленный для перемещения закрепляющего элемента из выдвинутого положения во втянутое положение при относительном соосном перемещении между поршнем и цилиндром под действием давления бурового раствора, действующего на поршень.
4. Устройство по п.3, дополнительно содержащее систему управления для выборочного воздействия на поршень с силой, противодействующей этому относительному соосному перемещению между поршнем и цилиндром, благодаря чему осуществляется противодействие перемещению закрепляющего элемента из выдвинутого положения во втянутое положение.
5. Устройство по п.4, в котором система управления включает гидравлическую цепь, приспособленную для создания силы, действующей на поршень путем воздействия давлением гидравлической жидкости на поршень.
6. Устройство по п.5, в котором гидравлическая цепь снабжена средством понижения давления для выборочного понижения давления гидравлической жидкости, воздействующего на поршень.
7. Устройство по п.6, в котором узел поршня с цилиндром образует первый узел поршня с цилиндром, а средство понижения давления включает второй узел поршня с цилиндром, сообщенный по жидкости с первым узлом поршня с цилиндром через трубопровод с гидравлической жидкостью и приспособленный для понижения давления гидравлической жидкости, действующего на поршень первого узла посредством относительного соосного перемещения между поршнем и цилиндром второго узла.
8. Устройство по п.7, в котором гидравлическая цепь снабжена силовым средством для создания разности давления на поршне второго узла поршня с цилиндром для осуществления относительного соосного перемещения между поршнем и цилиндром второго узла.
9. Устройство по п.8, в котором силовое средство включает камеру низкого давления, сообщенную по жидкости с торцевой поверхностью поршня второго узла.
10. Устройство по п. 8 или 9, в котором силовое средство включает камеру высокого давления, сообщенную по жидкости с поршнем второго узла, и насос для нагнетания гидравлической жидкости в камеру высокого давления.
11. Устройство по п.10, в котором насос приспособлен для выборочного нагнетания гидравлической жидкости в первый узел поршня с цилиндром так, чтобы посредством поршня первого узла поршня с цилиндром перемещать закрепляющий элемент из втянутого в выдвинутое положение.
РИСУНКИ
MM4A – Досрочное прекращение действия патента СССР или патента Российской Федерации на изобретение из-за неуплаты в установленный срок пошлины за поддержание патента в силе
Дата прекращения действия патента: 09.01.2009
Извещение опубликовано: 20.07.2010 БИ: 20/2010
|
|