|
|
(21), (22) Заявка: 2004132312/03, 04.11.2004
(24) Дата начала отсчета срока действия патента:
04.11.2004
(45) Опубликовано: 20.04.2006
(56) Список документов, цитированных в отчете о поиске:
SU 111149 A, 26.08.1958. SU 1023065 A, 15.06.1983. SU 1721213 A1, 23.03.1992. RU 22004687 C2, 20.05.2003. RU 2165527 C2, 20.04.2001. US 3601206 A, 24.08.1971. GB 1088257 A, 25.10.1967.
Адрес для переписки:
347360, Ростовская обл., г. Волгодонск, а/я 1416, ул. 7-я Заводская, 126, ООО “ДОН” Гидроспецфундаментстрой
|
(72) Автор(ы):
Кудрявцев Владимир Петрович (RU)
(73) Патентообладатель(и):
Общество с ограниченной ответственностью “ДОН” Гидроспецфундаментстрой (RU)
|
(54) ВЕРТЛЮГ ДЛЯ ШНЕКОВОЙ БУРОВОЙ УСТАНОВКИ (ВАРИАНТЫ)
(57) Реферат:
Изобретение предназначено для использования в шнековых буровых установках, преимущественно при сооружении свай методом непрерывно перемещаемого шнека. Корпус вертлюга соединен с корпусом подшипникового узла с возможностью продольного смещения относительно вала. Сальниковые уплотнения жидкостной полости включают упорные кольца, выполненные с возможностью взаимодействия между собой или со съемными упорами в корпусе вертлюга, и нажимные втулки. Корпус вертлюга может иметь открытые с торцов прорези, а нажимная втулка может быть выполнена в виде внутреннего и внешнего нажимных колец и перемычек между ними. Повышается ремонтопригодность вертлюга. 2 н. и 4 з.п. ф-лы, 18 ил. 
Изобретение относится к технологии сооружения свай и предназначено для использования в шнековых буровых установках, преимущественно при сооружении свай методом непрерывно перемещаемого шнека.
Известен вертлюг для буровой установки, содержащий вал, корпус вертлюга и уплотнения жидкостной полости /Патент США № 4585256, НКИ США 285/190, 1986 г./. Этот вертлюг может применяться только с буровыми растворами, не содержащими абразивные частицы. Кроме того, для ремонта уплотнений известный вертлюг необходимо демонтировать.
Известен также вертлюг для шнековой буровой установки, содержащий вал, подшипниковый узел, корпус вертлюга и уплотнения жидкостной полости /Авт. св. СССР № 111149, МПК6 Е 21 В 21/02, 1956 г./, являющийся прототипом изобретения. Этот вертлюг предназначен для бурения с подачей глинистого раствора через полость шнека.
Использование известного вертлюга при сооружении свай методом непрерывно перемещаемого шнека, включающим подачу через полость шнека бетонной смеси /см., например, патент РФ № 2127345, МПК6 E 02 D 5/36, 1998 г./, затруднено по причине недостаточной ремонтопригодности уплотнений. Контакт уплотнений с бетонной смесью вызывает повышенный их износ, что приводит к частому повреждению уплотнений, при этом перерывы в подаче бетонной смеси в связи с ремонтом уплотнений в известном техническом решении имеют чрезмерную продолжительность, что отрицательно сказывается на качестве свайных работ. В известном вертлюге затруднен ремонт уплотнений, загрязненных частицами бетонной смеси, и необходимо значительно удлинить выступающий из корпуса конец вала, чтобы доступ к сальникам был возможен без демонтажа вертлюга.
Предлагаемое изобретение направлено на повышение ремонтопригодности вертлюга.
При осуществлении изобретения обеспечивается лучший доступ к уплотнениям, возможность их ремонта без демонтажа и существенной разборки вертлюга.
Указанный результат достигается тем, что в вертлюг для шнековой буровой установки, содержащий вал, подшипниковый узел, корпус вертлюга и уплотнения жидкостной полости, введен корпус подшипникового узла, при этом корпус вертлюга соединен с корпусом подшипникового узла с возможностью продольного смещения относительно вала, а уплотнения жидкостной полости включают упорные кольца, примыкающие к сальниковой набивке уплотнений со стороны жидкостной полости с возможностью взаимодействия со съемными упорами в корпусе вертлюга, упоры на валу, установленные с зазором относительно упорных колец со стороны жидкостной полости, и нажимные втулки.
Размещение подшипникового узла в отдельном корпусе позволяет выполнить корпус вертлюга с возможностью его продольного смещения (из рабочего положения) относительно вала и уплотнений, что, в свою очередь, обеспечивает легкий доступ к сальниковой набивке как с ее торца, так и по внешней цилиндрической поверхности, без демонтажа вертлюга. Доступ к каждому из двух уплотнений обеспечивается поочередным смещением корпуса вертлюга по направлению к другому уплотнению.
Упорные кольца, примыкающие к сальниковой набивке уплотнений со стороны жидкостной полости с возможностью взаимодействия со съемными упорами в корпусе вертлюга, обеспечивают работоспособность уплотнений при взаимодействии этих колец с упорами и не препятствуют продольному смещению корпуса вертлюга, когда упоры сняты. В качестве упоров могут быть применены винты, стопорные устройства и т.п.
Упоры на валу, установленные с зазором относительно упорных колец со стороны жидкостной полости, обеспечивают удерживание этих колец от сдвига по направлению к жидкостной полости, когда съемные упоры в корпусе сняты для продольного смещения корпуса вертлюга. Упоры могут быть выполнены на валу в виде различных штифтов, буртиков, втулки и т.п.
Нажимные втулки обеспечивают прижатие сальниковой набивки. Эти втулки могут быть соединены с корпусом подшипникового узла или с корпусом вертлюга.
Таким образом, совокупность перечисленных признаков обеспечивает достижение технического результата – лучший доступ к уплотнениям для замены сальниковой набивки без демонтажа и без существенной разборки вертлюга.
В частной форме реализации изобретения корпус вертлюга имеет открытые с торцов прорези, выполненные вне зоны размещения сальниковой набивки в рабочем состоянии. Через эти прорези при смещении корпуса вертлюга обеспечивается доступ к сальнику по его цилиндрической поверхности. Соответственно, необходимая величина продольного смещения корпуса вертлюга может быть уменьшена на длину прорези, а длина вала – на вдвое бóльшую величину. Оптимальная длина прорези приблизительно равна величине хода нажимной втулки при затяжке новой сальниковой набивки.
В другой частной форме реализации изобретения нажимная втулка выполнена в виде внутреннего и внешнего нажимных колец и перемычек между ними, при этом внутренние размеры внешнего кольца превышают соответствующие внешние размеры корпуса вертлюга в области прорезей, а прорези выполнены с возможностью взаимодействия с указанными перемычками. Такая форма реализации обеспечивает получение дополнительных технических результатов: корпус вертлюга при смещении его в крайнее положение имеет возможность проходить внутри внешнего кольца, что позволяет уменьшить длину вала.
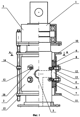
На фиг.1 показан вертлюг, общий вид с частичным разрезом; на фиг.2 – разрез А-А на фиг.1; на фиг.3-7 – поэтапное схематическое изображение замены сальниковой набивки; на фиг.8 – то же, что фиг.1, пример выполнения с прорезями в корпусе вертлюга; на фиг.9 – разрез Б-Б на фиг.8; на фиг.10 – вертлюг по второму варианту изобретения, общий вид с частичным разрезом; на фиг.11 – разрез В-В на фиг.10; на фиг.12 – то же, что фиг.11, пример соединения упорных колец; на фиг.13-18 – поэтапное схематическое изображение замены сальниковой набивки в вертлюге, показанном на фиг.10.
Вертлюг (фиг.1, 2) содержит вал 1, корпус вертлюга 2 и корпус подшипникового узла 3. В этом и последующих примерах предусматривается фланцевое присоединение шнека к валу вертлюга. Для подачи бетонной смеси или буровых растворов в средней части вертлюга образована жидкостная полость 4, в корпусе выполнен патрубок 5 для присоединения нагнетательного трубопровода, а вал имеет соединенные между собой поперечное и продольное отверстия. Уплотнения жидкостной полости включают сальниковую набивку 6 и 7, к которой со стороны жидкостной полости примыкают упорные кольца 8 и 9, а со стороны торцов корпуса вертлюга – нажимные втулки 10 и 11. С упорными кольцами 8 и 9 сопряжены винты 12 в корпусе вертлюга, а на валу установлены винты 13, причем в рабочем (собранном) состоянии вертлюга между кольцами 8 и 9 и соответствующими винтами 13 имеется зазор. Корпус вертлюга через проушины 14 соединен шпильками 15 с корпусом подшипникового узла 3. На этих же шпильках 15 закреплены нажимные втулки 10 и 11. При малом радиальном зазоре между валом и упорными кольцами 8 и 9 на этих кольцах для предотвращения их поворота могут быть установлены штифты 16.
В рабочем режиме сальниковая набивка поджата втулками 10 и 11, упорные кольца 8 и 9 передают усилие поджатия на винты 12. Возможный поворот упорных колец при малом радиальном зазоре между ними и валом предотвращается штифтами 16, взаимодействующими с винтами 12.
Замену сальниковой набивки выполняют в следующей последовательности (см. фиг.3-7). Освобождают от крепления и выводят из корпуса вертлюга нажимные втулки 10 и 11, выворачивают винты 12 (фиг.3), затем сдвигают корпус 2 вниз (фиг.4) – в результате к сальниковой набивке 6 открыт доступ как с торца, так и по цилиндрической ее поверхности. При этом упорные кольца 8 и 9 удерживаются от перемещения по направлению к жидкостной полости винтами 13. После извлечения набивки 6 сдвигают корпус 2 вверх (фиг.5) и извлекают сальниковую набивку 7. Затем возвращают корпус 2 в исходное (рабочее) положение и вворачивают винты 12 (фиг.6), заполняют уплотнения сальниковой набивкой и поджимают ее нажимными втулками 10 и 11 (фиг.7).
В вертлюге, показанном на фиг.8-9, каждая нажимная втулка выполнена сборной из отдельных деталей – двух колец, внутреннего и внешнего, и нескольких перемычек между ними (соединение этих деталей может быть как разъемным, так и неразъемным). К сальниковой набивке 6 и 7 со стороны торцов корпуса 2 примыкают внутренние нажимные кольца 17. На шпильках 15 закреплены внешние нажимные кольца 18 и 19 с Г-образными перемычками 20. Внутренний диаметр колец 18 и 19 больше диаметра корпуса 2. В корпусе 2 выполнены открытые с торцов прорези 21, ширина которых превышает ширину перемычек 20.
Работа вертлюга не отличается от описанной в предыдущем примере реализации изобретения.
Замену сальниковой набивки выполняют аналогично предыдущему примеру, однако доступ к ней обеспечивается частично через прорези 21. Кроме того, в отличие от предыдущего примера, нет помех от нажимной втулки смещению корпуса 2 в крайние положения – корпус 2 проходит при этом сквозь кольцо 18 или 19, а перемычки 20 размещаются в прорезях 21. Таким образом, смещение корпуса 2 из рабочего положения может быть уменьшено не менее чем на длину прорези, что позволяет уменьшить длину вала.
В варианте, показанном на фиг.10-11, уплотнения жидкостной полости включают сальниковую набивку 6 и 7, к которой со стороны жидкостной полости примыкают упорные кольца 22 и 23, а со стороны торцов корпуса вертлюга 24 – внутренние нажимные кольца 25. Между упорными кольцами 22 и 23 размещена дистанционная втулка 26, в которой выполнено отверстие для прохода бетонной смеси или буровых растворов от патрубка 27 в жидкостную полость 28. Во втулке 26 имеется также продольный направляющий паз 29, а в корпусе 24 – винт 30, обеспечивающие подвижность втулки 26 только в продольном направлении. Упорные кольца 22, 23 и дистанционная втулка 26 могут быть выполнены в виде одной детали, как показано на фиг.10, или в виде отдельных деталей с крепежным соединением между ними или без такого соединения. На шпильках 15 закреплены внешние нажимные кольца 31 и 32 с Г-образными перемычками 33. Внутренний диаметр колец 31 и 32 больше диаметра корпуса 24. В корпусе 24 выполнены открытые с торцов прорези 34, ширина которых превышает ширину перемычек 33. В этом примере кольца 25, 31, 32 и Г-образные перемычки 33 выполняют функцию нажимных втулок.
В рабочем режиме усилие поджатия сальниковой набивки передается на дистанционную втулку 26, при этом корпус вертлюга 24 в осевом направлении разгружен. Возможный поворот втулки 26 предотвращается винтом 30, взаимодействующим с направляющим пазом 29. Отверстие для винта 30 в корпусе вертлюга может также использоваться для контроля над положением втулки 26 при подтяжке сальников.
На фиг.12 показан пример соединения упорных колец 22 и 23 стержнями 35. При таком соединении проход бетонной смеси или буровых растворов от патрубка 27 в жидкостную полость 28 обеспечивается при любом повороте упорных колец и нет необходимости в какой-либо фиксации положения этих колец.
Замену сальниковой набивки выполняют в следующей последовательности (см. фиг.13-18). Выводят вверх кольцо 31 и сдвигают корпус 24 вниз (фиг.13) – в результате к сальниковой набивке 6 открыт доступ как с торца, так и по ее внешней цилиндрической поверхности. После извлечения набивки 6 возвращают корпус 24 в исходное (рабочее) положение (фиг.14), закладывают новую сальниковую набивку 6 и поджимают ее (фиг.15). Выполняют аналогичные операции для замены сальниковой набивки 7 (фиг.16-18), после чего окончательно регулируют положение упорных колец и усилие прижима сальниковой набивки.
Примеры выполнения подтверждают возможность достижения заявленного технического результата – обеспечение лучшего доступа к уплотнениям для замены сальниковой набивки без демонтажа и без существенной разборки вертлюга.
Перечисленные примеры не исчерпывают возможные варианты реализации изобретения. Так, нажимные втулки могут быть закреплены непосредственно на корпусе вертлюга, могут быть использованы другие известные средства для стопорения или соединения упорных колец и т.д.
Формула изобретения
1. Вертлюг для шнековой буровой установки, содержащий вал, подшипниковый узел, корпус вертлюга и уплотнения жидкостной полости, отличающийся тем, что в него введен корпус подшипникового узла, при этом корпус вертлюга соединен с корпусом подшипникового узла с возможностью продольного смещения относительно вала, а уплотнения жидкостной полости включают упорные кольца, примыкающие к сальниковой набивке уплотнений со стороны жидкостной полости с возможностью взаимодействия со съемными упорами в корпусе вертлюга, упоры на валу, установленные с зазором относительно упорных колец со стороны жидкостной полости, и нажимные втулки.
2. Вертлюг по п.1, отличающийся тем, что корпус вертлюга имеет открытые с торцов прорези.
3. Вертлюг по п.2, отличающийся тем, что нажимная втулка выполнена в виде внутреннего и внешнего нажимных колец и перемычек между ними, при этом внутренние размеры внешнего кольца превышают соответствующие внешние размеры корпуса вертлюга в области прорезей, а прорези выполнены с возможностью взаимодействия с указанными перемычками.
4. Вертлюг для шнековой буровой установки, содержащий вал, подшипниковый узел, корпус вертлюга и уплотнения жидкостной полости, отличающийся тем, что в него введен корпус подшипникового узла, при этом корпус вертлюга соединен с корпусом подшипникового узла с возможностью продольного смещения относительно вала, а уплотнения жидкостной полости включают упорные кольца, примыкающие к сальниковой набивке уплотнений со стороны жидкостной полости с возможностью взаимодействия упорных колец между собой, и нажимные втулки.
5. Вертлюг по п.4, отличающийся тем, что корпус вертлюга имеет открытые с торцов прорези.
6. Вертлюг по п.5, отличающийся тем, что нажимная втулка выполнена в виде внутреннего и внешнего нажимных колец и перемычек между ними, при этом внутренние размеры внешнего кольца превышают соответствующие внешние размеры корпуса вертлюга в области прорезей, а прорези выполнены с возможностью взаимодействия с указанными перемычками.
РИСУНКИ
|
|